Specific Yield Analysis of the Rooftop PV Systems Located in South-Eastern Poland
Abstract
:1. Introduction
2. Materials and Methods
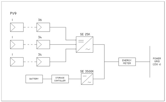
2.1. Description of the PV Systems
2.2. Calculated Parameters for Energy and Economic Analysis
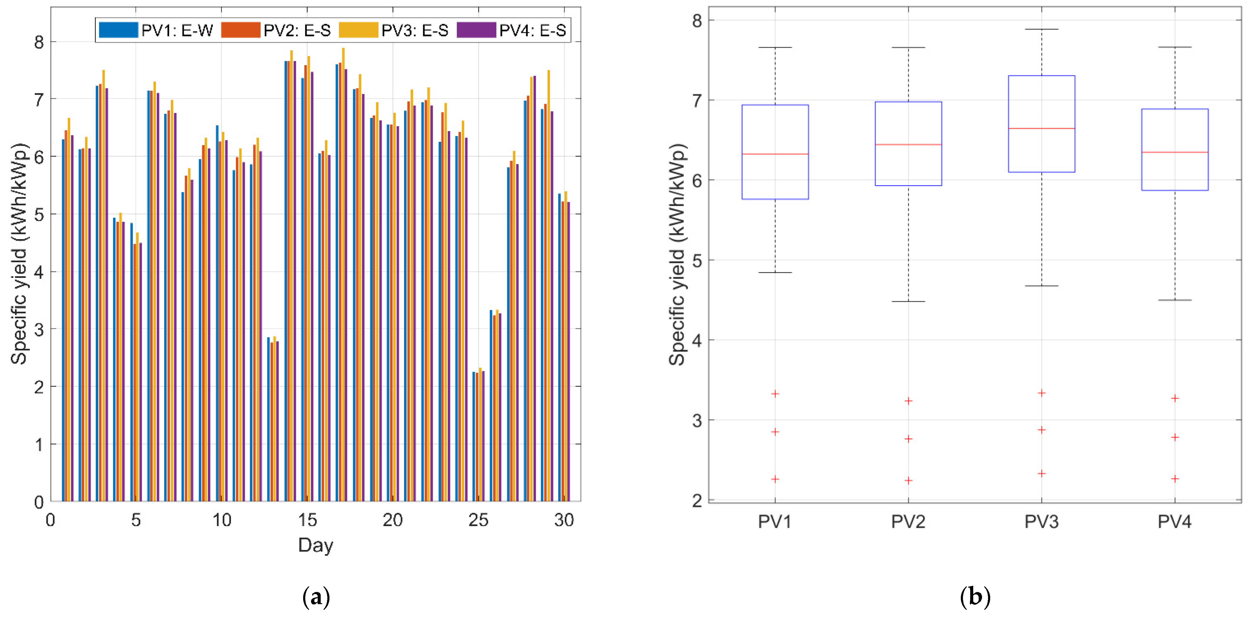
3. Results
4. Conclusions
Funding
Institutional Review Board Statement
Informed Consent Statement
Data Availability Statement
Acknowledgments
Conflicts of Interest
Abbreviations
| AC | Alternating current |
| Cfb | Oceanic climate |
| Dfb | Warm-summer humid continental climate |
| ETS | Emission Trading Scheme |
| EU | European Union |
| mc-Si | Polycrystalline silicon |
| NREL | National Renewable Energy Laboratory |
| O&M | Operation and maintenance |
| PERC | Passivated Emitter and Rear Cell |
| PV | Photovoltaics |
| PVGIS | Photovoltaic Geographical Information System |
| RES | Renewable energy sources |
| sc-Si | Monocrystalline silicon |
| Symbols | |
| PV system cost (EUR/kWp) | |
| d | Day number |
| Discount rate (%) | |
| Energy produced in the year n (kWh/kWp) | |
| Specific yield in the first year (kWh/kWp) | |
| AC energy output (kWh) | |
| Daily AC energy output (kWh) | |
| Monthly AC energy output (kWh) | |
| EC | Energy consumption from the grid (kWh) |
| EE | Energy exported to the grid (kWh) |
| EI | Energy imported from the grid (kWh) |
| L | Number of registered data points during the day |
| LCOE | Levelized cost of electricity |
| N | Number of days in a month |
| n | Number of years |
| ns | PV system lifetime (years) |
| k-th recorded value of output AC power (kW) | |
| PV system rated power | |
| Annual degradation rate (%) | |
| SC | Self-consumption ratio |
| SPP | Simple payback period (years) |
| SS | Self-sufficiency ratio |
| Specific (final) yield of the PV system (kWh/kWp) | |
| Duration of k-th interval (hours) |
Appendix A



References
- Council of the European Union, European Parliament. Regulation (EU) 2018/1999 of the European Parliament and of the Council of 11 December 2018 on the Governance of the Energy Union and Climate Action. Off. J. Eur. Union 2018, L 328, 1. Available online: http://data.europa.eu/eli/reg/2018/1999/2021-07-29 (accessed on 31 March 2022).
- Ministry of Climate and Environment. Executive Summary of Poland’s National Energy and Climate Plan for the Years 2021–2030 (NECP PL). 2019. Available online: https://www.gov.pl/attachment/e64830c9-440f-4f17-b3e7-8abd7667d406 (accessed on 31 March 2022).
- Institute for Renewable Energy IEO. IEO Podnosi Prognozę Nowych Mocy Dla Fotowoltaiki. Available online: https://ieo.pl/pl/aktualnosci/1566-ieo-podnosi-prognoze-nowych-mocy-dla-fotowoltaiki (accessed on 31 March 2022).
- Institute for Renewable Energy. Report PV Market in Poland 2021; Institute for Renewable Energy: Warsaw, Poland, 2021. [Google Scholar]
- Kulpa, J.; Olczak, P.; Surma, T.; Matuszewska, D. Comparison of Support Programs for the Development of Photovoltaics in Poland: My Electricity Program and the RES Auction System. Energies 2022, 15, 121. [Google Scholar] [CrossRef]
- Olczak, P.; Żelazna, A.; Matuszewska, D.; Olek, M. The “My Electricity” Program as One of the Ways to Reduce CO2 Emissions in Poland. Energies 2021, 14, 7679. [Google Scholar] [CrossRef]
- Bódis, K.; Kougias, I.; Jäger-Waldau, A.; Taylor, N.; Szabó, S. A High-Resolution Geospatial Assessment of the Rooftop Solar Photovoltaic Potential in the European Union. Renew. Sustain. Energy Rev. 2019, 114, 109309. [Google Scholar] [CrossRef]
- Rao, R.R.; Mani, M.; Ramamurthy, P.C. An Updated Review on Factors and Their Inter-Linked Influences on Photovoltaic System Performance. Heliyon 2018, 4, e00815. [Google Scholar] [CrossRef] [PubMed]
- Hasan, K.; Yousuf, S.B.; Tushar, M.S.H.K.; Das, B.K.; Das, P.; Islam, M.S. Effects of Different Environmental and Operational Factors on the PV Performance: A Comprehensive Review. Energy Sci. Eng. 2022, 10, 656–675. [Google Scholar] [CrossRef]
- Olchowik, J.M.; Gulkowski, S.; Cieślak, K.; Banaś, J.; Jóźwik, I.; Szymczuk, D.; Zabielski, K.; Mucha, J.; Zdrojewska, M.; Adamczyk, J.; et al. Influence of Temperature on the Efficiency of Monocrystalline Silicon Solar Cells in the South-Eastern Poland Conditions. Mater. Sci.-Pol. 2006, 24, 1127–1132. [Google Scholar]
- Klugmann-Radziemska, E.; Wcisło-Kucharek, P. Photovoltaic Module Temperature Stabilization with the Use of Phase Change Materials. Sol. Energy 2017, 150, 538–545. [Google Scholar] [CrossRef]
- Bora, B.; Kumar, R.; Sastry, O.S.; Prasad, B.; Mondal, S.; Tripathi, A.K. Energy Rating Estimation of PV Module Technologies for Different Climatic Conditions. Sol. Energy 2018, 174, 901–911. [Google Scholar] [CrossRef]
- Romero-Fiances, I.; Muñoz-Cerón, E.; Espinoza-Paredes, R.; Nofuentes, G.; De la Casa, J. Analysis of the Performance of Various PV Module Technologies in Peru. Energies 2019, 12, 186. [Google Scholar] [CrossRef] [Green Version]
- Mamun, M.A.A.; Islam, M.M.; Hasanuzzaman, M.; Selvaraj, J. Effect of Tilt Angle on the Performance and Electrical Parameters of a PV Module: Comparative Indoor and Outdoor Experimental Investigation. Energy Built Environ. 2022, 3, 278–290. [Google Scholar] [CrossRef]
- Babatunde, A.A.; Abbasoglu, S.; Senol, M. Analysis of the Impact of Dust, Tilt Angle and Orientation on Performance of PV Plants. Renew. Sustain. Energy Rev. 2018, 90, 1017–1026. [Google Scholar] [CrossRef]
- Srivastava, R.; Tiwari, A.N.; Giri, V.K. An Overview on Performance of PV Plants Commissioned at Different Places in the World. Energy Sustain. Dev. 2020, 54, 51–59. [Google Scholar] [CrossRef]
- Bansal, N.; Jaiswal, S.P.; Singh, G. Comparative Investigation of Performance Evaluation, Degradation Causes, Impact and Corrective Measures for Ground Mount and Rooftop Solar PV Plants—A Review. Sustain. Energy Technol. Assess. 2021, 47, 101526. [Google Scholar] [CrossRef]
- Milosavljević, D.D.; Pavlović, T.M.; Piršl, D.S. Performance Analysis of A Grid-Connected Solar PV Plant in Niš, Republic of Serbia. Renew. Sustain. Energy Rev. 2015, 44, 423–435. [Google Scholar] [CrossRef]
- Micheli, D.; Alessandrini, S.; Radu, R.; Casula, I. Analysis of the Outdoor Performance and Efficiency of Two Grid Connected Photovoltaic Systems in Northern Italy. Energy Convers. Manag. 2014, 80, 436–445. [Google Scholar] [CrossRef]
- Žnidarec, M.; Šljivac, D.; Došen, D.; Dumniŋ, B. Performance Assessment of Mono and Poly Crystalline Silicon Photovoltaic Arrays under Pannonian Climate Conditions. In Proceedings of the IEEE EUROCON 2019—18th International Conference on Smart Technologies, Novi Sad, Serbia, 1–4 July 2019; pp. 1–6. [Google Scholar] [CrossRef]
- Ghiani, E.; Pilo, F.; Cossu, S. Evaluation of Photovoltaic Installations Performances in Sardinia. Energy Convers. Manag. 2013, 76, 1134–1142. [Google Scholar] [CrossRef]
- te Heesen, H.; Herbort, V.; Rumpler, M. Performance of Roof-Top PV Systems in Germany from 2012 to 2018. Sol. Energy 2019, 194, 128–135. [Google Scholar] [CrossRef]
- Schardt, J.; te Heesen, H. Performance of Roof-Top PV Systems in Selected European Countries from 2012 to 2019. Sol. Energy 2021, 217, 235–244. [Google Scholar] [CrossRef]
- Castaneda, M.; Zapata, S.; Cherni, J.; Aristizabal, A.J.; Dyner, I. The Long-Term Effects of Cautious Feed-in Tariff Reductions on Photovoltaic Generation in the UK Residential Sector. Renew. Energy 2020, 155, 1432–1443. [Google Scholar] [CrossRef]
- Ritzen, M.J.; Vroon, Z.A.E.P.; Rovers, R.; Lupíšek, A.; Geurts, C.P.W. Environmental Impact Comparison of a Ventilated and a Non-Ventilated Building-Integrated Photovoltaic Rooftop Design in the Netherlands: Electricity Output, Energy Payback Time, and Land Claim. Sol. Energy 2017, 155, 304–313. [Google Scholar] [CrossRef]
- Adaramola, M.S.; Vågnes, E.E.T. Preliminary Assessment of a Small-Scale Rooftop PV-Grid Tied in Norwegian Climatic Conditions. Energy Convers. Manag. 2015, 90, 458–465. [Google Scholar] [CrossRef]
- Pietruszko, S.M. Photovoltaics in Poland. Appl. Energy 2003, 74, 169–175. [Google Scholar] [CrossRef]
- Zdyb, A.; Szałas, G. Rooftop Low Angle Tilted Photovoltaic Installation under Polish Climatic Conditions. J. Ecol. Eng. 2021, 22, 223–233. [Google Scholar] [CrossRef]
- Frydrychowicz-Jastrzębska, G.; Bugała, A. Solar Tracking System with New Hybrid Control in Energy Production Optimization from Photovoltaic Conversion for Polish Climatic Conditions. Energies 2021, 14, 2938. [Google Scholar] [CrossRef]
- Duda, J.; Kusa, R.; Pietruszko, S.; Smol, M.; Suder, M.; Teneta, J.; Wójtowicz, T.; Żdanowicz, T. Development of Roadmap for Photovoltaic Solar Technologies and Market in Poland. Energies 2022, 15, 174. [Google Scholar] [CrossRef]
- Kottek, M.; Grieser, J.; Beck, C.; Rudolf, B.; Rubel, F. World Map of the Köppen-Geiger Climate Classification Updated. Meteorol. Z. 2006, 15, 259–263. [Google Scholar] [CrossRef]
- Krawczak, E. Energy, Economical and Ecological Analysis of a Single-Family House Using Photovoltaic Installation. E3S Web Conf. 2018, 49, 00060. [Google Scholar] [CrossRef] [Green Version]
- Krawczak, E. BAPV System Modeling for the Single-Family House: A Case Study. Inform. Autom. Pomiary Gospod. Ochr. Sr. 2020, 10, 44–47. [Google Scholar] [CrossRef]
- Frączek, K. Analysis of the Operation of a Photovoltaic Installation Made with the Use of Bifacial Modules. Master Thesis, Lublin University of Technology, Lublin, Poland, 2021. [Google Scholar]
- Lipińska, A. Comparative Analysis of the Operation of Photovoltaic Systems of Different Orientations Located in the Lublin Region. Master Thesis, Lublin University of Technology, Lublin, Poland, 2021. [Google Scholar]
- Cyngot, J. Analysis of the Operation of a Photovoltaic System with Capacity of 30 KWp Located in the Village of Krępiec. Master Thesis, Lublin University of Technology, Lublin, Poland, 2021. [Google Scholar]
- Anang, N.; Syd Nur Azman, S.N.A.; Muda, W.M.W.; Dagang, A.N.; Daud, M.Z. Performance Analysis of a Grid-Connected Rooftop Solar PV System in Kuala Terengganu, Malaysia. Energy Build. 2021, 248, 111182. [Google Scholar] [CrossRef]
- Bošnjaković, M.; Čikić, A.; Zlatunić, B. Cost-Benefit Analysis of Small-Scale Rooftop PV Systems: The Case of Dragotin, Croatia. Appl. Sci. 2021, 11, 9318. [Google Scholar] [CrossRef]
- Alrawi, O.; Bayram, I.S.; Al-Ghamdi, S.G.; Koc, M. High-Resolution Household Load Profiling and Evaluation of Rooftop PV Systems in Selected Houses in Qatar. Energies 2019, 12, 3876. [Google Scholar] [CrossRef] [Green Version]
- Comparative PV LCOE Calculator. Available online: https://www.nrel.gov/pv/lcoe-calculator/index.html (accessed on 22 April 2022).
- Electricity Price Statistics. Available online: https://ec.europa.eu/eurostat/statistics-explained/index.php?title=Electricity_price_statistics (accessed on 22 April 2022).
- Gulkowski, S.; Zdyb, A.; Dragan, P. Experimental Efficiency Analysis of a Photovoltaic System with Different Module Technologies under Temperate Climate Conditions. Appl. Sci. 2019, 9, 141. [Google Scholar] [CrossRef] [Green Version]
- Zdyb, A.; Gulkowski, S. Performance Assessment of Four Different Photovoltaic Technologies in Poland. Energies 2020, 13, 196. [Google Scholar] [CrossRef] [Green Version]
- JRC Photovoltaic Geographical Information System (PVGIS)—European Commission. Available online: https://re.jrc.ec.europa.eu/pvg_tools/en/tools.html#PVP (accessed on 22 April 2022).
- Sarniak, M.T. Researches of the Impact of the Nominal Power Ratio and Environmental Conditions on the Efficiency of the Photovoltaic System: A Case Study for Poland in Central Europe. Sustainability 2020, 12, 6162. [Google Scholar] [CrossRef]
- Olczak, P.; Olek, M.; Matuszewska, D.; Dyczko, A.; Mania, T. Monofacial and Bifacial Micro PV Installation as Element of Energy Transition—The Case of Poland. Energies 2021, 14, 499. [Google Scholar] [CrossRef]
- Dobrzycki, A.; Kurz, D.; Maćkowiak, E. Influence of Selected Working Conditions on Electricity Generation in Bifacial Photovoltaic Modules in Polish Climatic Conditions. Energies 2021, 14, 4964. [Google Scholar] [CrossRef]
- Haffaf, A.; Lakdja, F.; Ould Abdeslam, D.; Meziane, R. Monitoring, Measured and Simulated Performance Analysis of a 2.4 KWp Grid-Connected PV System Installed on the Mulhouse Campus, France. Energy Sustain. Dev. 2021, 62, 44–55. [Google Scholar] [CrossRef]
- Ayompe, L.M.; Duffy, A.; McCormack, S.J.; Conlon, M. Measured Performance of a 1.72 kW Rooftop Grid Connected Photovoltaic System in Ireland. Energy Convers. Manag. 2011, 52, 816–825. [Google Scholar] [CrossRef] [Green Version]
- Moraitis, P.; Kausika, B.B.; Nortier, N.; Van Sark, W. Urban Environment and Solar PV Performance: The Case of the Netherlands. Energies 2018, 11, 1333. [Google Scholar] [CrossRef] [Green Version]
- Kausika, B.B.; Moraitis, P.; Van Sark, W.G.J.H.M. Visualization of Operational Performance of Grid-Connected PV Systems in Selected European Countries. Energies 2018, 11, 1330. [Google Scholar] [CrossRef] [Green Version]










| PV System | Modules’ Producer | Modules’ Power (Wp) | Efficiency (%) | Tilt Angle (°) | PV Power Capacity (kWp) |
| PV1: ES-WS | Canadian Solar CS3L-365MS | 365 | 19.7 | 10–11 | 14.60 |
| PV2: ES | Longi Solar LR4-60HPH-365M | 365 | 20.0 | 10 | 11.68 |
| PV3: ES BI | Longi Solar LR4-60HBD-370M Bifacial | 370 | 20.3 | 10 | 11.84 |
| PV4: ES | Longi Solar LR4-60HPH-370M | 370 | 20.3 | 10 | 11.84 |
| PV System | Inverter’s Producer | AC Power (kW) | Efficiency (%) | ||
| PV1-PV4 | Solar Edge SE50K | 50 | 98.3 |
| PV System | Module’s Producer | Modules’ Power (Wp) | Efficiency (%) | Tilt Angle (°) | PV Power Capacity (kWp) |
| PV5: EW | Longi Solar LR6-60PB 305M | 305 | 18.7 | 30 | 3.66 |
| PV6: ES 45° | Longi Solar LR6-60HPH 320M | 320 | 19.3 | 30 | 6.40 |
| PV7: S | Longi Solar LR6-60HPH 320M | 320 | 19.3 | 20 | 40.0 |
| PV8: WS 45° | LG355N1C-V5 | 355 | 20.7 | 30 | 8.165 |
| PV System | Inverter’s Producer | AC Power (kW) | Efficiency (%) | ||
| PV5 | Goodwe 3000D-NS-1F | 3 | 97.8 | ||
| PV6 | Goodwe 6K-DT | 6 | 98.2 | ||
| PV7 | Huawei sun 2000-36ktl-MO | 36 | 98.8 | ||
| PV8 | Huawei sun 2000-8ktl-MO | 7 | 98.0 |
| PV Modules | |
| Module’s producer | Penta ASM6610M Series |
| PV power (Wp) | 290 |
| Efficiency (%) | 17.7 |
| Tilt angle (°) | 25 |
| System capacity (kWp) | 30.16 |
| Inverter | |
| Producer | Solar Edge SE 25K |
| Max. efficiency (%) | 98.3 |
| AC power (kW) | 25 |
| Producer | Solar Edge SE 3500K |
| Max. efficiency (%) | 97.6 |
| AC power (kW) | 3.5 |
| Battery | |
| Producer | LG Chem RESU10H |
| Capacity (kWh) | 9.8 |
| Month/Year | Daily Specific Yield (kWh/kWp) | Average Yield (kWh/kWp) | |||||||
|---|---|---|---|---|---|---|---|---|---|
| PV1 | PV2 | PV3 | PV4 | PV5 | PV6 | PV7 | PV8 | ||
| 11/2020 | 0.85 | 0.80 | 0.83 | 0.82 | 0.62 | 0.78 | 0.72 | 0.54 | 0.75 |
| 12/2020 | 0.47 | 0.43 | 0.45 | 0.45 | 0.35 | 0.45 | 0.36 | 0.24 | 0.40 |
| 01/2021 | 0.32 | 0.27 | 0.29 | 0.28 | 0.25 | 0.41 | 0.27 | 0.17 | 0.28 |
| 02/2021 | 0.97 | 0.38 | 1.29 | 1.31 | 0.92 | 1.52 | 0.79 | 1.02 | 1.03 |
| 03/2021 | 2.65 | 2.50 | 2.69 | 2.63 | 2.09 | 2.57 | 2.40 | 2.33 | 2.48 |
| 04/2021 | 4.02 | 4.00 | 4.11 | 4.02 | 3.23 | 3.50 | 3.00 | 3.39 | 3.66 |
| 05/2021 | 5.03 | 5.04 | 5.18 | 5.04 | 4.18 | 4.11 | 4.84 | 4.36 | 4.72 |
| 06/2021 | 6.05 | 6.11 | 6.31 | 6.06 | 5.03 | 4.49 | 5.69 | 5.31 | 5.63 |
| 07/2021 | 5.27 | 5.20 | 5.40 | 5.23 | 4.34 | 4.12 | 5.01 | 4.58 | 4.89 |
| 08/2021 | 3.73 | 3.72 | 3.83 | 3.73 | 3.14 | 3.10 | 3.60 | 3.31 | 3.52 |
| 09/2021 | 3.24 | 3.21 | 3.29 | 3.24 | 2.60 | 2.85 | 2.93 | 2.78 | 3.02 |
| 10/2021 | 2.51 | 2.43 | 2.50 | 2.47 | 1.83 | 1.61 | 2.16 | 1.93 | 2.18 |
| Parameter | PV System | ||||||||
|---|---|---|---|---|---|---|---|---|---|
| PV1 | PV2 | PV3 | PV4 | PV5 | PV6 | PV7 | PV8 | PV9 | |
| LCOE (€/kWh ) | 0.15 | 0.15 | 0.14 | 0.15 | 0.18 | 0.18 | 0.16 | 0.17 | 0.16 |
| SPP(y) | 8.1 | 8.4 | 7.9 | 8.1 | 10.0 | 9.7 | 9.0 | 9.6 | 8.3 |
| Month/Year | Self-Consumption Ratio (%) | Self-Sufficiency Ratio (%) |
|---|---|---|
| 07/2020 | 49.2 | 70.6 |
| 08/2020 | 48.8 | 64.1 |
| 09/2020 | 54.7 | 53.1 |
| 10/2020 | 76.2 | 23.8 |
| 11/2020 | 90.6 | 13.8 |
| 12/2020 | 92.9 | 6.9 |
| 01/2021 | 96.9 | 4.9 |
| 02/2021 | 52.8 | 6.4 |
| 03/2021 | 70.6 | 28.0 |
| 04/2021 | 67.1 | 46.7 |
| 05/2021 | 57.5 | 62.5 |
| 06/2021 | 49.4 | 70.4 |
Publisher’s Note: MDPI stays neutral with regard to jurisdictional claims in published maps and institutional affiliations. |
© 2022 by the author. Licensee MDPI, Basel, Switzerland. This article is an open access article distributed under the terms and conditions of the Creative Commons Attribution (CC BY) license (https://creativecommons.org/licenses/by/4.0/).
Share and Cite
Gulkowski, S. Specific Yield Analysis of the Rooftop PV Systems Located in South-Eastern Poland. Energies 2022, 15, 3666. https://doi.org/10.3390/en15103666
Gulkowski S. Specific Yield Analysis of the Rooftop PV Systems Located in South-Eastern Poland. Energies. 2022; 15(10):3666. https://doi.org/10.3390/en15103666
Chicago/Turabian StyleGulkowski, Slawomir. 2022. "Specific Yield Analysis of the Rooftop PV Systems Located in South-Eastern Poland" Energies 15, no. 10: 3666. https://doi.org/10.3390/en15103666
APA StyleGulkowski, S. (2022). Specific Yield Analysis of the Rooftop PV Systems Located in South-Eastern Poland. Energies, 15(10), 3666. https://doi.org/10.3390/en15103666

