Development of New Protection Scheme in DC Microgrid Using Wavelet Transform
Abstract
:1. Introduction
2. Fault Characteristic in LVDC Microgrid
- -
- Fault section ①: Fault on the DC side of the AC/DC converter (AC/DC converter side)
- -
- Fault section ②: Fault on the DC/DC converter connected to PV (PV side)
- -
- Fault section ③: Fault in DC line
- -
- Fault section ④: Fault in DC bus
2.1. Comparison of Direction of Steady State Current and Fault Current at Each Fault Section
2.2. Characteristics of Fault Current in CB1, CB2, and CB3 at Each Fault Section
= −iDC/DC_PV(1) − iDC/DC_Load(1) + iDC/DC_PV(1) − iDC/DC_Load(1) = −2 iDC/DC_Load(1)
= iAC/DC(2) − (iAC/DC(2) − (−iDC/DC_Load(2))) − iDC/DC_Load(2) = −iDC/DC_Load(2)
3. Development of New Protection Scheme in DC Microgrid Using Wavelet Transform
3.1. Wavelet Transform
3.2. System Configuration
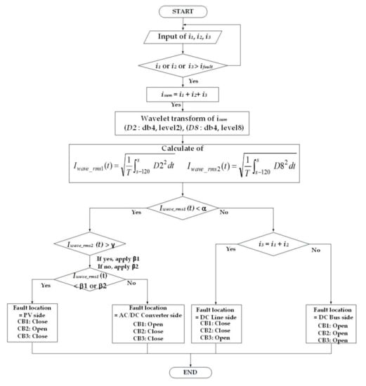
3.3. New Protection Scheme in DC Microgrid Using Wavelet Transform
4. Simulations
4.1. System Model
4.2. Simulation Conditions
4.3. Simulation Results and Discussion
4.3.1. Simulation Results of Cases 1–6
4.3.2. Simulation Results in Cases 7–12
5. Conclusions
Funding
Institutional Review Board Statement
Informed Consent Statement
Conflicts of Interest
References
- Elia, S.; Santantonio, A. Fire Risk in MTBF Evaluation for UPS System. Adv. Electr. Electron. Eng. 2016, 14, 189–194. [Google Scholar] [CrossRef]
- Elia, S.; Santini, E.; Tobia, M. Comparison between Different Electrical Configurations of Emergency Diesel Generators for Redundancy and Reliability Improving. Period. Polytech. Electr. Eng. Comput. Sci. 2018, 62, 144–148. [Google Scholar] [CrossRef] [Green Version]
- Bracci, D.; Elia, S.; Ruvio, A. A study on a high-reliability electromechanical undervoltage relay immersed in natural ester oil: Application in mutual aid system for gensets using. In Proceedings of the IEEE International Conference on Dielectric Liquids ICDL 2019, Rome, Italy, 23–27 June 2019. [Google Scholar]
- Boccaletti, C.; Elia, S.; Salas, M.E.F.; Pasquali, M. High reliability storage systems for genset cranking. J. Energy Storage 2020, 29, 101336. [Google Scholar] [CrossRef]
- D’Orazio, A.; Elia, S.; Santini, E.; Tobia, M. Succor System and Failure Indication for the Starter Batteries of Emergency Gensets. Period. Polytech. Electr. Eng. Comput. Sci. 2020, 64, 412–421. [Google Scholar] [CrossRef]
- Emhemed, A.A.S.; Burt, G.M. An Advanced Protection Scheme for Enabling an LVDC Last Mile Distribution Network. IEEE Trans. Smart Grid 2014, 5, 2602–2609. [Google Scholar] [CrossRef] [Green Version]
- Emhemed, A.A.S.; Fong, K.; Fletcher, S.; Burt, M.G. Validation of Fast and Selective Protection Scheme for an LVDC Distribution Network. IEEE Trans. Power Deliv. 2017, 32, 1432–1440. [Google Scholar] [CrossRef] [Green Version]
- Shamsoddini, M.; Vahidi, B.; Razani, R.; Nafisi, H. Extending protection selectivity in low voltage DC microgrids using compensation gain and artificial line inductance. Electr. Power Syst. Res. 2020, 188, 106530. [Google Scholar] [CrossRef]
- Noh, C.-H.; Kim, C.-H.; Gwon, G.-H.; Khan, M.O.; Jamali, S.Z. Development of protective schemes for hybrid AC/DC low-voltage distribution system. Int. J. Electr. Power Energy Syst. 2019, 105, 521–528. [Google Scholar] [CrossRef]
- Ravyts, S.; Broeck, G.V.d.; Hallemans, L.; Vecchia, M.D.; Driesen, J. Fuse-Based Short-Circuit Protection of Converter Controlled Low-Voltage DC Grids. IEEE Trans. Power Electron. 2020, 35, 11694–11706. [Google Scholar] [CrossRef]
- Saleh, K.A.; Hooshyar, A.; El-Saadany, E.F. Hybrid Passive-Overcurrent Relay for Detection of Faults in Low-Voltage DC Grids. IEEE Trans. Smart Grid 2017, 8, 1129–1138. [Google Scholar] [CrossRef]
- Shamsoddini, M.; Vahidi, B.; Razani, R.; Mohamed, Y.A.R.I. A novel protection scheme for low voltage DC microgrid using inductance estimation. Int. J. Electr. Power Energy Syst. 2020, 120, 105992. [Google Scholar] [CrossRef]
- Oh, Y.-S.; Kim, C.-H.; Gwon, G.H.; Noh, C.H.; Bukhari, S.B.A.; Haider, R.; Gush, T. Fault detection scheme based on mathematical morphology in last mile radial low voltage DC distribution networks. Int. J. Electr. Power Energy Syst. 2019, 106, 520–527. [Google Scholar] [CrossRef]
- Jamali, S.Z.; Bukhari, S.B.A.; Khan, M.O.; Mehmood, K.K.; Mehdi, M.; Noh, C.-H.; Kim, C.-H. A High-Speed Fault Detection, Identification, and Isolation Method for a Last Mile Radial LVDC Distribution Network. Energies 2018, 11, 2901. [Google Scholar] [CrossRef] [Green Version]
- Salehi, M.; Taher, S.A.; Sadeghkhani, I.; Shahidehpour, M. A Poverty Severity Index-Based Protection Strategy for Ring-Bus Low-Voltage DC Microgrids. IEEE Trans. Smart Grid 2019, 10, 6860–6869. [Google Scholar] [CrossRef]
- Bhargav, R.; Bhalja, B.R.; Gupta, C.P. Novel Fault Detection and Localization Algorithm for Low-Voltage DC Microgrid. IEEE Trans. Ind. Inform. 2020, 16, 4498–4511. [Google Scholar] [CrossRef]
- Noh, C.; Kim, C.; Gwon, G.; Oh, Y. Development of fault section identification technique for low voltage DC distribution systems by using capacitive discharge current. J. Mod. Power Syst. Clean Energy 2018, 6, 509–520. [Google Scholar] [CrossRef] [Green Version]
- Wang, D.; Emhemed, A.; Burt, G. A novel protection scheme for an LVDC distribution network with reduced fault levels. In Proceedings of the IEEE Second International Conference on DC Microgrids (ICDCM), Nuremburg, Germany, 27–29 June 2017. [Google Scholar]
- Lee, J.-W.; Kim, W.-K.; Oh, Y.-S.; Seo, H.-C.; Jang, W.-H.; Kim, Y.S.; Park, C.-W.; Kim, C.-H. Algorithm for Fault Detection and Classification Using Wavelet Singular Value Decomposition for Wide-Area Protection. J. Electr. Eng. Technol. 2015, 10, 729–739. [Google Scholar] [CrossRef] [Green Version]
- Bhuvnesh, R.; Shaik, A.G. Wavelet-alienation based protection scheme for multi-terminal transmission line. Electr. Power Syst. Res. 2018, 161, 8–16. [Google Scholar]
- Adly, A.R.; Aleem, S.H.A.; Algabalawy, M.A.; Jurado, F.; Ali, Z.M. A novel protection scheme for multi-terminal transmission lines based on wavelet transform. Electr. Power Syst. Res. 2020, 183, 106286. [Google Scholar] [CrossRef]
- Leal, M.M.; Costa, F.B.; Campos, J.T.L.S. Improved traditional directional protection by using the stationary wavelet transform. Int. J. Electr. Power Energy Syst. 2019, 105, 59–69. [Google Scholar] [CrossRef]
- Gautam, N.; Ali, S.; Kapoor, G. Detection of fault in series capacitor compensated double circuit transmission line using wavelet transform. In Proceedings of the International Conference on Computing, Power and Communication Technologies (GUCON), Greater Noida, India, 28–29 September 2018. [Google Scholar]
- Gururaja Rao, H.V.; Prabhu, N.; Mala, R.C. Wavelet transform-based protection of transmission line incorporating SSSC with energy storage device. Electr. Eng. 2020, 102, 1–12. [Google Scholar] [CrossRef]
- Mishra, D.P.; Samantaray, S.R.; Joos, G.A. Combined Wavelet and Data-Mining Based Intelligent Protection Scheme for Microgrid. IEEE Trans. Smart Grid 2016, 7, 2295–2304. [Google Scholar] [CrossRef]
- Seo, H.C. New Protection Scheme Based on Coordination with Tie Switch in an Open-Loop Microgrid. Energies 2019, 12, 4756. [Google Scholar] [CrossRef] [Green Version]
- Seo, H.C. Novel Protection Scheme considering Tie Switch Operation in an Open-Loop Distribution System using Wavelet Transform. Energies 2019, 12, 1725. [Google Scholar] [CrossRef] [Green Version]
- Seo, H.C.; Rhee, S.B. Novel adaptive reclosing scheme using wavelet transform in distribution system with battery energy storage system. Int. J. Electr. Power Energy Syst. 2018, 97, 186–200. [Google Scholar] [CrossRef]
- Sabug, L., Jr.; Musa, A.; Costa, F.; Monti, A. Real-time boundary wavelet transform-based DC fault protection system for MTDC grids. Int. J. Electr. Power Energy Syst. 2020, 115, 105475. [Google Scholar] [CrossRef]
- Duan, J.; Li, H.; Lei, Y.; Tuo, L. A novel non-unit transient based boundary protection for HVDC transmission lines using synchrosqueezing wavelet transform. Int. J. Electr. Power Energy Syst. 2020, 115, 105478. [Google Scholar] [CrossRef]
- Mitra, B.; Chowdhury, B.; Willis, A. Protection coordination for assembly HVDC breakers for HVDC multiterminal grids using wavelet transform. IEEE Syst. J. 2019, 14, 1069–1079. [Google Scholar] [CrossRef]
- Psaras, V.; Tzelepis, D.; Vozikis, D.; Adam, G.; Burt, G. Non-unit protection for HVDC grids: An analytical approach for wavelet transform-based schemes. IEEE Trans. Power Deliv. 2020, 36, 2634–2645. [Google Scholar] [CrossRef]



























| Fault Section | CB1 | CB2 | CB3 |
|---|---|---|---|
| ① | (+) → (−) | (+) → (+) | (+) → (−) |
| ② | (+) → (+) | (+) → (−) | (+) → (−) |
| ③ | (+) → (+) | (+) → (+) | (+) → (+) |
| ④ | (+) → (+) | (+) → (+) |
| Case | Fault Section | Fault Type | Fault Resistance (ohm) | Fault Distance |
|---|---|---|---|---|
| 1 | AC/DC converter side | Pole-to-Pole | 0.1 | - |
| 2 | PV side | Pole-to-Pole | 0.1 | - |
| 3 | DC Line side | Pole-to-Pole | 0.1 | 20% |
| 4 | DC Line side | Pole-to-Pole | 0.1 | 50% |
| 5 | DC Line side | Pole-to-Pole | 0.1 | 80% |
| 6 | DC Bus side | Pole-to-Pole | 0.1 | - |
| 7 | AC/DC converter side | Pole-to-ground | 0.1 | - |
| 8 | PV side | Pole-to-ground | 0.1 | - |
| 9 | DC Line side | Pole-to-ground | 0.1 | 20% |
| 10 | DC Line side | Pole-to-ground | 0.1 | 50% |
| 11 | DC Line side | Pole-to-ground | 0.1 | 80% |
| 12 | DC Bus side | Pole-to-ground | 0.1 |
| Fault Section | CB Operation | ||
|---|---|---|---|
| 0 | Non-fault | 0 | open |
| 1 | AC/DC side fault | 1 | CB1 close |
| 2 | PV side fault | 2 | CB2 close |
| 3 | DC Line fault | 3 | CB3 close |
| 4 | DC Bus fault | ||
| Case | Maximum Value of Iwave_rms1(t) | Maximum Value of Iwave_rms2(t) |
|---|---|---|
| Case 1 | 460 | 11,800 |
| Case 2 | 199 | 13,930 |
| Case 3 | 1394 | |
| Case 4 | 848 | |
| Case 5 | 549 | |
| Case 6 | 900 |
| Case | Maximum Value of Iwave_rms1(t) | Maximum Value of Iwave_rms2(t) |
|---|---|---|
| Case 7 | 164 | 4500 |
| Case 8 | 27 | 1920 |
| Case 9 | 1085 | |
| Case 10 | 727 | |
| Case 11 | 537 | |
| Case 12 | 700 |
Publisher’s Note: MDPI stays neutral with regard to jurisdictional claims in published maps and institutional affiliations. |
© 2022 by the author. Licensee MDPI, Basel, Switzerland. This article is an open access article distributed under the terms and conditions of the Creative Commons Attribution (CC BY) license (https://creativecommons.org/licenses/by/4.0/).
Share and Cite
Seo, H.-C. Development of New Protection Scheme in DC Microgrid Using Wavelet Transform. Energies 2022, 15, 283. https://doi.org/10.3390/en15010283
Seo H-C. Development of New Protection Scheme in DC Microgrid Using Wavelet Transform. Energies. 2022; 15(1):283. https://doi.org/10.3390/en15010283
Chicago/Turabian StyleSeo, Hun-Chul. 2022. "Development of New Protection Scheme in DC Microgrid Using Wavelet Transform" Energies 15, no. 1: 283. https://doi.org/10.3390/en15010283
APA StyleSeo, H.-C. (2022). Development of New Protection Scheme in DC Microgrid Using Wavelet Transform. Energies, 15(1), 283. https://doi.org/10.3390/en15010283

