Enhanced Stability Criteria of Network-Based Load Frequency Control of Power Systems with Time-Varying Delays
Abstract
:1. Introduction
- As mentioned above, only one-area LFC system with two different time-varying delays is considered. It is general and important to investigate the stability of two-area or multi-area LFC system with two or more time-varying delays. This paper studies one- and two-area LFC system with two time-varying delays.
- The main improvements of the LKF are summarized as: (a) introducing four delay-dependent non-integral terms to the LKF, such as , (i = 1, 2, 3, 4); (b) introducing some integral components to the single-integral terms under different time-varying delay subintervals, such as , , , , and so on. These improvements make the LKF contain more information (the time-varying delays and the coupling information between the state variables and the time-varying delay) than the literature [11,17,18,21], which reduces the conservativeness caused by the LKF construction.
- To overcome the nonlinear matrix inequality in the stability criterion, the novel negative definite inequality equivalent transformation lemma proposed in [39] is used to transform the nonlinear inequality to the LMI equivalently, which can be easily solved by the MATLAB LMI-Toolbox.
2. System Description and Problem Preliminaries
2.1. One-Area LFC System
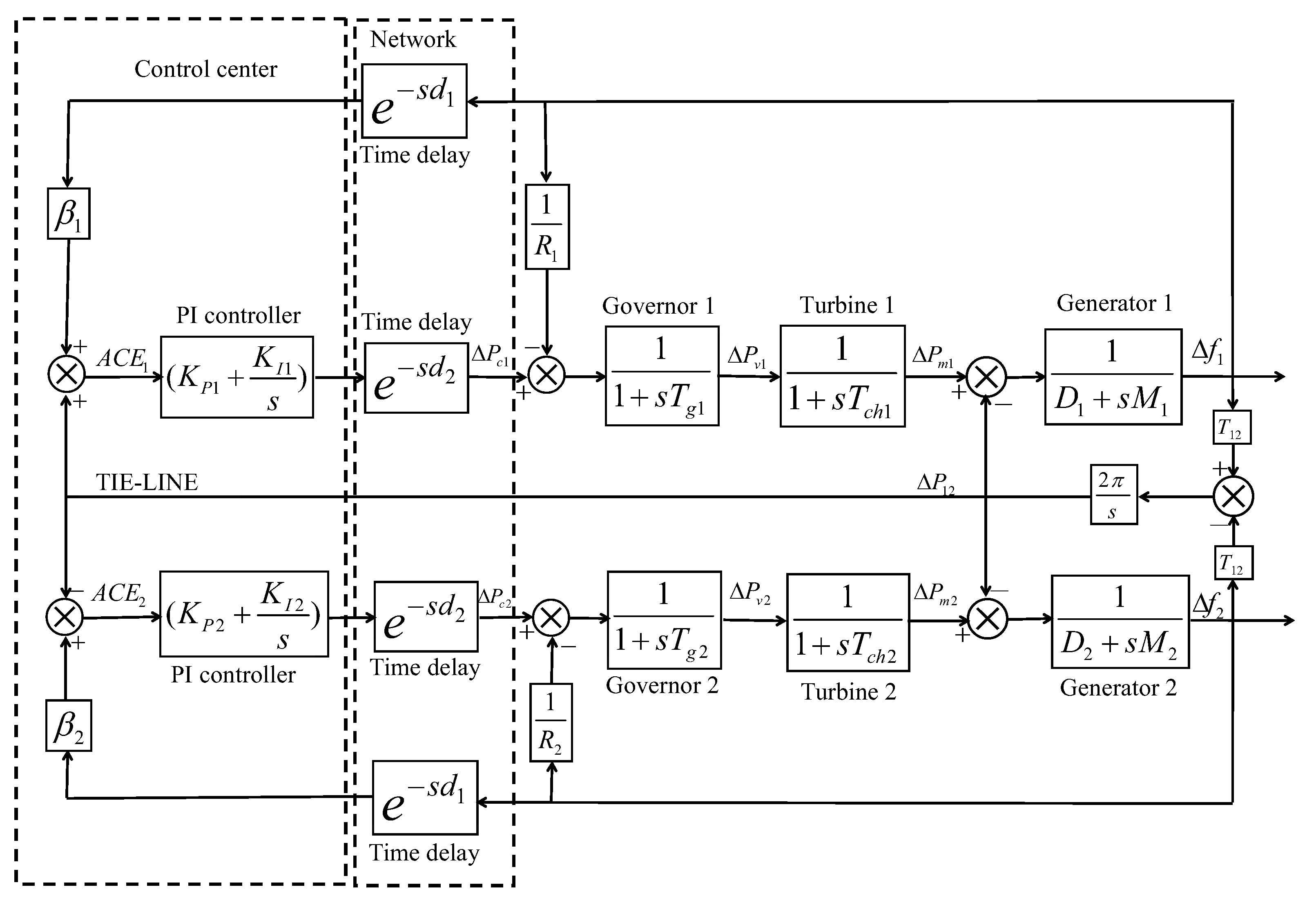
2.2. Two-Area LFC System
3. Stability Assessment for LFC System
4. Results and Discussions
4.1. One-Area LFC System
4.1.1. Conservativeness Comparisons
4.1.2. Simulation Verification
4.2. Two-Area LFC System
4.2.1. Conservativeness Comparison
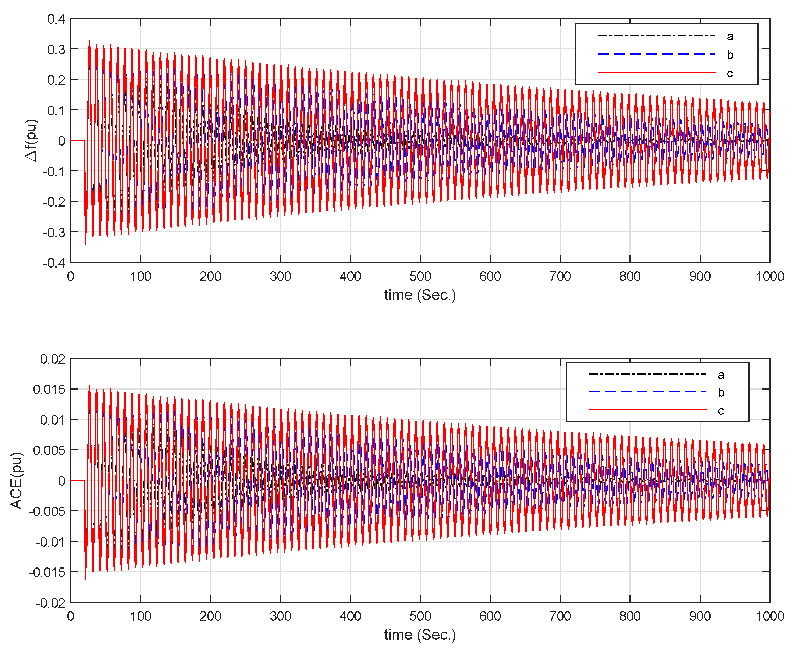
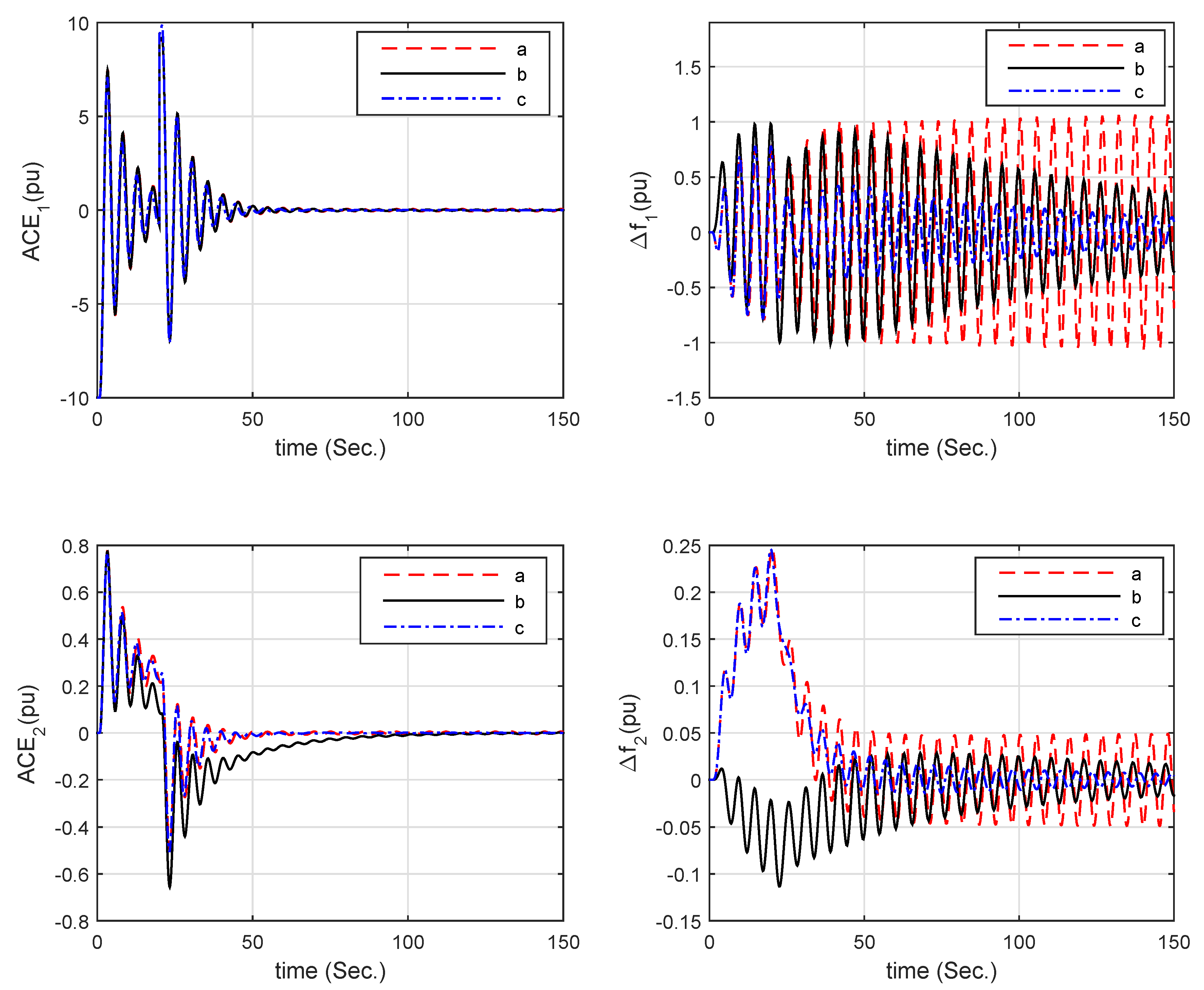
4.2.2. Simulation Verification
5. Conclusions
Author Contributions
Funding
Institutional Review Board Statement
Informed Consent Statement
Data Availability Statement
Conflicts of Interest
Appendix A
Appendix B
Appendix C
References
- Kundur, P. Power System Stability and Control; McGraw-Hill: New York, NY, USA, 1994. [Google Scholar]
- Mello, R.; Apostolopoulou, D.; Alonso, E. Cost efficient distributed load frequency control in power systems. In Proceedings of the 21st IFAC World Congress, Berlin, Germany, 12–17 July 2020; Volume 53, pp. 8037–8042. [Google Scholar]
- Ali, D.; Mohammad, M.; Zeinolabedin, M.; Lieven, V. A novel technique for load frequency control of multi-area power systems. Energies 2020, 13, 2125. [Google Scholar]
- Giudice, D.; Brambilla, A.; Grillo, S.; Bizzarri, F. Effects of inertia, load damping and dead-bands on frequency histograms and frequency control of power systems. Int. J. Electr. Power Energy Syst. 2021, 129, 106842. [Google Scholar] [CrossRef]
- Ladygin, A.; Bogachenko, D.; Kholin, V. Efficient control of induction motor current in a frequency—Ccontrolled electric drive. Russ. Electr. Eng. 2020, 6, 362–367. [Google Scholar] [CrossRef]
- Baykov, D.; Gulyaev, I.; Inshakov, A.; Teplukhov, D. Simulation modeling of an induction motor drive controlled by an array frequency converter. Russ. Electr. Eng. 2019, 7, 485–490. [Google Scholar] [CrossRef]
- Aminov, R.; Garievskii, M. Effect of engagement in power and frequency control on the service life of steam–turbine power units. Power Technol. Eng. 2019, 53, 479–483. [Google Scholar] [CrossRef]
- Khalil, A.; Peng, A. An accurate method for delay margin computation for power system stability. Energies 2018, 11, 3466. [Google Scholar] [CrossRef] [Green Version]
- Jin, L.; Zhang, C.; He, Y.; Jiang, L.; Wu, M. Delay-dependent stability analysis of multi-area load frequency control with enhanced accuracy and computation efficiency. IEEE Trans. Power Syst. 2019, 34, 3687–3696. [Google Scholar] [CrossRef]
- Martin, G.; Begovic, M.; Taylor, D. Transient control of generator excitation in consideration of measurement and control delays. IEEE Trans. Power Deliv. 2002, 10, 135–141. [Google Scholar] [CrossRef]
- Manikandan, S.; Kokil, P. Stability analysis of load frequency control system with constant communication delays. IFAC PapersOnLine 2020, 53, 338–343. [Google Scholar] [CrossRef]
- Zhang, C.; Jiang, L.; Wu, Q.; He, Y.; Wu, M. Further results on delay-dependent stability of multi-area load frequency control. IEEE Trans. Power Syst. 2015, 28, 4465–4474. [Google Scholar] [CrossRef]
- Peng, C.; Zhang, J. Delay-distribution-dependent load frequency control of power systems with probabilistic interval delays. IEEE Trans. Power Syst. 2016, 31, 3309–3317. [Google Scholar] [CrossRef]
- Ramakrishnan, K.; Ray, G. Stability criteria for nonlinearly perturbed load frequency systems with time-delay. Electr. Power Compon. Syst. 2017, 45, 302–314. [Google Scholar] [CrossRef]
- Sönmez, A.; Nwankpa, C. An exact method for computing delay margin for stability of load frequency control systems with constant communication delays. IEEE Trans. Power Syst. 2016, 31, 370–377. [Google Scholar] [CrossRef]
- Yang, F.; He, J.; Wang, D. New stability criteria of delayed load frequency control systems via infinite-series-based inequality. IEEE Trans. Ind. Inform. 2018, 14, 231–240. [Google Scholar] [CrossRef]
- Chen, B.; Shangguan, X.; Jin, L.; Li, D. An improved stability criterion for load frequency control of power systems with time-varying delays. Energies 2020, 13, 2101. [Google Scholar] [CrossRef] [Green Version]
- Shen, H.; Jiao, S.; Park, J.; Sreeram, V. An improved result on H∞ load frequency control for power systems with time delays. IEEE Syst. J. 2020, 15, 3238–3248. [Google Scholar] [CrossRef]
- Xu, H.; Zhang, C.; Jiang, L.; Smitha, J. Stability analysis of linear systems with two additive time-varying delays via delay-product-type Lyapunov functional. Appl. Math. Model. 2017, 45, 955–964. [Google Scholar] [CrossRef]
- Jiang, L.; Yao, W.; Wu, Q.; Wen, J.; Chen, S. Delay-dependent stability for load frequency control with constant and time-varying delays. IEEE Trans. Power Syst. 2012, 27, 932–941. [Google Scholar] [CrossRef]
- Shen, C.; Li, Y.; Zhu, X.; Duan, W. Improved stability criteria for linear systems with two additive time-varying delays via a novel Lyapunov functional. J. Comput. Appl. Math. 2019, 363, 312–324. [Google Scholar] [CrossRef]
- Hua, C.; Qiu, Y.; Wang, Y.; Guan, X. An augmented delays-dependent region partitioning approach for recurrent neural networks with multiple time-varying delays. Neurocomputing 2021, 423, 248–254. [Google Scholar] [CrossRef]
- Duan, W.; Li, Y.; Chen, J. Further stability analysis for time-delayed neural networks based on an augmented Lyapunov functional. IEEE Access 2019, 7, 104655–104666. [Google Scholar] [CrossRef]
- Duan, W.; Li, Y.; Chen, J. An enhanced stability criterion for linear time-delayed systems via new Lyapunov-Krasovskii functionals. Adv. Differ. Equ. 2020, 2020, 21. [Google Scholar] [CrossRef]
- Kim, J. Further improvement of Jensen inequality and application to stability of time-delayed systems. Automatica 2016, 64, 121–125. [Google Scholar] [CrossRef]
- Scopus, P.; Tian, Y.; Wang, Z. Stability analysis for delayed neural networks based on the augmented Lyapunov-Krasovskii functional with delay-product-type and multiple integral terms. Neurocomputing 2020, 410, 295–303. [Google Scholar]
- Gholami, Y. Existence and global asymptotic stability criteria for nonlinear neutral-type neural networks involving multiple time delays using a quadratic-integral Lyapunov functional. Adv. Differ. Equ. 2021, 112, 2021. [Google Scholar]
- Duan, W.; Fu, X.; Yang, X. Further results on the robust stability for neutral-type Lur’e system with mixed delays and sector-bounded nonlinearities. Int. J. Control Autom. Syst. 2016, 14, 560–568. [Google Scholar] [CrossRef]
- Duan, W.; Fu, X.; Liu, Z. Improved robust stability criteria for time-delay Lur’e system. Int. J. Control Autom. Syst. 2017, 19, 139–150. [Google Scholar] [CrossRef]
- Zhang, X.; Han, Q.; Seuret, A.; Gouaisbaut, F. An improved reciprocally convex inequality and an augmented Lyapunov-Krasovskii functional for stability of linear systems with time-varying delay. Automatica 2017, 84, 221–226. [Google Scholar] [CrossRef] [Green Version]
- Duan, W.; Li, Y.; Sun, Y.; Chen, J.; Yang, Y. Enhanced master-slave synchronization criteria for chaotic Lur’e systems based on time-delayed feedback control. Math. Comput. Simul. 2020, 177, 276–294. [Google Scholar] [CrossRef]
- Gu, K. An integral inequality in the stability problem of time-delay systems. In Proceedings of the Conference of the IEEE Industrial Electronics, Sydney, Australia, 12–15 December 2010. [Google Scholar]
- Seuret, A.; Gouaisbaut, F. Hierarchy of LMI conditions for the stability analysis of time-delay systems. Syst. Control Lett. 2015, 81, 1–7. [Google Scholar] [CrossRef] [Green Version]
- Feng, W.; Luo, F.; Duan, W.; Chen, J. An improved stability criterion for linear time-varying delay systems. Automatika 2020, 61, 229–237. [Google Scholar] [CrossRef]
- Kwon, N.; Lee, S. An affine integral inequality of an arbitrary degree for stability analysis of linear systems with time-varying delays. IEEE Access 2021, 9, 51958–51969. [Google Scholar] [CrossRef]
- Zhang, C.; He, Y.; Jiang, L.; Wu, M. Notes on stability of time-delay systems: Bounding inequalities and augmented Lyapunov-Krasovskii functionals. IEEE Trans. Autom. Control 2017, 62, 5331–5336. [Google Scholar] [CrossRef] [Green Version]
- Duan, W.; Du, B.; Li, Y.; Shen, C.; Zhu, X.; Li, X.; Chen, J. Improved sufficient LMI conditions for the robust stability of time-delayed neutral-type Lur’e systems. Int. J. Control Autom. Syst. 2018, 16, 2343–2353. [Google Scholar] [CrossRef]
- Duan, W.; Li, Y.; Chen, J. New results on stability analysis of uncertain neutral-type Lur’e systems derived from a modified Lyapunov-Krasovskii functional. Complexity 2019, 2019, 1706264. [Google Scholar] [CrossRef]
- de Oliveira, F.S.; Souza, F.O. Further refinements in stability conditions for time-varying delay systems. Appl. Math. Comput. 2020, 369, 124866. [Google Scholar] [CrossRef]










| R | D | |||||
|---|---|---|---|---|---|---|
| Area 1 | 0.3 | 21 | 0.05 | 0.1 | 1 | 10 |
| Area 2 | 0.4 | 21.5 | 0.05 | 0.17 | 1.5 | 12 |
| Methods | 1.0 | 1.2 | 1.5 |
|---|---|---|---|
| [20] | 4.803 | 4.603 | 4.303 |
| [19] | 5.882 | 5.682 | 5.383 |
| [21] | 5.987 | 5.878 | 5.559 |
| Th. 1 | 6.155 | 6.046 | 6.003 |
| Methods | 2.0 | 3.0 | 4.0 |
|---|---|---|---|
| [20] | 3.803 | 2.803 | 1.803 |
| [19] | 4.892 | 3.886 | 2.885 |
| [21] | 4.997 | 3.979 | 3.001 |
| Th. 1 | 5.016 | 4.031 | 3.217 |
| Methods | 0.05 | 0.1 | 0.15 | 0.2 | 0.4 | 0.6 | 1 | |
|---|---|---|---|---|---|---|---|---|
| 0 | [20] | 27.93 | 13.78 | 9.06 | 6.69 | 3.12 | 1.91 | 0.89 |
| [14] | 27.92 | 13.77 | – | 6.69 | 3.12 | 1.91 | 0.88 | |
| [15] | 30.92 | 15.20 | 9.96 | 7.34 | 3.38 | 2.04 | 0.92 | |
| [16] | 30.91 | 15.20 | – | 7.34 | 3.39 | 2.05 | 0.93 | |
| [11] | 30.79 | 15.14 | 9.92 | 7.31 | 3.37 | 2.31 | 0.92 | |
| Th. 1 | 30.79 | 15.17 | 9.95 | 7.33 | 3.38 | 2.03 | 0.92 | |
| 0.05 | [20] | 27.87 | 14.06 | 9.28 | 6.87 | 3.22 | 1.97 | 0.93 |
| [15] | 31.88 | 15.68 | 10.28 | 7.58 | 3.50 | 2.12 | 0.97 | |
| [11] | 31.74 | 15.62 | 10.24 | 7.55 | 3.49 | 2.12 | 0.97 | |
| Th. 1 | 31.77 | 15.67 | 10.27 | 7.57 | 3.50 | 2.12 | 0.97 | |
| 0.1 | [14] | 27.03 | 13.69 | – | 6.94 | 3.29 | 2.02 | 0.96 |
| [20] | 27.03 | 13.68 | – | 6.94 | 3.29 | 2.02 | 0.96 | |
| [16] | 31.61 | 16.02 | – | 7.79 | 3.61 | 2.19 | 1.01 | |
| Th. 1 | 32.73 | 16.08 | 10.31 | 7.81 | 3.62 | 2.19 | 1.04 | |
| Methods | 0.05 | 0.1 | 0.2 | 0.4 | 0.6 | 1 | |
|---|---|---|---|---|---|---|---|
| 0 | [14] | 20.45 | 9.963 | 4.59 | 1.81 | 1.01 | 0.48 |
| [20] | 26.37 | 12.96 | 6.25 | 2.85 | 1.68 | 0.74 | |
| [16] | 27.26 | 13.39 | 6.43 | 2.91 | 1.71 | 0.75 | |
| [17] | 27.50 | 13.73 | 6.61 | 3.02 | 1.80 | 0.78 | |
| Th. 1 | 28.03 | 14.24 | 7.12 | 3.20 | 1.91 | 0.79 | |
| 0.1 | [14] | 17.39 | 9.16 | 4.67 | 1.85 | 1.05 | 0.48 |
| [20] | 20.25 | 11.07 | 5.93 | 2.87 | 1.75 | 0.74 | |
| [16] | 22.00 | 12.32 | 6.59 | 3.11 | 1.84 | 0.75 | |
| [17] | 29.51 | 14.52 | 7.02 | 3.23 | 1.94 | 0.86 | |
| Th. 1 | 30.07 | 14.61 | 7.13 | 3.24 | 1.95 | 0.87 | |
| 0.2 | 0.5 | 0.8 | ||||||||
|---|---|---|---|---|---|---|---|---|---|---|
| Methods | 1 | 1.5 | 2 | 1 | 1.5 | 2 | 1 | 1.5 | 2 | |
| Th. 1 | 0.1 | 2.122 | 1.774 | 1.323 | 2.051 | 1.637 | 1.273 | 2.015 | 1.582 | 1.098 |
| 0.2 | 2.018 | 1.559 | 1.064 | 2.003 | 1.507 | 1.018 | 1.997 | 1.499 | 1.001 | |
| 0.5 | 1.992 | 1.529 | 1.030 | 1.973 | 1.481 | 0.995 | 1.895 | 1.398 | 0.908 | |
| 0.2 | 0.5 | 0.8 | ||||||||
|---|---|---|---|---|---|---|---|---|---|---|
| Methods | 1 | 2 | 3 | 1 | 2 | 3 | 1 | 2 | 3 | |
| Th. 1 | 0.1 | 2.028 | 1.183 | 0.251 | 1.939 | 1.078 | 0.189 | 1.925 | 1.051 | 0.081 |
| 0.2 | 2.016 | 1.027 | 0.079 | 1.921 | 1.017 | 0.077 | 1.910 | 1.009 | 0.054 | |
| 0.5 | 2.009 | 1.012 | 0.053 | 1.907 | 1.007 | 0.037 | 1.897 | 1.007 | 0.036 | |
| Methods | 0.05 | 0.1 | 0.15 | 0.2 | 0.4 | 0.6 | 1 | |
|---|---|---|---|---|---|---|---|---|
| 0 | [20] | 27.85 | 13.70 | 8.97 | 6.60 | 3.00 | 1.75 | 0.57 |
| [15] | 30.81 | 15.09 | 9.84 | 7.21 | 3.23 | 1.84 | 0.59 | |
| [11] | 30.695 | 15.042 | 9.816 | 7.196 | 3.225 | 1.846 | 0.585 | |
| Th. 1 | 30.83 | 15.11 | 9.87 | 7.24 | 3.23 | 1.85 | 0.62 | |
| 0.05 | [20] | 27.83 | 14.02 | 9.21 | 6.78 | 3.10 | 1.81 | 0.62 |
| [15] | 31.27 | 15.57 | 10.16 | 7.45 | 3.35 | 1.92 | 0.64 | |
| [11] | 31.643 | 15.526 | 10.132 | 7.433 | 3.334 | 1.924 | 0.638 | |
| Th. 1 | 31.67 | 15.55 | 10.15 | 7.44 | 3.34 | 1.93 | 0.65 | |
| 0.1 | [14] | – | 13.65 | – | 6.88 | 3.17 | 1.86 | – |
| [20] | – | 13.65 | – | 6.88 | 3.17 | 1.86 | – | |
| [16] | – | 15.97 | – | 7.67 | 3.47 | 2.03 | – | |
| [17] | – | 16.01 | – | 7.68 | 3.47 | 2.03 | – | |
| Th. 1 | 31.67 | 16.05 | 10.16 | 7.71 | 3.48 | 2.03 | 0.65 | |
Publisher’s Note: MDPI stays neutral with regard to jurisdictional claims in published maps and institutional affiliations. |
© 2021 by the authors. Licensee MDPI, Basel, Switzerland. This article is an open access article distributed under the terms and conditions of the Creative Commons Attribution (CC BY) license (https://creativecommons.org/licenses/by/4.0/).
Share and Cite
Feng, W.; Xie, Y.; Luo, F.; Zhang, X.; Duan, W. Enhanced Stability Criteria of Network-Based Load Frequency Control of Power Systems with Time-Varying Delays. Energies 2021, 14, 5820. https://doi.org/10.3390/en14185820
Feng W, Xie Y, Luo F, Zhang X, Duan W. Enhanced Stability Criteria of Network-Based Load Frequency Control of Power Systems with Time-Varying Delays. Energies. 2021; 14(18):5820. https://doi.org/10.3390/en14185820
Chicago/Turabian StyleFeng, Wenxi, Yanshan Xie, Fei Luo, Xianyong Zhang, and Wenyong Duan. 2021. "Enhanced Stability Criteria of Network-Based Load Frequency Control of Power Systems with Time-Varying Delays" Energies 14, no. 18: 5820. https://doi.org/10.3390/en14185820
APA StyleFeng, W., Xie, Y., Luo, F., Zhang, X., & Duan, W. (2021). Enhanced Stability Criteria of Network-Based Load Frequency Control of Power Systems with Time-Varying Delays. Energies, 14(18), 5820. https://doi.org/10.3390/en14185820
