Comparative Evaluation of Direct Disposal and Pyro-SFR Nuclear Fuel Cycle Alternatives Using Multi Criteria Decision Making in Korea
Abstract
1. Introduction
2. Materials and Methods
2.1. Evaluation Criteria
2.2. Weight
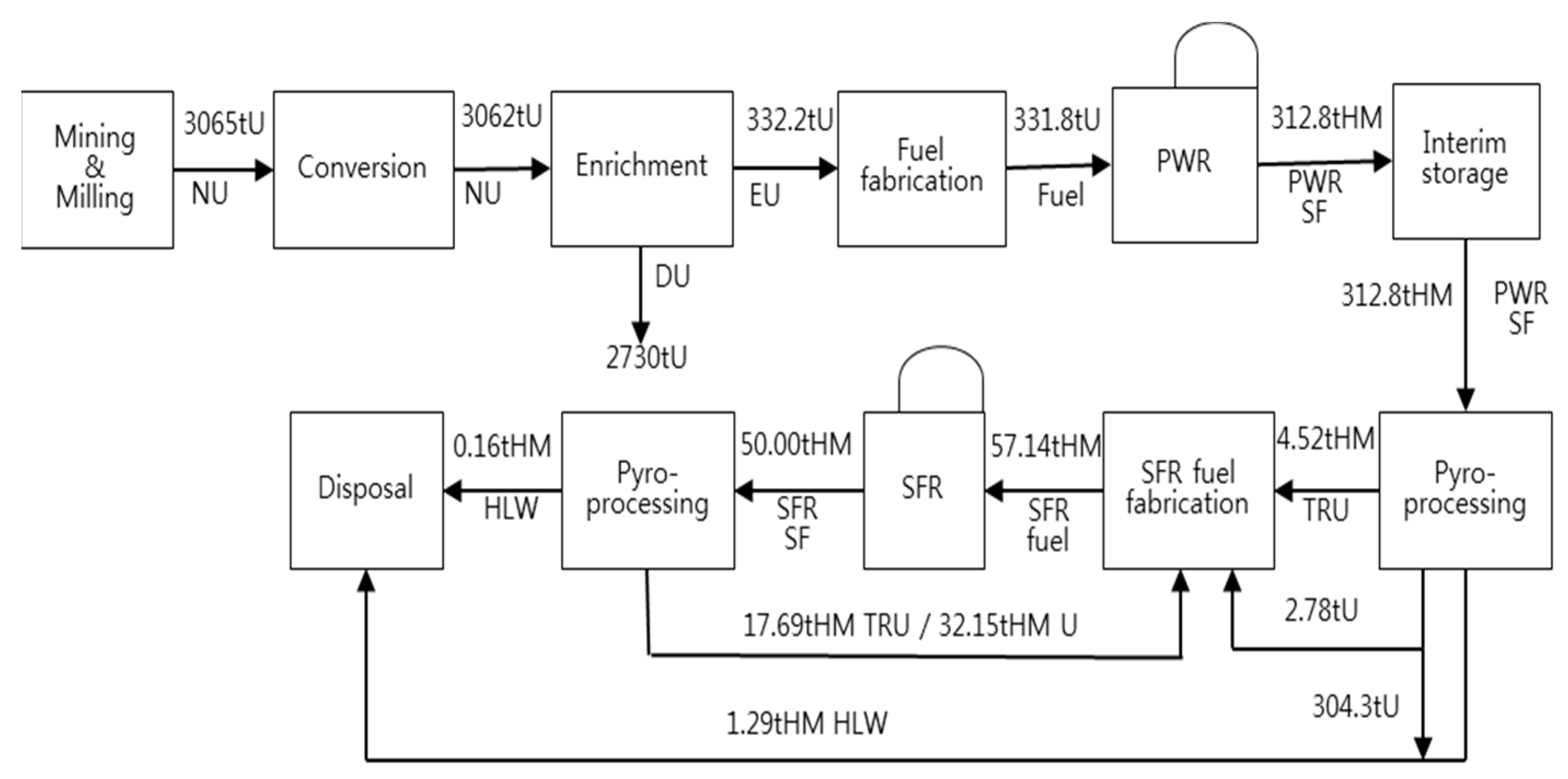
2.3. Material Flow Information and Assumptions
2.4. Input Data
3. Multi-Criteria Decision-Making Method
3.1. AHP (Analytic Hierarchy Process)
3.2. TOPSIS (Technique for Order Preference by Similarity to Ideal Solution)
3.3. PROMETHEE (Preference Ranking Organization Method for Enrichment Evaluations)
3.4. Comparison of MCDM Methodology
4. Results and Discussion
4.1. AHP Evaluation Results
4.2. TOPSIS Evaluation Results
4.3. PROMETHEE Evaluation Results
4.4. Sensitivity Analysis
5. Conclusions
Author Contributions
Funding
Institutional Review Board Statement
Informed Consent Statement
Data Availability Statement
Acknowledgments
Conflicts of Interest
Terminology
| MCDM | Multiple-criteria decision-making (MCDM) or multiple-criteria decision analysis (MCDA) is a sub-discipline of operations research that explicitly evaluates multiple conflicting criteria in decision making. Conflicting criteria are typical in evaluating options: cost or price is usually one of the main criteria, and some measure of quality is typically another criterion. Thus, MCDM means the process of determining the best feasible solution according to established criteria. |
| AHP | The analytic hierarchy process (AHP), also analytical hierarchy process, is a structured technique for organizing and analyzing complex decisions, based on mathematics and psychology. It was developed by Thomas L. Saaty in the 1970s; Saaty partnered with Ernest Forman to develop Expert Choice software in 1983, and AHP has been extensively studied and refined since then. It represents an accurate approach to quantifying the weights of decision criteria. Individual experts’ experiences are utilized to estimate the relative magnitudes of factors through pair-wise comparisons. Each of the respondents compares the relative importance each pair of items using a specially designed questionnaire. |
| TOPSIS | The Technique for Order of Preference by Similarity to Ideal Solution (TOPSIS) is a multi-criteria decision analysis method, which was originally developed by Ching-Lai Hwang and Yoon in 1981 with further developments by Yoon in 1987, and Hwang, Lai and Liu in 1993. TOPSIS is based on the concept that the chosen alternative should have the shortest geometric distance from the positive ideal solution (PIS) and the longest geometric distance from the negative ideal solution (NIS). |
| PROMETHEE | PROMETHEE is a well-established decision support system which deals with the appraisal and selection of a set of options on the basis of several criteria, with the objective of identifying the pros and the cons of the alternatives and obtaining a ranking among them. The method called Preference Ranking Organisation Method for Enrichment Evaluations (PROMETHEE) was developed by Brans (1982), further extended by Brans and Vincke (1985) and Brans and Mareschal (1994). It is an outranking method. |
| Direct Disposal Spent nuclear fuel (SNF) | SNF constitutes the largest portion of high-level nuclear waste. The radioactivity content of SNF decays so that it reaches comparable levels of the natural uranium mined to manufacture fresh fuel only after some 100,000 years. There is a need to provide isolation of these radioactive materials from the biosphere during this period. This is presently done by implementing a strategy that consists of a storage period to cool down the fuel elements after fission in the reactor followed by their deep geological disposal. DD (Direct Disposal) means the deep geological disposal method. |
| Pyro-SFR NFC Pyro-SFR nuclear fuel cycle (NFC) | This is highlighted as a competitive alternative to direct disposal in terms of economic efficiency, because an efficient reprocessing method is being re-examined in many states of the world, such as United States and Korea. |
| Pyroprocessing (Pyro) Argonne National Laboratory | Argonne National Laboratory pioneered the development of pyrochemical processing, or pyroprocessing, a high-temperature method of recycling reactor waste into fuel, demonstrating it paired with the EBR-II and then proposed commercializing it in the Integral Fast Reactor. In 2016, several pyroprocessing technologies for both light water and fast reactors, with most based on electrorefining to improve the technologies’ commercial viability by increasing their process efficiency and scalability, were developed. South Korea is developing the pyroprocessing technology at Korea Atomic Energy Research Institute (KAERI). |
| Nuclear Fuel Cycle | The nuclear fuel cycle is the progression of nuclear fuel through a series of differing stages. It consists of steps in the front end, which are the preparation of the fuel, steps in the service period in which the fuel is used during reactor operation, and steps in the back end, which are necessary to safely manage, contain, and either reprocess or dispose of spent nuclear fuel. If spent fuel is not reprocessed, the fuel cycle is referred to as an open fuel cycle (or a once-through fuel cycle); if the spent fuel is reprocessed, it is referred to as a closed fuel cycle. |
References
- Ko, W.-I.; Jang, H.-R. Nuclear Fuel Cycle System Integrated Evaluation; KAERI/TR-4508; KAERI: Daejeon, Korea, 2011; pp. 12–36. [Google Scholar]
- Ko, W.-I.; Jang, H.-R.; Kim, S.K. Development of System Engineering Technology for Nuclear Fuel Cycle; KAERI/RR-3426; KAERI: Daejeon, Korea, 2011; pp. 32–60. [Google Scholar]
- Silvennoinen, P. Nuclear Fuel Cycle Optimization; Pergamon Press: Oxford, UK, 1982; pp. 40–45. [Google Scholar]
- Parnell, G.S.; Driscoll, P.J.; Henderson, D.L. Decision Making in Systems Engineering and Management; John Wiley & Sons, Inc.: Hoboken, NJ, USA, 2007; pp. 303–305. [Google Scholar]
- Chang, T.Y.; Ku, C.C. Fuzzy filtering ranking method for multi-criteria decision making. Comput. Ind. Eng. 2021, 156, 107217. [Google Scholar] [CrossRef]
- Dabous, S.A.; Ibrahim, F.; Feroz, S.; Alsyouf, I. Integration of failure mode, effects, and criticality analysis with multi-criteria decision-making in engineering applications: Part II—Non-manufacturing industries. Eng. Fail. Anal. 2021, 122, 105296. [Google Scholar] [CrossRef]
- Hashemi, A.; Dowlatshahi, M.B.; Nezamabadi-Pour, H. Hossein Nezamabadi-pour. MFS-MCDM: Multi-label feature selection using multi-criteria decision making. Knowl. Based Syst. 2020, 206, 106365. [Google Scholar] [CrossRef]
- Kim, S.K.; Kang, G.B.; Ko, W.I.; Youn, S.R.; Gao, R.X. A statistical approach for deriving key NFC evaluation criteria. Nucl. Eng. Technol. 2014, 46, 81–92. [Google Scholar] [CrossRef]
- Jong, N.K.; Stone, P.; Keeney, R.L.; Raiffa, H. Decisions with Multiple Objectives—Preferences and Value Tradeoffs; Cambridge University Press: Cambridge, UK, 2003; pp. 66–82. [Google Scholar]
- Wang, L.; Xu, S.B. An Illustrated Guide to the Analytic Hierarchy Process; BOKU: Vienna, Austria, 2015; pp. 35–38. [Google Scholar]
- Saldanha, W.H.; Arrieta, F.R.; Ekel, P.I.; Machado-Coelho, T.M.; Soares, G.L. Multi-criteria decision-making under uncertainty conditions of a shell-and-tube heat exchanger. Int. J. Heat Mass Transf. 2020, 155, 119716. [Google Scholar] [CrossRef]
- Soltaniyan, S.; Salehizadeh, M.R.; Taşcıkaraoğlu, A.; Erdinç, O.; Catalão, J.P. An interactive multi-criteria decision-making framework between a renewable power plant planner and the independent system operator, Sustainable Energy. Grids Netw. 2021, 26, 100447. [Google Scholar]
- Dabous, S.A.; Ibrahim, F.; Feroz, S.; Alsyouf, I. Integration of failure mode, effects, and criticality analysis with multi-criteria decision-making in engineering applications: Part I—Manufacturing industry. Eng. Fail. Anal. 2021, 122, 105264. [Google Scholar] [CrossRef]
- Gebre, S.L.; Cattrysse, D.; Alemayehu, E.; Van Orshoven, J. Multi-criteria decision making methods to address rural land allocation problems: A systematic review. Int. Soil Water Conserv. Res. 2021. [Google Scholar] [CrossRef]
- Sung, K.K.; Won, I.K.; Hyo, J.L.; Sung, Y.C. The Derivation Method of Nuclear Fuel Cycle Evaluation Criteria Using a Factor Analysis; KAERI/TR-5264/2013; KAERI: Daejeon, Korea, 2013; pp. 13–14. [Google Scholar]
- OECD/NEA. Advanced Nuclear Fuel Cycles and Radioactive Waste Management; NEA: Paris, France, 2006; pp. 21–28.
- Lokhov, A.; Urso, M.E.; Cameron, R. OECD/NEA study on the economics of the back-end of nuclear fuel cycle. In Proceedings of the ICAPP, Jeju Island, Korea, 14–18 April 2013. [Google Scholar]
- IAEA. Factors Affecting Public and Political Acceptance for the Implementation of Geological Disposal; IAEA-TECDOC-1566; IAEA: Vienna, Austria, 2007; pp. 10–16. [Google Scholar]
- Kim, S.Y.; Wang, J. Changes in Attitudes toward Nuclear Public Acceptance of the World after the Fukushima Nuclear Accident. Korean Assoc. Policy Stud. 2014, 23, 57–89. [Google Scholar]
- Lee, G.; Song, H.-J.; Kim, J.-K.; Hwang, W.-D. Analysis of Factors Affecting Korean People’s Public Acceptance of Nuclear Power. In Proceedings of the Korean Association for Policy Studies Spring Conference Proceeding, Seoul, Korea, 24–25 March 2011; pp. 535–555. [Google Scholar]
- Park, C.H.; Kim, S.Y. Knowledge Effects and Functions in Determining Nuclear Public Acceptance: Focusing on Objective Knowledge and Subjective Knowledge. Adm. Artic. 2015, 53, 117–150. [Google Scholar]
- Nguyen, V.P.; Yim, M.S. Examination of different socio economic factors that contribute to the public acceptance of nuclear energy. Nucl. Eng. Technol. 2018, 50, 767–772. [Google Scholar] [CrossRef]
- Richard, M. Determination of relative importance of nonproliferation factors. In Proceedings of the Institute of Nuclear Materials Management 50th Annual Meeting, Tucson, AZ, USA, 12–16 July 2009. [Google Scholar]
- Korea Nuclear Safety and Security Commission. [Notice No. 2016-27]: Repository; General Standards for High-Level Waste Repository [Enforcement Ordinance 2016.12.23]; NSSC: Seoul, Korea, 2016. [Google Scholar]
- Jang, H.-R.; Ko, W.-I. Analysis of Proliferation Resistance of Nuclear Fuel Cycle Systems; KAERI/TR-3928/2009, Table 8; KAERI: Daejeon, Korea, 2009; p. 31. [Google Scholar]
- Jang, H.-R.; Ko, W.-I. Analysis of Proliferation Resistance of Nuclear Fuel Cycle Systems; KAERI/TR-3928/2009, Table 19; KAERI: Daejeon, Korea, 2009; p. 47. [Google Scholar]
- Kim, Y.R. Introduction to Decision Analysis-Second Edition; Myung kyung sa Press: Seoul, Korea, 2012; pp. 317–318. [Google Scholar]
- Ko, W.-I.; Jang, H.-R. Development of Pyroprocess System Technologies; KAERI/RR-4173/2016, Table 3.2.3.11; KAERI: Daejeon, Korea, 2016; p. 198. [Google Scholar]
- INL. Advanced Fuel Cycle Cost Basis-2017 Edition; INL/EXT-17-43826; INL.: Idaho Falls, ID, USA, 2017; pp. 11–49.
- Hong, J.; Hyo, O.N.; Gao, R.; Chul, M.K.; Won, I.K. Application of Various Integrated Evaluation Methods for Nuclear Fuel Cycle System; KAERI/TR-7024/2017; KAERI: Daejeon, Korea, 2017; p. 40. [Google Scholar]
- Sałabun, W.; Wątróbski, J.; Shekhovtsov, A. Are MCDA Methods Benchmarkable? A Comparative Study of TOPSIS, VIKOR, COPRAS, and PROMETHEE II Methods. Symmetry 2020, 12, 1549. [Google Scholar] [CrossRef]
- Shekhovtsov, A.; Sałabun, W. A comparative case study of the VIKOR and TOPSIS rankings similarity. Procedia Comput. Sci. 2020, 176, 3730–3740. [Google Scholar] [CrossRef]
- Lin, R.; Lu, S.; Yang, A.; Shen, W.; Ren, J. Multi-criteria sustainability assessment and decision-making framework for hydrogen pathways prioritization: An extended ELECTRE method under hybrid information. Int. J. Hydrogen Energy 2021, 46, 13430–13445. [Google Scholar] [CrossRef]
- Soumen, G.; Biswaranjan, M. Assessing coastal vulnerability to environmental hazards of Indian Sundarban delta using multi-criteria decision-making approaches. Ocean Coast. Manag. 2021, 209, 105641. [Google Scholar]
- Savun-Hekimoğlu, B.; Erbay, B.; Hekimoğlu, M.; Burak, S. Evaluation of water supply alternatives for Istanbul using forecasting and multi-criteria decision making methods. J. Clean. Prod. 2021, 287, 125080. [Google Scholar] [CrossRef]
- Bertrand, M. Preference Functions and Thresholds. 14 June 2018. Available online: http://www.promethee-gaia.net/assets/preffunctions.pdf (accessed on 1 June 2021).
- Kim, S.; Ko, W.; Bang, S. Analysis of Unit Process Cost for an Engineering-Scale Pyroprocess Facility Using a Process Costing Method in Korea. Energies 2015, 8, 8775–8797. [Google Scholar] [CrossRef]









| Evaluation Criteria | ||
|---|---|---|
| Survey Results | MCDM | |
| Technology | → | Safety |
| → | Resource utilization | |
| Environmental impact | → | Environmental impact |
| Economic | → | Economic |
| Sociality | → | Public acceptance |
| Institution | → | Proliferation resistance |
| Evaluation Criteria | Evaluation Index | Unit |
|---|---|---|
| Safety (2 evaluation index) | ➀ Radiation exposed dose rates | mSv/year |
| ➁ Waste toxicity level | m3H2O/GWe | |
| Resource utilization (1 evaluation index) | ➀ Natural uranium consumption | tU/TWh |
| Environmental elements (4 evaluation index) | ➀ Amounts of high-level waste | Ton/TWh |
| ➁ Amounts of LILW waste | m3/TWh | |
| ➂ Amounts of Cs/Sr waste | kg | |
| ➃ Land use | m2/TWh | |
| Economic (2 evaluation index) | ➀ Levelized cost * | Mills/kWh |
| ➁ Capital investment cost | $/kWe | |
| Proliferation resistance (2 evaluation index) | ➀ Nuclear material for 1 SQ (Significant Quantity) equivalents | Kg |
| ➁ The qualitative measure of the worth of utility function for facility inspection | N/A | |
| Public acceptance (1 evaluation index) | ➀ Supporting fund for facility construction | Hundred million won (KRW) |
| Evaluation Criteria | Sub-Criteria | Weighting |
|---|---|---|
| Safety | Radiation exposed dose rates(mSv/year) | 0.11 |
| Waste toxicity level(m3H2O/GWe) | 0.11 | |
| Resource utilization | Natural Uranium (NU) required per energy generated (tU/TWh) | 0.22 |
| Environmental impact | HLW (ton/TWh) | 0.055 |
| LILW Volume (m3/TWh) | 0.055 | |
| Cs/Sr waste (kg) | 0.055 | |
| Land Use for HLW disposal per energy generated (m2/TWh) | 0.055 | |
| Economic | Levelized cost of Electricity Generation (mills/kWh) | 0.075 |
| Capital investment cost ($/kWe) | 0.075 | |
| Proliferation resistance | Amount of nuclear material for 1 Significant Quantity (SQ) equivalents(kg) | 0.045 |
| The value of utility function for facility inspection | 0.045 | |
| Public acceptance | Supporting fund (unit: hundred million won(KRW)/facility) | 0.10 |
| Variables | Values |
|---|---|
| Burnup (MWd/tHM) | 55,000 |
| Load factor (%) | 85 |
| Thermal efficiency (%) | 34 |
| Capacity (MWe) | 1000 |
| Initial enrichment (wt%) | 4.5 |
| Natural uranium enrichment (wt%) | 0.711 |
| Variables | Values |
|---|---|
| Burnup (MWd/tHM) | 133,000 |
| Load factor (%) | 85 |
| Thermal efficiency (%) | 39 |
| Capacity (MWe) | 400 |
| TRU (trans-uranium) ratios of nuclear fuel | 0.389 |
| Actinide | Composition (wt%) | |
|---|---|---|
| PWR SF | U | 92.92 |
| Pu | 1.16 | |
| MA | 0.20 | |
| FP | 5.72 | |
| SFR SF | U | 55.66 |
| Pu | 26.15 | |
| MA | 4.38 | |
| FP | 13.81 |
| Evaluation Criteria | Evaluation Index | Alternatives | Remarks | |
|---|---|---|---|---|
| Direct Disposal | Pyro-SFR Fuel Cycle | |||
| Safety | Radiation exposed dose rate(mSv/year) | 10 | 0.05 | Nuclear safety and security commission Notice No. 2016–27 [24] |
| Waste toxicity (m3H2O/GWe) | 9.48 × 109 | 2.25 × 107 | KAERI/RR- 3426/2011 [2] | |
| Resource utilization | Natural uranium requirement (tU/TWh) | 20.58 | 13.86 | Advanced Fuel Cycle Cost Basis, INL (2017) [29] |
| Environmental elements | High-level waste (t/TWh) | 2.23 | 0.027 | Advanced Fuel Cycle Cost Basis, INL (2017) [29] |
| LILW waste * (m3/TWh) | 18.89 | 21.22 | Advanced Fuel Cycle Cost Basis, INL (2017) [29] | |
| Cs/Sr waste (kg/TWh) | 0 | 12.36 | Advanced Fuel Cycle Cost Basis, INL (2017) [29] | |
| HLW repository area (m2/TWh) | 848.44 | 10.25 | KAERI/TR- 7024/2017 [30] | |
| Economics | Generation cost (Levelized cost) (mills/kWh) | 52.78 | 55.83 | Advanced Fuel Cycle Cost Basis, INL (2017) [29] |
| Capital investment ($/kWe) | 4000 | 4331 * (SFR = 5014) | Advanced Fuel Cycle Cost Basis, INL (2017) [29] | |
| Proliferation resistance | Nuclear material for 1SQ equivalents(kg) | 698.63 | 14.4 | KAERI/TR- 3928/2009 [25] |
| The value of utility function for facility detection | 1 | 0.9 | KAERI/TR- 3928/2009 [25] | |
| Public acceptance | Supporting fund (Unit: hundred million won (KRW)/facility) | 19,988 | 2746 | KAERI internal data |
| # of Evaluation Criteria | RI |
|---|---|
| 1 | 0.000 |
| 2 | 0.000 |
| 3 | 0.580 |
| 4 | 0.901 |
| 5 | 0.121 |
| 6 | 0.241 |
| 7 | 0.321 |
| 8 | 0.411 |
| 9 | 0.451 |
| 10 | 0.491 |
| 11 | 0.510 |
| Type 1. Usual criterion | Type 4. Level criterion |
| Type 2. U-shape criterion | Type 5. V-shape with indifference criterion |
| Type 3. V-shape criterion | Type 6. Gaussian criterion |
| MCDM | Advantages |
|---|---|
| AHP | Decision making is performed by using a hierarchical process, and thus conflicting concepts can be applied. Quantitative results can be obtained by using the systematical ratio scale of relative importance for alternatives. All information (quantitative, qualitative, and intuitive data) can be considered. Compared to the case of using mathematical functions, the calculation procedure is simple. Group decision making is possible. |
| Disadvantages | |
| A theoretical framework for the hierarchy process of decision making is needed. If the independence of constituent hierarchy elements between alternatives is not secured or the setting of the hierarchical level is incorrect, the decision-making results will not be reliable. Layer depth (number of evaluation level) and width (number of criteria elements) is limited. Difficult to apply for more than seven evaluation criteria. There are hidden assumptions such as consistency and the difficulty of repeating some evaluation process. Difficulties of conflict removal between decision makers’ opinion. | |
| TOPSIS | Advantages |
| Easy to understand the decision-making process. The results indicate intuitive meaning because of the relative proximity to the ideal solution. Human rational choice that considers the best and worst solution at the same time is possible. Provision of a well-structured analytical framework for ranking alternatives. | |
| Disadvantages | |
| The decision matrix cannot be calculated by hand because there are many rows and columns in the matrix, and software for calculation such as Excel is required. Normalization of input data is required. Multi-collinearity effects should be solved. There is a high possibility that the decision making will be decided by the best and worst values of input data. | |
| PROMETHEE | Advantages |
| By using the evaluator’s subjective information such as the preferred functions and preference threshold on the basis of preference ranking, decision making with complex comparison between alternatives is possible. There is a flexibility of application compared to AHP and TOPSIS because of the use of various preference functions. If evaluators determine the preference function and the input value of the preference threshold, new alternatives can be easily added or can be effectively removed. If the evaluator knows the calculation algorithm, it is relatively easy to calculate the MCDM results of back-end nuclear fuel cycle alternatives, and less cost and time are incurred. | |
| Disadvantages | |
| Exists for subjectivity in selection of preference function. When a new alternative is added, there is a problem in which the ranking may be reversed. |
| Evaluation Index | Preference Function | Preference Threshold | Unit |
|---|---|---|---|
| Radiation exposed dose rates | V-shape | 4.975 | mSv/year |
| Waste toxicity level | V-shape | 4,728,750,000 | m3H2O/ GWe |
| NU required per energy generated | V-shape | 3.36 | tU/TWh |
| HLW | V-shape | 1.1015 | Ton/TWh |
| LILW Volume | V-shape | 1.165 | m3/TWh |
| Cs/Sr waste | V-shape | 6.18 | Kg/TWh |
| Land Use for HLW disposal per energy generated | V-shape | 419.095 | m2/TWh |
| Levelized cost of Electricity Generation | V-shape | 1.525 | mills/kWh |
| Capital investment cost | V-shape | 165.5 | $/kWe |
| Nuclear material for 1 SQ equivalent | V-shape | 342.115 | Kg |
| The value of utility function for facility detection | V-shape | 0.05 | N/A |
| Public acceptance (supporting fund) | Usual | 8621 | Hundred million won (KRW)/facility |
| AHP | Alternatives | Final Score | Rank |
| PWR-DD (Direct Disposal) | 0.423 | 2 | |
| PWR-FR (Fast Reactor) | 0.756 | 1 | |
| TOPSIS | Alternatives | Relative closeness (coefficient) | Rank |
| PWR-DD | 0.260 | 2 | |
| PWR-FR | 0.740 | 1 | |
| PROMETHEE | Alternatives | Net flow (Ø) | Rank |
| PWR-DD | 0.280 | 1 | |
| PWR-FR | −0.280 | 2 |
| Criteria | Evaluator Attributes | ||||||
|---|---|---|---|---|---|---|---|
| Neutral | Public | Resource Conservationism | Environmentalism | Economist | Anti-Nuclear | Local Resident | |
| Safety | 1/6 | 1/2 | 1/10 | 1/10 | 1/10 | 1/10 | 1/10 |
| Resource utilization | 1/6 | 1/10 | ½ | 1/10 | 1/10 | 1/10 | 1/10 |
| Environmental impact | 1/6 | 1/10 | 1/10 | 1/2 | 1/10 | 1/10 | 1/10 |
| Economic | 1/6 | 1/10 | 1/10 | 1/10 | 1/2 | 1/10 | 1/10 |
| Proliferation resistance | 1/6 | 1/10 | 1/10 | 1/10 | 1/10 | 1/2 | 1/10 |
| Public acceptance | 1/6 | 1/10 | 1/10 | 1/10 | 1/10 | 1/10 | 1/2 |
Publisher’s Note: MDPI stays neutral with regard to jurisdictional claims in published maps and institutional affiliations. |
© 2021 by the authors. Licensee MDPI, Basel, Switzerland. This article is an open access article distributed under the terms and conditions of the Creative Commons Attribution (CC BY) license (https://creativecommons.org/licenses/by/4.0/).
Share and Cite
Kim, S.; Kim, J.-S.; Cho, D.-K. Comparative Evaluation of Direct Disposal and Pyro-SFR Nuclear Fuel Cycle Alternatives Using Multi Criteria Decision Making in Korea. Energies 2021, 14, 3590. https://doi.org/10.3390/en14123590
Kim S, Kim J-S, Cho D-K. Comparative Evaluation of Direct Disposal and Pyro-SFR Nuclear Fuel Cycle Alternatives Using Multi Criteria Decision Making in Korea. Energies. 2021; 14(12):3590. https://doi.org/10.3390/en14123590
Chicago/Turabian StyleKim, Sungki, Jin-Seop Kim, and Dong-Keun Cho. 2021. "Comparative Evaluation of Direct Disposal and Pyro-SFR Nuclear Fuel Cycle Alternatives Using Multi Criteria Decision Making in Korea" Energies 14, no. 12: 3590. https://doi.org/10.3390/en14123590
APA StyleKim, S., Kim, J.-S., & Cho, D.-K. (2021). Comparative Evaluation of Direct Disposal and Pyro-SFR Nuclear Fuel Cycle Alternatives Using Multi Criteria Decision Making in Korea. Energies, 14(12), 3590. https://doi.org/10.3390/en14123590
