Investigations on the Performance of a New Grounding Device with Spike Rods under High Magnitude Current Conditions
Abstract
:1. Introduction
2. Experimental Arrangement
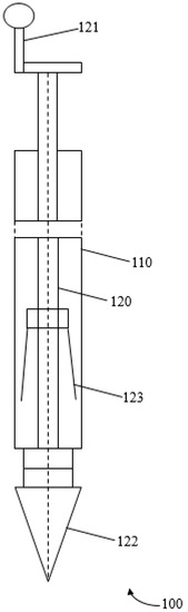
2.1. Earth Electrodes
2.2. Experimental Test Set Up
3. Results and Analysis
3.1. Effect of Earth Electrode’s Configurations
3.2. Effect of Low Current Magnitudes
3.3. Effect of Impulse Polarity
4. Conclusions
Author Contributions
Funding
Conflicts of Interest
References
- Towne, H.M. Impulse characteristics of driven grounds. Gen. Electr. Rev. 1928, 31, 605–609. [Google Scholar]
- Bellaschi, P.L. Impulse and 60-cycle characteristics of driven grounds. Electr. Eng. 1941, 60, 123–127. [Google Scholar] [CrossRef]
- Bellaschi, P.L.; Armington, R.E.; Snowden, A.E. Impulse and 60-Cycle Characteristics of Driven Grounds-II. Electr. Eng. 1942, 61, 349–363. [Google Scholar] [CrossRef]
- Sonoda, T.; Takesue, H.; Sekioka, S. Measurement on Surge Characteristics of Grounding Resistance of Counterpoises for Impulse Currents. In Proceedings of the 25th International Conference on Lightning Protection, Rhodes, Greece, 18–22 September 2000; pp. 411–415. [Google Scholar]
- Sekioka, S.; Hayashida, H.; Hara, T.; Ametani, A. Measurement of Grounding Resistance for High Impulse Currents. IEE Proc. Gener. Transm. Distrib. 1998, 145, 693–699. [Google Scholar] [CrossRef]
- Takeuchi, M.; Yasuda, Y.; Fukuzono, H. Impulse Characteristics of a 500 kV Transmission Tower Footing Base with Various Grounding Electrodes. In Proceedings of the 24th International Conference on Lightning Protection, Birmingham, UK, 14–18 September 1998; pp. 513–517. [Google Scholar]
- Yunus, M.; Nor, N.M.; Agbor, N.; Abdullah, S.; Ramar, K. Performance of Earthing systems for Different Earth Electrode Configurations. IEEE Trans. Ind. Appl. 2015, 51, 5335–5342. [Google Scholar] [CrossRef]
- Haddad, A.; Griffiths, H.; Ahmeda, M.; Harid, N. Experimental Investigation of the Impulse Characteristics of Practical Ground Electrode Systems. In Proceedings of the International Conference on High Voltage Engineering and Application, New Orleans, MS, USA, 11–14 October 2010. [Google Scholar]
- Yang, S.; Zhou, W.; Huang, J.; Yu, J. Investigation on Impulse Characteristic of Full-Scale Grounding Grid in Substation. IEEE Trans. Electromagn. Compat. 2018, 60, 1993–2001. [Google Scholar] [CrossRef]
- Harid, N.; Griffiths, H.; Haddad, A. Effect of Ground Return Path on Impulse Characteristics of Earth Electrodes. In Proceedings of the 7th Asia-Pacific International Conference on Lightning, Chengdu, China, 1–4 November 2011; pp. 686–689. [Google Scholar]
- Guo, D.; Clark, D.; Lathi, D.; Harid, N.; Griffiths, H.; Ainsley, A.; Haddad, A. Controlled Large-Scale Tests of Practical Grounding Electrodes—Part I: Test Facility and Measurement of Site Parameters. IEEE Trans. Power Deliv. 2014, 29, 1231–1239. [Google Scholar] [CrossRef]
- Mousa, S.; Harid, N.; Griffiths, H.; Haddad, A. Experimental Investigation on High-Frequency and Transient Performance of a Vertical Earth Electrode. In Proceedings of the Universities Power Engineering Conference (UPEC), Soest, Germany, 5–8 September 2011; pp. 1–4. [Google Scholar]
- Clark, D.; Guo, D.; Lathi, D.; Harid, N.; Griffiths, H.; Ainsley, A.; Haddad, A. Controlled Large-Scale Tests of Practical Grounding Electrodes—Part II: Comparison of Analytical and Numerical Predictions with Experimental Results. IEEE Trans. Power Deliv. 2014, 29, 1240–1248. [Google Scholar] [CrossRef]
- Guo, D.; Lathi, D.; Harid, N.; Griffiths, H.; Haddad, A.; Ainsley, A. Large-Scale Earthing Test Facilities at Dinorwig Power Station. In Proceedings of the International Conference on Conduction Monitoring and Diagnosis, Beijing, China, 21–24 April 2008; pp. 808–811. [Google Scholar]
- Duan, L.; Zhang, B.; He, J.; Xiao, L.; Qian, L. Experimental Study on Transient Characteristics of Grounding Grid for Substation. In Proceedings of the 25th International Conference of Lightning Protection (ICLP), Estoril, Portugal, 25–30 September 2016. [Google Scholar]
- Etobi, N.; Nor, N.M.; Abdullah, S.; Othman, M. Characterizations of a Single Rod Electrode under High Impulse Currents with Different Polarities. In Proceedings of the 1st IEEE International Conference on Electrical Materials and Power Equipment (ICEMPE), Xi’an, China, 14–17 May 2017. [Google Scholar]
- Abdullah, S.; Nor, N.M.; Ramar, K. Field measurements on Earthing Systems of Different Soil Resistivity Values under High Impulse Conditions. Electr. Eng. 2017, 99, 1005–1011. [Google Scholar] [CrossRef]
- Reffin, M.; Nor, N.; Ahmad, N.; Abdullah, S. Performance of Practical Grounding Systems under High Impulse Conditions. Energies 2018, 11, 3187. [Google Scholar] [CrossRef]
- Nor, N.M.; Haddad, A.; Griffiths, H. Factors Affecting Soil Characteristics under Fast Transients. In Proceedings of the International Conference of Power Systems Transients (IPST), New Orleans, MS, USA, 14 August 2003. [Google Scholar]
- Nor, N.M.; Haddad, A.; Griffiths, H. Characterization of Ionization Phenomena in Soils under fast impulses. IEEE Trans. Power Deliv. 2006, 21, 353–361. [Google Scholar] [CrossRef]
- Petropoulos, G.M. The High-Voltage Characteristics of Earth Resistances. J. Inst. Electr. Eng. Part II Power Eng. 1948, 95, 59–70. [Google Scholar]
- IEEE Standard 142: IEEE Recommended Practice for Grounding of Industrial and Commercial Power Systems; Institute of Electrical and Electronics Engineers: Piscataway, NJ, USA, 2007.
- Simmons, P. Electrical Grounding and Bonding, Based on 2017 National Electricity Code (NEC), 5th ed.; CENGAGE Learning: Boston, MA, USA, 2012. [Google Scholar]



























| Configurations | Earthing Systems | RDC, Ω |
|---|---|---|
| 1 | A vertical single rod electrode | 75.5 |
| 2 | 2 parallel vertical rod electrodes | 27.6 |
| 3 | 3 parallel vertical rod electrodes | 17.8 |
| 4 | GDSR | 18.5 |
| 5 | GDSR in parallel with vertical one rod electrode | 14.6 |
| 6 | GDSR with spike rods in parallel with two vertical rods | 11.4 |
| 7 | A vertical single rod electrode, buried at a depth of 30 cm | 313.2 |
| 8 | A vertical grounding device with spike rods | 85.2 |
© 2019 by the authors. Licensee MDPI, Basel, Switzerland. This article is an open access article distributed under the terms and conditions of the Creative Commons Attribution (CC BY) license (http://creativecommons.org/licenses/by/4.0/).
Share and Cite
Abdul Ali, A.W.; Ahmad, N.N.; Mohamad Nor, N.; Reffin, M.S.; Amanina Syed Abdullah, S. Investigations on the Performance of a New Grounding Device with Spike Rods under High Magnitude Current Conditions. Energies 2019, 12, 1138. https://doi.org/10.3390/en12061138
Abdul Ali AW, Ahmad NN, Mohamad Nor N, Reffin MS, Amanina Syed Abdullah S. Investigations on the Performance of a New Grounding Device with Spike Rods under High Magnitude Current Conditions. Energies. 2019; 12(6):1138. https://doi.org/10.3390/en12061138
Chicago/Turabian StyleAbdul Ali, Abdul Wali, Nurul Nadia Ahmad, Normiza Mohamad Nor, Muhd Shahirad Reffin, and Syarifah Amanina Syed Abdullah. 2019. "Investigations on the Performance of a New Grounding Device with Spike Rods under High Magnitude Current Conditions" Energies 12, no. 6: 1138. https://doi.org/10.3390/en12061138
APA StyleAbdul Ali, A. W., Ahmad, N. N., Mohamad Nor, N., Reffin, M. S., & Amanina Syed Abdullah, S. (2019). Investigations on the Performance of a New Grounding Device with Spike Rods under High Magnitude Current Conditions. Energies, 12(6), 1138. https://doi.org/10.3390/en12061138

