Life Cycle Assessment of Advanced Circulating Fluidized Bed Municipal Solid Waste Incineration System from an Environmental and Exergetic Perspective
Abstract
:1. Introduction
2. Methodology
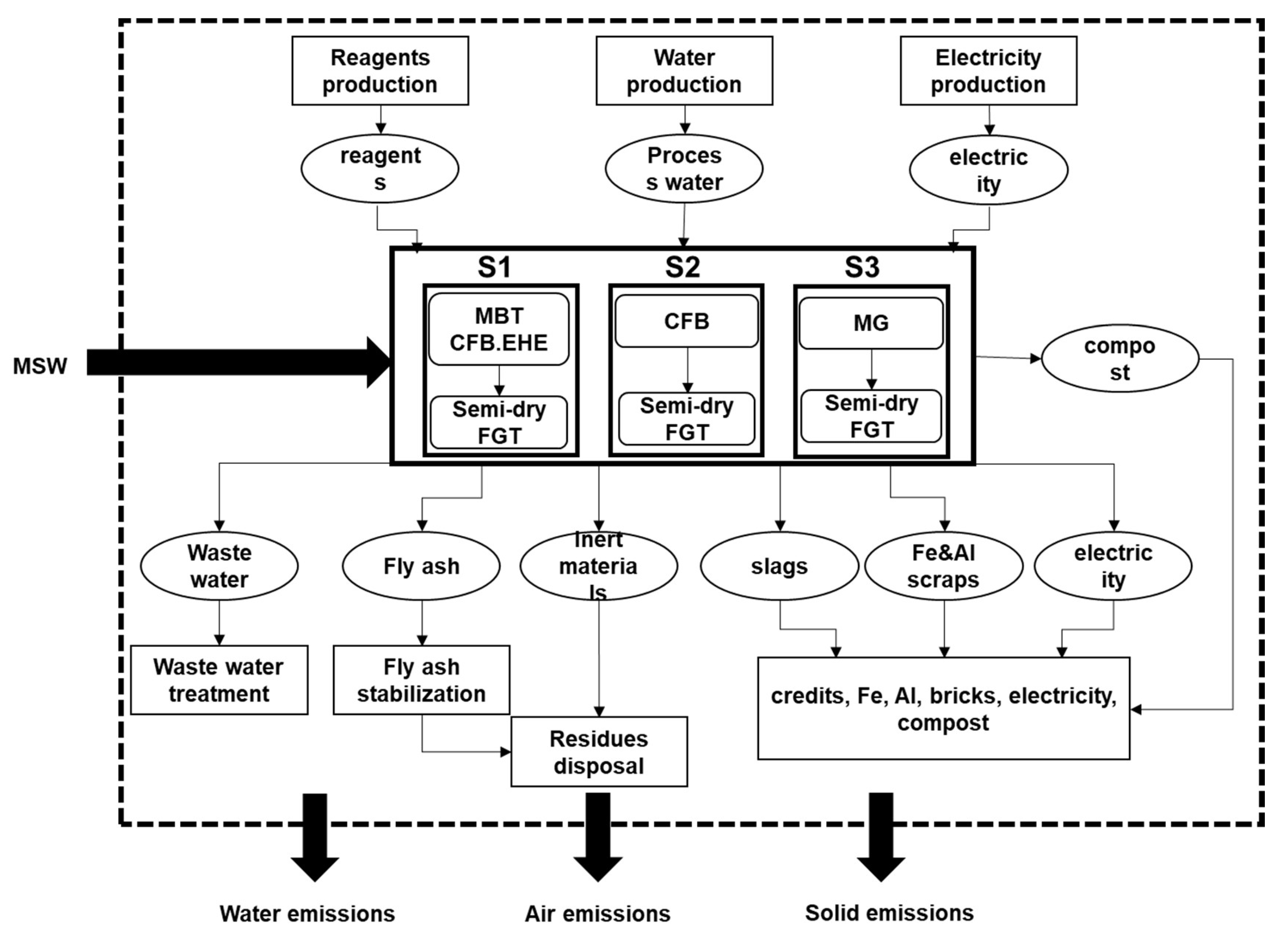
2.1. System Boundary
2.2. Description of the Proposed Scenarios
2.2.1. S1: Advanced Circulating Fluidized Bed Incineration System in Zibo
2.2.2. S1soil conditioner: Advanced Circulating Fluidized Bed Incineration System with Semi-compost Used as Soil Conditioner in Zibo
2.2.3. S1landfill: Advanced Circulating Fluidized Bed Incineration System with Landfill Disposal of Semi-Compost in Zibo
2.2.4. S2: Conventional Circulating Fluidized Bed Incineration System in Hangzhou
2.2.5. S3: Moving Grate Incineration System in Zhuji
2.3. Life Cycle Inventory Analysis
3. Results and Discussion
3.1. Environmental Life Cycle Assessment
3.2. Exergetic Life Cycle Assessment
4. Conclusions
Supplementary Materials
Author Contributions
Funding
Institutional Review Board Statement
Informed Consent Statement
Data Availability Statement
Acknowledgments
Conflicts of Interest
References
- Chinese Statistics Yearbook Compiling Committee. 2017. Available online: http://www.stats.gov.cn/tjsj/ndsj/2017/indexeh.htm (accessed on 17 August 2020).
- Arena, U. Process and technological aspects of municipal solid waste gasification. A review. Waste Manag. 2012, 32, 625–639. [Google Scholar] [CrossRef] [PubMed]
- Liu, Y.; Ni, Z.; Kong, X.; Liu, J. Greenhouse gas emissions from municipal solid waste with a high organic fraction under different management scenarios. J. Clean. Prod. 2017, 147, 451–457. [Google Scholar] [CrossRef]
- Rademakers, P.; Hesseling, W.; Van de Wetering, J. Review on corrosion in waste incinerators, and possible effect of bromine. TNO Ind. Technol. 2002, 18–25. Available online: https://citeseerx.ist.psu.edu/viewdoc/download?doi=10.1.1.475.2831&rep=rep1&type=pdf (accessed on 17 August 2020).
- Zhang, H.; Yu, S.; Shao, L.; He, P. Estimating source strengths of HCl and SO2 emissions in the flue gas from waste incineration. J. Environ. Sci. 2019, 75, 370–377. [Google Scholar] [CrossRef] [PubMed]
- Ng, K.S.; Phan, A.N.; Iacovidou, E.; Ghani, W.A.W.A.K. Techno-economic assessment of a novel integrated system of mechanical-biological treatment and valorization of residual municipal solid waste into hydrogen: A case study in the UK. J. Clean. Prod. 2021, 298, 126706. [Google Scholar] [CrossRef]
- Kosajan, V.; Wen, Z.; Fei, F.; Dinga, C.D.; Wang, Z.; Liu, P. Comprehensive assessment of cement kiln co-processing under MSW sustainable management requirements. Conserv. Recycl. 2021, 2021, 174. [Google Scholar] [CrossRef]
- Trulli, E.; Ferronato, N.; Torretta, V.; Piscitelli, M.; Masi, S.; Mancini, I. Sustainable mechanical biological treatment of solid waste in urbanized areas with low recycling rates. Waste Manag. 2018, 71, 556–564. [Google Scholar] [CrossRef] [PubMed]
- Ma, C.Y. Analysis of Characters in Start-up and Operation of External Heat Exchanger for Circulating Fluidized Bed MSW Incinerator. Therm. Power Gener. 2010, 39, 46–48. [Google Scholar]
- Cai, R.; Deng, B.; Tao, X.; Zhang, Y.; Yang, H.; Yue, G.; Zhang, M. Effects of horizontal tube arrays on heat transfer in an external heat exchanger. Appl. Therm. Eng. 2020, 181, 115964. [Google Scholar] [CrossRef]
- Li, D.; Cai, R.; Zhang, M.; Yang, H.; Choi, K.; Ahn, S.; Jeon, C.-H. Operation characteristics of a bubbling fluidized bed heat exchanger with internal solid circulation for a 550-MWe ultra-supercritical CFB boiler. Energy 2020, 192, 116503. [Google Scholar] [CrossRef]
- Rebitzer, G.; Ekvall, T.; Frischknecht, R.; Hunkeler, D.; Norris, G.; Rydberg, T.; Schmidt, W.P.; Suh, S.; Weidema, B.P.; Pennington, D.W. Life cycle assessment Part 1: Framework, goal and scope definition, inventory analysis, and applications. In Environment International; Elsevier Ltd.: Amsterdam, The Netherlands, 2004; Volume 30, pp. 701–720. [Google Scholar] [CrossRef]
- Astrup, T.F.; Tonini, D.; Turconi, R.; Boldrin, A. Life cycle assessment of thermal Waste-to-Energy technologies: Review and recommendations. Waste Manag. 2015, 37, 104–115. [Google Scholar] [CrossRef] [Green Version]
- Bakas, I.; Clavreul, J.; Saraiva, A.B.; Niero, M.; Hauschild, M.Z.; Laurent, A.; Gentil, E. LCA of Solid Waste Management Systems. In Life Cycle Assessment; Hauschild, M., Rosenbaum, R., Olsen, S., Eds.; Springer: Cham, Switzerland, 2018. [Google Scholar] [CrossRef]
- Singh, A.; Olsen, S.I.; Pant, D. Importance of Life Cycle Assessment of Renewable Energy Sources. In Life Cycle Assessment of Renewable Energy Sources. Green Energy and Technology; Singh, A., Pant, D., Olsen, S., Eds.; Springer: London, UK, 2013. [Google Scholar] [CrossRef]
- Dong, J.; Jeswani, H.K.; Nzihou, A.; Azapagic, A. The environmental cost of recovering energy from municipal solid waste. Appl. Energy 2020, 267, 114792. [Google Scholar] [CrossRef]
- Hong, J.; Chen, Y.; Wang, M.; Ye, L.; Qi, C.; Yuan, H.; Zheng, T.; Li, X. Intensification of municipal solid waste disposal in China. Renew. Sustain. Energy Rev. 2017, 69, 168–176. [Google Scholar] [CrossRef]
- Galli, F.; Pirola, C.; Previtali, D.; Manenti, F.; Bianchi, C.L. Eco design LCA of an innovative lab scale plant for the production of oxygen-enriched air. Comparison between economic and environmental assessment. J. Clean. Prod. 2018, 171, 147–152. [Google Scholar] [CrossRef]
- Dong, J.; Chi, Y.; Tang, Y.; Wang, F.; Huang, Q. Combined Life Cycle Environmental and Exergetic Assessment of Four Typical Sewage Sludge Treatment Techniques in China. Energy Fuels 2014, 28, 2114–2122. [Google Scholar] [CrossRef]
- Zhou, Z.; Chi, Y.; Dong, J.; Tang, Y.; Ni, M. Model development of sustainability assessment from a life cycle perspective: A case study on waste management systems in China. J. Clean. Prod. 2019, 210, 1005–1014. [Google Scholar] [CrossRef] [Green Version]
- Tang, Y.; Dong, J.; Li, G.; Zheng, Y.; Chi, Y.; Nzihou, A.; Weiss-Hortala, E.; Ye, C. Environmental and exergetic life cycle assessment of incineration- and gasification-based waste to energy systems in China. Energy 2020, 205, 118002. [Google Scholar] [CrossRef]
- Wang, Y.; Zhang, J.; Zhao, Y.; Li, Z.; Zheng, C. Exergy life cycle assessment model of “CO2 zero-emission” energy system and application. Sci. China Technol. Sci. 2011, 54, 3296–3303. [Google Scholar] [CrossRef]
- Morosuk, T.; Tsatsaronis, G.; Koroneos, C. Environmental impact reduction using exergy-based methods. J. Clean. Prod. 2016, 118, 118–123. [Google Scholar] [CrossRef]
- Wang, S.; Liu, C.; Liu, L.; Xu, X.; Zhang, C. Ecological cumulative exergy consumption analysis of organic Rankine cycle for waste heat power generation. J. Clean. Prod. 2019, 218, 543–554. [Google Scholar] [CrossRef]
- Szargut, J.; Morris, D.R.; Steward, F.R. Cumulative exergy consumption and cumulative degree of perfection of chemical processes. Int. J. Energy Res. 1987, 11, 245–261. [Google Scholar] [CrossRef]
- Bösch, M.E.; Hellweg, S.; Huijbregts, M.A.; Frischknecht, R. Applying cumulative exergy demand (CExD) indicators to the ecoinvent database. Int. J. Life Cycle Assess. 2007, 12, 181. [Google Scholar] [CrossRef]
- Dong, J.; Chi, Y.; Zou, D.; Fu, C.; Huang, Q.; Ni, M. Energy-environment-economy assessment of waste management systems from a life cycle perspective: Model development and case study. Appl. Energy 2014, 114, 400–408. [Google Scholar] [CrossRef]
- Erb, K.H.; Krausmann, F.; Gaube, V.; Gingrich, S.; Bondeau, A.; Fischer-Kowalski, M.; Haberl, H. Analyzing the global human appropriation of net primary production—Processes, trajectories, implications. An introduction. In Ecological Economics; Elsevier: Amsterdam, The Netherlands, 2009; Volume 69, pp. 250–259. [Google Scholar] [CrossRef]
- Haberl, H.; Erb, K.H.; Krausmann, F.; Gaube, V.; Bondeau, A.; Plutzar, C.; Gingrich, S.; Lucht, W.; Fischer-Kowalski, M.; Designed, F.-K.; et al. Sciences of the USA. Proc. Natl. Acad. Sci. USA 2007, 104, 12942–12947. [Google Scholar] [CrossRef] [Green Version]
- Bessou, C.; Ferchaud, F.; Gabrielle, B.; Mary, B. Biofuels, Greenhouse Gases and Climate Change. In Sustainable Agriculture; Lichtfouse, E., Hamelin, M., Navarrete, M., Debaeke, P., Eds.; Springer: Dordrecht, The Netherlands, 2011; Volume 2. [Google Scholar] [CrossRef]
- Easterling, W.; Apps, M. Assessing the Consequences of Climate Change for Food and forest Resources: A View from the IPCC. Clim. Chang. 2005, 70, 165–189. [Google Scholar] [CrossRef]
- Khandelwal, H.; Dhar, H.; Thalla, A.K.; Kumar, S. Application of life cycle assessment in municipal solid waste management: A worldwide critical review. In Journal of Cleaner Production; Elsevier Ltd.: Amsterdam, The Netherlands, 2019; Volume 209, pp. 630–654. [Google Scholar] [CrossRef]
- Dewulf, J.; Van Langenhove, H.; Dirckx, J. Exergy analysis in the assessment of the sustainability of waste gas treatment systems. Sci. Total Environ. 2001, 273, 41–52. [Google Scholar] [CrossRef]
- Bejan, A. Exergy analysis of thermal, chemical and metallurgical processes. Int. J. Heat Fluid Flow 1989, 10, 87–88. [Google Scholar] [CrossRef]
- Alvarenga, R.A.; Dewulf, J.; Van Langenhove, H.; Huijbregts, M.A. Exergy-based accounting for land as a natural resource in life cycle assessment. Int. J. Life Cycle Assess. 2013, 18, 939–947. [Google Scholar] [CrossRef]
- Thermodynamics and Sustainable Development: The Use of Exergy Analysis and the Reduction of Irreversibility. Available online: https://core.ac.uk/display/11456146 (accessed on 3 October 2021).
- Dewulf, J.; Van Langenhove, H.; Mulder, J.; Van Den Berg, M.M.D.; Van Der Kooi, H.J.; De, J.; Arons, S. Illustrations towards quantifying the sustainability of technology. Green Chem. 2000, 2, 108–114. [Google Scholar] [CrossRef]
- Stougie, L.; Tsalidis, G.A.; van der Kooi, H.J.; Korevaar, G. Environmental and exergetic sustainability assessment of power generation from biomass. Renew. Energy 2018, 128, 520–528. [Google Scholar] [CrossRef]
- Zhou, H.; Meng, A.; Long, Y.; Li, Q.; Zhang, Y. An overview of characteristics of municipal solid waste fuel in China: Physical, chemical composition and heating value. In Renewable and Sustainable Energy Reviews; Elsevier Ltd.: Amsterdam, The Netherlands, 2014; Volume 36, pp. 107–122. [Google Scholar] [CrossRef]
- Farrell, M.; Jones, D.L. Critical evaluation of municipal solid waste composting and potential compost markets. In Bioresource Technology; Elsevier: Amsterdam, The Netherlands, 2009; Volume 100, pp. 4301–4310. [Google Scholar] [CrossRef]
- Lu, J.W.; Zhang, S.; Hai, J.; Lei, M. Status and perspectives of municipal solid waste incineration in China: A comparison with developed regions. In Waste Management; Elsevier Ltd.: Amsterdam, The Netherlands, 2017; Volume 69, pp. 170–186. [Google Scholar] [CrossRef]
- Prins, M.J.; Ptasinski, K.J.; Janssen, F.J.J.G. Thermodynamics of gas-char reactions: First and second law analysis. Chem. Eng. Sci. 2003, 58, 1003–1011. [Google Scholar] [CrossRef]
- Arena, U.; Ardolino, F.; Di Gregorio, F. A life cycle assessment of environmental performances of two combustion- and gasification-based waste-to-energy technologies. Waste Manag. 2015, 41, 60–74. [Google Scholar] [CrossRef]
- Banar, M.; Cokaygil, Z.; Ozkan, A. Life cycle assessment of solid waste management options for Eskisehir, Turkey. Waste Manag. 2009, 29, 54–62. [Google Scholar] [CrossRef] [PubMed]
- Beigl, P.; Salhofer, S. Comparison of ecological effects and costs of communal waste management systems. Resour. Conserv. Recycl. 2004, 41, 83–102. [Google Scholar] [CrossRef] [Green Version]
- Buttol, P.; Masoni, P.; Bonoli, A.; Goldoni, S.; Belladonna, V.; Cavazzuti, C. LCA of integrated MSW management systems: Case study of the Bologna District. Waste Manag. 2007, 27, 1059–1070. [Google Scholar] [CrossRef]
- Güereca, L.P.; Gassó, S.; Baldasano, J.M.; Jiménez-Guerrero, P. Life cycle assessment of two biowaste management systems for Barcelona, Spain. Resour. Conserv. Recycl. 2006, 49, 32–48. [Google Scholar] [CrossRef]







| MSW Characteristics (wt.%, as Received Basis) | ||||||||
|---|---|---|---|---|---|---|---|---|
| Carbon | Hydrogen | Nitrogen | Sulfur | Chloride | Moisture | Ash | LHV a (MJ/kg) | |
| Chinese average level | 16.69 | 2.3 | 0.45 | 0.11 | 0.37 | 48.12 | 22.6 | 5.337 |
| S1: advanced CFB | 17.3 | 2.59 | 0.3 | 0.2 | 0.45 | 49.4 | 18.94 | 5.851 |
| S2: CFB incineration | 16.4 | 2.28 | 0.25 | 0.13 | 0.44 | 48.73 | 22.6 | 5.224 |
| S3: MG incineration | 16.9 | 2.43 | 0.3 | 0.13 | 0.42 | 50.97 | 20.44 | 5.67 |
Publisher’s Note: MDPI stays neutral with regard to jurisdictional claims in published maps and institutional affiliations. |
© 2021 by the authors. Licensee MDPI, Basel, Switzerland. This article is an open access article distributed under the terms and conditions of the Creative Commons Attribution (CC BY) license (https://creativecommons.org/licenses/by/4.0/).
Share and Cite
Li, J.; Wang, L.; Chi, Y.; Zhou, Z.; Tang, Y.; Zhang, H. Life Cycle Assessment of Advanced Circulating Fluidized Bed Municipal Solid Waste Incineration System from an Environmental and Exergetic Perspective. Int. J. Environ. Res. Public Health 2021, 18, 10432. https://doi.org/10.3390/ijerph181910432
Li J, Wang L, Chi Y, Zhou Z, Tang Y, Zhang H. Life Cycle Assessment of Advanced Circulating Fluidized Bed Municipal Solid Waste Incineration System from an Environmental and Exergetic Perspective. International Journal of Environmental Research and Public Health. 2021; 18(19):10432. https://doi.org/10.3390/ijerph181910432
Chicago/Turabian StyleLi, Jun, Lixian Wang, Yong Chi, Zhaozhi Zhou, Yuanjun Tang, and Hui Zhang. 2021. "Life Cycle Assessment of Advanced Circulating Fluidized Bed Municipal Solid Waste Incineration System from an Environmental and Exergetic Perspective" International Journal of Environmental Research and Public Health 18, no. 19: 10432. https://doi.org/10.3390/ijerph181910432
APA StyleLi, J., Wang, L., Chi, Y., Zhou, Z., Tang, Y., & Zhang, H. (2021). Life Cycle Assessment of Advanced Circulating Fluidized Bed Municipal Solid Waste Incineration System from an Environmental and Exergetic Perspective. International Journal of Environmental Research and Public Health, 18(19), 10432. https://doi.org/10.3390/ijerph181910432
