High-Resolution Tactile-Sensation Diagnostic Imaging System for Thyroid Cancer
Abstract
1. Introduction
1.1. Related Works
1.2. Contributions of This Study
2. Research Subjects and Method
2.1. Tactile-Imaging Sensor
- (1)
- PDMS: PDMS, which imitates human tissue, can effectively detect the texture of soft materials and is necessary to provide smooth contact surfaces.
- (2)
- Three-layer structure: Three types of PDMS with different levels of elasticity are stacked onto each other to imitate the natural human-tissue structure. The elasticity of PDMS is specified by its catalyst ratio.
- (3)
- Bone and nail elements: The elements that function as bones and nails are positioned underneath the sensor in order to effectively derive sensory information. This design utilizes a heat-resistant borosilicate glass plate.
- (4)
- Distributed sensor elements: An optical method that imitates the mechanoreceptors of the finger and uses a light-reflection pattern is adopted to obtain the spatial distribution of the sensory output.
2.2. System Figures and Tables
2.2.1. Elastic Optical Waveguide
2.2.2. Near-Infrared Camera
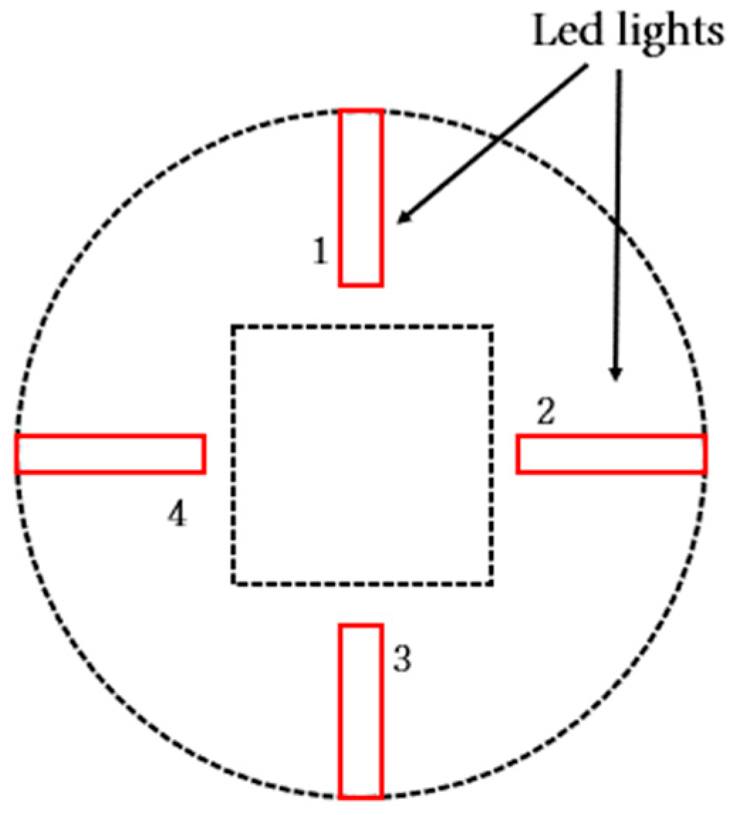
2.2.3. Internal LED Light Source
2.2.4. Allied Camera with MATLAB
2.2.5. Implementation of Optical Part and Circuit Prototype of Thyroid-Tactile-Sensation-Diagnosis System
3. Research Details and Results
3.1. System Design and Imaging Principle
3.1.1. Optical-Waveguide Design
3.1.2. Imaging Principle
3.1.3. Optical Analysis of Imaging Principle
3.2. Analytical Solution
- (1)
- Layer 1: PDMS, refractive index n1, height h1;
- (2)
- Layer 2: PDMS, refractive index n2, height h2;
- (3)
- Layer 3: PDMS, refractive index n3, height h3;
- (4)
- Layer 4: glass plate, refractive index n4, height h4.
3.3. Numeric Simulations
3.4. Geometric Optics Approximation
3.5. TIR-Based Tactile Sensing
3.6. Imitation Thyroid
3.7. Tactile-Sensation-Imaging Device
4. Discussion and Conclusions
4.1. Experimental Results
4.1.1. Inclusion-Elasticity Phantom
4.1.2. Inclusion-Depth Phantom
4.1.3. Inclusion-Size Phantom
4.2. Segmentation
4.3. Conclusions
Author Contributions
Funding
Institutional Review Board Statement
Informed Consent Statement
Data Availability Statement
Conflicts of Interest
Abbreviations
| Term | Explanation |
| PDMS | Optical-waveguide silicon |
| TSIS | Tactile Sensation Imaging System |
| Elastic Optical Waveguide | The main sensing probe of the device, composed of PDMS (high-performance silicon) |
| CCD Camera | Charge-coupled-device camera |
| 2D Colormap Simulation | Algorithm for visualizing grayscale strength of tactile photograph by color |
| 3D Elastic-Image Simulation | Algorithm for visualizing stereoscopicizing 2D colormap simulation |
| Z-Score Graph | Maximum height of 3D elastic-image simulation peak (z-axis) |
References
- Kang, M.J.; Won, Y.-J.; Lee, J.J.; Jung, K.-W.; Kim, H.-J.; Kong, H.-J.; Im, J.-S.; Seo, H.G. The Community of Population-Based Regional Cancer Registries. Cancer Statistics in Korea: Incidence, Mortality, Survival, and Prevalence in 2019. Cancer Res. Treat. 2022, 54, 330–344. [Google Scholar] [CrossRef] [PubMed]
- Cantara, S.; Marzocchi, C.; Pilli, T.; Cardinale, S.; Forleo, R.; Castagna, M.G.; Pacini, F. Molecular Signature of Indeterminate Thyroid Lesions: Current Methods to Improve Fine Needle Aspiration Cytology (FNAC) Diagnosis. Int. J. Mol. Sci. 2017, 18, 775. [Google Scholar] [CrossRef] [PubMed]
- Panayides, A.S.; Amini, A.; Filipovic, N.D.; Sharma, A.; Tsaftaris, S.A.; Young, A.A.; Foran, D.J.; Do, N.V.; Golemati, S.; Kurc, T.; et al. AI in Medical Imaging Informatics: Current Challenges and Future Directions. IEEE J. Biomed. Health Inform. 2020, 24, 1837–1857. [Google Scholar] [CrossRef] [PubMed]
- Miller, T.D.; Askew, J.W.; Anavekar, N.S. Noninvasive Stress Testing for Coronary Artery Disease. Heart Fail. Clin. 2016, 12, 65–82. [Google Scholar] [CrossRef] [PubMed]
- Othman, W.; Lai, Z.-H.A.; Abril, C.; Barajas-Gamboa, J.S.; Corcelles, R.; Kroh, M.; Qasaimeh, M.A. Tactile Sensing for Minimally Invasive Surgery: Conventional Methods and Potential Emerging Tactile Technologies. Front. Robot. AI 2022, 8, 705662. [Google Scholar] [CrossRef] [PubMed]
- Wiederer, C.; Fröhlich, M.; Strohmayr, M. Improving tactile sensation in laparoscopic surgery by overcoming size restrictions. Curr. Dir. Biomed. Eng. 2015, 1, 135–139. [Google Scholar] [CrossRef]
- Francis, C.; Sato, T.; Okuyama, T.; Tanaka, M. A cable driven robotic palpation system with contact force sensing based on cable tension observation. Int. J. Med. Robot. Comput. Assist. Surg. 2022, 18, e2435. [Google Scholar] [CrossRef] [PubMed]
- Ahn, B.; Park, K.; Lee, H.; Kim, J. A Survey of Robotic Technologies for Diagnosis and Treatment of Prostate Cancer. J. Inst. Control. Robot. Syst. 2010, 16, 852–859. [Google Scholar] [CrossRef]
- Yang, S.; Lee, J.-H. Tissue Hardness Measurement Sensor and Algorithm for Tumor Detection Using Light Trapping and Scattering in Silicone Waveguide. Sens. Mater. 2018, 30, 33–58. [Google Scholar]
- Han, K.D.; Sung, C.W.; Park, Y.S.; Kim, C.S. The Diagnostic Value of High Resolution Ultrasonography as Examined by Surgeons for the Differentiation of Thyroid Nodules. Korean J. Endocr. Surg. 2008, 8, 171–176. [Google Scholar] [CrossRef]
- Bryant, F. Snell’s Law of Refraction. Phys. Bull. 1958, 9, 317. [Google Scholar] [CrossRef]
- Ardakani, A.A.; Mohammadzadeh, A.; Yaghoubi, N. Predictive quantitative sonographic features on classification of hot and cold thyroid nodules. Eur. J. Radiol. 2018, 101, 170–177. [Google Scholar] [CrossRef] [PubMed]
- Abramson, A.; Chan, C.T.; Khan, Y.; Mermin-Bunnell, A.; Matsuhisa, N.; Fong, R.; Shad, R.; Hiesinger, W.; Mallick, P.; Gambhir, S.S.; et al. Flexible electronic strain sensor for the real-time monitoring of tumor regression. Sci. Adv. 2022, 8, eabn6550. [Google Scholar] [CrossRef] [PubMed]
- Park, S.Y.; Park, M.S.; Han, H.; Lee, J.Y.; Jeon, Y.H.; Jung, S.M.; Kim, N.H.; Yoon, S.E.; Oh, M.K.; Jung, H.S.; et al. Usefulness of Screening Ultrasound for Thyroid Gland. J. Korean Radiol. Soc. 2006, 55, 117–122. [Google Scholar] [CrossRef]
- Eden, K.; Mahon, S.; Helfand, M. Screening high-risk populations for thyroid cancer. Med. Pediatr. Oncol. 2001, 36, 583–591. [Google Scholar] [CrossRef]


































| Manufacturer | Model | Elasticity Variability | Fabricability with Elasticity Variation | Final Decision | |
|---|---|---|---|---|---|
| Kafuter | k-705 | Normal | X | X | |
| Dow | SYLGARD 184 | Case 1 | Low | O | X |
| Case 2 | High | O | O | ||
Disclaimer/Publisher’s Note: The statements, opinions and data contained in all publications are solely those of the individual author(s) and contributor(s) and not of MDPI and/or the editor(s). MDPI and/or the editor(s) disclaim responsibility for any injury to people or property resulting from any ideas, methods, instructions or products referred to in the content. |
© 2023 by the authors. Licensee MDPI, Basel, Switzerland. This article is an open access article distributed under the terms and conditions of the Creative Commons Attribution (CC BY) license (https://creativecommons.org/licenses/by/4.0/).
Share and Cite
Cho, S.-H.; Lee, S.-M.; Lee, N.-Y.; Ko, B.C.; Kim, H.; Jang, D.-J.; Lee, J.-H. High-Resolution Tactile-Sensation Diagnostic Imaging System for Thyroid Cancer. Sensors 2023, 23, 3451. https://doi.org/10.3390/s23073451
Cho S-H, Lee S-M, Lee N-Y, Ko BC, Kim H, Jang D-J, Lee J-H. High-Resolution Tactile-Sensation Diagnostic Imaging System for Thyroid Cancer. Sensors. 2023; 23(7):3451. https://doi.org/10.3390/s23073451
Chicago/Turabian StyleCho, So-Hyun, Su-Min Lee, Na-Young Lee, Byoung Chul Ko, Hojeong Kim, Dae-Jin Jang, and Jong-Ha Lee. 2023. "High-Resolution Tactile-Sensation Diagnostic Imaging System for Thyroid Cancer" Sensors 23, no. 7: 3451. https://doi.org/10.3390/s23073451
APA StyleCho, S.-H., Lee, S.-M., Lee, N.-Y., Ko, B. C., Kim, H., Jang, D.-J., & Lee, J.-H. (2023). High-Resolution Tactile-Sensation Diagnostic Imaging System for Thyroid Cancer. Sensors, 23(7), 3451. https://doi.org/10.3390/s23073451

