Abstract
The presence of fake pictures affects the reliability of visible face images under specific circumstances. This paper presents a novel adversarial neural network designed named as the FTSGAN for infrared and visible image fusion and we utilize FTSGAN model to fuse the face image features of infrared and visible image to improve the effect of face recognition. In FTSGAN model design, the Frobenius norm (F), total variation norm (TV), and structural similarity index measure (SSIM) are employed. The F and TV are used to limit the gray level and the gradient of the image, while the SSIM is used to limit the image structure. The FTSGAN fuses infrared and visible face images that contains bio-information for heterogeneous face recognition tasks. Experiments based on the FTSGAN using hundreds of face images demonstrate its excellent performance. The principal component analysis (PCA) and linear discrimination analysis (LDA) are involved in face recognition. The face recognition performance after fusion improved by 1.9% compared to that before fusion, and the final face recognition rate was 94.4%. This proposed method has better quality, faster rate, and is more robust than the methods that only use visible images for face recognition.
1. Introduction
Face recognition is one of the main applications of machine vision and plays a significant role in data security field. Currently, most of the face information still uses visible imaging systems to capture face images and relies on feature extraction algorithms [1]. The research on face recognition in a controlled environment has proved to be successful and achieved wide application. There are still major challenges for an uncontrolled environment, where the subjects are dynamic, and it is difficult to capture changes in the machine angle due to several reasons [1]. Face information is prone to being influenced and partially reduced in the dark environment. The influential factors such as the hairstyle and clothing can also affect the face bio-information. The complex environment poses a serious challenge for both the security surveillance and daily application. In a society with extremely developed machine vision, the technology of using digital tools to forge face data already exists, such as neural network face reconstruction and 3D face model attack. The data in the visible band alone cannot provide reliable face digital information.
We urgently need more advanced technology to improve the characteristics of a face. The accuracy of face recognition should be further improved to prevent the attack of a virtually forged face image [1]. Therefore, researchers have designed different sensing devices to capture the face information more precisely. However, it is unrealistic to use many expensive machines for face recognition. Therefore, a breakthrough in software is needed to find a more suitable, safer and faster face recognition algorithm.
Currently, traditional algorithms are applied to image fusion, such as HSV transform fusion [2], IHS transform fusion [3], and filter fusion [4]. Researchers have started to explore image fusion applications with the increase in popularity of deep learning. Deep learning exhibits extremely high image fusion capability and obviously surpasses several traditional image fusion algorithms. Besides, it provides excellent exploring conditions for image fusion. For example, when transforming an image by the HSV transform fusion [2], the pixels of the image are rounded and inverted after transforming the high-frequency domain with the low-frequency domain, which leads to an irreversible image loss in the H, S, and V domains. Due to this loss, the local information will be blurred.
However, in the field of deep learning, generative adversarial networks (GANs) [5] have achieved remarkable results when being applied to image fusion. The GANs proposes a new network to estimate generative models by an adversarial process. In this process, two models are trained simultaneously: a generative model G for estimating the data distribution and a discriminative model D to predict the probability that a sample is from the training set, i.e., the real dataset, and not G. For G, the training process maximizes the probability that D is incorrect in its judgments. The GAN’s original objective function is:
where G represents the generator, D represents the discriminator, represents the real data, represents the real data probability density distribution, and Z represents the random input data, which is random Gaussian noise.
The above equation shows that the discriminator wants to distinguish as much as possible between the true sample and the false sample . Therefore, must be as large as possible and as small as possible, and should be as large as possible. The generator G wants its generated false data to fool the discriminator D as much as possible. It wants to be as large as possible and to be as small as possible. The two modules of the GAN train against each other and finally reach the global optimum. It uses the visible image as the discriminator, and the mixed band superimposed images as the generator. During the model training, the generator can migrate image features, which compensates for the partial loss of local image information caused by fusion. Thus, the GAN would obtain a more desirable image fusion performance than the traditional algorithm. Nevertheless, there are a few limitations of deep learning compared with the traditional algorithms. Deep learning is exceptionally dependent on the graphics card performance in image processing, while the traditional algorithms can produce results just using the CPU. The traditional algorithm is better for image fusion speed, while deep learning is better in terms of the image fusion accuracy. In this paper, an image fusion method named the FTSGAN was proposed, which can be executed using the graphics card and can fuse images more rapidly than using the CPU.
This paper aims to use the original GANs [5] structure as a foundation to further rebuild its superstructure. The face bio-information was fused using the constructed new model with the powerful feature migration capability of the GAN model itself. With the increasing demand for image features, the feature extraction is increasingly relying on the image fusion using the mathematical method. Figure 1 shows the basic image fusion procedure, which consists of image preprocessing, image feature extraction, image alignment, image fusion and image evaluation processes. All these processes were implemented using different algorithms.
Figure 1.
General images fusion process. First, the grayscale processing is to avoid band distortion. Second, features of the image are extracted as the feature points of the image. Third, the image can be matched at the corresponding feature points, and then a variety of algorithms are used to complete the image fusion. Finally, we evaluate the fused image to see if the ideal image fusion effect is completed.
As image fusion research originated in the early 1970s, the technology was applied immediately to the military field. The US research institutions located the enemy ships accurately by fusing multiple independent sonar signals. In the 1980s, the researchers started to focus on image fusion and made remarkable achievements. Since then, the image fusion techniques began to play a significant role for civilian use [6]. The transform domain fusion method is an image fusion method and includes the IHS transform [3], PCA transform [7], and HPF transform [8]. There are spatial region fusion methods, such as the simple combinatorial image fusion method [9] and logical filter fusion [10]. Since the 1980s, no unified evaluation or unified image fusion models have been proposed, and thus, it is urgent to design different image fusion algorithms.
Along with the emergence of deep learning [11], researchers have made breakthroughs in image fusion algorithms. The GANs have a great potential as a mathematical model for image fusion. The most typical examples include the DDcGAN [12] and FusionGAN [13] models. The models further enhance the image fusion in infrared and visible bands, allowing for more explicit features and faster fusion. In this paper, we designed a new adversarial neural network model for image fusion. Since we used F, TV, and SSIM, this new model was named as the FTSGAN.
2. Methods
2.1. Design of Image Fusion Method
2.1.1. Image Fusion Process Design
The FTSGAN was designed to mitigate the GAN’s defects. It adopts the AutoEncoder neural network as the generator. The AutoEncoder neural network [14] consists of two parts—encoder and decoder—which can extract the features of the image more efficiently than the original GAN [5] structure. In Figure 2, the visible and infrared images are used as input, and subsequently the information is superimposed using concatenate. The superimposed data are input into the FTSGAN model. In this process, the visible face image works as the input of the discriminator and trains the generator for adversariality. Furthermore, the generator can produce adverse effects that can deceive the discriminator. It generates the fusion image effectively to integrate the infrared face information without losing the original image information.
Figure 2.
The FTSGAN model training process. (‘Cat’ is an application programming interface (API) for the neural network tool Pytorch and it is used to concatenate the matrixes.) We put the images into the generator and discriminator respectively for training. The images generated by the generator will compete with the discriminator to evaluate the effect of the generator, and then the obtained effect will be constrained by the loss function. It is necessary to repeat this state again and again that a good image generation effect is obtained.
2.1.2. Design of Image Fusion Loss Function
The observation of the infrared dataset shows that the edge information of the infrared images is blurred, and the magnitude information is complicated. There is also existing information on interference gradient. The gradient information of visible images applied for fusion would have a gradient loss as the surrounding environment’s gradient decreases, which can blur the image. Thus, this fusion would make the image more unobservable as well as makes the blurred infrared image information appear as the noise signal.
The loss functions were designed to enable the visible image’s structure information to be preserved in the gradient. We divided the loss function of the generator, shown as follows, into three parts: , , and :
The , which is the negative result from the generator against the discriminator and part of Equation (1). We used the staking of the visible image and the infrared image instead of random noise Z in it. The SSIM [15] supervises the generator. The structure of the fused image converges more closely to the gradient of the visible image. As we wanted to keep more details in the visible component, we assigned the coefficients of 1 and 0.7 to the visible and infrared images, respectively. The loss function of the SSIM is as follows:
For the intensity fusion, the F [16] and TV [17] also supervise the generator. The former can record the absolute value of the corresponding matrix function and will determine the difference of each image’s intensity. The intensity information is utilized in regulating and constraining fusion performance of the fused image. The coefficients are set to 0.7 and 0.5 for the visible and infrared images, respectively, in order to satisfy the human eye. The TV function reduces noise by means of variable differential equations. It facilitates the identification of the image gradient and makes the decomposition of the image clearer. We use it for constraining the visible light information of the generated image in order to generate better texture of the visible image. Thus, the coefficient of the TV function is given as 0.7. The loss function of the F and TV is given as:
For the discriminator, we use GAN’s original loss function. The discriminator’s gross loss function is as follows:
2.1.3. The FTSGAN Network Structure Design
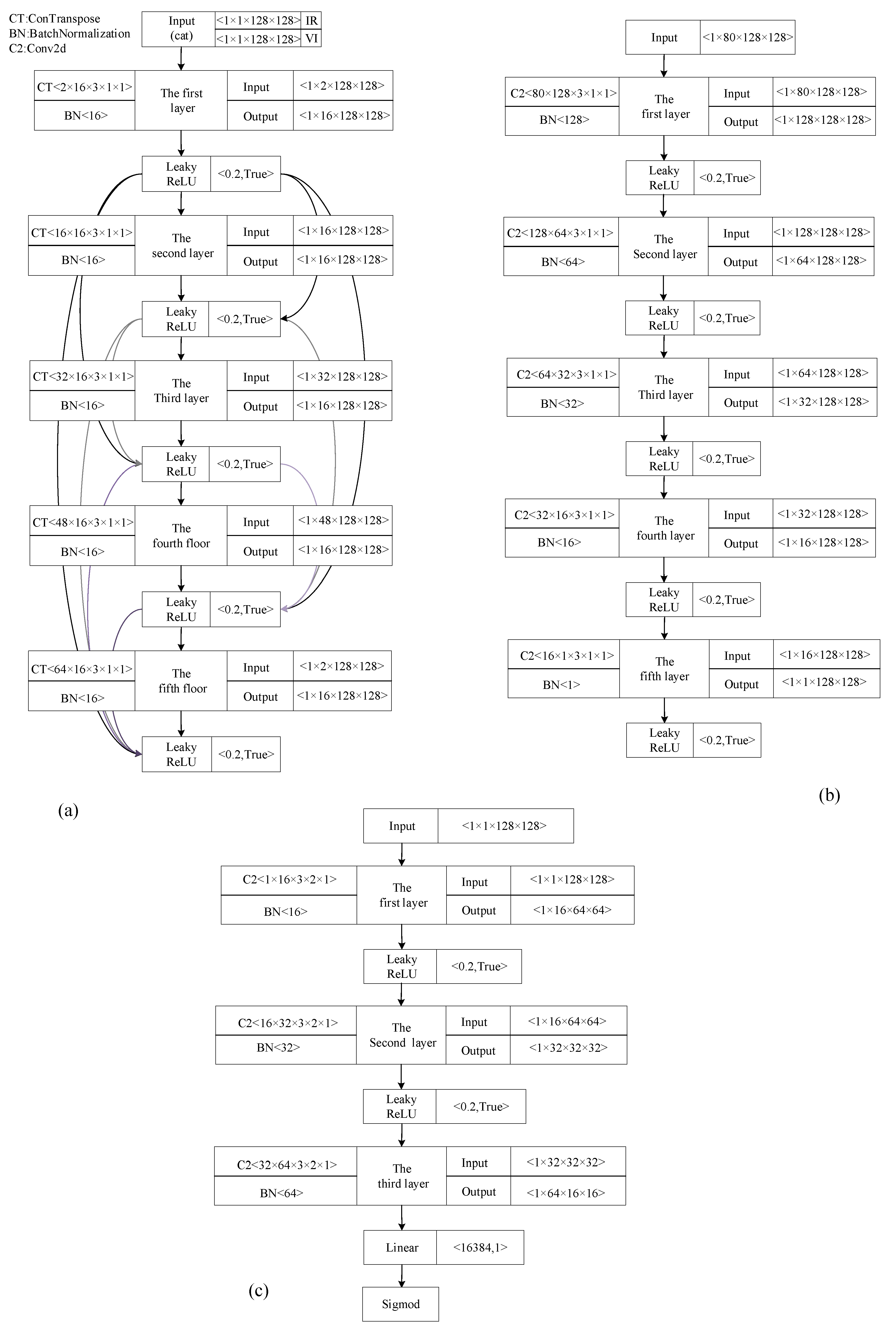
As Figure 3a,b show, the FTSGAN’s structure takes advantage of the GAN structure. It further promotes the generator’s [18] AutoEncoder neural network [14] to enhance feature extraction by simultaneously using the deconvolutional neural network [19] structure introduced in the encoder of the GAN [5] and the dense neural network [20] structure. The deconvolution structure can improve the image quality at low pixels. The dense neural network structure reduces the gradient loss and passes the gradient information from one layer to the next layer. As Figure 3a shows, we designed five layers of the deconvolutional neural network. For improved image quality, the dense neural network layer connection was used to connect the five deconvolutional layers. Furthermore, the LeakyReLU function was utilized in the encoder layer.
Figure 3.
Structure of the FTSGAN: (a) Encoder structure, (b) decoder structure, (c) discriminator structure.
The encoder structure used a 3 × 3 kernel as the deconvolution kernel, with the sliding step and padding set to “1”. Starting from the output data of dimensions 1 × 2 × 128 × 128 from the first layer of the neural network, the input data of each layer will be concatenated by the input and output of the previous layer and used as input the next neural network. In addition, as the adopted image size was too small, the deconvolutional neural network improved the image features’ sampling quality. We apply the five convolutional neural network layers as the structure of decoder to ensure strong fitting ability. The LeakyReLU function is utilized to connect the five convolutional neural network layers, which makes the neural network converge and prevents the gradient from disappearing, as shown in Figure 3b.
As Figure 3c shows, the discriminator of FTSGAN applies three convolutional layers as the backbone and finally applies a linear layer as the output layer. The discriminator uses the visible images as input. Subsequently, the data generated by the generator are utilized against the discriminator. For the neural network structure, all layers can be normalized by means of a BatchNormalization structure. The LeakyRelu activation function will be used in each layer of the neural network structure to improve the sparsity, reduce the interdependence of parameters, and alleviate the over fitting problem. Its negative slope is set “0.2”. The speed of the neural network learning is significantly reduced at the same time.
2.2. Design of Face Recognition Method
Figure 4 shows cross-validation of face recognition. We compare the recognition accuracies of visible and fused images by means of K-Fold cross-validation [21,22] to illustrate the advantages of the FTSGAN.
Figure 4.
Overview of face recognition verification.
The principal component analysis (PCA) [23,24] which is an unsupervised dimensionality reduction method was applied to reduce face image dimensionality and obtain a low-dimensional face feature space. The linear discrimination analysis (LDA) [25,26] which is a supervised dimensionality reduction method with labels was applied to gain the fused face feature space on this low-dimensional face feature space. As Figure 4 shows, the PCA-LDA face recognition algorithm [27,28] was applied to carry out a face recognition experiment. The PCA algorithm, which downscales the high-dimensional space to the low-dimensional space, eliminated the singularity problem caused by the small sample size problems. Afterwards, the LDA algorithm for feature extraction aims to get the fused feature space and then project the training and test images to the fused feature space. The nearest neighbor classification was applied to determine the class to which the test image belongs. The PCA-LDA algorithm’s robustness was ensured using the six-fold cross-validation method to effectively decrease the error caused by the input sequence and the number of training samples. The number of correct classifications was divided by the total number of test images to obtain the face recognition accuracy.
3. Experiments and Discussion
3.1. Preparation of Experiments
Table 1 and Table 2 show the hardware configuration and the dataset used in the experiments, respectively. The IR2RGB dataset from Tufts University [29] was used. We download the IR2RGB dataset from Tufts University. As images of the other 73 sets partly are missing, we selected the 40 most accurate sets of face images from the 113 sets of face images and took an equal number of images into consideration in every set. There were 20 sets where each set consisted of face images with eyeglasses. In the remaining sets, each set consisted of face images without eyeglasses. Each set contained 12 different facial poses and facial expressions. Considering our limited picture dataset, the twelve face images were divided into six folds, and each fold had two face images.
Table 1.
Information about the hardware devices used for our experiments.
Table 2.
Information on the face experiment data needed for our experiments.
3.2. Experimental Procedure
According to the design of image fusion algorithm, the following experimental procedure is designed and recorded in Table 3.
Table 3.
Overall experimental procedure.
3.3. FTSGAN Training Process
Through the design of FTSGan model structure, we will train the model according to Table 4.
Table 4.
FTSGan model training process.
3.4. Face Recognition Authentication Process
Figure 5 shows the PCA-LDA algorithm’s recognition process. First, the PCA is applied to project the high-dimensional space into the low-dimensional feature space. Second, the LDA and parameter optimization methods are proposed to obtain the fused features based on the low-dimensional feature space. Third, the training and test samples are projected on the fused feature space. Last, the classification of a test sample is carried out based on the Euclidean distance.
Figure 5.
Face recognition process based on the PCA-LDA algorithm.
3.5. Analysis of Experimental Results
3.5.1. Experimental Analysis of Face Image Fusion
Table 5 shows the time taken for image fusion. The results show that the fusion speed of FTSGAN model is the fastest on graphics card and CPU, which are equal to 0.02 and 0.16 s/p, respectively. We optimized the model’s structure and reduced the number of layers, relying more on the loss function to achieve the model generation quality and obtain fast fusion performance. (The CNN [30] is a Siamese network in which the weights of the two branches are constrained to the same and each branch consists of three convolutional layers and one max-pooling layer).
Table 5.
Time of image fusion. The fusion speeds of the six fusion models were tested separately on graphics card and CPU. The graphics card and CPU were tested using the parameters given in Table 1. (‘s/p’ is ‘seconds/pair-image’).
As Figure 6 shows, the images generated by CNN, GTF, and FTSGAN models are clearer with distinct gradients, and richer in texture compared to the original images. The images obtained using the FTSGAN are less noisy and have clearer light and dark gradients. The images generated by the FusionGAN model have textures that are more inclined towards the infrared images, and the details of visible images are significantly lost. The images generated by the MEF-GAN model are blurred and show a serious loss of texture in visible and infrared images. The images generated by the fusion of Deepfuse model are somewhat blurred compared with the CNN, GTF, and FTSGAN models. These images suffer serious gradient loss and are very noisy. Therefore, our FTSGAN model performs the best in fusing visible and infrared images.

Figure 6.
Performance with different models before and after the fusion of VI and IR. VI—visible image; IR—infrared image.
We adopted the image quality metrics such as entropy [34], standard deviation (SD) [35], mean gradient (MG), spatial frequency (SF), peak signal-to-noise ratio (PSNR) [36], and gradient-based fusion performance (QG/QABF) [15] to examine the quality of multiple image fusion models. These metrics are defined as follows:
Entropy (EN): An objective evaluation metric that measures how much information an image contains. It is calculated as:
where denotes the normalized histogram of the corresponding gray level in the fused image, and the number of all the gray levels is set as . A higher entropy means a higher amount of information and a better image quality.
Standard deviation (SD): It indicates the shift of the pixel value of an image relative to the average pixel value of the image. The larger the SD, the better the visual quality of the image. It is defined as follows:
where denotes the average pixel value of the image.
Mean gradient (MG): It reflects the texture information of the image and is calculated as:
A larger MG signifies that a higher gradient information is contained in the image, the change of the pixel values is higher, and the image is sharper.
Spatial frequency (SF): It represents the change rate of the image grayscale, reflecting the image details and textures based on the image gradient. The SF function is defined by the spatial row frequency (RF) and column frequency (CF). It is shown as follows:
where and . The larger the value of SF, the richer the edge texture information contained in the image, and the better its quality.
Peak signal-to-noise Ratio (PSNR): It is generally applied for standard calculations between maximum signal and background noise. It is calculated as:
where MSE is the mean square error and denotes the square of the largest value of the image point color. Therefore, a larger PSNR value means less distortion and better image quality.
Gradient-based fusion performance (QG/QABF): This metric reflects the quality of the visual information obtained from the input image fusion. It is defined as follows:
where a and b represent the two images in different bands, respectively, and f represents the fused image. A higher value of QABF indicates a better quality of the fused image.
Figure 7 shows that the proposed FTSGAN model has the maximum PSNR, QABF and SF values. The model significantly outperforms the other models, especially on the PSNR metric. The proposed method performs second-best on the MG metric, while the EN and SD metrics are in the middle of the range. These metrics demonstrate that our model can (1) preserve the maximum information of images for fusion and improve the quality of the fused image to a certain extent, (2) enhance the information of the image’s edge gradient, and (3) increase the information content of the image.
Figure 7.
Evaluation of six fusion methods for infrared and visible image fusion. The metrics corresponding to each method are given in the legends.
By means of the original loss function of Gan, the generated image edge is blurred. In the case of antagonistic loss, the fusion result cannot show more and clearer texture details in the visible image, as shown in Figure 8a. In Figure 8b, we added SSIM to the loss function. Then, we found that the depth of the image was enhanced, but the contour of the image was also blurred. In Figure 8c, we added TV to the loss function. The edge of the image became clear. However, the depth of the image became shallow, which reduced the visibility of the image. In Figure 8d, the F norm was used to change the depth of the image, but the edges were still blurred. In Figure 8e, the combination of SSIM and F was applied to increase the visibility and depth of the image, but the contour problem of the edge was still not solved. In Figure 8f, we added TV and F to the loss function. The depth the image was enhanced and the edge of the image was clear, but it was still not enough. In Figure 8g, we added TV and SSIM to the loss function. The TV and SSIM could combine the characteristics of infrared and visible images, and the depth and edge information of the image was clear. In Figure 8h, we added F, TV, and SSIM to the loss function. The F, TV, and SSIM made the quality of the image further improved. We achieved good results in the improvement of the loss function.
Figure 8.
The result of changing the loss function of on image fusion. (a) , (b) , (c) , (d) F, (e) SSIM + F, (f) TV + F, (g) TV + SSIM, (h) .
3.5.2. Face Recognition Effect Analysis
- (1)
- Selection of training face dataset
Face recognition accuracy is low for both the front and side face images. The reasons are as follows: (1) The light intensity in a few face images is insufficient. (2) The gray level of the image does not obey the normal distribution. (3) The contrast is not apparent. When we experiment with the side face images, the features of the front face images cannot be expressed effectively, which decreases the recognition accuracy of the face images. In the PCA-LDA algorithm, we avoided applying the side face images as the training dataset. Besides, to consider the reflection of light by the glasses, we divided the dataset into a dataset with eyeglasses and one without eyeglasses. We divided every set evenly so that each fold contains two pictures.
- (2)
- Experimental results
A quantitative comparison experiment on the accuracy of visible images’ face recognition and the accuracy of fused images’ face recognition was carried out with a dataset containing face images with eyeglasses. Table 6 and Figure 9 show the face recognition accuracy and the CPU time required for recognition, respectively. In 6-fold, 1-fold was eliminated based on Section 3.5.2. (1) of this paper. When experimenting with 5-fold, the average accuracy increase was equal to 1.7%. The above data show that our FTSGAN enhanced the quality of images under the condition of face images with eyeglasses.
Table 6.
Comparison of the face recognition accuracy.
Figure 9.
Face recognition accuracy.
The face recognition accuracy improved under the condition of without wearing the eyeglasses, as presented in Table 7 and Figure 10. Table 7 shows the recognition time taken by the CPU. In 6-fold, the 1-fold was eliminated as described in Section 3.5.2. (1) of this paper. According to the data given in Table 7, we could observe an average accuracy increase of 1.8%. The increase indicated that regardless of whether the subjects wear eyeglasses or not, the fused image quality was not affected.
Table 7.
Comparison of the face recognition accuracy.
Figure 10.
Face recognition accuracy.
Table 8 and Figure 11 show that the face recognition accuracy of the fused images is higher than that of the visible images under the condition of all images being used in the experiment. In 6-fold, the 1-fold is eliminated as described in Section 3.5.2. (1) of this paper. The average accuracy increased is 1.9%. The recognition time taken by the CPU is shown in Table 8. The recognition accuracy of fused images was always higher than that of visible images. This indicates that our FTSGAN has excellent experimental results and provides solid theoretical foundation for further practical applications.
Table 8.
Comparison of the face recognition accuracy.
Figure 11.
Face recognition accuracy.
The data given in the above three tables and [s show that the proposed FTSGAN successfully fuses visible and infrared images. The face recognition accuracy of the fused images is 1.9% higher than that of the visible images.
4. Conclusions
Compared with other fusion models, the proposed FTSGAN obtained remarkable image fusion performance over six evaluation metrics. The FTSGAN could improve the image quality required for face recognition. We used the PCA-LDA face recognition algorithm to verify this result. The face recognition performance after fusion improved by 1.9% compared to that before fusion, and the final face recognition rate was 94.4%. In addition, the FTSGAN model outperformed all the other exiting models.
The experiments proved that face images were best recognized using the frontal face, and the information of side faces was prone to generate false results. The use of side face photos should be avoided when applying this algorithm. Additional information can also be used to complement face recognition in future work, such as compensation using human eye iris information and face temperature information. Due to the lightweight feature of the fusion model, we will implement it on handheld devices or embedded operating systems in the future.
Author Contributions
Conceptualization, X.C. and H.W.; methodology, X.C.; software, X.C. and H.W.; validation, X.C., H.W. and Y.L.; formal analysis, X.C. and H.W.; data curation, Y.L.; writing—original draft preparation, X.C.; writing—review and editing, H.W.; visualization, Y.M. and Y.L.; supervision, Y.M. and S.W.; project administration, Y.M. All authors have read and agreed to the published version of the manuscript.
Funding
This work is funded by Natural Science Foundation of Jilin Province (20150101047JC). This work is also supported by the 111 Project of China (D21009,D17017), and OptoBot Lab, School of Optoelectronic Engineering, CUST.
Institutional Review Board Statement
Not applicable.
Informed Consent Statement
Not applicable.
Data Availability Statement
Our study does not report any data.
Acknowledgments
The authors thank Opto-electronic Technology Association, School of Optoelectronic Engineering, Changchun University of Science and Technology for their GPU and other devices.
Conflicts of Interest
The authors declare no conflict of interest.
References
- Ali, W.; Tian, W.; Din, S.U. Classical and modern face recognition approaches: A complete review. Multimed. Tools Appl. 2021, 80, 4825–4880. [Google Scholar] [CrossRef]
- Harrington, K.J.; Aroldi, F.; Sacco, J.J.; Milhem, M.M.; Curti, B.D.; Vanderwalde, A.M.; Baum, S.; Samson, A.; Pavlick, A.C.; Chesney, J.A.; et al. Abstract LB180: Clinical biomarker studies with two fusion-enhanced versions of oncolytic HSV (RP1 and RP2) alone and in combination with nivolumab in cancer patients indicate potent immune activation. Immunology 2021, 81, LB180. [Google Scholar]
- Yi, W.; Zeng, Y.; Wang, Y.; Deng, J.; Su, W.; Yuan, Z. An improved IHS fusion method of GF-2 remote sensing images. In Proceedings of the International Conference on Signal Image Processing and Communication (ICSIPC 2021), Chengdu, China, 16–18 April 2021; Volume 11848, pp. 238–246. [Google Scholar]
- Mo, Y.; Kang, X.; Duan, P.; Sun, B.; Li, S. Attribute filter based infrared and visible image fusion. Inf. Fusion 2021, 75, 41–54. [Google Scholar] [CrossRef]
- Goodfellow, I.J.; Pouget-Abadie, J.; Mirza, M.; Xu, B.; Warde-Farley, D.; Ozair, S.; Courville, A.; Bengio, Y. Generative adversarial nets. Assoc. Comput. Mach. 2020, 63, 139–144. [Google Scholar]
- Omar, Z.; Stathaki, T. Image Fusion: An Overview. In Proceedings of the 2014 5th International Conference on Intelligent Systems, Hunan, China, 15–16 June 2014; pp. 306–310. [Google Scholar]
- Shahdoosti, H.R.; Ghassemian, H. Spatial PCA as a new method for image fusion. In Proceedings of the 16th CSI International Symposium on Artificial Intelligence and Signal Processing (AISP 2012), Shiraz, Iran, 2–3 May 2012; pp. 90–94. [Google Scholar]
- Li, B.; Wei, J. Remote sensing image fusion based on IHS transform, wavelet transform, and HPF. Image Process. Pattern Recognit. Remote Sens. 2003, 4898, 25–30. [Google Scholar]
- Kamel, B.; Bonnin, P.; de Cabrol, A. Data image fusion using combinatorial maps. Appl. Digit. Image Process. XXVIII 2005, 5909, 481–488. [Google Scholar]
- Luo, R.C.; Kay, M.G. A tutorial on multisensor integration and fusion. In Proceedings of the 16th Annual Conference of IEEE Industrial Electronics Society, Pacific Grove, CA, USA, 27–30 November 1990; Volume 1, pp. 707–722. [Google Scholar]
- Zeiler, M.D.; Fergus, R.; David, F.; Tomas, P.; Bernt, S.; Tinne, T. Visualizing and Understanding Convolutional Networks. In Proceedings of the Computer Vision—ECCV 2014, Zurich, Switzerland, 6–12 September 2014; Volume 8689, pp. 818–833. [Google Scholar]
- Ma, J.; Xu, H.; Jiang, J.; Mei, X.; Zhang, X.-P. DDcGAN: A Dual-Discriminator Conditional Generative Adversarial Network for Multi-Resolution Image Fusion. IEEE Trans. Image Process. 2020, 29, 4980–4995. [Google Scholar] [CrossRef]
- Ma, J.; Yu, W.; Liang, P.; Li, C.; Jiang, J. FusionGAN: A generative adversarial network for infrared and visible image fusion. Inf. Fusion 2019, 48, 11–26. [Google Scholar] [CrossRef]
- Azarang, A.; Manoochehri, H.E.; Kehtarnavaz, N. Convolutional autoencoder-based multispectral image fusion. IEEE Access 2019, 7, 35673–35683. [Google Scholar] [CrossRef]
- Wang, Z.; Bovik, A.C.; Sheikh, H.R.; Simoncelli, E.P. Image quality assessment: From error visibility to structural similarity. IEEE Trans. Image Process. 2004, 13, 600–612. [Google Scholar] [CrossRef] [Green Version]
- Wirsing, E. On the theorem of Gauss-Kusmin-Lévy and a Frobenius-type theorem for function spaces. Acta Arith. 1974, 24, 507–528. [Google Scholar] [CrossRef] [Green Version]
- Beck, A.; Teboulle, M. Fast gradient-based algorithms for constrained total variation image denoising and deblurring problems. IEEE Trans. Image Process. 2009, 18, 2419–2434. [Google Scholar] [CrossRef] [PubMed] [Green Version]
- Mirza, M.; Osindero, S. Conditional generative adversarial nets. arXiv 2014, arXiv:1411.1784. [Google Scholar]
- Zeiler, M.D.; Krishnan, D.; Graham; Taylor, W.; Fergus, R. Deconvolutional Networks. In Proceedings of the 2010 IEEE Computer Society Conference on Computer Vision and Pattern Recognition, San Francisco, CA, USA, 13–18 June 2010; pp. 2528–2535. [Google Scholar]
- Huang, G.; Liu, Z.; Maaten, L.V.D.; Weinberger, K.Q. Densely connected convolutional networks. Comput. Vis. Pattern Recognit. 2017, 5, 4700–4708. [Google Scholar]
- Rodriguez, J.D.; Perez, A.; Lozano, J.A. Sensitivity Analysis of k-Fold Cross Validation in Prediction Error Estimation. IEEE Trans. Pattern Anal. Mach. Intell. 2010, 32, 569–575. [Google Scholar] [CrossRef]
- Wong, T. Performance evaluation of classification algorithms by k-fold and leave-one-out cross- validation. Pattern Recognit. 2015, 48, 2839–2846. [Google Scholar] [CrossRef]
- Martinez, A.M.; Kak, A.C. PCA versus LDA. IEEE Trans. Pattern Anal. Mach. Intell. 2001, 23, 228–233. [Google Scholar] [CrossRef] [Green Version]
- Bansal, A.; Mehta, K.; Arora, S. Face Recognition Using PCA and LDA Algorithm. In Proceedings of the 2012 Second International Conference on Advanced Computing & Communication Technologies, Rohtak, India, 7–8 January 2012; pp. 251–254. [Google Scholar]
- Zhao, W.; Krishnaswamy, A.; Chellappa, R.; Swets, D.L.; Weng, J. Discriminant Analysis of Principal Components for Face Recognition. Face Recognit. Theory Appl. 1998, 163, 73–85. [Google Scholar]
- Borade, S.N.; Deshmukh, R.R.; Ramu, S. Face recognition using fusion of PCA and LDA: Borda count approach. In Proceedings of the 2016 24th Mediterranean Conference on Control and Automation (MED), Athens, Greece, 21–24 June 2016; pp. 1164–1167. [Google Scholar]
- Marcialis, G.L.; Roli, F. Fusion of LDA and PCA for Face Verification. In Proceedings of the International Workshop on Biometric Authentication, Copenhagen, Denmark, 1 June 2002; pp. 30–37. [Google Scholar]
- Zuo, W.; Zhang, D.; Yang, J.; Wang, K. BDPCA plus LDA: A novel fast feature extraction technique for face recognition. IEEE Trans. Syst. 2006, 36, 946–953. [Google Scholar]
- Karen, P.; Wan, Q.; Agaian, S.; Rajeev, S.; Kamath, S.; Rajendran, R.; Rao, S. A comprehensive database for benchmarking imaging systems. IEEE Trans. Pattern Anal. Mach. Intell. 2018, 42, 509–520. [Google Scholar]
- Liu, Y.; Chen, X.; Cheng, J.; Peng, H.; Wang, Z. Infrared and visible image fusion with convolutional neural networks. Int. J. Wavelets Multiresolut. Inf. Process. 2018, 16, 1850018. [Google Scholar] [CrossRef]
- Ma, J.; Chen, C.; Li, C.; Huang, J. Infrared and visible image fusion via gradient transfer and total variation minimization. Inf. Fusion 2016, 31, 100–109. [Google Scholar] [CrossRef]
- Xu, H.; Ma, J.; Zhang, X. MEF-GAN: Multi-Exposure Image Fusion via Generative Adversarial Networks. IEEE Trans. Image Process. 2020, 29, 7203–7216. [Google Scholar] [CrossRef]
- Ram Prabhakar, K.; Sai Srikar, V.; Venkatesh Babu, R. Deepfuse: A deep unsupervised approach for exposure fusion with extreme exposure image pairs. In Proceedings of the IEEE international conference on computer vision, Venice, Italy, 22–29 October 2017; pp. 4714–4722. [Google Scholar]
- Roberts, J.W.; van Aardt, J.; Ahmed, F.B. Assessment of image fusion procedures using entropy, image quality, and multispectral classifification. J. Appl. Remote Sens. 2008, 2, 023522. [Google Scholar]
- Eskicioglu, A.M.; Fisher, P.S. Image quality measures and their performance. IEEE Trans. Image Process. 1995, 43, 2959–2965. [Google Scholar] [CrossRef] [Green Version]
- Xydeas, C.A.; Petrovic, V. Objective image fusion performance measure. Electron. Lett. 2000, 36, 308–309. [Google Scholar] [CrossRef] [Green Version]
Publisher’s Note: MDPI stays neutral with regard to jurisdictional claims in published maps and institutional affiliations. |
© 2021 by the authors. Licensee MDPI, Basel, Switzerland. This article is an open access article distributed under the terms and conditions of the Creative Commons Attribution (CC BY) license (https://creativecommons.org/licenses/by/4.0/).











