Sensor Drift Compensation Based on the Improved LSTM and SVM Multi-Class Ensemble Learning Models
Abstract
1. Introduction
2. Data Processing
2.1. Data Acquisition
2.2. Feature Extraction
2.3. Correlation Analysis
3. Improved LSTM and SVM
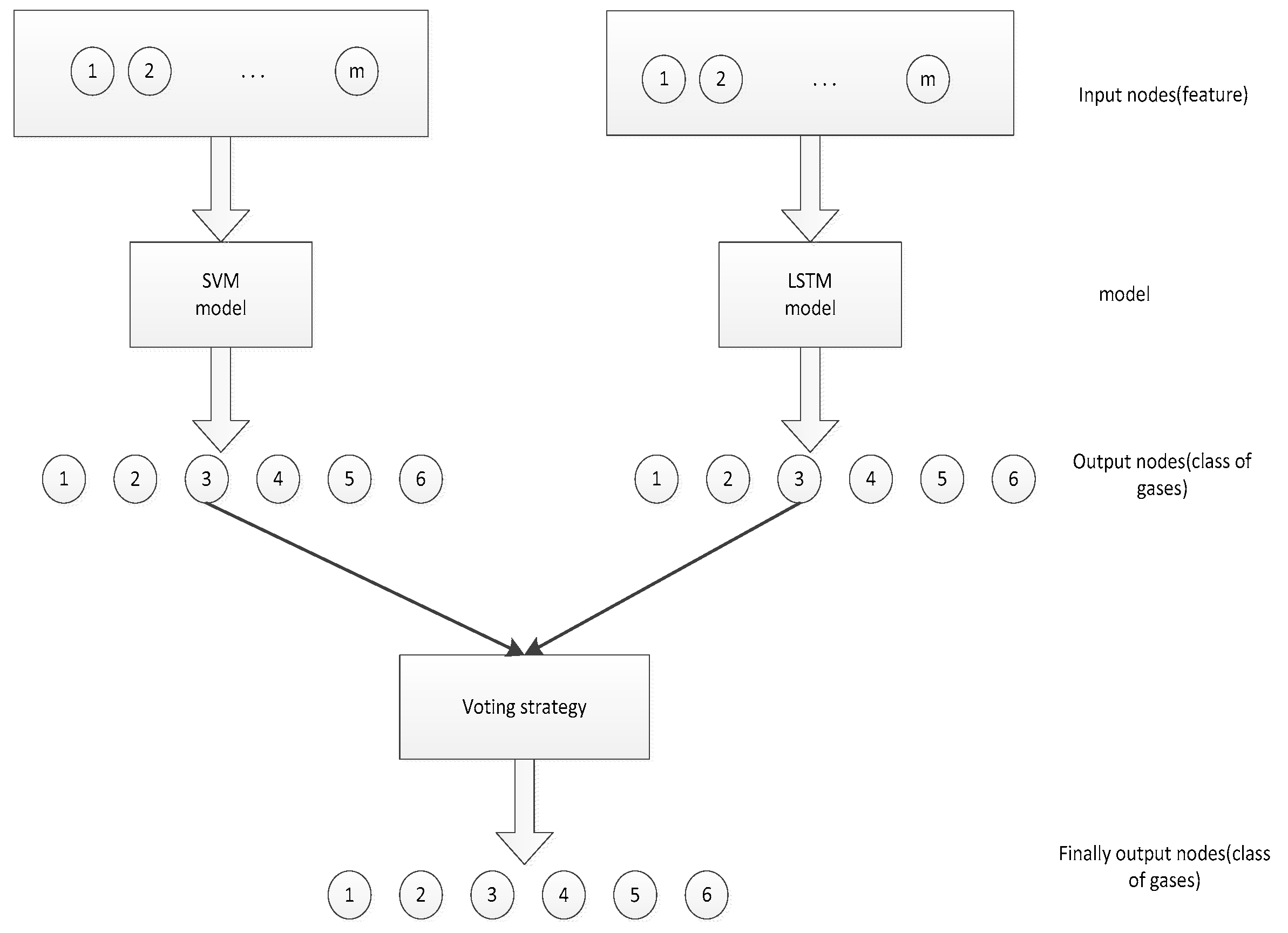
3.1. Sensor Drift Model Based on Ensemble Learning
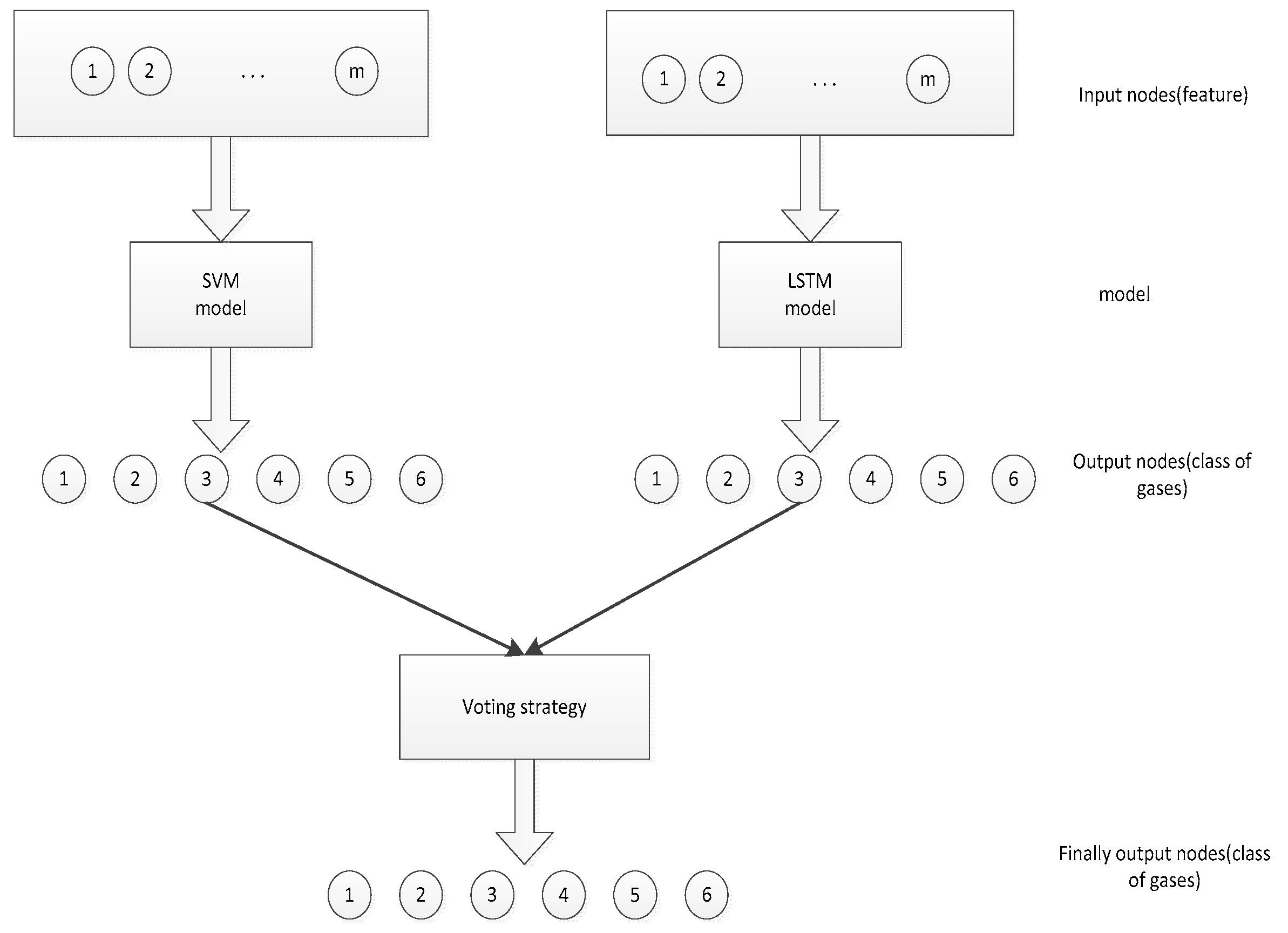
- The dataset is purified to eliminate the noisy data and then the datasets are processed through four settings. Moreover, four different kind of datasets are obtained under the four settings. Datasets are numbered in turn, forming Dataset 1, Dataset 2, Dataset 3, and Dataset 4. In the following experiments, the four settings are explained. Moreover, setting 3 and 4 are processed while using correlation analyses.
- Dataset 1, Dataset 2, Dataset 3, and Dataset 4 are used as inputs to the improved LSTM and SVM models, respectively, and then eight independent classifiers (there are four improved LSTM classifiers and four SVM classifiers) are trained. In the case of the same test samples, the eight classifiers output different classification results, which are used to obtain the final predicted outcomes by the normalization and weighted voting strategy.
- Classification accuracy rate is adopted to evaluate the classifier performance of the ILS model.
| Algorithm 1. Algorithm to cope with concept drift |
| Input: Dataset and Output: final classifier: weights and classifiers Method: ILS 1: for t = 1, …, N do 2: Receive 3: Train a classifier (SVM) on 4: Estimate the weight by the techniques described in the text 5: end for 6: for t = 1, …, N do 7: Receive 8: Train a classifier (LSTM) on 9: Estimate the weight by the techniques described in the text 10: end for |
3.1.1. SVM Base Classifier
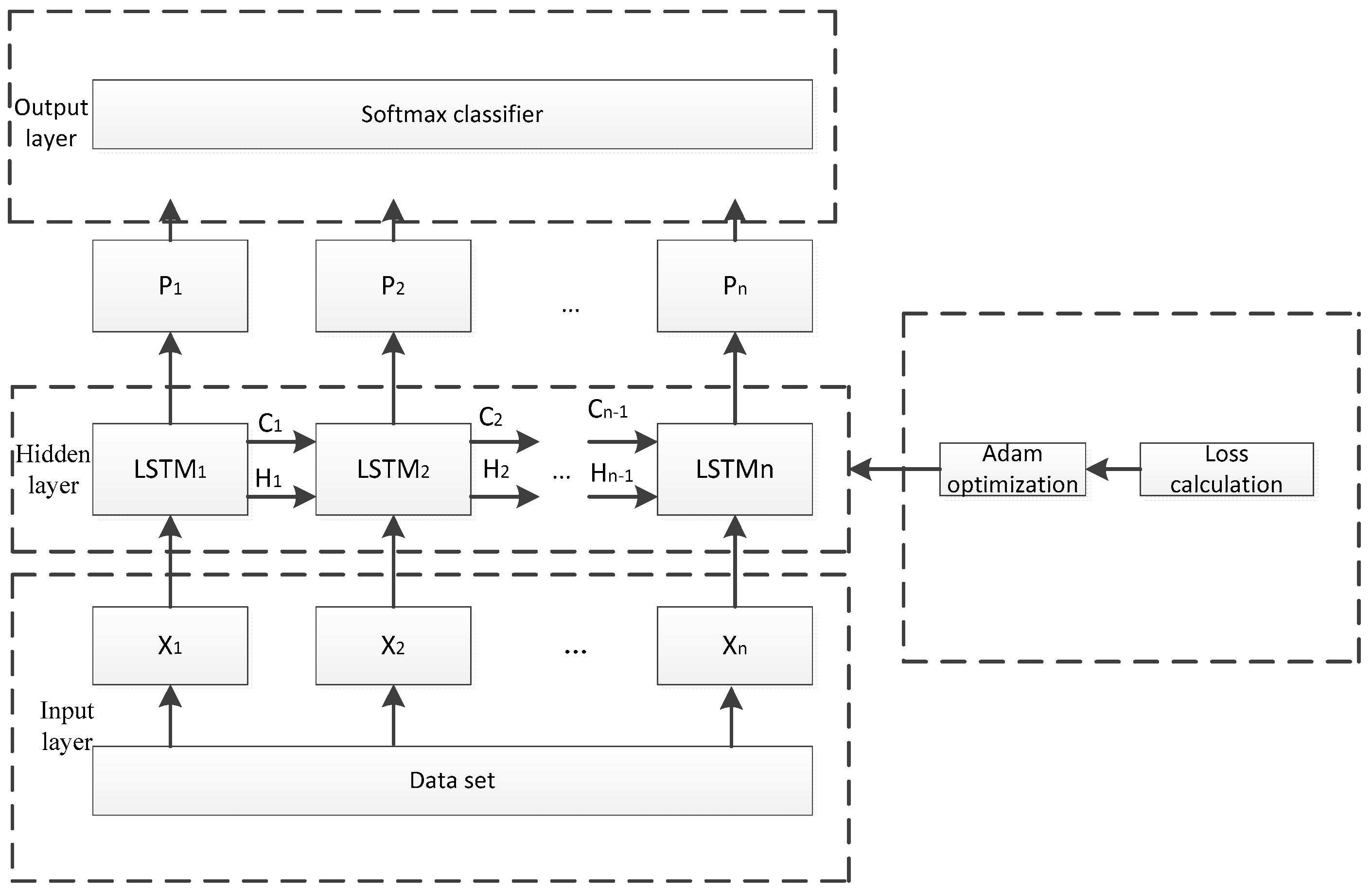
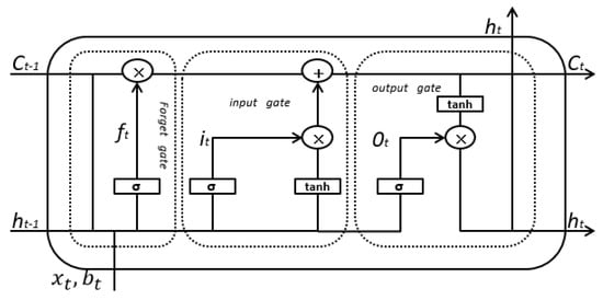
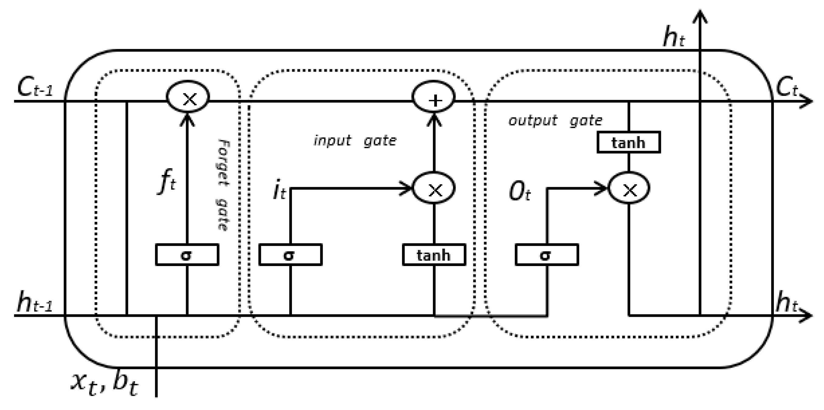
3.1.2. Improved Base Classifier of LSTM
- calculate the hidden layer. Output the upper and lower boundaries of the connection weights of the neurons and initialize the weights and thresholds;
- calculate the output value and the error function value;
- update the weight and threshold of the output neuron;
- calculate the error value of the hidden layer neurons and update the weights and thresholds; and,
- repeat it from step 2 to step 4 until the training model converges or reaches the number of training sessions.
3.1.3. Multiple Classifiers Strategy
3.2. Improved LSTM Model
3.2.1. Improved Loss
3.2.2. Regularization
4. Analysis and Results
4.1. Experimental Datasets and Environment
4.2. Experimental Process and Results
4.2.1. Drift Experiment
4.2.2. Base Classifier
- Setting 1: Use batch (k − 1) as the training set and batch k as the testing set, where k = 2, 3, 4, 5, 6, 7, 8, 9, 10.
- Setting 2: Train a multi-class classifier with data from only the previous month and test it on the current month.
- Setting 3: Use PPMCC to process the dataset, Afterwards, follow the Setting 1 for training and testing.
- Setting 4: Use PPMCC to process the dataset, Afterwards, follow the Setting 2 for training and testing.
4.2.3. Ensemble Multi-Class Classifier
4.3. Comparison of Ensemble Voting Methods
5. Conclusions
Author Contributions
Funding
Conflicts of Interest
References
- Liu, Q.; Zhou, S.; Cheng, X.; Cheng, H.; Zhang, H. Gas Sensor Drift Compensation by an Optimal Linear Transformation. In Proceedings of the 2017 3rd International Conference on Big Data Computing and Communications (BIGCOM) IEEE, Chengdu, China, 10–11 August 2017. [Google Scholar]
- Llobet, E.; Brezmes, J.; Vilanova, X.; Sueiras, J.E.; Correig, X. Qualitative and quantitative analysis of volatile organic compounds using transient and steady-state responses of a thick-film tin oxide gas sensor array. Sens. Actuators B Chem. 1997, 41, 13–21. [Google Scholar] [CrossRef]
- Ma, Z.; Luo, G.; Qin, K.; Wang, N.; Niu, W. Online Sensor Drift Compensation for E-Nose Systems Using Domain Adaptation and Extreme Learning Machine. Sensors 2018, 18, 742. [Google Scholar] [CrossRef]
- Bai, H.; Shi, G. Gas Sensors Based on Conducting Polymers. Sensors 2007, 7, 267–307. [Google Scholar] [CrossRef]
- Lee, J.H. Gas sensors using hierarchical and hollow oxide nanostructures: Overview. Sens. Actuators B Chem. 2009, 140, 319–336. [Google Scholar] [CrossRef]
- Ur Rehman, A.; Bermak, A. Heuristic Random Forests (HRF) for Drift Compensation in Electronic Nose Applications. IEEE Sens. J. 2019, 19, 1443–1453. [Google Scholar] [CrossRef]
- Vergara, A.; Vembu, S.; Ayhan, T.; Ryan, M.A.; Homer, M.L.; Huerta, R. Chemical gas sensor drift compensation using classifier ensembles. Sens. Actuators B Chem. 2012, 166–167, 320–329. [Google Scholar] [CrossRef]
- Brahimbelhouari, S.; Bermak, A.; Chan, P.C.H. Gas identification with microelectronic gas sensor in presence of drift using robust GMM. In Proceedings of the IEEE International Conference on Acoustics IEEE, Montreal, QC, Canada, 17–21 May 2004. [Google Scholar]
- Liu, T.; Li, D.; Chen, J.; Chen, Y.; Yang, T.; Cao, J. Gas-Sensor Drift Counteraction with Adaptive Active Learning for an Electronic Nose. Sensors 2018, 18, 4028. [Google Scholar] [CrossRef]
- Distante, C.; Leo, M.; Siciliano, P.; Persaud, K.C. On the Study of Feature Extraction Methods for an Electronic Nose. Sens. Actuators B Chem. 2002, 87, 274–288. [Google Scholar] [CrossRef]
- Carmela, L.; Levyb, S.; Lancetc, D. A feature extraction method for chemical sensors in electronic noses. Sens. Actuators B Chem. 2003, 69, 67–76. [Google Scholar] [CrossRef]
- Artursson, T.; Eklöv, T.; Lundström, I.; Mårtensson, P.; Sjöström, M.; Holmberg, M. Drift correction for gas sensors using multivariate methods. J. Chemom. 2000, 14, 711–723. [Google Scholar] [CrossRef]
- Padilla, M.; Perera, A.; Montoliu, I.; Chaudry, A.; Persaud, K.; Marco, S. Drift compensation of gas sensor array data by Orthogonal Signal Correction. Chem. Intell. Lab. Syst. 2010, 100, 28–35. [Google Scholar] [CrossRef]
- Liu, Q.; Hu, X.; Ye, M.; Cheng, X.; Li, F. Gas Recognition under Sensor Drift by Using Deep Learning. Int. J. Intell. Syst. 2015, 30, 907–922. [Google Scholar] [CrossRef]
- David, E.; Netanyahu, N.S. DeepSign: Deep Learning for Automatic Malware Signature Generation and Classification. Int. Jt. Conf. Neural Netw. (IJCNN) 2015, 1–8. [Google Scholar] [CrossRef]
- Chen, Y.; Lin, Z.; Zhao, X.; Wang, G.; Gu, Y. Deep Learning-Based Classification of Hyperspectral Data. IEEE J. Sel. Top. Appl. Earth Obs. Remote Sens. 2014, 7, 2094–2107. [Google Scholar] [CrossRef]
- Marmanis, D.; Datcu, M.; Esch, T.; Stilla, U. Deep Learning Earth Observation Classification Using ImageNet Pretrained Networks. IEEE Geosci. Remote Sens. Lett. 2016, 13, 105–109. [Google Scholar] [CrossRef]
- Adhikari, S.; Saha, S. Multiple classifier combination technique for sensor drift compensation using ANN & KNN. In Proceedings of the 2014 IEEE International Advance Computing Conference (IACC), Gurgaon, India, 21–22 February 2014. [Google Scholar]
- Zhang, L.; Zhang, D. Domain Adaptation Extreme Learning Machines for Drift Compensation in E-Nose Systems. IEEE Trans. Instrum. Meas. 2015, 64, 1790–1801. [Google Scholar] [CrossRef]
- Liu, Q.; Li, X.; Ye, M.; Ge, S.S.; Du, X. Drift Compensation for Electronic Nose by Semi-Supervised Domain Adaption. IEEE Sens. J. 2014, 14, 657–665. [Google Scholar] [CrossRef]
- Wenwei, S.; Huichang, S. Sensor drift compensation method based on cyclic neural network. Comput. Eng. Sci. 2005, 27, 95–96. [Google Scholar]
- Wang, X.; Wu, J.; Liu, C.; Yang, H.; Du, Y.; Niu, W. Exploring LSTM based recurrent neural network for failure time series prediction. J. Beijing Univ. Aeronaut. Astronaut. 2018, 44, 772–784. [Google Scholar]
- Zhigang, J.; Yue, H.; Qi, Z. An emotion analysis model combining deep learning and emsemble learning. J. Harbin Inst. Technol. 2018, 50, 38–45. (In Chinese) [Google Scholar]
- Pardo, A.; Marco, S.; Samitier, J. Nonlinear inverse dynamic models of gas sensing systems based on chemical sensor arrays for quantitative measurements. IEEE Trans. Instrum. Meas. 1998, 47, 644–651. [Google Scholar] [CrossRef]
- Muezzinoglu, M.K.; Vergara, A.; Huerta, R.; Rulkov, N.; Rabinovich, M.I.; Selverston, A.; Abarbanel, H.D.I. Acceleration of chemo-sensory information processing using transient features. Sens. Actuators B Chem. 2009, 137, 507–512. [Google Scholar] [CrossRef]
- Xiong, J.; Liang, Q.; Wan, J.; Zhang, Q.; Chen, X.; Ma, R. The Order Statistics Correlation Coefficient and PPMCC Fuse Non-Dimension in Fault Diagnosis of Rotating Petrochemical Unit. IEEE Sens. J. 2018, 18, 4704–4714. [Google Scholar] [CrossRef]
- Choi, E.; Schuetz, A.; Stewart, W.F.; Sun, J. Using recurrent neural network models for early detection of heart failure onset. J. Am. Med. Inform. Assoc. JAMIA 2016, 24, 361. [Google Scholar] [CrossRef]
- Verma, M.; Asmita, S.; Shukla, K.K. A Regularized Ensemble of Classifiers for Sensor Drift Compensation. IEEE Sens. J. 2016, 16, 1310–1318. [Google Scholar] [CrossRef]
- Zhang, L.; Zhang, D.; Yin, X.; Liu, Y. A Novel Semi-Supervised Learning Approach in Artificial Olfaction for E-Nose Application. IEEE Sens. J. 2016, 16, 4919–4931. [Google Scholar] [CrossRef]
- Namrata, V.; Bouwmans, T.; Javed, S.; Narayanamurthy, P. Robust Subspace Learning: Robust PCA, Robust Subspace Tracking, and Robust Subspace Recovery. IEEE Signal Process. Mag. 2018, 35, 32–55. [Google Scholar] [CrossRef]
- Schölkopf, B.; Chapelle, O.; Zien, A. Semi-Supervised Learning. Handbook on Neural Information Processing; Springer: Berlin/Heidelberg, Germany, 2013. [Google Scholar]














| Sensor Type | Number of Units | Target Gases |
|---|---|---|
| TGS2600 | 4 | Hydrogen, carbon, monoxide |
| TGS2602 | 4 | Ammonia, H2S, volatile organic compounds (VOC) |
| TGS2610 | 4 | Propane |
| TGS2620 | 4 | Carbon monoxide, combustible gases, VOC |
| 1. | 9. | 17. | 25. | … | 121. |
| 2. | 10. | 18. | 26. | … | 122. |
| 3. | 11. | 19. | 27. | … | 123. |
| 4. | 12. | 20. | 28. | … | 124. |
| 5. | 13. | 21. | 29. | … | 125. |
| 6. | 14. | 22. | 30. | … | 126. |
| 7. | 15. | 23. | 31. | … | 127. |
| 8. | 16. | 24. | 32. | … | 128. |
| 1. | 9. | 17. | 25. | 33. | 41. null |
| 2. | 10. null | 18. | 26. | 34. null | 42. |
| 3. | 11. | 19. | 27. null | 35. | 43. |
| 4. | 12. null | 20. null | 28. | 36. | 44. |
| 5. | 13. null | 21. null | 29. | 37. | 45. null |
| 6. null | 14. null | 22. | 30. | 38. null | 46. |
| 7. | 15. | 23. | 31. null | 39. | 47. null |
| 8. | 16. | 24. | 32. | 40. null | 48. |
| Batch ID | Month IDs | Labels | Number of Measurements |
|---|---|---|---|
| batch1 | month1, month2 | 1, 2, 3, 4, 5, 6 | 445 |
| batch2 | month3, month4, month8, month9, month10 | 1, 2, 3, 4, 5, 6 | 1244 |
| batch3 | month11, month12, month13 | 1, 2, 3, 4, 5 | 1586 |
| batch4 | month14, month15 | 1, 2, 3, 4, 5 | 161 |
| batch5 | month16 | 1, 2, 3, 4, 5 | 197 |
| batch6 | month17, month18, month19, month20 | 1, 2, 3, 4, 5, 6 | 2300 |
| batch7 | month21 | 1, 2, 3, 4, 5, 6 | 3613 |
| batch8 | month22, month23 | 1, 2, 3, 4, 5, 6 | 294 |
| batch9 | month24, month30 | 1, 2, 3, 4, 5, 6 | 470 |
| batch10 | month36 | 1, 2, 3, 4, 5, 6 | 3600 |
| Train Set Batch | Test Set Batch | Classification Accuracy |
|---|---|---|
| 1 | 1 | 100.0% |
| 1 | 2 | 60.3% |
| 1 | 3 | 69.9% |
| 1 | 4 | 67.7% |
| 1 | 5 | 44.7% |
| 1 | 6 | 61.0% |
| 1 | 7 | 43.2% |
| 1 | 8 | 24.8% |
| 1 | 9 | 41.7% |
| 1 | 10 | 40.7% |
| Test Set ID | Dataset 1 | Dataset 2 | Dataset 3 | Dataset 4 |
|---|---|---|---|---|
| batch 2 | 60.3% | 60.3% | 56.4% | 56.4% |
| batch 3 | 77.1% | 95.5% | 84.2% | 88.5% |
| batch 4 | 84.5% | 74.5% | 88.8% | 90.7% |
| batch 5 | 95.4% | 99.0% | 98.1% | 99.0% |
| batch 6 | 54.1% | 76.0% | 60.3% | 75.3% |
| batch 7 | 82.8% | 86.3% | 83.9% | 88.5% |
| batch 8 | 84.0% | 92.9% | 94.6% | 94.2% |
| batch 9 | 72.8% | 75.7% | 83.2% | 84.7% |
| batch 10 | 40.4% | 72.8% | 34.5% | 70.6% |
| Test Set ID | Dataset 1 | Dataset 2 | Dataset 3 | Dataset 4 |
|---|---|---|---|---|
| batch 2 | 53.5% | 53.5% | 71.9% | 71.9% |
| batch 3 | 79.7% | 80.1% | 85.7% | 74.4% |
| batch 4 | 77.7% | 73.2% | 79.9% | 76.0% |
| batch 5 | 75.8% | 73.6% | 72.5% | 80.2% |
| batch 6 | 66.7% | 72.6% | 63.3% | 72.9% |
| batch 7 | 75.9% | 74.0% | 69.7% | 78.4% |
| batch 8 | 64.8% | 75.3% | 56.1% | 80.0% |
| batch 9 | 78.5% | 82.0% | 82.6% | 77.9% |
| batch 10 | 69.1% | 78.6% | 67.2% | 76.2% |
| Test Set ID | Dataset 1 | Dataset 2 | Dataset 3 | Dataset 4 |
|---|---|---|---|---|
| batch 2 | 72.1% | 72.1% | 75.5% | 75.5% |
| batch 3 | 78.0% | 61.7% | 81.7% | 74.4% |
| batch 4 | 84.1% | 81.4% | 97.2% | 92.5% |
| batch 5 | 83.2% | 82.5% | 80.1% | 86.6% |
| batch 6 | 83.8% | 75.5% | 82.7% | 70.6% |
| batch 7 | 73.1% | 80.1% | 65.6% | 76.4% |
| batch 8 | 54.7% | 70.1% | 65.8% | 65.6% |
| batch 9 | 72.5% | 76.3% | 75.9% | 77.0% |
| batch 10 | 68.6% | 80.3% | 72.8% | 83.3% |
| Test Data ID | SVM | LSTM | Improved LSTM | ILS |
|---|---|---|---|---|
| batch 2 | 56.4% | 71.9% | 75.5% | 75.9% |
| batch 3 | 91.2% | 74.4% | 74.4% | 95.5% |
| batch 4 | 90.7% | 76.0% | 92.5% | 97.2% |
| batch 5 | 99.0% | 80.2% | 86.6% | 99.0% |
| batch 6 | 75.3% | 72.9% | 70.6% | 83.8% |
| batch 7 | 88.5% | 78.4% | 76.4% | 88.5% |
| batch 8 | 94.2% | 80.0% | 65.6% | 94.2% |
| batch 9 | 84.7% | 77.9% | 77.0% | 85.9% |
| batch 10 | 70.6% | 76.2% | 83.3% | 83.4% |
| Test Data ID | Majority Voting | Plurality Voting | ILS |
|---|---|---|---|
| Batch 2 | 70.3% | 75.3% | 75.9% |
| Batch 3 | 93.3% | 95.5% | 95.5% |
| Batch 4 | 90.6% | 91.3% | 97.2% |
| Batch 5 | 97.0% | 97.2% | 99.0% |
| Batch 6 | 75.3% | 72.3% | 83.8% |
| Batch 7 | 81.1% | 80.9% | 88.5% |
| Batch 8 | 93.1% | 92.8% | 94.2% |
| Batch 9 | 83.4% | 79.1% | 85.9% |
| Batch 10 | 73.4% | 70.7% | 83.4% |
| Mean | 84.2% | 83.9% | 89.3% |
| Algorithm | SVM | LSTM | Improved LSTM | Majority Voting | Plurality Voting | ILS |
|---|---|---|---|---|---|---|
| Time (s) | 0.27 | 2.55 | 2.36 | 5.53 | 5.72 | 5.64 |
© 2019 by the authors. Licensee MDPI, Basel, Switzerland. This article is an open access article distributed under the terms and conditions of the Creative Commons Attribution (CC BY) license (http://creativecommons.org/licenses/by/4.0/).
Share and Cite
Zhao, X.; Li, P.; Xiao, K.; Meng, X.; Han, L.; Yu, C. Sensor Drift Compensation Based on the Improved LSTM and SVM Multi-Class Ensemble Learning Models. Sensors 2019, 19, 3844. https://doi.org/10.3390/s19183844
Zhao X, Li P, Xiao K, Meng X, Han L, Yu C. Sensor Drift Compensation Based on the Improved LSTM and SVM Multi-Class Ensemble Learning Models. Sensors. 2019; 19(18):3844. https://doi.org/10.3390/s19183844
Chicago/Turabian StyleZhao, Xia, Pengfei Li, Kaitai Xiao, Xiangning Meng, Lu Han, and Chongchong Yu. 2019. "Sensor Drift Compensation Based on the Improved LSTM and SVM Multi-Class Ensemble Learning Models" Sensors 19, no. 18: 3844. https://doi.org/10.3390/s19183844
APA StyleZhao, X., Li, P., Xiao, K., Meng, X., Han, L., & Yu, C. (2019). Sensor Drift Compensation Based on the Improved LSTM and SVM Multi-Class Ensemble Learning Models. Sensors, 19(18), 3844. https://doi.org/10.3390/s19183844
