Reduction of the Measurement Time by the Prediction of the Steady-State Response for Quartz Crystal Microbalance Gas Sensors
Abstract
1. Introduction
2. QCM Sensor Operation Principle
3. Transient Response Analysis Model
4. Experimental Setup
4.1. Measurement System
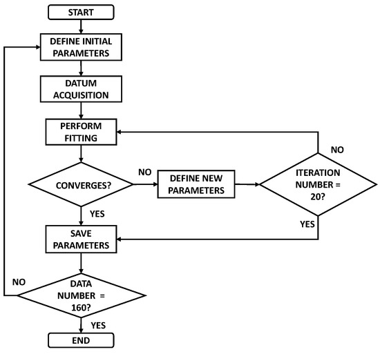
4.2. Curve-Fitting Algorithm
5. Experimental Results and Discussion
5.1. Curve-Fitting Algorithm Results
5.2. Prediction of the Steady-State Sensor Response Using the C Parameter
6. Conclusions
Author Contributions
Funding
Conflicts of Interest
References
- Hazards of Inert Gases and Oxygen Depletion, IGC Document. Available online: https://www.eiga.eu/index.php?eID=dumpFile&t=f&f=2475&token=39ac03956054e05964c97056319d9c7cae7cb0b4 (accessed on 11 July 2018).
- DiMaio, V.J.M.; DiMaio, D. Forensic Pathology, 2nd ed.; CRC Press: Boca Raton, FL, USA, 2001; pp. 229–231. ISBN 0-8493-0072-X. [Google Scholar]
- Furue, R.; Koveke, E.P.; Sugimoto, S.; Shudo, Y.; Hayami, S.; Ohira, S.; Toda, S. Arsine gas sensor based on gold-modified reduced graphene oxide. Sens. Actuators B Chem. 2016, 240, 657–663. [Google Scholar] [CrossRef]
- Jia, Y.; Yu, H.; Cai, J.; Li, Z.; Dong, F. Explore on the quantitative analysis of specific surface area on sensitivity of polyacrylic acid-based QCM ammonia sensor. Sens. Actuators B Chem. 2016, 243, 1042–1045. [Google Scholar] [CrossRef]
- Sree-Rama-Murthy, A.; Ashok Kumar, A.; Prabhu, E.; Clinsha, P.C.; Lakshmigandhan, I.; Chandramouli, S.; Mahendran, K.H.; Gnanasekar, K.I.; Jayaraman, V.; Nashine, B.K.; et al. Performance of semiconducting oxide based hydrogen sensor for argon cover gas in engineering scale sodium facility. Nucl. Eng. Des. 2014, 273, 555–559. [Google Scholar] [CrossRef]
- Florido, E.; Cruz, D.; Pasion, A. Gas response of tin oxide film sensor to varying methane gas concentration. Mater. Today 2017, 5, 11140–11143. [Google Scholar] [CrossRef]
- Guo, L.; Li, L. Sub-ppb and ultra selective nitrogen dioxide sensor based on sulfur doped graphene. Sens. Actuators B Chem. 2017, 255, 2258–2263. [Google Scholar] [CrossRef]
- Kiani, S.; Minaei, S.; Ghasemi-Varnamkhasti, M. A portable electronic nose as an expert system for aroma-based classification of saffron. Chemometr. Intell. Lab. 2016, 156, 148–156. [Google Scholar] [CrossRef]
- Deshmukh, S.; Kamde, K.; Jana, A.; Korde, S.; Bandyopadhyay, R.; Sankar, R.; Bhattacharyya, N.; Pandey, R.A. Calibration transfer between electronic nose systems for rapid in situ measurement of pulp and paper industry emissions. Anal. Chim. Acta 2014, 841, 58–67. [Google Scholar] [CrossRef] [PubMed]
- Kumar, A.; Brunet, J.; Varenne, C.; Ndiaye, A.; Pauly, A. Phthalocyanines based QCM sensors for aromatic hydrocarbons monitoring: Role of metal atoms and substituents on response to toluene. Sens. Actuators B Chem. 2016, 230, 320–329. [Google Scholar] [CrossRef]
- Lal, G.; Tiwari, D.C. Investigation of nanoclay doped polymeric composites on piezoelectric Quartz Crystal Microbalance (QCM). Sens. Actuators B Chem. 2018, 262, 64–69. [Google Scholar] [CrossRef]
- Troy-Nagle, H.; Gutierrez-Osuna, R.; Schiffman, S. The How and Why of Electronic Noses. IEEE Spectr. 1998, 3, 22–34. [Google Scholar] [CrossRef]
- Gardner, J.W.; Bartlett, P.N. A brief history of electronic noses. Sens. Actuators B Chem. 1994, 18, 210–211. [Google Scholar] [CrossRef]
- Gardner, J.W.; Bartlett, P.N. Electronic Noses, 1st ed.; Oxford University Press: New York, NY, USA, 1999; pp. 19–49. ISBN 9780198559559. [Google Scholar]
- Gutierrez-Osuna, R. Pattern analysis for machine olfaction: A review. IEEE Sens. J. 2002, 2, 189–202. [Google Scholar] [CrossRef]
- Gulbag, A.; Termutas, F.; Tasaltin, C.; Ziya-Öztürk, Z. A study on radial basis function neural network size reduction for quantitative identification of individual gas concentrations in their gas mixtures. Sens. Actuators B Chem. 2007, 124, 383–392. [Google Scholar] [CrossRef]
- Muñoz-Aguirre, S.; Nakamoto, T.; Yoshino, A.; Moriizumi, T. Odor approximation of fruit flavors using a QCM odor sensing system. Sens. Actuators B Chem. 2005, 123, 1101–1106. [Google Scholar] [CrossRef]
- Xu, X.; Cang, H.; Li, Z.; Zhao, C.; Li, H. Quartz crystal microbalance sensor array for the detection of volatile organic compounds. Talanta 2008, 78, 711–716. [Google Scholar] [CrossRef] [PubMed]
- Zhang, S.; Xie, C.; Hu, M.; Li, H.; Bai, Z.; Zeng, D. An entire feature extraction method of metal oxide gas sensors. Sens. Actuators B Chem. 2008, 132, 81–89. [Google Scholar] [CrossRef]
- Muezzinoglu, M.K.; Vergara, A.; Huerta, R.; Rulkov, N.; Rabinovich, M.; Selverston, A.; Arbarbanel, H. Acceleration of chemo-sensory information processing using transient features. Sens. Actuators B Chem. 2009, 137, 507–512. [Google Scholar] [CrossRef]
- Siadat, M.; Sambemana, H.; Lumbreras, M. New transient feature for metal oxide gas response processing. Procedia Eng. 2012, 47, 52–55. [Google Scholar] [CrossRef]
- Pohle, R. Transient operation techniques for gas sensor applications. Procedia Eng. 2012, 47, 1466–1473. [Google Scholar] [CrossRef]
- Dominguez-Pumar, M.; Kowalski, L.; Calavia, R.; Llobet, E. Smart control of chemical gas sensors for the reduction of their time response. Sens. Actuators B Chem. 2016, 229, 1–6. [Google Scholar] [CrossRef]
- Lee, G.; Ko, H.; Jung, H.W.; Ye, S.J.; Kim, M.H.; Pyun, J.C. On-line monitoring of parylene film deposition with quartz crystal microbalance (QCM). Procedia Eng. 2011, 25, 321–324. [Google Scholar] [CrossRef]
- Cisternas, R.; Ballesteris, L.; Valenzuela, M.L.; Khalert, H.; Scholz, F. Decreasing the time response of calibratio-free pH sensors based on tungsten bronze nanocrystals. J. Electroanal. Chem. 2017, 801, 315–318. [Google Scholar] [CrossRef]
- Muñoz-Mata, J.L.; Muñoz-Aguirre, S.; Gonzalez-Santos, H.; Beltrán-Pérez, G.; Castillo-Mixcóatl, J. Development and implementation of a system to measure the response of quartz crystal resonator based gas sensors using a field programmable gate array. Meas. Sci. Technol. 2012, 23, 1–7. [Google Scholar] [CrossRef]
- Sauerbrey, G. Verwendung von Schwingquarzen zur Wägung dünner Schichten zur Mikrowägung. Z. Phys. 1959, 155, 206–222. [Google Scholar] [CrossRef]
- Nakamoto, T.; Iguchi, A.; Moriizumi, T. Vapor supply method in odor sensing system and analysis of transient sensor responses. Sens. Actuators B Chem. 2000, 71, 155–160. [Google Scholar] [CrossRef]
- Singh, P.; Yadava, R.D.S. Effect on film thickness and viscoelasticity on separability of vapour classes by wavelet and principal component analyses of polymer-coated surface acoustic wave sensor transients. Meas. Sci. Technol. 2011, 22. [Google Scholar] [CrossRef]
- Wilson, D.; DeWeerth, S. Odor discrimination using steady-state and transient characteristics of tin-oxide sensors. Sens. Actuators B Chem. 1995, 28, 123–128. [Google Scholar] [CrossRef]
- Gutierrez-Osuna, R.; Troy Nagle, H.; Schiffman, S. Transient response analysis of an electronic nose using multi-exponential models. Sens. Actuators B Chem. 1999, 61, 170–182. [Google Scholar] [CrossRef]
- Singh, P.; Yadava, R.D.S. Enhancing chemical identification efficiency by SAW sensor transients through a data enrichment and information fusion strategy-a simulation study. Meas. Sci. Technol. 2013, 24. [Google Scholar] [CrossRef]
- Muñoz-Aguirre, S.; Nakamoto, T.; Moriizumi, T. Study of transient response of QCM odor/gas sensors coated with calixarene LB films. IEEJ Trans. Sens. Micromach. 1999, 8–9, 430–435. [Google Scholar] [CrossRef]
- Nocedal, J.; Wright, S.J. Numerical Optimization, 2nd ed.; Springer: New York, NY, USA, 2006; pp. 254–258. ISBN 0-387-98793-2. [Google Scholar]










© 2018 by the authors. Licensee MDPI, Basel, Switzerland. This article is an open access article distributed under the terms and conditions of the Creative Commons Attribution (CC BY) license (http://creativecommons.org/licenses/by/4.0/).
Share and Cite
Osorio-Arrieta, D.L.; Muñoz-Mata, J.L.; Beltrán-Pérez, G.; Castillo-Mixcóatl, J.; Mendoza-Barrera, C.O.; Altuzar-Aguilar, V.; Muñoz-Aguirre, S. Reduction of the Measurement Time by the Prediction of the Steady-State Response for Quartz Crystal Microbalance Gas Sensors. Sensors 2018, 18, 2475. https://doi.org/10.3390/s18082475
Osorio-Arrieta DL, Muñoz-Mata JL, Beltrán-Pérez G, Castillo-Mixcóatl J, Mendoza-Barrera CO, Altuzar-Aguilar V, Muñoz-Aguirre S. Reduction of the Measurement Time by the Prediction of the Steady-State Response for Quartz Crystal Microbalance Gas Sensors. Sensors. 2018; 18(8):2475. https://doi.org/10.3390/s18082475
Chicago/Turabian StyleOsorio-Arrieta, Diana L., José L. Muñoz-Mata, Georgina Beltrán-Pérez, Juan Castillo-Mixcóatl, Claudia O. Mendoza-Barrera, Víctor Altuzar-Aguilar, and Severino Muñoz-Aguirre. 2018. "Reduction of the Measurement Time by the Prediction of the Steady-State Response for Quartz Crystal Microbalance Gas Sensors" Sensors 18, no. 8: 2475. https://doi.org/10.3390/s18082475
APA StyleOsorio-Arrieta, D. L., Muñoz-Mata, J. L., Beltrán-Pérez, G., Castillo-Mixcóatl, J., Mendoza-Barrera, C. O., Altuzar-Aguilar, V., & Muñoz-Aguirre, S. (2018). Reduction of the Measurement Time by the Prediction of the Steady-State Response for Quartz Crystal Microbalance Gas Sensors. Sensors, 18(8), 2475. https://doi.org/10.3390/s18082475

