A Force-Sensing System on Legs for Biomimetic Hexapod Robots Interacting with Unstructured Terrain
Abstract
:1. Introduction
2. Design of Leg Force-Sensing System
2.1. Overall Layout and Performance Parameters of Force-Sensing System
- 1)
- The measurement of the collision perception of the leg during the swinging process with the terrain and its interaction force during the supporting process with the terrain should be accomplished [25,26]. Moreover, it should not only respond to the leg collision in any position when swinging but also completely measure the 3D interaction force between the foot end and terrain during the supporting process. Furthermore, the number of sensors is not redundant.
- 2)
- The sensing system is integrated in the leg structure. The sensor elastomer design and signal processing module are consistent with the leg characteristics and do not increase the leg size [27].
- 3)
- The sensor must fulfill the required accuracy and measuring range to ensure the interaction force control of the leg. The measurement range depends on the weight and motion type of the robot. Measurement accuracy is determined by the control requirement of actual motion [28].
- 4)
- The force sensing system can provide overloaded protection. When robots move on rugged terrain, unexpected collision may cause instantaneous overload and damage the sensor. Thus, designing the protection structure is necessary to prevent overload in the dynamic measurement.
- 1)
- The singular problem appears when the joint torque transforms to the foot-end force using the Jacobian matrix.
- 2)
- Errors are inevitable when the measurement of each joint torque transforms to the force of the foot end. The estimation of the dynamic model can be utilized to compensate the measurement error of joint torque information which always contains other torque forces, such as gravity, inertia forces, Coriolis force, centrifugal force, and friction. However, the method has several natural disadvantages due to the error of the Jacobian matrix caused by the inevitable dynamic model and mechanical errors.
2.2. Joint Torque Sensor
2.2.1. Conceptual Design of Joint Torque Sensor
2.2.2. Parameter Design of Joint Torque Sensor
2.3. Development of Foot-End 3-DOF Force Sensor
2.3.1. Configuration of Elastomer
- The strain beam along the radial distribution of the tibia: The design goal of the leg force sensing system entirely combines the leg structural characteristics. The structural characteristics of the tibia include a long radial length and relatively small dimension, which lowers the structural constraint and improves leg flexibility. The strain gauge should not be small for the area of the strain gauge that directly determines the elastomer size to ensure the sensor performance. Hence, the elastomer shape and volume can be effectively improved by properly configuring the distribution of the elastic strain structure. At present, the majority of elastic strain beam is in plane distribution. For example, the crossed beam and structural strain beam are in the horizontal arrangement along the outer rim. This type of structure is suitable for the multi-axis force sensor of the wrist, which has a large area. The distribution design of the strain structure along the radial direction for thin legs should be developed.
- The coupling of different dimensions is small: For a better performance of the strain properties in the normal, transverse, and tangential directions, the existence of the coupling among different dimensions cannot be avoided whether in the vertical beam structure or crossed-beam structure due to the selection of the configuration and structure parameters. Decreasing or even eliminating the coupling among the different dimensions from the perspective of the elastomer can avoid system errors caused by the decoupling operation. Particularly, when the sensor is applied to the complex environment, the characteristic matrix based on the static decoupling algorithm is unsuitable for the dynamic measurement of the emergency, which may increase the transmission error.
- Overload protection design: Walking in a complex environment imposes a high demand on the ability of the sensor to adjust to unexpected scenarios. The overload protection structure can effectively improve the reliability while ensuring the sensitivity level of the sensor.
- Integrated design: A multi-axis force sensor elastomer has a complex structure, which is more difficult than a single-machined component. Therefore, the elastomer design should be easily machined as soon as possible to attain the design requirements of integration.
2.3.2. Analysis of the Effect of Dimensional Coupling on Sensor Performance
2.3.3. Structural Parameter Design of Sensor
2.3.4. Simulation Analysis of Elastomer’s Coupling Degree
2.3.5. Calibration Experiments for the 3-DOF Force Sensor
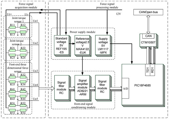
3. Design of the Force Information Processing Module
4. Force Sensing System Implemented in Control Architecture
4.1. Dimensional Transformation of Foot-End 3-DOF Force Sensor
4.2. Control Architecture of Hexapod Robot Motion Controller
4.2.1. Posture Controller Model
4.2.2. Impedance Controller Model
5. Experimental Evaluation of Hexapod Robot’s Leg Force Sensing System
5.1. Crawling Experiment
5.2. Walking Experiment of Unstructured Rugged Terrain
6. Conclusions
Acknowledgments
Author Contributions
Conflicts of Interest
References
- Pearson, D.L. Biology of tiger beetles. Ann. Rev. Entomol. 1988, 33, 123–147. [Google Scholar] [CrossRef]
- Zhang, H.; Liu, Y.; Zhao, J.; Chen, J.; Yan, J. Development of a bionic hexapod robot for walking on unstructured terrain. J. Bionic Eng. 2014, 11, 176–187. [Google Scholar] [CrossRef]
- Gois, M.D.; Germann, J.A.; Hiller, D.; Duisburg-Essen, U. Sensor-based Ground Detection in Unstructured Terrain for the Walking-machine ALDURO. In Proceedings of the 6th Conference on Climbing and Walking Robots CLAWAR 2003, Catania, Italy, 17–19 September 2003. [Google Scholar]
- Choi, K.C.; Lee, H.J.; Min, C.L. Fuzzy posture control for biped walking robot based on force sensor for ZMP. In Proceedings of the 2006 SICE-ICASE International Joint Conference, Busan, Korea, 18–21 October 2006. [Google Scholar]
- Shimada, K.; Hirata, T.; Ashihara, J.; Noda, T.; Ikeuchi, Y. Walking Assistance Device Provided with a Force Sensor. US Patent 7524297, 28 April 2009. [Google Scholar]
- Brooks, R.A. A Robot That Walks; Emergent Behaviors from a Carefully Evolved Network; Massachusetts Institute of Technology: Cambridge, MA, USA, 1989. [Google Scholar]
- Schilling, M.; Hoinville, T.; Schmitz, J.; Cruse, H. Walknet, a bio-inspired controller for hexapod walking. Biol. Cybern. 2013, 107, 397–419. [Google Scholar] [CrossRef] [PubMed]
- Zhang, H.; Zhao, J.; Liu, Y.; Chen, F. The HITCR-I: Evaluation of a free gait generation method for a hexapod robot on irregular terrain. High Technol. Lett. 2013, 4, 406–412. [Google Scholar]
- Suwanratchatamanee, K.; Matsumoto, M.; Hashimoto, S. Haptic sensing foot system for humanoid robot and ground recognition with one-leg balance. IEEE Trans. Ind. Electron. 2011, 58, 3174–3186. [Google Scholar] [CrossRef]
- Frisoli, A.; Sotgiu, E.; Avizzano, C.A.; Checcacci, D.; Bergamasco, M. Force-based impedance control of a haptic master system for teleoperation. Sens. Rev. 2004, 24, 42–50. [Google Scholar] [CrossRef]
- Kang, D.I.; Song, H.K.; Lee, J.T. Fabrication and characteristics of 30 mn strain gage type force sensor. J. Sens. Sci. Technol. 1994, 3, 24–32. [Google Scholar]
- Gamez Garcia, J.; Robertsson, A.; Gomez Ortega, J.; Johansson, R. Self-calibrated robotic manipulator force observer. Robot. Comput.-Integr. Manuf. 2009, 25, 366–378. [Google Scholar] [CrossRef]
- Kim, M.G.; Lee, D.H.; Cho, N.G. A force sensor with five degrees of freedom using optical intensity modulation for usage in a magnetic resonance field. Meas. Sci. Technol. 2013, 24, 45101. [Google Scholar] [CrossRef]
- Dhillon, B.S.; Fashandi, A.R.M.; Liu, K.L. Robot systems reliability and safety: A review. J. Qual. Maint. Eng. 2002, 8, 170–212. [Google Scholar] [CrossRef]
- Raibert, M.H.; Craig, J.J. Hybrid position/force control of manipulators. J. Dyn. Syst. Meas. Control 1981, 102, 126–133. [Google Scholar] [CrossRef]
- Woolston, D.S. An investigation of effects of certain types of structural nonhnearities on wing and control surface flutter. J. Aeronaut. Sci. 2012, 24, 57–63. [Google Scholar] [CrossRef]
- Ding, X.; Rovetta, A.; Zhu, J.M.; Wang, Z. Locomotion Analysis of Hexapod Robot; INTECH Open Access Publisher: Rijeka, Croatia, 2010; pp. 291–310. [Google Scholar]
- Tedeschi, F.; Carbone, G. Design of Hexapod Walking Robots: Background and challenges. In Handbook of Research on Advancements in Robotics and Mechatronics; IGI Global: Hershey, PA, USA, 2015; pp. 527–566. [Google Scholar]
- Chavez-Clemente, D. Gait Optimization for Multi-Legged Walking Robots, with Application to a Lunar Hexapod; Stanford University: Stanford, CA, USA, 2011. [Google Scholar]
- Hauser, K.; Bretl, T.; Latombe, J.C.; Harada, K.; Wilcox, B. Motion planning for legged robots on varied terrain. Int. J. Robot. Res. 2008, 27, 1325–1349. [Google Scholar] [CrossRef]
- Lee, T.T.; Liao, C.M.; Chen, T.K. On the stability properties of hexapod tripod gait. IEEE J. Robot. Autom. 1988, 4, 427–434. [Google Scholar] [CrossRef]
- Stanton, S.C.; Mcgehee, C.C.; Mann, B.P. Nonlinear dynamics for broadband energy harvesting: Investigation of a bistable piezoelectric inertial generator. Phys. D Nonlinear Phenom. 2010, 239, 640–653. [Google Scholar] [CrossRef]
- Belter, D. Integrated Motion Planning for a Hexapod Robot Walking on Rough Terrain. World Congr. 2011, 44, 6918–6923. [Google Scholar] [CrossRef]
- Loffler, K.; Gienger, M.; Pfeiffer, F. Sensor and control design of a dynamically stable biped robot. In Proceedings of the ICRA’03 IEEE International Conference on Robotics and Automation, Taipei, Taiwan, 14–19 September 2003; Volume 1, pp. 484–490. [Google Scholar]
- Cordes, F.; Bartsch, S.; Birnschein, T.; Kühn, D.; Kirchner, F. Towards an intelligent foot for walking and climbing robots. In Robotics (ISR), 2010 41st International Symposium on and 2010 6th German Conference on Robotics (ROBOTIK); VDE: Munich, German, 2010; pp. 1–8. [Google Scholar]
- Hoepflinger, M.A.; Remy, C.D.; Hutter, M.; Spinello, L.; Siegwart, R. Haptic terrain classification for legged robots. In Proceedings of the 2010 IEEE International Conference on Robotics and Automation (ICRA), Anchorage, AK, USA, 3–8 May 2010; pp. 2828–2833. [Google Scholar]
- Norberto Pires, J.; Ramming, J.; Rauch, S.; Araújo, R. Force/torque sensing applied to industrial robotic deburring. Sens. Rev. 2002, 22, 232–241. [Google Scholar] [CrossRef]
- Noh, Y.; Bimbo, J.; Sareh, S.; Wurdemann, H.; Fraś, J.; Chathuranga, D.S.; Liu, H.; Housden, J.; Althoefer, K.; Rhode, K. Multi-Axis force/torque sensor based on Simply-Supported beam and optoelectronics. Sensors 2016, 16, 1936. [Google Scholar] [CrossRef] [PubMed]
- Paskarbeit, J.; Schilling, M.; Schmitz, J.; Schneider, A. Obstacle crossing of a real, compliant robot based on local evasion movements and averaging of stance heights using singular value decomposition. In Proceedings of the 2015 IEEE International Conference on Robotics and Automation (ICRA), Seattle, WA, USA, 26–30 May 2015; pp. 3140–3145. [Google Scholar]
- Morel, G.; Dubowsky, S. The precise control of manipulators with joint friction: A base force/torque sensor method. In Proceedings of the IEEE International Conference on Robotics and Automation 1996, Minneapolis, MN, USA, 22–28 April 1996; Volume 1, pp. 360–365. [Google Scholar]
- Zhao, J.; Zhang, H.; Liu, Y.; Yan, J.; Zang, X.; Zhou, Z. Development of the hexapod robot HITCR-II for walking on unstructured terrain. In Proceedings of the 2012 International Conference on Mechatronics and Automation (ICMA), Chengdu, China, 5–8 August 2012. [Google Scholar]
- Yee, A.G.; Akeel, H.A. Six Axis Force Sensor Employing Multiple Shear Strain Gages. US Patent 5490427, 13 February 1996. [Google Scholar]
- Heertjes, M.; Engelen, A.V. Minimizing cross-talk in high-precision motion systems using data-based dynamic decoupling. Control Eng. Pract. 2011, 19, 1423–1432. [Google Scholar] [CrossRef]
- Fang, J.; Zheng, S.; Han, B. Attitude sensing and dynamic decoupling based on active magnetic bearing of msdgcmg. IEEE Trans. Instrum. Meas. 2012, 61, 338–348. [Google Scholar] [CrossRef]
- Zhang, D.; Tan, X.; Chen, Y. Distribution rule of corrosion damage morphology parameters for aluminum alloy. In Proceedings of the IEEE International Conference on Intelligence and Security Informatics, Beijing, China, 10–12 July 2011; pp. 358–361. [Google Scholar]
- Arena, P.; Fortuna, L.; Frasca, M.; Patane, L. A cnn-based chip for robot locomotion control. IEEE Trans. Circuits Syst. I 2005, 52, 1862–1871. [Google Scholar] [CrossRef]


























| Unit Name | Range (Nm/N) | Discrimination (Nm/N) | Length (m) | Width (m) | Height (m) |
|---|---|---|---|---|---|
| Joint torque | 0.002~2 | 0.002 | 0.026 | 0.026 | 0.01 |
| 3-DOF force on foot end | 0.003~30 | 0.003 | 0.09 | 0.18 | 0.18 |
| Processing module | \ | \ | 0.07 | 0.35 | 0.32 |
| Name Unit | Range (Nm) | Discrimination (mNm) | Degree of Nonlinearity (%FS) | Hysteresis (%FS) | Repeatability (%FS) | Work Bandwidth (Hz) |
|---|---|---|---|---|---|---|
| value | 0.002–2 | 2 | 0.16 | 0.31 | 0.15 | 0–1575 |
| Order of Frequency | Value of Frequency | Vibration Type |
|---|---|---|
| 1 | 2688 Hz | Translation along Y axis |
| 2 | 2765 Hz | Translation along X axis |
| 3 | 4566 Hz | Translation along Z axis |
| 4 | 6756 Hz | Rotating around X axis |
| 5 | 7012 Hz | Rotating around Y axis |
| 6 | 10,126 Hz | Rotating around Z axis |
| Error Type | Fz (%FS) | Fx (%FS) | Fy (%FS) |
|---|---|---|---|
| Type I | 0.11% | 0.21% | 0.14% |
| Type II | 0.0015% | 0.0043% | 0.0025% |
| Name Unit | Range (N) | Discrimination (N) | Degree of Nonlinearity %FS | Hysteresis (%FS) | Repeatability (%FS) | Work Bandwidth (Hz) |
|---|---|---|---|---|---|---|
| Fz | 0.03~30 | 0.03 | 0.13 | 0.19 | 0.08 | 0~3044 |
| Fx | 0.03~30 | 0.03 | 0.24 | 0.42 | 0.22 | 0~1837 |
| Fy | 0.03~30 | 0.03 | 0.15 | 0.26 | 0.13 | 0~1792 |
© 2017 by the authors. Licensee MDPI, Basel, Switzerland. This article is an open access article distributed under the terms and conditions of the Creative Commons Attribution (CC BY) license (http://creativecommons.org/licenses/by/4.0/).
Share and Cite
Zhang, H.; Wu, R.; Li, C.; Zang, X.; Zhang, X.; Jin, H.; Zhao, J. A Force-Sensing System on Legs for Biomimetic Hexapod Robots Interacting with Unstructured Terrain. Sensors 2017, 17, 1514. https://doi.org/10.3390/s17071514
Zhang H, Wu R, Li C, Zang X, Zhang X, Jin H, Zhao J. A Force-Sensing System on Legs for Biomimetic Hexapod Robots Interacting with Unstructured Terrain. Sensors. 2017; 17(7):1514. https://doi.org/10.3390/s17071514
Chicago/Turabian StyleZhang, He, Rui Wu, Changle Li, Xizhe Zang, Xuehe Zhang, Hongzhe Jin, and Jie Zhao. 2017. "A Force-Sensing System on Legs for Biomimetic Hexapod Robots Interacting with Unstructured Terrain" Sensors 17, no. 7: 1514. https://doi.org/10.3390/s17071514
APA StyleZhang, H., Wu, R., Li, C., Zang, X., Zhang, X., Jin, H., & Zhao, J. (2017). A Force-Sensing System on Legs for Biomimetic Hexapod Robots Interacting with Unstructured Terrain. Sensors, 17(7), 1514. https://doi.org/10.3390/s17071514

