Sign in to use this feature.

Years

Between: -

Subjects

remove_circle_outline
remove_circle_outline
remove_circle_outline
remove_circle_outline
remove_circle_outline
remove_circle_outline
remove_circle_outline
remove_circle_outline

Journals

Article Types

Countries / Regions

Search Results (12)

Search Parameters:
Keywords = automotive LED headlights

Order results
Result details
Results per page
Select all
Export citation of selected articles as:
30 pages, 10255 KB  
Article
Hybrid Design Optimization Methodology for Electromechanical Linear Actuators in Automotive LED Headlights
by Mario Đurić, Luka Selak and Drago Bračun
Actuators 2025, 14(10), 465; https://doi.org/10.3390/act14100465 - 24 Sep 2025
Viewed by 42
Abstract
The development of electromechanical linear actuators (EMLAs) aims at compactness, energy efficiency, and high reliability. Conventional design methods often rely on costly prototypes and individual considerations of mechanics, electromagnetics, and control dynamics. This leads to long development cycles, inadequate treatment of nonlinear effects, [...] Read more.
The development of electromechanical linear actuators (EMLAs) aims at compactness, energy efficiency, and high reliability. Conventional design methods often rely on costly prototypes and individual considerations of mechanics, electromagnetics, and control dynamics. This leads to long development cycles, inadequate treatment of nonlinear effects, and suboptimal performance. To address these challenges, our paper introduces a novel hybrid design methodology, integrating Analytical Modeling, Finite Element Analysis (FEA), Genetic Algorithms (GAs), and targeted experiments. Analytical Modeling provides rapid sizing, FEA combined with a GA refines geometry, and targeted experiments quantify nonlinear effects (friction, wear, thermal variability, and dynamic resonances). Unlike conventional methods, the integration is performed within iterative loops, using empirical data to refine simulation assumptions. As a result, development time is reduced by 30% and nonlinear effects are precisely addressed. The method is demonstrated on an automotive-grade EMLA. Its design is based on a claw-pole Permanent Magnet Stepper Motor, a trapezoidal lead screw, and an open-loop control with Hall effect end-position detection. After applying the method, the EMLA delivers more than 40 N of push force and achieves 600,000 actuations under the required conditions, making it suitable for various applications. Full article
(This article belongs to the Section High Torque/Power Density Actuators)
Show Figures

Figure 1

21 pages, 4656 KB  
Article
Approach to the Performance of Polymers Designed Based on Poly(methyl methacrylate) (PMMA)/poly(urethane) (PU) with Recycled Cellulose Nanoparticles from Cold Drink Cups
by Erick Habacuc Reyes Piña, Mayra Elizabeth Juárez Méndez, Diana Palma Ramírez, Acela López Benítez, Karen Ailed Neri Espinoza and Nicolás Cayetano Castro
Polymers 2025, 17(9), 1141; https://doi.org/10.3390/polym17091141 - 22 Apr 2025
Viewed by 1015
Abstract
Transparent high-performance polymers are essential to avoid damage in automotive headlights when exposed to environmental conditions. An approach involving the synthesis of reinforced interpenetrating polymer networks (IPNs) based on poly(methyl methacrylate) (PMMA)/poly(urethane) (PU) with crystalline cellulose (C) is here proposed. The valorization of [...] Read more.
Transparent high-performance polymers are essential to avoid damage in automotive headlights when exposed to environmental conditions. An approach involving the synthesis of reinforced interpenetrating polymer networks (IPNs) based on poly(methyl methacrylate) (PMMA)/poly(urethane) (PU) with crystalline cellulose (C) is here proposed. The valorization of single-use cups used for cold beverage applications into reinforcement nanoparticle agents is studied through structural and morphological analysis, revealing intermediate crystallinity (52.51%) with a mixture of Iα (52.9%) and Iβ (46.3%) polymorphs in which the initial fiber had no chemical modification after the involved pretreatments. The effect of dispersing 0.1 wt% of C (d = 29 nm and L= 85–200 nm) into 50/50 and 80/20 PMMA/PU ratios is studied as a reinforcement agent under aging and environmental conditions (ASTM D1435-20) for 672 h. PMMA80/PU20 (σ =4 MPa, ε = 54%, E = 7 MPa) led to lower mechanical properties than PMMA50/PU50 (stress σ =14 MPa, strain ε = 94%, E = 83 MPa). PMMA50/PU50/C is reinforced in σ and ε with C addition (σ = 19 MPa, ε = 41%, E = 585 MPa) while PMMA80/PU20/C reduces both (σ = 3 MPa, ε = 51%, E = 5 MPa). This study indicates that aging increases stress while maintaining strain in the first but decreases in the second. The optical properties indicate no severe damage after aging. Full article
(This article belongs to the Section Polymer Networks and Gels)
Show Figures

Graphical abstract

22 pages, 11551 KB  
Article
Adaptive Freeform Optics Design and Multi-Objective Genetic Optimization for Energy-Efficient Automotive LED Headlights
by Shaohui Xu, Xing Peng and Ci Song
Photonics 2025, 12(4), 388; https://doi.org/10.3390/photonics12040388 - 16 Apr 2025
Viewed by 831
Abstract
In addressing the design imperatives of automotive headlight miniaturization and energy conservation, this paper puts forth a design methodology for vehicle lighting systems that is predicated on free surface optics and an intelligent optimization algorithm. The establishment of the energy mapping relationship between [...] Read more.
In addressing the design imperatives of automotive headlight miniaturization and energy conservation, this paper puts forth a design methodology for vehicle lighting systems that is predicated on free surface optics and an intelligent optimization algorithm. The establishment of the energy mapping relationship between the light source surface and the target surface is predicated on relevant performance standards. The numerical calculation is then integrated with MATLAB R2022a to obtain the free-form surface coordinate points and establish a three-dimensional model. To optimize the parameter design, a genetic algorithm is employed to fine-tune the design parameter θmax, thereby attaining the optimal θmax that strikes a balance between volume and luminous efficiency. The experimental results demonstrate that by integrating the optimal incidence angle into the design of the high beam and low beam, the final simulation results show that the optical efficiency of the low beam is 88.89%, and the optical efficiency of the high beam is 89.40%. This enables the automotive headlamp system to achieve a balance between volume and luminous efficiency. The free-form lamp design framework proposed in this study provides a reference for the compact design and intelligent optimization of the lamp system. Full article
(This article belongs to the Special Issue New Perspectives in Micro-Nano Optical Design and Manufacturing)
Show Figures

Figure 1

12 pages, 8871 KB  
Article
Innovative Thin PiG Plates Boost the Luminous Efficacy and Reliability of WLEDs for Vehicles
by Hong-Wei Huang, Chien-Wei Huang, Yi-Chian Chen, Wei-Chih Cheng, Chun-Nien Liu and Chia-Chin Chiang
Ceramics 2024, 7(3), 1147-1158; https://doi.org/10.3390/ceramics7030075 - 26 Aug 2024
Viewed by 1034
Abstract
In this study, we demonstrate the high luminous efficacy of 118 lm/W and the high reliability of white LEDs (WLEDs) through 450 °C thermal aging, utilizing four-inch YAG: Ce3+ phosphor-in-glass (PiG) plates designed for vehicle headlights. The sintering process of mixing glass [...] Read more.
In this study, we demonstrate the high luminous efficacy of 118 lm/W and the high reliability of white LEDs (WLEDs) through 450 °C thermal aging, utilizing four-inch YAG: Ce3+ phosphor-in-glass (PiG) plates designed for vehicle headlights. The sintering process of mixing glass and phosphor typically generates pores, which can scatter light and reduce the luminous efficacy of the fabricated PiG. In this study, we produced four-inch PiG plates under four different fabrication conditions to evaluate their luminous efficacy. Our results revealed that the PiG plate with a thin thickness of 0.08 mm exhibited a 16.83% increase in luminous efficacy compared to the 0.15 mm plate, attributed to reduced light interaction with the pores. Unlike silicone-based phosphor WLEDs, which offer high performance but lower reliability due to the silicone resin’s low transition temperature (150 °C), our novel thin PiG plate achieves high performance and reliability. This advancement suggests that the proposed thin PiG plate could replace traditional silicone-based phosphors, enabling the development of high-quality WLEDs for vehicle headlights in automotive applications. Full article
Show Figures

Figure 1

22 pages, 14800 KB  
Review
Recent Advances in Preparing Transparent Phosphor Ceramics for High-Index Color Rendering and High-Power Lighting
by Boshen Du, Wanyuan Li, Lin Zhang, Pei Chen and Fengniu Lu
Molecules 2024, 29(6), 1325; https://doi.org/10.3390/molecules29061325 - 16 Mar 2024
Cited by 7 | Viewed by 2071
Abstract
In recent years, high-power white light-emitting diode (wLED)/laser diode (wLD) lighting sources based on transparent phosphor ceramic (TPC) materials have attracted increasing application interest in automotive headlights, projection displays, and space navigation lighting due to their superior brightness, lighting distance, compactness, lifespan, and [...] Read more.
In recent years, high-power white light-emitting diode (wLED)/laser diode (wLD) lighting sources based on transparent phosphor ceramic (TPC) materials have attracted increasing application interest in automotive headlights, projection displays, and space navigation lighting due to their superior brightness, lighting distance, compactness, lifespan, and environmental resistance compared with the widely used phosphor-converted wLEDs. However, preparing TPC-converted wLEDs/wLDs with high color rendering index (CRI) remains a huge challenge, which limits their widespread application. In this review, we summarize the recently adopted strategies for constructing TPCs to develop high-power wLEDs/wLDs with high CRI values (>75). The construction protocols were categorized into four groups: host regulation, red-emitter doping, host regulation/red-emitter doping combination, and composite structure design. A comprehensive discussion was conducted on the design principles, photoluminescent properties, and device performances for each strategy. The challenges and future trends of high-power and high-CRI wLEDs/wLDs based on TPCs are also discussed toward the end of this review. Full article
Show Figures

Figure 1

16 pages, 4794 KB  
Article
Single-Wire Control and Fault Detection for Automotive Exterior Lighting Systems
by George-Călin Seriţan, Costel-Ciprian Raicu and Bogdan-Adrian Enache
Sensors 2023, 23(14), 6521; https://doi.org/10.3390/s23146521 - 19 Jul 2023
Cited by 1 | Viewed by 2612
Abstract
The design of exterior lighting is crucial for automotive manufacturers to ensure the visibility and safety of the driver. This article proposes a new strategy to control and diagnose one or more exterior lighting functions in electric vehicles by maximising the electrical faults [...] Read more.
The design of exterior lighting is crucial for automotive manufacturers to ensure the visibility and safety of the driver. This article proposes a new strategy to control and diagnose one or more exterior lighting functions in electric vehicles by maximising the electrical faults that are detected and their transfer over a single-wire. The outcome is a decreased system cost and an additional method for vehicle lighting infrastructure control and diagnosis. Virtual simulation tools are used to explore the correlation between master-slave architecture and the effectiveness of the single-wire approach to comply with safety and regulatory demands. Safety-related and non-safety-related needs are explored to properly assess lighting functions, internal logic, and fault-case scenarios. Furthermore, assessing the viability of minimizing wire harness utilization while retaining the diagnostic capabilities for the controlled lighting sources, thereby simultaneously reducing the vehicle’s overall weight. This approach aims to concurrently decrease the overall weight of the vehicle. This work has three main contributions: (1) the development of efficient and reliable lighting systems in electric vehicles, a critical factor for achieving optimal performance, ensuring customer satisfaction, meeting regulatory compliance, and enhancing cost-effectiveness in automotive lighting systems. (2) Framework for future development and implementation of lighting systems in electric vehicles. (3) Simulation of the hardware architecture associated with the system strategy to achieve the desired system strategy for effectively applying the single-wire approach. Full article
(This article belongs to the Section Fault Diagnosis & Sensors)
Show Figures

Figure 1

10 pages, 3858 KB  
Communication
A Preliminary Anti-Glare System for Traffic Vehicles Using Polarizing Filters and a Polarizing Flip Plate
by Nghia Phan Trong Nguyen, Minh Ngoc Phan, Duc Anh To and Thang Hung Bui
Appl. Sci. 2023, 13(7), 4240; https://doi.org/10.3390/app13074240 - 27 Mar 2023
Cited by 3 | Viewed by 3951
Abstract
In the past, polarizing filters were attached to cars’ halogen headlights to reduce glare for other vehicles. However, the filters absorbed a significant amount of light and made it difficult for drivers to see properly. Coupled with overheating issues and numerous technical and [...] Read more.
In the past, polarizing filters were attached to cars’ halogen headlights to reduce glare for other vehicles. However, the filters absorbed a significant amount of light and made it difficult for drivers to see properly. Coupled with overheating issues and numerous technical and logistical limitations, polarized automotive lighting systems have not become widespread. In this research, we propose using a polarized LED lighting system to improve drivers’ visibility. Our results demonstrated an illuminance reduction of up to 97.5% when simultaneously using a polarized headlight filter and flip plate. Additionally, our system’s lower operating temperatures resulted in a lifespan increase of approximately 120 times compared to a conventional halogen lighting system. Full article
Show Figures

Figure 1

12 pages, 650 KB  
Article
Czech Drivers’ Glare Perception Survey
by Lucie Viktorová, Klára Mičková and Ladislav Stanke
Sustainability 2022, 14(14), 8922; https://doi.org/10.3390/su14148922 - 21 Jul 2022
Cited by 4 | Viewed by 2305
Abstract
Worldwide, road-users complain about glare from oncoming cars’ headlights, often blaming new light sources such as light-emitting diodes (LEDs). However, drivers’ own behavior and attitudes might contribute to the issue of glare. The aim of this research was to establish the prevalence of [...] Read more.
Worldwide, road-users complain about glare from oncoming cars’ headlights, often blaming new light sources such as light-emitting diodes (LEDs). However, drivers’ own behavior and attitudes might contribute to the issue of glare. The aim of this research was to establish the prevalence of on-road glare and its associations with drivers’ attitudes in a sample of Czech drivers. We used an online survey and gained responses from 539 passenger-car-drivers. The majority experienced glare at least once a week or almost daily, identifying mainly white- or bluish-colored headlights as the source of glare. However, about 60% of participants would prefer the view of the road that is provided by these sources, and an association was found between the preferred part of the lighting color spectrum and the perceived glare source color. A large proportion of drivers were also not aware of the specifics of the lighting sources that they used. These findings suggest the need for driver education in the area of automotive lighting and glare prevention. Full article
(This article belongs to the Topic New Perspectives on Lighting)
Show Figures

Figure 1

10 pages, 2460 KB  
Article
Development of Radiator with Thermoplastic Polymer and Insert-Molded Aluminum Alloy Parts for Light-Emitting Diode Headlights
by Yenlung Chen, Juikun Chang, Chun Huang, Changche Chiu, Wei Lai, Zhiting Ye and Pin Han
Appl. Sci. 2022, 12(11), 5385; https://doi.org/10.3390/app12115385 - 26 May 2022
Cited by 2 | Viewed by 2779
Abstract
The increasing popularity of electric vehicles has increased the demand for lightweight auto parts. However, the excessive weight of traditional metal heat sinks has remained a concern. Metal has excellent thermal conductivity but low radiation efficiency. Conversely, thermoplastic polymers have excellent heat radiation [...] Read more.
The increasing popularity of electric vehicles has increased the demand for lightweight auto parts. However, the excessive weight of traditional metal heat sinks has remained a concern. Metal has excellent thermal conductivity but low radiation efficiency. Conversely, thermoplastic polymers have excellent heat radiation efficiency but poor thermal conductivity. In this study, we propose a radiator constructed using thermoplastic polymer and insert-molded aluminum alloy parts to maintain the low junction temperature of light-emitting diodes (LEDs); the radiator’s weight is reduced through a combination of aluminum alloy and a thermally conductive polymer designed for automotive headlights. At an LED thermal load of 11.48 W, the measured temperature on the LED pad is 60.8 °C. The weight of the proposed radiator is 23.37% lighter than that of a pure metal radiator. When the lightweight radiator is used in high-power LED headlights, it effectively dissipates heat within a limited space. Full article
(This article belongs to the Collection Optical Design and Engineering)
Show Figures

Graphical abstract

12 pages, 2288 KB  
Article
Development Approach Model for Automotive Headlights with Mixed Delivery Methodologies over APQP Backbone
by Costel-Ciprian Raicu, George-Călin Seriţan, Bogdan-Adrian Enache and Marilena Stănculescu
Appl. Sci. 2021, 11(22), 10581; https://doi.org/10.3390/app112210581 - 10 Nov 2021
Cited by 5 | Viewed by 3903
Abstract
Headlights’ development for the automotive industry is gaining a lot of volatility due to frequent changes in features, styling and design, hardware interfaces, and software upgrades required by the OEM, supplier, or new trends in regulations. Standard development models based on V-cycle compliant [...] Read more.
Headlights’ development for the automotive industry is gaining a lot of volatility due to frequent changes in features, styling and design, hardware interfaces, and software upgrades required by the OEM, supplier, or new trends in regulations. Standard development models based on V-cycle compliant with CMMI are not responding with reactivity on constant changes. The article proposes an approach based on mixed development strategies over the different core domains with Lean, Scrum, Feature-Driven Development, and VDI to satisfy the APQP milestones, with a proposal of a canvas-type model, the rapid delivery of headlights is portrayed. The efficiency and effectiveness of the model are assessed based on the assumed number of changes for new high-end headlights, based on experience and real cases. A delivery baseline LED-based Headlight development—planned versus actual—chart is presented and explained. Full article
(This article belongs to the Topic Modern Technologies and Manufacturing Systems)
Show Figures

Figure 1

14 pages, 3401 KB  
Article
A Study of High-Efficiency Laser Headlight Design Using Gradient-Index Lens and Liquid Lens
by Yi-Chin Fang, Yih-Fong Tzeng, Chan-Chuan Wen, Chao-Hsien Chen, Hsiao-Yi Lee, Shun-Hsyung Chang and Yi-Lun Su
Appl. Sci. 2020, 10(20), 7331; https://doi.org/10.3390/app10207331 - 20 Oct 2020
Cited by 11 | Viewed by 6825
Abstract
In the field of vehicle lighting, due to the diode laser, its small size and high energy conversion efficiency, it can be effectively used as the headlight source of high beam. In recent years, it was adopted by European advanced car manufacturers as [...] Read more.
In the field of vehicle lighting, due to the diode laser, its small size and high energy conversion efficiency, it can be effectively used as the headlight source of high beam. In recent years, it was adopted by European advanced car manufacturers as a new generation of automotive headlight lighting products. The current mature technology on the market is to extend the laser beam by means of reflection and to use a single high-power laser as the light source to meet the needs of surface lighting. In this research, we propose a new integrated optical design for an automotive headlight system with the rod lens, gradient-index lens (GRIN lens) and freeform lens to expand the laser beam. With regard to the diffusion of the beam by reflection and refraction, the liquid lens is used as a switch for the high beam and low beam lights to meet the needs of vehicle lighting functions and to use low-power diode lasers to synthesize the array light source. Compared with the 24-W LED headlight module available in the current market, the energy saved by this proposed optical design can increase efficiency by an average of 33%. The maximum illuminance is 56.6 lux in the high-beam mode, which is 18% higher than the standard value. Let the laser light meet the lighting requirements of regulatory standard values even beyond. Full article
(This article belongs to the Special Issue Physics and Mechanics of New Materials and Their Applications 2020)
Show Figures

Figure 1

19 pages, 4889 KB  
Article
Thermal Assessment of Laminar Flow Liquid Cooling Blocks for LED Circuit Boards Used in Automotive Headlight Assemblies
by Muhsin Kilic, Mehmet Aktas and Gokhan Sevilgen
Energies 2020, 13(5), 1202; https://doi.org/10.3390/en13051202 - 5 Mar 2020
Cited by 12 | Viewed by 4538
Abstract
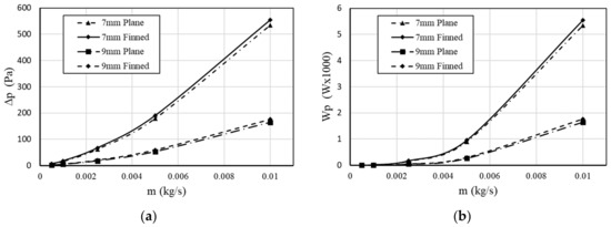
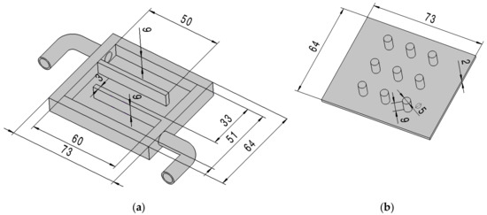
This research work presents a comparative thermal performance assessment of the laminar flow cooling blocks produced for automotive headlight assembly using a high power Light Emitting Diode (LED) chip. A three-dimensional numerical model with conjugate heat transfer in solid and fluid domains was [...] Read more.
This research work presents a comparative thermal performance assessment of the laminar flow cooling blocks produced for automotive headlight assembly using a high power Light Emitting Diode (LED) chip. A three-dimensional numerical model with conjugate heat transfer in solid and fluid domains was used. Laminar flow was considered in the present analysis. The validation of the numerical model was realized by using the measured data from the test rig. It was observed that substantial temperature variations were occurred around the LED chip owing to volumetric heat generation. The cooling board with lower height performs better thermal performance but higher pressure drop for the same mass flow rates. The cooling board with the finned cover plate performs better thermal performance but results in an increased pressure drop for the same mass flow rates. Increasing the power of the LED results in higher temperature values for the same mass flow rates. The junction temperature is highly dependent on the mass flow rates and LED power. It can be controlled by means of the mass flow rate of the coolant fluid. New Nusselt number correlations are proposed for laminar flow mini-channel liquid cooling block applications. Full article
(This article belongs to the Section K: State-of-the-Art Energy Related Technologies)
Show Figures

Figure 1

Back to TopTop