Sign in to use this feature.

Years

Between: -

Subjects

remove_circle_outline
remove_circle_outline
remove_circle_outline
remove_circle_outline
remove_circle_outline
remove_circle_outline
remove_circle_outline
remove_circle_outline
remove_circle_outline

Journals

remove_circle_outline
remove_circle_outline
remove_circle_outline
remove_circle_outline
remove_circle_outline
remove_circle_outline
remove_circle_outline
remove_circle_outline
remove_circle_outline
remove_circle_outline
remove_circle_outline
remove_circle_outline
remove_circle_outline
remove_circle_outline
remove_circle_outline
remove_circle_outline
remove_circle_outline
remove_circle_outline

Article Types

Countries / Regions

remove_circle_outline
remove_circle_outline
remove_circle_outline
remove_circle_outline
remove_circle_outline
remove_circle_outline
remove_circle_outline
remove_circle_outline

Search Results (949)

Search Parameters:
Keywords = SlowR50

Order results
Result details
Results per page
Select all
Export citation of selected articles as:
27 pages, 7476 KB  
Article
Real-Time Embedded Smart-Particle Monitoring for Index-Based Evaluation of Asphalt Mixture Compaction Quality
by Min Xiao, Xilan Yu, Wei Min, Fengteng Liu, Yongwei Li, Haojie Duan, Feng Liu, Hairui Wu and Xunhao Ding
Sensors 2026, 26(6), 1822; https://doi.org/10.3390/s26061822 - 13 Mar 2026
Abstract
Compaction quality governs asphalt pavement durability, but conventional density checks are intermittent. Reliable compaction control of asphalt mixtures requires real-time information on internal responses rather than relying solely on endpoint density measurements. In this study, an embedded smart-particle framework is developed for in [...] Read more.
Compaction quality governs asphalt pavement durability, but conventional density checks are intermittent. Reliable compaction control of asphalt mixtures requires real-time information on internal responses rather than relying solely on endpoint density measurements. In this study, an embedded smart-particle framework is developed for in situ monitoring and index-based evaluation of vibratory compaction quality, integrating multi-source sensing, feature extraction, and compaction degree mapping. The smart particle integrates inertial/orientation sensing together with thermal–mechanical measurements, and its high-temperature survivability and calibratability are verified through thermal exposure and calibration tests. During laboratory vibratory compaction of representative asphalt mixtures, raw signals are converted into stable attitude responses via attitude estimation and filtering; posture-dominant descriptors are then extracted and used to establish a data-driven mapping from internal responses to compaction degree using regression models. Results show that the device remains stable under typical hot-mix asphalt conditions, with calibration exhibiting high linearity (temperature channel R2 > 0.990; force channel R2 > 0.980 in the relevant range). Filtering markedly enhances inertial-signal usability under strong vibration and improves the interpretability of attitude-response evolution during compaction. The evolution of attitude features is consistent with the “rapid-to-slow densification” process, yielding correlations of |r| ≈ 0.35–0.47 with compaction degree evolution. Nonlinear regressors outperform linear baselines, and the better-performing nonlinear models achieve strong predictive performance across all six specimens, with R2 values reaching 0.740–0.960 and RMSE reaching 0.016–0.043. Moreover, machine-learning-based feature-importance analysis reveals distinct mixture-type-dependent characteristics, indicating that AC and SMA transmit compaction-state information through partly different dominant response features. These findings demonstrate the feasibility of embedded smart particles for online compaction-quality evaluation and provide a basis for real-time feedback in intelligent compaction. Full article
(This article belongs to the Section Vehicular Sensing)
Show Figures

Figure 1

23 pages, 3713 KB  
Article
Plant Growth Promoting Rhizobacteria Favor Vegetative Development and Optimize Nutrient Uptake in Lisianthus
by Tsujmejy Gómez-Navor, Fernando Carlos Gómez-Merino, Juan José Almaraz-Suárez, Marco Polo Carballo-Sánchez, J. Cruz García-Albarado and Libia Iris Trejo-Téllez
Horticulturae 2026, 12(3), 350; https://doi.org/10.3390/horticulturae12030350 - 13 Mar 2026
Abstract
Lisianthus [Eustoma grandiflorum (Raf.) Shinners] is among the 10 most produced and marketed cut flowers in the world. However, its slow growth represents a challenge for its production. This study evaluated the efficiency of rhizobacterial strains in vegetative growth and nutrient acquisition [...] Read more.
Lisianthus [Eustoma grandiflorum (Raf.) Shinners] is among the 10 most produced and marketed cut flowers in the world. However, its slow growth represents a challenge for its production. This study evaluated the efficiency of rhizobacterial strains in vegetative growth and nutrient acquisition in lisianthus plants. Freshly germinated seeds of lisianthus cv. Mariachi Blue Double were used. Seven rhizobacterial strains and two controls (sterile distilled water and nutrient broth) were evaluated in a completely randomized design. Replication varied among treatments and variables: shoot growth traits were assessed on 10–12 plants per treatment, root biomass on a destructive subsample of six plants per treatment and shoot nutrient contents on four composite samples per treatment. Measurements taken 149 days after sowing showed that plants inoculated with the strains Acinetobacter vivianii C48, Achromobacter xylosoxidans C56, and Arthrobacter pokkalii JLB4 had greater height, leaf area, leaf number, and fresh and dry biomass, both aerial and in the root. These strains also enhanced N and P uptake in shoot tissues. In contrast, the Bacillus pumilus strain R44 significantly decreased height and leaf number. The results suggest that strains C48, C56 and JLB4 can stimulate nutrition, accelerate plant growth, and shorten the vegetative phase in lisianthus. Full article
Show Figures

Figure 1

27 pages, 2463 KB  
Article
County-Level Spatial Mismatch and Spatio-Temporal Dynamics of Population and Economic Distribution in the Yellow River Basin
by Wenxin Yu and Yu Gao
Systems 2026, 14(3), 293; https://doi.org/10.3390/systems14030293 - 10 Mar 2026
Viewed by 113
Abstract
Understanding the spatial mismatch between population distribution and economic activities is central to regional development, particularly in large river basins experiencing rapid demographic change. Existing studies often rely on slow-moving structural variables and give limited attention to dynamic population processes. This study examines [...] Read more.
Understanding the spatial mismatch between population distribution and economic activities is central to regional development, particularly in large river basins experiencing rapid demographic change. Existing studies often rely on slow-moving structural variables and give limited attention to dynamic population processes. This study examines the spatiotemporal patterns, demographic mechanisms, and regional heterogeneity of population–economy mismatch in the Yellow River Basin from 2000 to 2020. We hypothesize that population–economy mismatch exhibits pronounced spatial heterogeneity across the upper, middle, and lower reaches of the basin, and that demographic structure and migration dynamics play a decisive role in shaping these patterns. Using county-level data, we construct a Population–Economy Distribution Disparity Ratio R, apply decomposable Theil indices, and estimate two-way fixed-effects panel models incorporating demographic and migration indicators. Spatial econometric models are further employed as robustness checks. The results show that intra-regional disparities account for more than 97% of total population–economy mismatch, while inter-regional differences remain limited. Population migration intensity and age structure significantly influence mismatch dynamics, with effects varying systematically along the basin gradient. These findings underscore the importance of integrating dynamic demographic processes into spatial mismatch analysis and support regionally differentiated and systemically coordinated policy interventions for high-quality development in the Yellow River Basin. Full article
(This article belongs to the Section Systems Practice in Social Science)
Show Figures

Figure 1

25 pages, 8082 KB  
Article
A Novel Improved Whale Optimization Algorithm-Based Multi-Scale Fusion Attention Enhanced SwinIR Model for Super-Resolution and Recognition of Text Images on Electrophoretic Displays
by Xin Xiong, Zikang Feng, Peng Li, Xi Hu, Jiyan Liu and Xueqing Liu
Biomimetics 2026, 11(3), 195; https://doi.org/10.3390/biomimetics11030195 - 6 Mar 2026
Viewed by 213
Abstract
Electrophoretic Displays (EPDs) are widely adopted in e-readers and portable devices due to their ultra-low power consumption and eye-friendly reflective characteristics. However, inherent hardware limitations, such as low resolution, slow response speed, and display degradation, frequently result in blurred strokes and degraded text [...] Read more.
Electrophoretic Displays (EPDs) are widely adopted in e-readers and portable devices due to their ultra-low power consumption and eye-friendly reflective characteristics. However, inherent hardware limitations, such as low resolution, slow response speed, and display degradation, frequently result in blurred strokes and degraded text readability. While traditional driving waveform optimizations can mitigate these issues, they are device-dependent and require extensive manual calibration. To address these challenges, this paper proposes an Improved Whale Optimization Algorithm-based Multi-scale Fusion Attention-enhanced SwinIR (IWOA-MFA-SwinIR) model for super-resolution and recognition of text images on EPDs. Structurally, the model incorporates a multi-scale fused attention (MFA) module that synergistically integrates channel, spatial, and gated attention mechanisms to precisely capture high-frequency text details while suppressing background noise within the SwinIR architecture. Furthermore, to enhance model robustness and eliminate manual tuning, an Improved Whale Optimization Algorithm (IWOA) is employed to adaptively optimize critical hyperparameters, including embedding dimension (d), attention head count (h), learning rate (lr), and dimensionality reduction coefficient (r). Experiments conducted on the TextZoom and EPD datasets demonstrate that the proposed model achieves state-of-the-art performance. In the ablation study, it attains a Peak Signal-to-Noise Ratio (PSNR) of 24.406, a Structural Similarity Index (SSIM) of 0.8837, and a Character Recognition Accuracy (CRA) of 89.81%. In the comparative evaluation, the proposed model consistently outperforms the second-best comparison model across three difficulty levels, yielding approximately a 1% improvement in PSNR, a 0.8% improvement in SSIM, and an 8% improvement in CRA. This confirms the proposed model’s superiority over mainstream comparative models in restoring text fidelity and improving recognition rates. Full article
(This article belongs to the Special Issue Bionics in Engineering Practice: Innovations and Applications)
Show Figures

Figure 1

21 pages, 2852 KB  
Article
Bacterial and Fungal Dynamics of the Uterine Microbiota in Postpartum Beef Cows Supplemented with Grape Pomace
by Inga Merkelytė, Šarūnė Marašinskienė, Rasa Nainienė, Urtė Pelenė, Laura Šakarnytė and Artūras Šiukščius
Animals 2026, 16(5), 810; https://doi.org/10.3390/ani16050810 - 5 Mar 2026
Viewed by 132
Abstract
The bovine uterus, once considered sterile, is now recognized as a dynamic microbial ecosystem that undergoes substantial changes during the postpartum period and plays a critical role in reproductive health. This study investigated the composition and temporal dynamics of the uterine bacterial and [...] Read more.
The bovine uterus, once considered sterile, is now recognized as a dynamic microbial ecosystem that undergoes substantial changes during the postpartum period and plays a critical role in reproductive health. This study investigated the composition and temporal dynamics of the uterine bacterial and fungal microbiota in postpartum Angus cows and showed that dietary grape pomace bolus supplementation was associated with temporal shifts in microbial community composition, including changes in selected bacterial taxa and increased fungal community stability. A total of 19 cows were allocated to control (n = 10) or treatment groups (n = 9), with treated animals receiving slow-release grape pomace boluses administered every three weeks from 21 days prepartum until 60–70 days postpartum. Uterine lavage samples were collected during the first (days 4–12) and ninth (days 63–70) postpartum weeks and analyzed using amplicon-based sequencing targeting the bacterial 16S rRNA (V3–V4) region and the fungal ITS2 region. The uterine microbiota exhibited pronounced temporal changes, with Firmicutes predominating in the early postpartum period and an increased abundance of potentially pathogenic Fusobacteria and Bacteroidetes observed by week nine postpartum, particularly in control cows. Grape pomace supplementation was associated with a more favorable bacterial profile, including a reduced relative abundance of key uterine pathogens such as Fusobacterium necrophorum and Trueperella pyogenes. The uterine mycobiome was dominated by Ascomycota across all groups; however, supplemented cows showed greater fungal community stability and a lower prevalence of opportunistic genera, including Candida spp. In conclusion, dietary grape pomace supplementation may beneficially modulate both bacterial and fungal uterine microbiota during the postpartum period, suggesting its potential as a natural strategy to support uterine microbial homeostasis and reproductive health in beef cows. Full article
Show Figures

Figure 1

17 pages, 373 KB  
Article
Performance-Based and Self-Reported Frailty in Older Adults with or Without Fibromyalgia
by Dylan G. Serpas, Jordan K. Aquino, Laura Zettel-Watson and Barbara J. Cherry
Eur. J. Investig. Health Psychol. Educ. 2026, 16(3), 36; https://doi.org/10.3390/ejihpe16030036 - 4 Mar 2026
Viewed by 262
Abstract
Background: Fibromyalgia (FM) is a chronic widespread pain condition implicated in accelerated aging, functional decline, and physical frailty. Objective: This study examined differences in performance-based and self-reported physical frailty phenotypes among middle-aged and older adults with and without FM. Materials and Methods: A [...] Read more.
Background: Fibromyalgia (FM) is a chronic widespread pain condition implicated in accelerated aging, functional decline, and physical frailty. Objective: This study examined differences in performance-based and self-reported physical frailty phenotypes among middle-aged and older adults with and without FM. Materials and Methods: A cross-sectional sample of 234 community-dwelling middle-aged and older adults with (59.0%) or without FM was analyzed. Physical frailty was defined as weakness, low physical activity, exhaustion, and slowness, assessed using validated performance-based (Fullerton Advanced Balance Scale [FAB], 8-foot up and go test [8FUPGT], 30-second chair stand [30SCS], 6-minute walk [6MWT], 30-foot walk [30FW]) and self-report measures (Rapid Assessment of Physical Activity [RAPA], fatigue numeric rating scale). Principal component analysis (PCA) evaluated the underlying structure of physical frailty indicators, yielding performance-based and self-reported components. Standardized factor scores were used as outcomes in regression analyses examining associations with pain intensity. Results: PCA supported a two-component frailty structure explaining 61% of the variance. After adjusting for age, gender, depressive symptoms, and body mass index, greater pain intensity was associated with worse performance-based (B = −0.10, p < 0.001; adjusted R2 = 0.36) and self-reported (B = −0.10, p < 0.001; adjusted R2 = 0.39) frailty. Discussion: Findings suggest that pain intensity is associated with frailty risk among aging adults, supporting the clinical utility of both performance-based and self-reported physical frailty assessments in FM. Full article
14 pages, 3050 KB  
Article
Lateralization of FDG-PET Hypometabolism Using Resting-State fMRI in Temporal Lobe Epilepsy: A Simultaneous PET-MRI Study
by Daniel Uher, Gerhard S. Drenthen, Tineke van de Weijer, Jochem van der Pol, Christianne M. Hoeberigs, Paul A. M. Hofman, Sam Springer, Rob P. W. Rouhl, Albert J. Colon, Olaf E. M. G. Schijns, Walter H. Backes and Jacobus F. A. Jansen
Tomography 2026, 12(3), 30; https://doi.org/10.3390/tomography12030030 - 2 Mar 2026
Viewed by 191
Abstract
Background: In temporal lobe epilepsy (TLE), locally reduced glucose metabolism (i.e., hypometabolism) is indicative of the epileptogenic onset zone (EZ). Here, we investigate the potential value of resting-state fMRI (rs-fMRI) for localizing the EZ with fluorodeoxyglucose positron emission tomography (FDG-PET) as ground truth. [...] Read more.
Background: In temporal lobe epilepsy (TLE), locally reduced glucose metabolism (i.e., hypometabolism) is indicative of the epileptogenic onset zone (EZ). Here, we investigate the potential value of resting-state fMRI (rs-fMRI) for localizing the EZ with fluorodeoxyglucose positron emission tomography (FDG-PET) as ground truth. Methods: Twelve PET-positive patients (34.1 ± 13.1 y; 5 females) with unilateral drug-resistant TLE were included. FDG-PET and rs-fMRI were acquired simultaneously at a hybrid 3T PET-MR scanner. Hypometabolic regions were identified on the FDG-PET images by a nuclear medicine expert. The FDG-PET images were compared with a clinical FDG-PET control dataset with normal glucose uptake distribution. The output z-score maps were thresholded at z < −2 to produce a binary mask of the significantly hypometabolic regions. The hypometabolism masks were mirrored onto the contralateral hemisphere for the asymmetry comparison. Regional homogeneity (ReHo), amplitude of low-frequency fluctuations (ALFF), and fractional ALFF (fALFF) were calculated from the rs-fMRI in conventional (0.01–0.1 Hz) and slow-3 (0.073–0.198 Hz) frequency bands. Asymmetry indices (AIs) were calculated using the ipsilateral and contralateral hypometabolic masks in the PET-positive subjects and assessed via the one-sample Wilcoxon test and Spearman correlation coefficients. Results: The AIs of conventional fALFF were significantly lower in the hypometabolic zone (p < 0.05). A significant negative correlation was found between the AIs of FDG-PET and fALFF in the slow-3 band (r = −0.62; p < 0.05). Conclusions: Conventional and slow-3 band fALFF showed a potential to mimic the FDG-PET findings in terms of EZ localization. Further research with extended cohorts and histopathological validation is required to determine the clinical value. Full article
(This article belongs to the Section Neuroimaging)
Show Figures

Figure 1

16 pages, 1714 KB  
Article
Pyrolysis of Recycled LLDPE/LDPE Polymer Blend: Optimization of Process Parameters for High Yield of Wax
by Oluwatobi Elijah Akindele, Jinfeng Zhang, Yuxin Liu and Uttandaraman Sundararaj
Recycling 2026, 11(3), 44; https://doi.org/10.3390/recycling11030044 - 1 Mar 2026
Viewed by 292
Abstract
This study evaluates the pyrolysis of recycled linear low-density and low-density polyethylene (rLLDPE/rLDPE) blends for producing wax suitable as a precursor for corrosion-resistant coatings. Experiments were performed in a horizontal quartz tubular reactor under argon, and we investigated different pyrolysis temperature (400, 450, [...] Read more.
This study evaluates the pyrolysis of recycled linear low-density and low-density polyethylene (rLLDPE/rLDPE) blends for producing wax suitable as a precursor for corrosion-resistant coatings. Experiments were performed in a horizontal quartz tubular reactor under argon, and we investigated different pyrolysis temperature (400, 450, 500 °C), residence time (45, 60, 75 min), and heating rate (3, 5, 10 °C min−1). Factorial design and response surface methodology (RSM) were applied to quantify factors and optimize wax yield. Analysis of Variance (ANOVA) indicated statistically significant models (p < 0.05), with heating rate having the highest standardized effect. The highest measured yield was 82% at 400 °C, 75 min, and 3 °C min−1; the DOE optimizer predicted an 84% yield at 400 °C, 45 min, and 3 °C min−1. Product quality was assessed by GC-MS analysis, which showed that the waxes were predominantly composed of 1-alkenes and n-alkanes (C9–C32), consistent with the literature and closely matching compositions of commercial waxes. Overall, slow heating at low temperature with short residence time maximized wax yield without compromising quality, confirming that pyrolysis of recycled PE is a viable route to produce high-yield, specification-consistent waxes suitable for protective coating applications. Full article
Show Figures

Graphical abstract

22 pages, 14608 KB  
Article
Improving Saline–Alkali Soils Through Organic Inputs: Ecological Pathways Shaping Microbial Community Assembly and Function
by Minglong Sun, Tie Li, Dongmei Li, Bo Qin, Yuanling Zhao and Xin Li
Agronomy 2026, 16(5), 531; https://doi.org/10.3390/agronomy16050531 - 28 Feb 2026
Viewed by 280
Abstract
Soil salinization remains a major global challenge, and rice cultivation has been widely practiced in saline–alkali soils of the black soil region in Northeast China as an effective strategy for soil improvement. However, this practice is often slow to produce benefits and is [...] Read more.
Soil salinization remains a major global challenge, and rice cultivation has been widely practiced in saline–alkali soils of the black soil region in Northeast China as an effective strategy for soil improvement. However, this practice is often slow to produce benefits and is prone to secondary salinization, limiting rapid gains in soil fertility and crop productivity. To address these limitations, this study evaluated the effects of four soil amendment strategies (microbial inoculant, organic fertilizer, biochar, and their combined application) on bacterial and fungal communities, as assessed by high-throughput sequencing of the 16S rRNA gene and the ITS region, respectively. The application of microbial inoculants significantly increased bacterial diversity and richness, while all amendment treatments promoted the enrichment of key microbial groups. Organic inputs strongly influenced microbial community assembly, with microbial inoculant and combined treatments shifting assembly toward more deterministic processes. In addition, the amendments altered microbial interaction networks, leading to widespread cooperative relationships dominated by positive associations and strong interactions across taxonomic groups. Notably, the combined treatment reshaped bacterial functional profiles and reduced the predicted abundance of pathogenic fungi. Overall, these results demonstrate that organic amelioration strategies can improve the ecological functioning of saline–alkali soils by regulating microbial community assembly and interactions. This study provides a robust theoretical framework and scalable practical solutions for the integrated management and sustainable development of saline–alkali agriculture. Full article
Show Figures

Figure 1

18 pages, 1867 KB  
Communication
A Novel Competing Endogenous RNA Linked to Dysregulated Neuroinflammation in Alzheimer’s Disease
by Dinesh Devadoss, Juliet Akkaoui, Natalia Orso, Thiruselvam Viswanathan, Glen M. Borchert, Madepalli K. Lakshmana and Hitendra S. Chand
Cells 2026, 15(5), 412; https://doi.org/10.3390/cells15050412 - 27 Feb 2026
Viewed by 353
Abstract
Alzheimer’s disease (AD) is an aging-associated neurodegenerative disorder in which dysregulated neuroinflammation drives disease progression. Although long noncoding RNAs (lncRNAs) are increasingly implicated in AD, their mechanistic roles remain poorly defined. Here, we identified a novel lncRNA termed LIMASI (LncRNA Inflammation and Mucous [...] Read more.
Alzheimer’s disease (AD) is an aging-associated neurodegenerative disorder in which dysregulated neuroinflammation drives disease progression. Although long noncoding RNAs (lncRNAs) are increasingly implicated in AD, their mechanistic roles remain poorly defined. Here, we identified a novel lncRNA termed LIMASI (LncRNA Inflammation and Mucous associated, Antisense to ICAM1), that is linked with AD-associated neuroinflammation. LIMASI expression is significantly elevated in postmortem AD brain tissues and in a 3xTg-AD mouse model by qPCR and RNA fluorescence in situ hybridization, and its upregulation is correlated with increased β-amyloid plaque burden, tau hyperphosphorylation, and heightened neuroinflammatory activation. Cell type-specific analyses demonstrated inflammation-inducible LIMASI expression in astrocytes and microglia. In an in vitro model of AD-associated neuroinflammation, viral mimetic poly(I:C) challenge of amyloid precursor protein (APP)-overexpressing neuroblastoma cells elicited coordinated induction of LIMASI and key inflammatory mediators. Mechanistically, we observed elevated levels of inflammatory microRNAs (miR-155-5p and miR-150-5p) in AD brain tissues, and computational modeling predicted energetically favorable interactions between these miRNAs and LIMASI. These findings support a competing endogenous RNA (ceRNA) model in which LIMASI sequesters pro-inflammatory miRNAs to modulate neuroinflammatory gene networks. Together, our data identify LIMASI as a putative ceRNA strongly associated with AD-related neuroinflammation and suggest that targeting LIMASI may represent a novel strategy to attenuate neuroinflammatory signaling and potentially slow AD-associated neurodegeneration. Full article
(This article belongs to the Collection Molecular Insights into Neurodegenerative Diseases)
Show Figures

Figure 1

12 pages, 1072 KB  
Article
Peripheral Sensory Stimulation for Long-Term Improvement in Mild Cognitive Decline: A Prospective Interventional Study
by Tom Zhang, Fei Sun, Andre Stang and George Ayoub
Brain Sci. 2026, 16(3), 265; https://doi.org/10.3390/brainsci16030265 - 27 Feb 2026
Viewed by 305
Abstract
Background: Despite recent breakthroughs in pharmacological treatment for Alzheimer’s disease, high costs and the complex procedure to monitor safety have limited access for many patients. Less invasive and more accessible non-pharmacological therapies that support neuroplasticity and slow cognitive decline are needed. Processing Inner [...] Read more.
Background: Despite recent breakthroughs in pharmacological treatment for Alzheimer’s disease, high costs and the complex procedure to monitor safety have limited access for many patients. Less invasive and more accessible non-pharmacological therapies that support neuroplasticity and slow cognitive decline are needed. Processing Inner Strength Toward Actualization (PISTA) stimulation applies structured tactile input to promote cortical–subcortical activation. This study evaluated the long-term effects of PISTA on cognition and pain in older adults with mild cognitive impairment or early dementia. Methods: This single-arm, prospective trial enrolled 100 outpatients aged 47–70 years at outset (50 women, 50 men) with no control group. Participants received clinician-supervised PISTA stimulation three times weekly for 48 months. Each 30 min session delivered rhythmic tactile input calibrated to individual sensory thresholds. Cognitive performance was assessed monthly using the Mini-Mental State Examination (MMSE). Perceived pain was measured monthly with the Numeric Pain Rating Scale. Outcomes were analyzed using ANCOVA, adjusting for age, sex, and baseline cognitive status. Results: Cognitive scores improved significantly across all age strata, with a mean annual MMSE increase of 0.75 points (95% CI: 0.26–1.21; p < 0.0025). Pain intensity decreased in parallel (mean reduction: 0.56 points; 95% CI: 0.34–0.78; p < 0.001). Improvements in cognition and pain were moderately correlated (r = 0.38). The greatest combined benefits occurred in participants aged 55–62 years. No serious adverse events were observed during the 48-month trial. Conclusions: PISTA stimulation produced sustained improvement in cognition and reduced perceived pain, supporting its promising role as a safe, non-invasive adjunct for neurodegenerative cognitive decline. These findings suggest peripheral sensory activation as a promising driver of functional neuroplasticity and warrant verification in randomized, controlled trials. Full article
Show Figures

Graphical abstract

25 pages, 6045 KB  
Article
Data-Driven Remaining Useful Life Prediction for Pt–Rh Thermocouples Using an Extended Kalman Filter
by Na Li, Siyang Dai, Yi Liu, Yunlong Zhu, Jitao Li and Xiaojin Huang
Sensors 2026, 26(5), 1483; https://doi.org/10.3390/s26051483 - 26 Feb 2026
Viewed by 283
Abstract
Platinum (Pt)–Rhodium (Rh) thermocouples are widely used in industrial processes such as chemical and nuclear power production, serving as one of the most common temperature measuring instruments and playing a vital role in real-time condition monitoring. However, the measurement accuracy can be affected [...] Read more.
Platinum (Pt)–Rhodium (Rh) thermocouples are widely used in industrial processes such as chemical and nuclear power production, serving as one of the most common temperature measuring instruments and playing a vital role in real-time condition monitoring. However, the measurement accuracy can be affected by harsh high-temperature operating environments, which may cause measurement drift or even functional failure. To address this challenge, and considering the very slow drift of Pt–Rh thermocouples over long time scales, a back-propagation neural network (BPNN) is introduced to compensate for the nonlinear error introduced by the linearization step of the extended Kalman filter (EKF). This combined algorithm enhances the accuracy of remaining useful life (RUL) prediction for Pt–Rh thermocouples. First, based on the Seebeck effect and vapor-transport theory, a degradation model for Pt–Rh thermocouples operating at high temperatures was developed. The simulation results of the degradation model align with laboratory degradation test data, confirming the validity of the model. Subsequently, the improved RUL prediction algorithm was compared with other methods. The results show that the EKF–BPNN hybrid approach provides better prediction accuracy for objects with slow degradation and weak nonlinearity, with MAE 0.0016%, RMSE 0.0019%, MAPE 0.039%, R2 0.9833, respectively. Algorithms with strong nonlinear estimation capability introduce larger errors and are not suited for RUL prediction of Pt–Rh thermocouples. Therefore, the proposed hybrid EKF–BPNN algorithm is optimal for RUL prediction of Pt–Rh thermocouples degrading under high temperature conditions. Full article
(This article belongs to the Section Industrial Sensors)
Show Figures

Figure 1

20 pages, 5469 KB  
Article
The Effect of Electronic and Optical Properties on the Kinetic Photocatalytic Model of Methyl Blue Degradation
by Marco Antonio Alvarez-Amparán, Uriel Chacon-Argaez and Luis Cedeño-Caero
Molecules 2026, 31(5), 782; https://doi.org/10.3390/molecules31050782 - 26 Feb 2026
Viewed by 205
Abstract
The photocatalytic activity as a function of effective irradiance, photocatalytic quantum yield and reactant coverage was thoroughly assessed for the proper photoreactor (PhR) selection. The emitted wavelength and effective irradiance of several PhRs, equipped with fluorescent and light-emitting diode (LED) lamps, were tested [...] Read more.
The photocatalytic activity as a function of effective irradiance, photocatalytic quantum yield and reactant coverage was thoroughly assessed for the proper photoreactor (PhR) selection. The emitted wavelength and effective irradiance of several PhRs, equipped with fluorescent and light-emitting diode (LED) lamps, were tested in the photodegradation of methylene blue (MB) in the solid phase using an AgTiO2 photocatalyst. Among all tested PhRs, the one equipped with the low-pressure Hg lamp enhanced the photodegradation of MB, as the Hg lamp emitted UV-type radiation, which promotes the simultaneous photoactivation of the TiO2 and the surface plasmon resonance phenomenon of the Ag nanoparticles. It was determined that high values of effective irradiance promoted photocatalytic activity because of the greater amount of photogenerated species [e/h+]. Also, it was determined that the effective irradiance used in the photocatalytic process slows down the recombination rate of the [e/h+] into photocatalytic material. A kinetic photocatalytic model (KPM) was proposed to describe photocatalytic reactions as a function of effective irradiance, photocatalytic quantum yield and reactant coverage, considering photocatalytic pseudo-steady state according to the reactant equilibrium coverage (Langmuir isotherm) and the transfer processes of the photoinduced charge carrier species. Full article
(This article belongs to the Special Issue Photocatalytic Materials and Photocatalytic Reactions, 2nd Edition)
Show Figures

Graphical abstract

14 pages, 11153 KB  
Article
Photoluminescence of Rhodamine from Nano-Confinement Inside 3D Sculptured Coatings
by Lina Grineviciute, Hsin-Hui Huang, Haoran Mu, William McMahon-Puce, James W. M. Chon, Saulius Juodkazis and Andrew H. A. Clayton
Nanomaterials 2026, 16(5), 296; https://doi.org/10.3390/nano16050296 - 26 Feb 2026
Viewed by 256
Abstract
The effect of the confinement of fluorophores (rhodamine 6G) in nano-cavities of porous 3D sculptured coatings made by glancing-angle deposition (GLAD) was investigated by fluorescence-lifetime imaging microscopy (FLIM). Shortening of fluorescence/ photoluminescence lifetime by ∼10% was observed from the dye-permeated (in liquid) structure; [...] Read more.
The effect of the confinement of fluorophores (rhodamine 6G) in nano-cavities of porous 3D sculptured coatings made by glancing-angle deposition (GLAD) was investigated by fluorescence-lifetime imaging microscopy (FLIM). Shortening of fluorescence/ photoluminescence lifetime by ∼10% was observed from the dye-permeated (in liquid) structure; however, there was no rotational hindrance of dye molecules. When dried, a strong rotational hindrance 89% was observed for the orientation along the ordinary optical axis (slow-axis), and the hindrance was smaller than 57% for the extraordinary direction (fast axis). Light-intensity distribution inside the nano-structure with a form birefringence was numerically modeled using plane-wave illumination and a dipole source. Nanoscale localization of light intensity due to dipole nature I1/radius6 and boundary conditions for E-field allows efficient energy deposition inside the region of lower refractive index (nanogaps). Full article
(This article belongs to the Section Nanophotonics Materials and Devices)
Show Figures

Figure 1

32 pages, 6293 KB  
Article
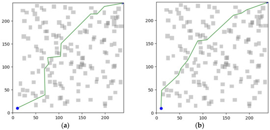
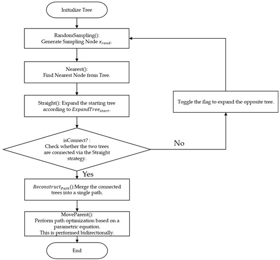
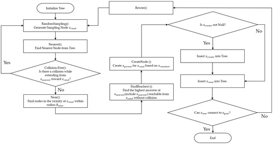
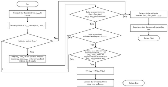
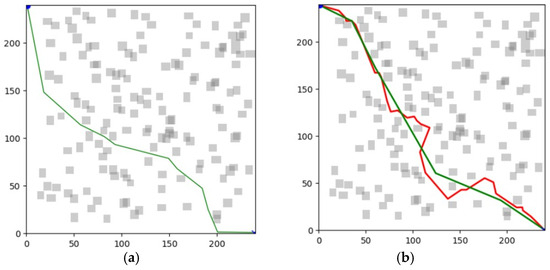
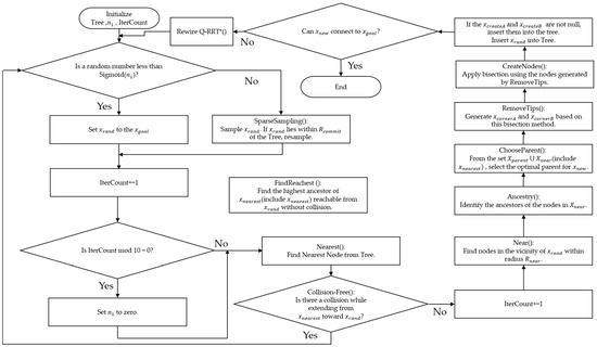
Fast Path-Planning Algorithm for Mobile Robots via Straight Strategy
by Jihong Jeong and Jin-Woo Jung
Appl. Sci. 2026, 16(4), 1952; https://doi.org/10.3390/app16041952 - 15 Feb 2026
Viewed by 343
Abstract
RRT*, which augments the RRT with the ChooseParent and Rewire steps, is a widely used algorithm for path planning. RRT*-based algorithms are effective for improving the quality of paths in the Rewire [...] Read more.
RRT*, which augments the RRT with the ChooseParent and Rewire steps, is a widely used algorithm for path planning. RRT*-based algorithms are effective for improving the quality of paths in the Rewire step. However, as the expansion continues, there are more nodes to be inspected, which can slow down the path search. In addition, due to the parameters set in the rewire step, a trade-off issue between path quality and planning time arises. In this paper, we propose Straight-RRT to improve upon these limitations. Straight-RRT applies the Straight strategy to rapidly obtain an initial path and then returns a refined path using the MoveParent strategies. Accordingly, Straight-RRT adopts the following mechanisms. (1) The Straight strategy is applied for rapidly finding an initial path. This procedure quickly finds a feasible initial path. (2) MoveParent is a strategy inspired by parametric equations for path optimization. This complements the weaknesses of the Straight strategy and the limitations of the triangle inequality. The MoveParent strategy is applied bidirectionally. These procedures progressively refine the path and improve efficiency. We propose an algorithm that is faster than other algorithms using these strategies and minimizes the trade-off caused by parameter settings. In the experimental comparison results across most environments, our approach achieved shorter planning times than the compared baseline algorithms and produced paths of comparable quality. Full article
(This article belongs to the Section Robotics and Automation)
Show Figures

Figure 1

Back to TopTop