Fast Path-Planning Algorithm for Mobile Robots via Straight Strategy
Abstract
1. Introduction
2. Related Works
3. Overview of Comparator Algorithms
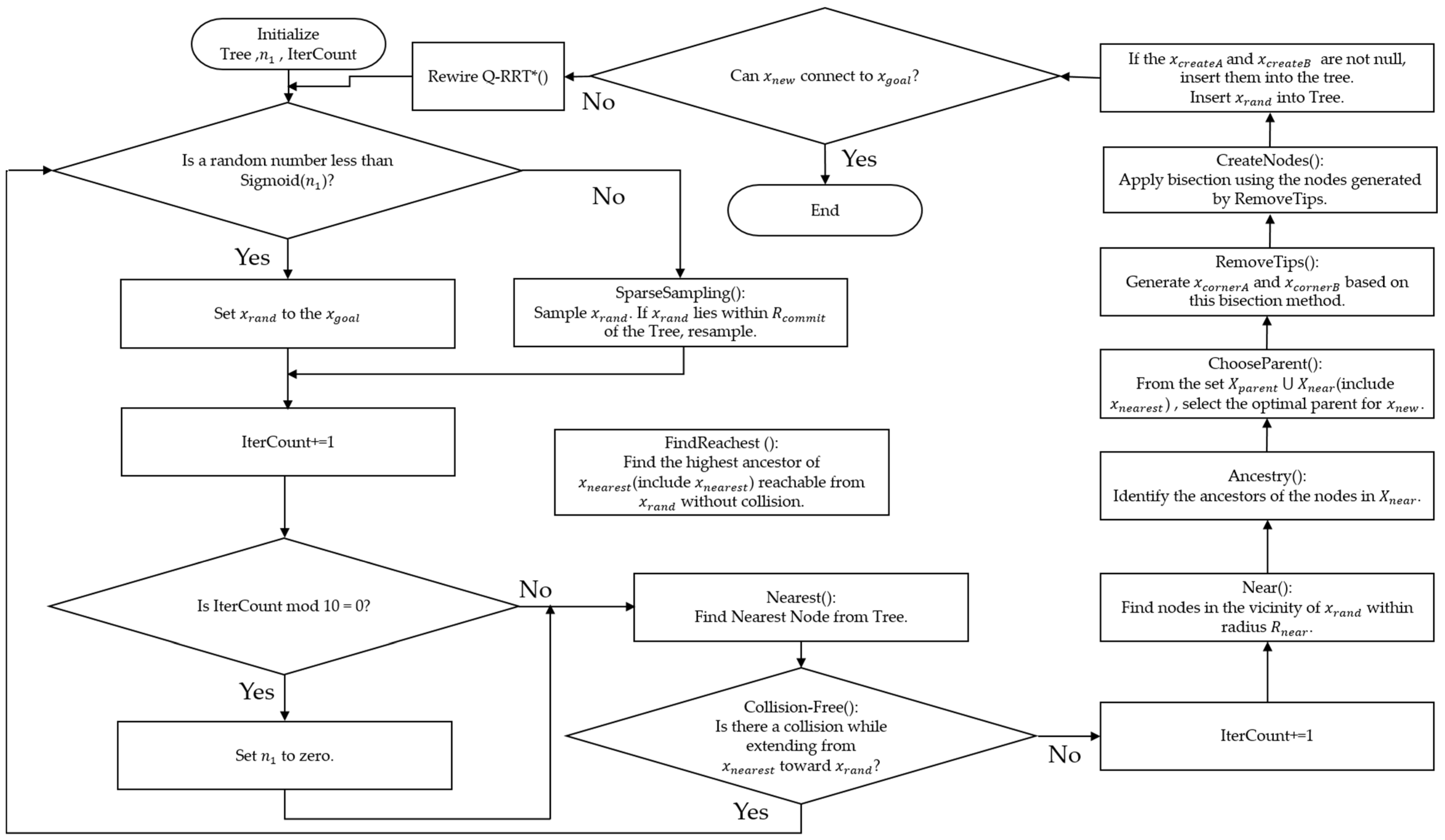
3.1. Q-RRT*
| Algorithm 1. Pseudocode of the Q-RRT* algorithm. |
| Input: Output: Tree Initialize: Begin Q-RRT* Procedure 1 Insert Root Node do RandomSampling() Nearest() Steer() 6 If CollisionFree then 7 Near() 8 Ancestry() 9 ChooseParent 10 Connect(Tree,) 11 Rewire-Q-RRT*(Tree, ) 12 If Distance then 13 Return Tree 14 End Q-RRT* |
| Algorithm 2. Pseudocode of the Rewire-Q-RRT*. |
| Input: Tree, Output: Tree Begin Rewire-Q-RRT* Procedure 2 then 3 then 4 5 Return Tree End Rewire-Q-RRT* from Q-RRT* |
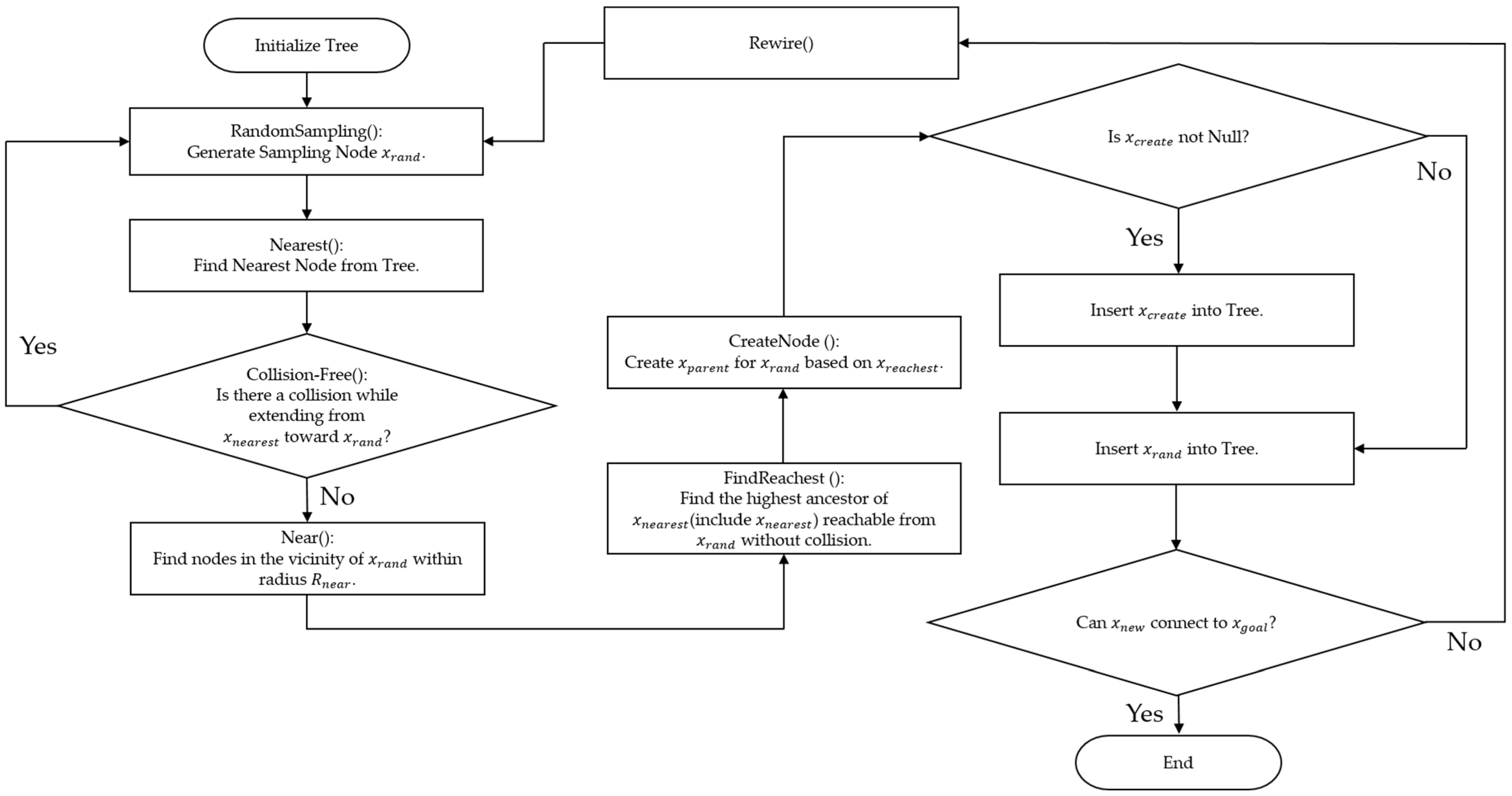
3.2. F-RRT*
| Algorithm 3. Pseudocode of the F-RRT* algorithm. |
| Input: Output: Tree Initialize: , Begin F-RRT* Procedure do ← then is not Null then 11 Else then 14 Return Tree ) 16 End F-RRT* |
| Algorithm 4. Pseudocode of the CreateNode. |
| Input: Output: Begin CreateNode Procedure then 4 While do then 8 Else do then 15 Else then 19 Else End CreateNode |
3.3. MQ-RRT*
| Algorithm 5. Pseudocode of the MQ-RRT*. |
| Input: Output: Tree Initialize: Begin MQ-RRT* Procedure 2 do 3 then 4 5 Else 6 7 8 then 9 10 11 then 12 13 14 15 16 17 18 then 19 20 21 22 Else 23 24 then 25 Return Tree 26 Else 27 Tree ← 28 End MQ-RRT* |
4. Proposed Algorithm: Straight-RRT
| Algorithm 6. Pseudocode of the Straight-RRT algorithm. |
| Input: Output: ← Result of Algorithm Initialize: ← Null Tree ← Null Tree ← True Begin Straight RRT Procedure ← Insert Root Node ← Insert Root Node do ← RandomSampling() then ← Nearest(,) 7 Else ← Nearest(, ) isConnect ← Straight(, , , ) 10 If isConnect then 12 MoveParent(Path, ) 13 Path ← Path.Reverse() 14 MoveParent(Path, ) 15 Path ← Path.Reverse() 16 Return Path 17 ← 18 19 End While End Straight RRT |
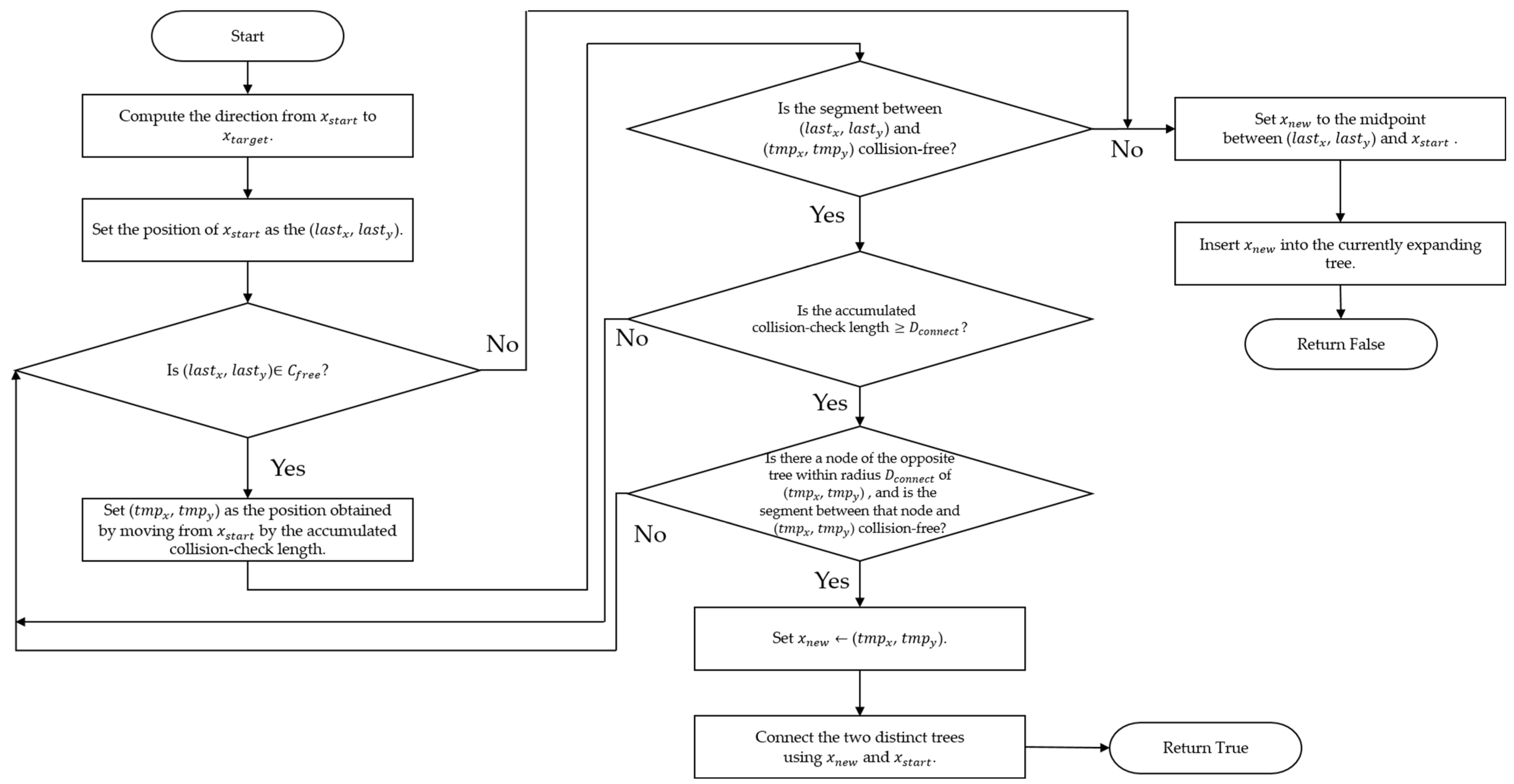
| Algorithm 7. Pseudocode of Straight. |
| Input: Output: Initialize: distance ← 0 Begin Straight Procedure 1 do then 8 Break then then is not Null then then 16 Return True 17 Else is not Null then then 23 Return True 24 End While 25 26 27 28 then 29 30 Else 31 32 Return False End Straight |
| Algorithm 8. Pseudocode of the MoveParent. |
| Input: , Output: Initialize: ← [·] i ← 0 ← isTZero False //If the path is improved at t = 0.0, it is set to True. Begin .add(Path[0]) 2 While i < (n − 2) do 3 a ← Path[i+2] 4 b ← Path[i+1] 5 c ← [−1] //The value −1 indicates the last index. 6 (, isTZero) 7 If isTZero then 8 i ← i+1 9 Continue 10 .add() 11 i ← i+1 12 End While 13 .add(Path[−1]) //The value −1 indicates the last index. End MoveParent |
4.1. Straight Strategy
4.2. MoveParent Strategy
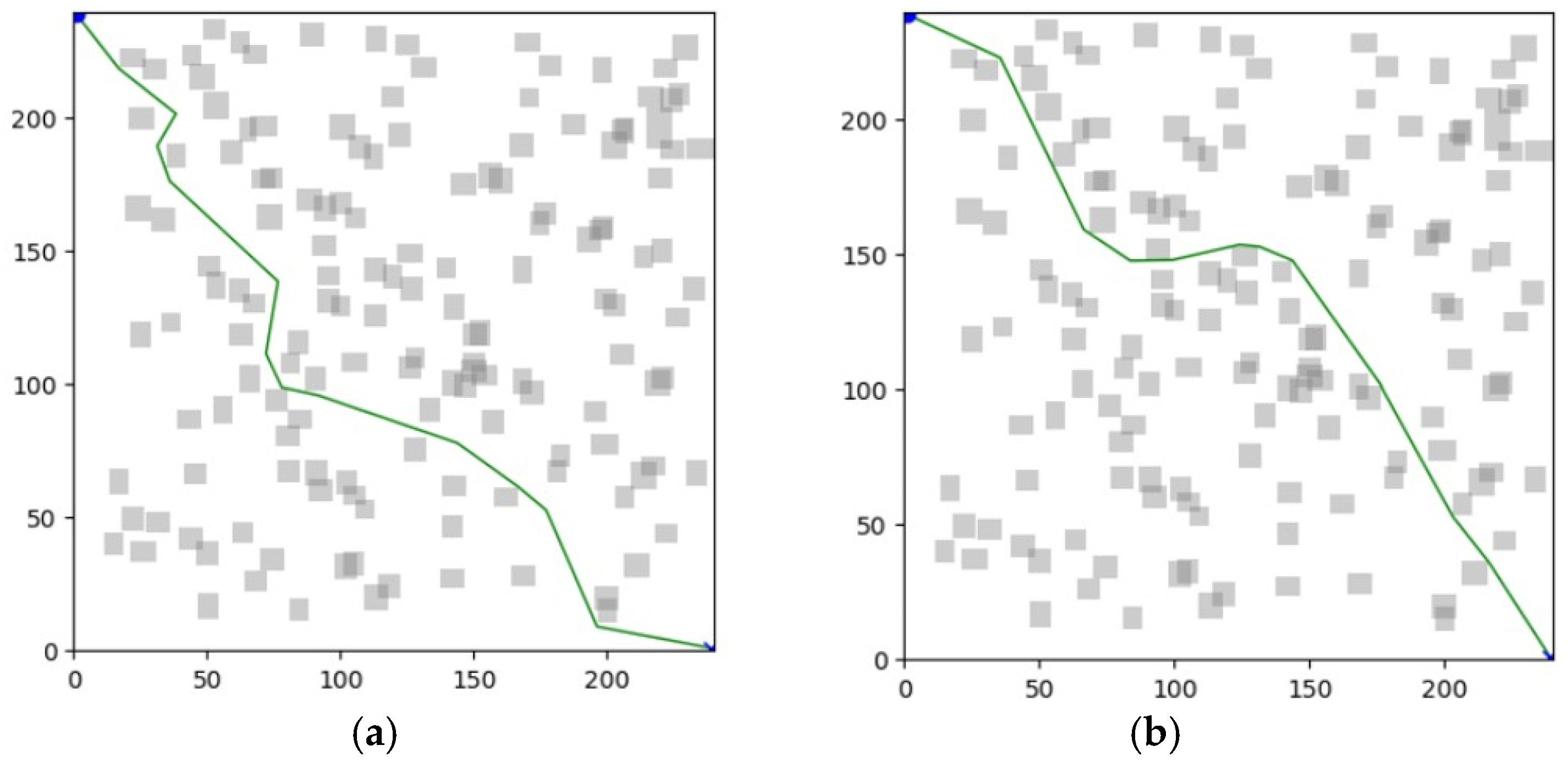
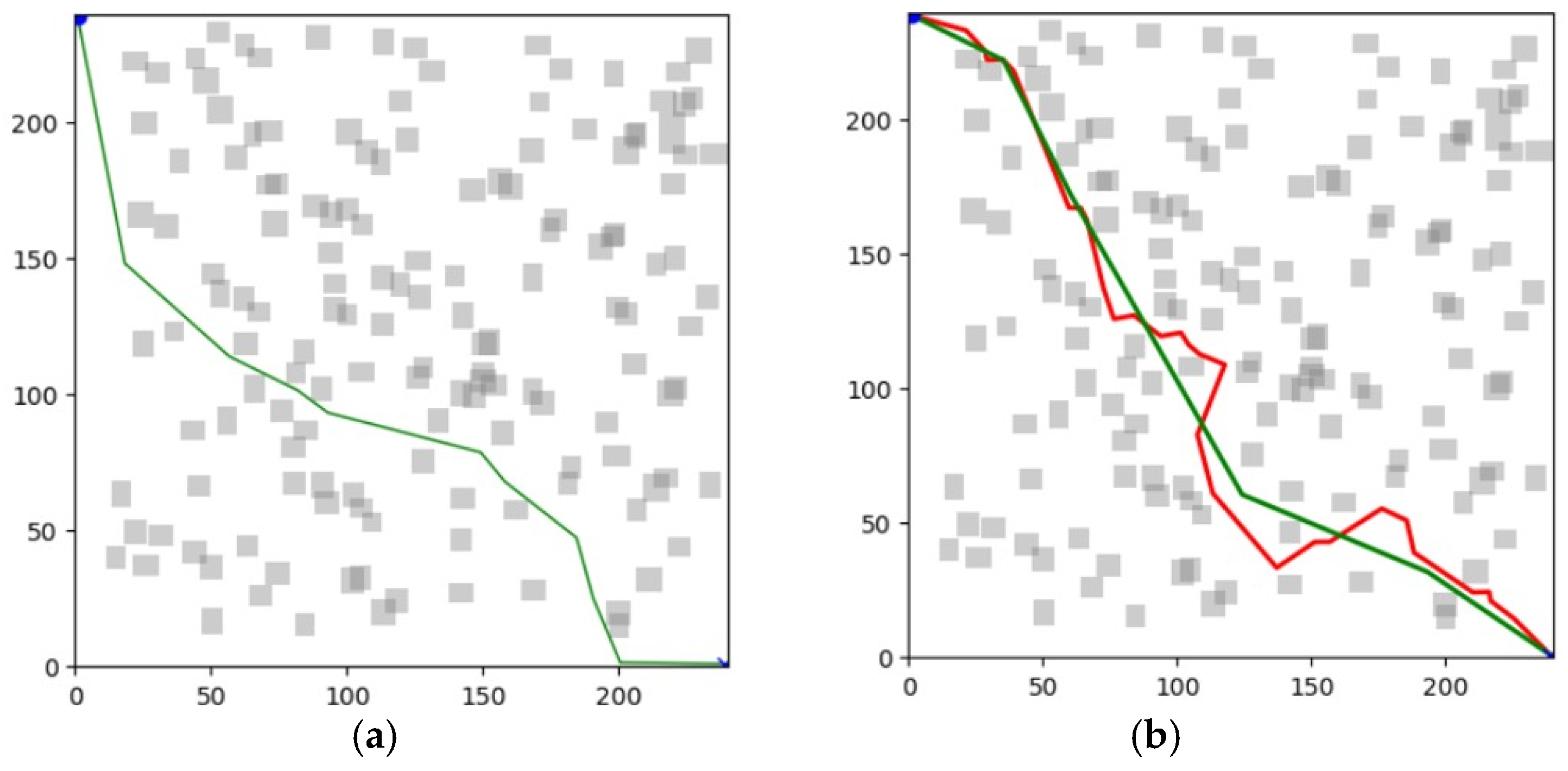
5. Experimental Results
5.1. Experimental Results on Map 1
5.2. Experimental Results on Map 2
5.3. Experimental Results on Map 3
5.4. Experiment on Candidate Positions of path[i+1] by t Increment
6. Conclusions
Author Contributions
Funding
Institutional Review Board Statement
Informed Consent Statement
Data Availability Statement
Conflicts of Interest
References
- Gao, H.; Liu, D.; Hu, J. A Survey on Path Planning for Mobile Robot Systems. In Proceedings of the 2023 IEEE 12th Data Driven Control and Learning Systems Conference (DDCLS), Xiangtan, China, 12–14 May 2023; pp. 1176–1181. [Google Scholar]
- Xu, T. Recent Advances in Rapidly-Exploring Random Tree: A Review. Heliyon 2024, 10, e32451. [Google Scholar] [CrossRef]
- LaValle, S.M. Rapidly-Exploring Random Trees: A New Tool for Path Planning; Springer: London, UK, 1998. [Google Scholar]
- Kuffner, J.J., Jr.; LaValle, S.M. RRT-Connect: An Efficient Approach to Single-Query Path Planning. In Proceedings of the IEEE International Conference on Robotics and Automation, San Francisco, CA, USA, 24–28 April 2000; Volume 2, pp. 995–1001. [Google Scholar]
- Ferguson, D.; Stentz, A. Anytime RRTs. In Proceedings of the 2006 IEEE/RSJ International Conference on Intelligent Robots and Systems (IROS), Beijing, China, 9–15 October 2006; pp. 5369–5375. [Google Scholar]
- Gao, J.; Zhang, M. Rapidly Exploring Random Tree-Back (RRT-Back). In Proceedings of the 2025 International Conference on Artificial Life and Robotics (ICAROB 2025), Oita, Japan, 13–16 February 2025; Volume 30, pp. 83–86. [Google Scholar]
- Karaman, S.; Frazzoli, E. Sampling-Based Algorithms for Optimal Motion Planning. Int. J. Robot. Res. 2011, 30, 846–894. [Google Scholar] [CrossRef]
- Naderi, K.; Rajamäki, J.; Hämäläinen, P. RT-RRT*: A Real-Time Path Planning Algorithm Based on RRT*. In Proceedings of the 8th ACM SIGGRAPH Conference on Motion in Games (MIG ’15), Paris, France, 16–18 November 2015; pp. 113–118. [Google Scholar]
- Armstrong, D.; Jonasson, A. AM-RRT*: Informed Sampling-Based Planning with Assisting Metric. In Proceedings of the 2021 IEEE International Conference on Robotics and Automation (ICRA), Xi’an, China, 30 May–5 June 2021; pp. 10093–10099. [Google Scholar]
- Li, W.; Wang, C. Fast AM-RRT*: A Fast and Efficient Path Planning Algorithm Based on AM-RRT* in Complex Environments. In Proceedings of the 2024 International Conference on Virtual Reality and Visualization (ICVRV), Macao SAR, China, 18–20 October 2024; pp. 94–99. [Google Scholar]
- Viseras, A.; Losada, R.O.; Merino, L. Planning with Ants: Efficient Path Planning with Rapidly Exploring Random Trees and Ant Colony Optimization. Int. J. Adv. Robot. Syst. 2016, 13, 1729881416664078. [Google Scholar] [CrossRef]
- Wang, J.; Zheng, E. Path Planning of Mobile Robot Based on the Improved RRT-Connect Algorithm. In Proceedings of the 2024 3rd International Conference on Service Robotics (ICoSR), Hangzhou, China, 26–28 July 2024; pp. 34–38. [Google Scholar]
- Wen, J.; Zhang, Y.; Tian, J.; Chen, Q. An Improved RRT* Algorithm for Mobile Robot Path Planning. In Proceedings of the 2025 8th International Conference on Advanced Algorithms and Control Engineering (ICAACE), Shanghai, China, 21–23 March 2025; pp. 109–114. [Google Scholar]
- Coelho, F.O.; Carvalho, J.P.; Pinto, M.F.; Marcato, A.L. Direct-DRRT*: A RRT Improvement Proposal. In Proceedings of the 2018 13th APCA International Conference on Automatic Control and Soft Computing (CONTROLO), Ponta Delgada, Portugal, 4–6 June 2018; pp. 154–158. [Google Scholar]
- Lopes, M.S.; Silva, M.F.; de Souza, J.P.C.; Costa, P. Direct-Steered-DRRT*: A 3D RRT-Based Planner Improvement. In Proceedings of the 2024 IEEE International Conference on Autonomous Robot Systems and Competitions (ICARSC), Paredes de Coura, Portugal, 2–4 May 2024; pp. 100–105. [Google Scholar]
- Gammell, J.D.; Srinivasa, S.S.; Barfoot, T.D. Informed RRT*: Optimal Sampling based Path Planning Focused via Direct Sampling of an Admissible Ellipsoidal Heuristic. In Proceedings of the IEEE/RSJ International Conference on Intelligent Robots and Systems, Chicago, IL, USA, 14–18 September 2014; pp. 2997–3004. [Google Scholar]
- Nasir, J.; Islam, F.; Malik, U.; Ayaz, Y.; Hasan, O. RRT*-Smart: Rapid Convergence Implementation of RRT* towards Optimal Solution. Int. J. Adv. Robot. Syst. 2013, 10, 299. [Google Scholar] [CrossRef]
- Kang, J.-G.; Lim, D.-W.; Choi, Y.-S.; Jang, W.-J.; Jung, J.-W. Improved RRT-Connect Algorithm Based on Triangular Inequality for Robot Path Planning. Sensors 2021, 21, 333. [Google Scholar] [CrossRef]
- Jeong, I.-B.; Lee, S.-J.; Kim, J.-H. Quick-RRT*: Triangular inequality based implementation of RRT* with improved initial solution and convergence rate. Expert Syst. Appl. 2019, 123, 82–90. [Google Scholar] [CrossRef]
- Liao, B.; Wan, F.; Hua, Y.; Ma, R.; Zhu, S.; Qing, X. F-RRT*: An Improved Path Planning Algorithm with Improved Initial Solution and Convergence Rate. Expert Syst. Appl. 2021, 184, 115457. [Google Scholar] [CrossRef]
- Cui, X.; Wang, C.; Xiong, Y.; Mei, L.; Wu, S. More Quickly-RRT*: Improved Quick Rapidly-Exploring Random Tree Star Algorithm Based on Optimized Sampling Point with Better Initial Solution and Convergence Rate. Eng. Appl. Artif. Intell. 2024, 133, 108246. [Google Scholar] [CrossRef]
- Dong, X.; Wang, Y.; Fang, C.; Ran, K.; Liu, G. FHQ-RRT*: An Improved Path Planning Algorithm for Mobile Robots to Acquire High-Quality Paths Faster. Sensors 2025, 25, 2189. [Google Scholar] [CrossRef] [PubMed]
- Cong, J.; Hu, J.; Wang, Y.; Zhou, W. FF-RRT*: A Sampling-Improved Path Planning Algorithm for Mobile Robots against Concave Cavity Obstacle. Complex Intell. Syst. 2023, 9, 7249–7267. [Google Scholar] [CrossRef]
- Kang, J.-G.; Choi, Y.-S.; Jung, J.-W. A Method of Enhancing Rapidly-Exploring Random Tree Robot Path Planning Using Midpoint Interpolation. Appl. Sci. 2021, 11, 8483. [Google Scholar] [CrossRef]
- Kang, T.-W.; Kang, J.-G.; Jung, J.-W. A Bidirectional Interpolation Method for Post-Processing in Sampling-Based Robot Path Planning. Sensors 2021, 21, 7425. [Google Scholar] [CrossRef] [PubMed]































| Algorithms | Principle |
|---|---|
| RRT*–Smart | After finding an initial feasible path, the path is optimized using triangle inequality-based PathOptimization. Then, path optimization is carried out by repeatedly performing IntelligentSample using the nodes of the optimized path as biasing points. |
| Q-RRT* | We expand the parent candidate set beyond the RRT* near set () by including the ancestry of nearby vertices. This enables improved parent selection. The same expansion is applied to the rewiring. |
| F-RRT* | This algorithm is intended to reduce the impact of . For tree expansion, when adding , it introduces FindReachest (finding a reachable parent via ancestor search) instead of . In addition, it generates the parent of using a bisection-based CreateNode strategy. However, this process introduces an additional parameter, . |
| MQ-RRT* | Planning time performance was improved through sparse sampling and dynamic goal bias. A bisection-based CreateNode and RemoveTips were introduced to generate new parent nodes. As a result, the method reduces path cost and improves smoothness. However, an additional parameter is introduced, and performance varies depending on its value. |
| Straight-RRT (Proposed) | The Straight strategy does not use a rewiring process during the tree expansion stage, thereby generating an initial feasible path very quickly. This reduces dependence on nearby-neighbor search parameters, such as , which affect performance and computational cost in RRT*-based methods, and alleviates the issue that the computational burden increases over time due to repeated neighbor searches and collision checks. Subsequently, the MoveParent post-processing improves the path by reconstructing node connections using the principle of a parametric equation, effectively enhancing the path length. |
| Notation | Description |
|---|---|
| Start position | |
| Goal position | |
| The collision-free region of the configuration space with respect to the map. | |
| The obstacle region of the configuration space with respect to the map | |
| Limit path planning time | |
| Collision-check step size | |
| Randomly sampled configuration in the configuration space | |
| ) | |
| Rewiring radius | |
| Depth parameter when use in Q-RRT* | |
| Dichotomy parameter used in F-RRT* | |
| Sparse-sampling commit radius used in MQ-RRT* |
| Start 1 | Goal 1 | Start 2 | Goal 2 | |
|---|---|---|---|---|
| Map1 | (1, 239) | (239, 1) | (120, 239) | (229, 229) |
| Map2 | (150, 190) | (230, 150) | (150, 190) | (239, 239) |
| Map3 | (10, 10) | (239, 239) | (1, 239) | (239, 1) |
| Hardware | Specification |
|---|---|
| CPU | AMD Ryzen 7 3700X (8 cores, 3.60 GHz) |
| RAM | 32.0 GB |
| VGA | NVIDIA GeForce RTX 2070 SUPER (8 GB) |
| Q-RRT* | F-RRT* | MQ-RRT* | Proposed Algorithm | ||
|---|---|---|---|---|---|
| Case 1 (Start 1 to Goal 1) | Length of path (%) | 100 | 89.5748 | 108.0243 | 96.5402 |
| Planning time (%) | 100 | 57.3709 | 14.0567 | 12.4823 | |
| Cumulative heading change (%) | 100 | 90.4439 | 114.2131 | 85.389 | |
| Case 2 Start 2 to Goal 2 | Length of path (%) | 100 | 90.3169 | 103.5305 | 92.5256 |
| Planning time (%) | 100 | 55.1641 | 20.0516 | 7.6401 | |
| Cumulative heading change (%) | 100 | 79.7509 | 115.2701 | 72.7848 |
| Q-RRT* | F-RRT* | MQ-RRT* | Proposed Algorithm | ||
|---|---|---|---|---|---|
| Case 1 (Start 1 to Goal 1) | Length of path (px) | 730.53 (19.97) | 654.37 (1.30) | 789.15 (22.70) | 705.26 (21.38) |
| Planning time (s) | 63.11 (29.25) | 36.21 (11.30) | 8.87 (1.16) | 7.87 (2.74) | |
| Cumulative heading change (rad) | 17.82 (0.73) | 16.12 (0.13) | 20.3612 (1.96) | 15.22 (0.32) | |
| Case 2 Start 2 to Goal 2 | Length of path (px) | 421.98 (15.78) | 381.12 (1.23) | 436.88 (20.50) | 390.44 (11.57) |
| Planning time (s) | 30.19 (26.98) | 16.65 (9.81) | 6.05 (1.78) | 2.30 (1.20) | |
| Cumulative heading change (rad) | 8.5364 (0.66) | 6.80 (0.12) | 9.84 (1.35) | 6.21 (0.31) |
| Q-RRT* | F-RRT* | MQ-RRT* | Proposed Algorithm | ||
|---|---|---|---|---|---|
| Case 1 (Start 1 to Goal 1) | Length of path (%) | 100 | 96.8872 | 112.4546 | 103.8429 |
| Planning time (%) | 100 | 41.7648 | 3.4434 | 1.0969 | |
| Cumulative heading change (%) | 100 | 96.2589 | 112.4961 | 85.9243 | |
| Case 2 Start 2 to Goal 2 | Length of path (%) | 100 | 95.2605 | 101.2851 | 97.7381 |
| Planning time (%) | 100 | 89.7849 | 21.4039 | 4.9181 | |
| Cumulative heading change (%) | 100 | 98.4794 | 118.1316 | 98.2255 |
| Q-RRT* | F-RRT* | MQ-RRT* | Proposed Algorithm | ||
|---|---|---|---|---|---|
| Case 1 (Start 1 to Goal 1) | Length of path (px) | 528.98 (6.38) | 512.52 (1.07) | 594.87 (22.55) | 549.31 (11.96) |
| Planning time (s) | 233.20 (94.06) | 97.39 (28.30) | 8.03 (1.13) | 2.55 (0.78) | |
| Cumulative heading change (rad) | 11.06 (0.26) | 10.64 (0.13) | 12.44 (1.15) | 9.50 (0.15) | |
| Case 2 Start 2 to Goal 2 | Length of path (px) | 716.66 (10.68) | 682.69 (0.64) | 725.87 (10.68) | 700.45 (7.28) |
| Planning time (s) | 25.33 (34.88) | 22.75 (25.22) | 5.42 (2.80) | 1.24 (0.34) | |
| Cumulative heading change (rad) | 6.14 (0.07) | 6.04 (0.02) | 7.25 (1.13) | 6.03 (0.02) |
| Q-RRT* | F-RRT* | MQ-RRT* | Proposed Algorithm | ||
|---|---|---|---|---|---|
| Case 1 (Start 1 to Goal 1) | Length of path (%) | 100 | 94.5312 | 102.7431 | 100.5065 |
| Planning time (%) | 100 | 82.3475 | 48.8431 | 7.5980 | |
| Cumulative heading change (%) | 100 | 56.8343 | 125.5068 | 54.3261 | |
| Case 2 Start 2 to Goal 2 | Length of path (%) | 100 | 95.0389 | 100.9559 | 97.4838 |
| Planning time (%) | 100 | 155.5519 | 87.5403 | 18.8191 | |
| Cumulative heading change (%) | 100 | 56.6577 | 127.7667 | 49.6513 |
| Q-RRT* | F-RRT* | MQ-RRT* | Proposed Algorithm | ||
|---|---|---|---|---|---|
| Case 1 (Start 1 to Goal 1) | Length of path (px) | 403.12 (33.03) | 381.08 (32.44) | 414.18 (37.48) | 405.17 (37.24) |
| Planning time (s) | 38.46 (35.13) | 31.67 (20.33) | 18.78 (8.03) | 2.92 (1.33) | |
| Cumulative heading change (rad) | 8.58 (2.62) | 4.88 (1.66) | 10.77 (3.00) | 4.66 (1.60) | |
| Case 2 Start 2 to Goal 2 | Length of path (px) | 390.57 (27.05) | 371.20 (23.05) | 394.31 (27.22) | 380.75 (27.16) |
| Planning time (s) | 11.17 (8.82) | 17.38 (8.58) | 9.78 (4.94) | 2.10 (0.35) | |
| Cumulative heading change (rad) | 6.97 (2.56) | 3.95 (1.62) | 8.91 (2.96) | 3.46 (1.42) |
| 1 | 3 | 5 | 10 | 15 | 20 | 30 | ||
|---|---|---|---|---|---|---|---|---|
| Map 1 | Case 1 | 828.26 | 822.27 | 785.00 | 705.26 | 703.44 | 700.47 | 703.07 |
| Case 2 | 439.20 | 429.99 | 418.86 | 390.44 | 389.34 | 390.10 | 390.16 | |
| Map2 | Case 1 | 610.85 | 598.15 | 592.94 | 549.32 | 549.74 | 548.90 | 550.27 |
| Case 2 | 722.08 | 716.73 | 711.94 | 700.45 | 700.53 | 701.65 | 701.47 | |
| Map3 | Case 1 | 438.18 | 436.87 | 427.34 | 405.17 | 407.00 | 410.90 | 403.85 |
| Case 2 | 405.61 | 403.06 | 399.20 | 380.75 | 383.38 | 381.37 | 378.94 |
Disclaimer/Publisher’s Note: The statements, opinions and data contained in all publications are solely those of the individual author(s) and contributor(s) and not of MDPI and/or the editor(s). MDPI and/or the editor(s) disclaim responsibility for any injury to people or property resulting from any ideas, methods, instructions or products referred to in the content. |
© 2026 by the authors. Licensee MDPI, Basel, Switzerland. This article is an open access article distributed under the terms and conditions of the Creative Commons Attribution (CC BY) license.
Share and Cite
Jeong, J.; Jung, J.-W. Fast Path-Planning Algorithm for Mobile Robots via Straight Strategy. Appl. Sci. 2026, 16, 1952. https://doi.org/10.3390/app16041952
Jeong J, Jung J-W. Fast Path-Planning Algorithm for Mobile Robots via Straight Strategy. Applied Sciences. 2026; 16(4):1952. https://doi.org/10.3390/app16041952
Chicago/Turabian StyleJeong, Jihong, and Jin-Woo Jung. 2026. "Fast Path-Planning Algorithm for Mobile Robots via Straight Strategy" Applied Sciences 16, no. 4: 1952. https://doi.org/10.3390/app16041952
APA StyleJeong, J., & Jung, J.-W. (2026). Fast Path-Planning Algorithm for Mobile Robots via Straight Strategy. Applied Sciences, 16(4), 1952. https://doi.org/10.3390/app16041952

