Supercritical CO2 Fluid Extraction of Elaeagnus mollis Diels Seed Oil and Its Antioxidant Ability
Abstract
:1. Introduction
2. Results
2.1. Effects of SFE Conditions on Oil Yield
2.2. Optimization of the SFE Conditions
2.3. Identification and Composition of Fatty Acid in EDS Oils
2.4. Tocopherols and Tocotrienols Content
2.5. Phytosterols
2.6. Comparison of Antioxidant Activities of EDS Oil Extracted by Different Method
3. Materials and Methods
3.1. Materials
3.2. Extraction Process of EDS Oils
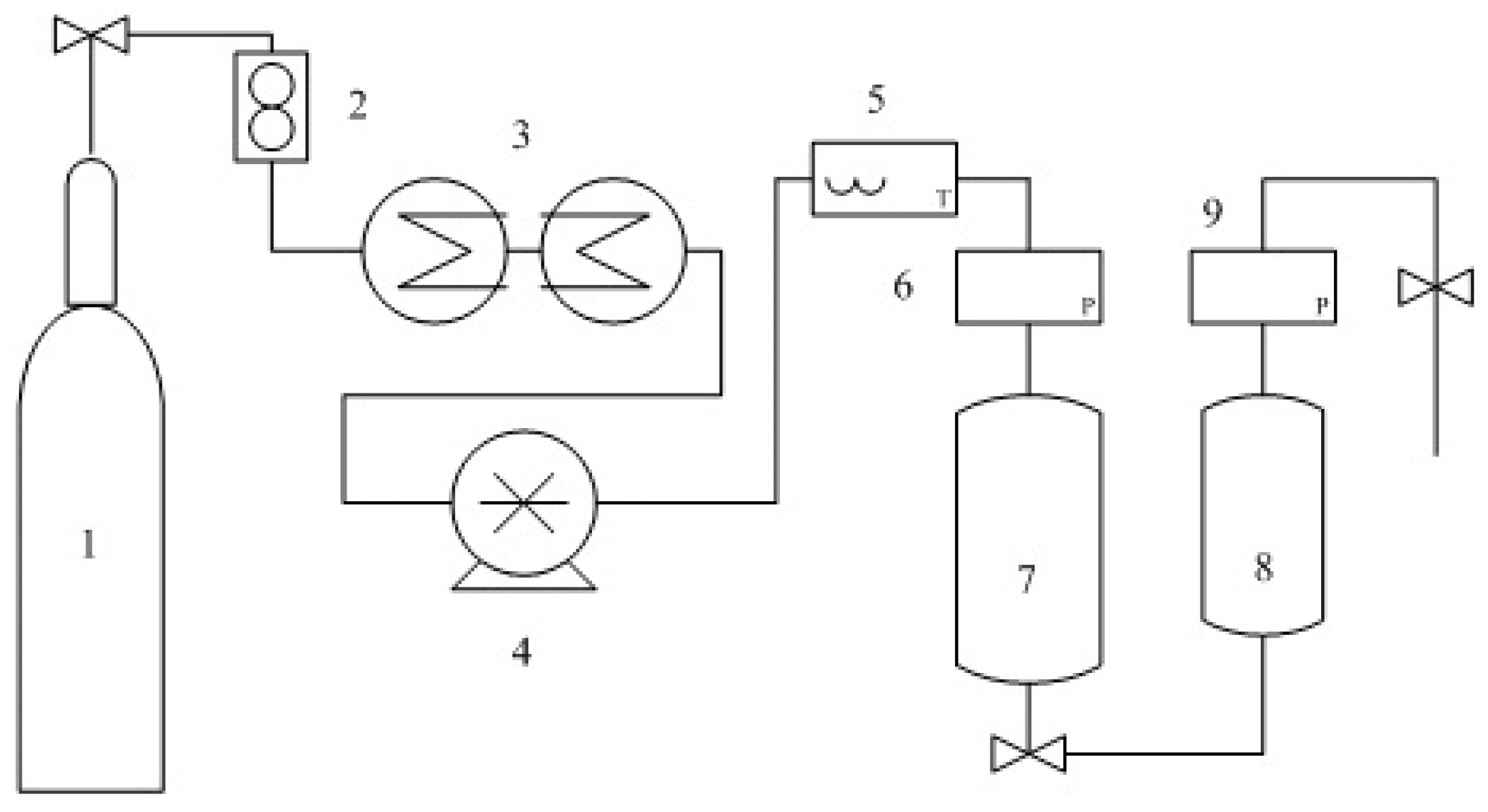
3.2.1. Supercritical Carbon Dioxide Extraction
3.2.2. Soxhlet Extraction
3.2.3. Cold-Press Extraction
3.2.4. EDS Oil Extraction Yield
3.3. Fatty Acid Composition of EDS Oils
3.4. Lipophilic Antioxidant Compounds in EDS Oils
3.5. Antioxidant Ability Analysis
4. Conclusions
Author Contributions
Funding
Acknowledgments
Conflicts of Interest
References
- Alessandra, P.; Antonella, R.; Danilo, F.; Silvia, P.; Dessì, M.; Bruno, M. Extraction of oil from wheat germ by supercritical CO2. Molecules 2009, 14, 2573. [Google Scholar]
- Dong, L.; Yin, L.; Quan, H.; Chu, Y.; Lu, J. Hepatoprotective Effects of Kaempferol-3-O-α-l-Arabinopyranosyl-7-O-α-l-Rhamnopyranoside on d-Galactosamine and Lipopolysaccharide Caused Hepatic Failure in Mice. Molecules 2017, 22, 1755. [Google Scholar] [CrossRef] [PubMed]
- Kan, L.; Wang, L.; Ding, Q.; Wu, Y.; Ouyang, J. Flash Extraction and Physicochemical Characterization of Oil from Elaeagnus mollis Diels Seeds. J. Oleo Sci. 2017, 66, 345–352. [Google Scholar] [CrossRef] [PubMed]
- Liang, S.; Yang, R.; Dong, C.; Yang, Q. Physicochemical Properties and Fatty Acid Profiles of Elaeagnus mollis Diels Nut Oils. J. Oleo Sci. 2015, 64, 1267. [Google Scholar] [CrossRef] [PubMed]
- Gong, J.H.; Zhang, Y.L.; He, J.L.; Zheng, X.K.; Feng, W.S.; Wang, X.L.; Kuang, H.X.; Li, C.G.; Cao, Y.G. Extractions of oil from Descurainia sophia seed using supercritical CO2, chemical compositions by GC-MS and evaluation of the anti-tussive, expectorant and anti-asthmatic activities. Molecules 2015, 20, 13296–13312. [Google Scholar]
- Colin, C.; Patrick, H.; Paul, B.; John, G.; Michelle, L.; Sebastien, G.; Wilfried, W. Quantitation of the main constituents of some authentic sesame seed oils of different origin. J. Agric. Food Chem. 2006, 54, 6266–6270. [Google Scholar]
- Gómez, A.M.; López, C.P.; Ossa, E.M.D.L. Recovery of grape seed oil by liquid and supercritical carbon dioxide extraction: A comparison with conventional solvent extraction. Chem. Eng. J. Biochem. Eng. J. 1996, 61, 227–231. [Google Scholar] [CrossRef]
- Passos, C.P.; Rui, M.S.; Silva, F.A.D.; Coimbra, M.A.; Silva, C.M. Supercritical fluid extraction of grape seed (Vitis vinifera L.) oil. Effect of the operating conditions upon oil composition and antioxidant capacity. Chem. Eng. J. 2010, 160, 634–640. [Google Scholar] [CrossRef]
- Li, J.; Zhang, X.; Liu, Y. Supercritical carbon dioxide extraction of Ganoderma lucidum spore lipids: Food science + technology. Science + technologie alimentaire. LWT-Food Sci. Technol. 2016, 70, 16–23. [Google Scholar] [CrossRef]
- Xu, X.; Gao, Y.; Liu, G.; Wang, Q.; Zhao, J. Optimization of supercritical carbon dioxide extraction of sea buckthorn (Hippophaë thamnoides L.) oil using response surface methodology. LWT-Food Sci. Technol. 2008, 41, 1223–1231. [Google Scholar] [CrossRef]
- Nimet, G.; Silva, E.A.D.; Palú, F.; Dariva, C.; Freitas, L.d.S.; Neto, A.M.; Filho, L.C. Extraction of sunflower (Heliantus annuus L.) oil with supercritical CO2 and subcritical propane: Experimental and modeling. Chem. Eng. J. 2011, 168, 262–268. [Google Scholar] [CrossRef]
- Andrea, C.; Maffei, M.E.; Andrea, O. Supercritical fluid extraction of plant flavors and fragrances. Molecules 2013, 18, 7194–7238. [Google Scholar]
- Tao, W.; Zhang, H.; Xue, W.; Ren, L.; Xia, B.; Zhou, X.; Wu, H.; Duan, J.; Chen, G. Optimization of supercritical fluid extraction of oil from the fruit of Gardenia jasminoides and its antidepressant activity. Molecules 2014, 19, 19350–19360. [Google Scholar]
- Yadollah, Y.; Nader, B.; Fatemeh, S.; Mohamad, J.S.; Ehsan, S. Extraction of essential oil from Pimpinella anisum using supercritical carbon dioxide and comparison with hydrodistillation. Nat. Prod. Res. 2008, 22, 212–218. [Google Scholar]
- Subroto, E.; Widjojokusumo, E.; Veriansyah, B.; Tjandrawinata, R.R. Supercritical CO2 extraction of candlenut oil: Process optimization using Taguchi orthogonal array and physicochemical properties of the oil. J. Food Sci. Tech. 2017, 54, 1286. [Google Scholar] [CrossRef] [PubMed]
- Gaitonde, V.N.; Karnik, S.R.; Davim, J.P. Multiperformance Optimization in Turning of Free-Machining Steel Using Taguchi Method and Utility Concept. J. Mater. Eng. Perform. 2009, 18, 231–236. [Google Scholar] [CrossRef]
- Zhao, T.; Fei, G.; Lin, Z.; Song, T.Y. Essential Oil from Inula britannica Extraction with SF-CO_2 and Its Antifungal Activity. J. Integr. Agric. 2013, 12, 1791–1798. [Google Scholar] [CrossRef]
- Nejad-Sadeghi, M.; Taji, S.; Goodarznia, I. Optimization of supercritical carbon dioxide extraction of essential oil from Dracocephalum kotschyi Boiss: An endangered medicinal plant in Iran. J. Chromatogr. A 2015, 1422, 73–81. [Google Scholar] [CrossRef] [PubMed]
- Mitra, P.; Ramaswamy, H.S.; Chang, K.S. Pumpkin (Cucurbita maxima) seed oil extraction using supercritical carbon dioxide and physicochemical properties of the oil. J. Food Eng. 2009, 95, 208–213. [Google Scholar] [CrossRef]
- Rabrenovic, B.; Dimic, E.; Maksimovic, M.; Sobajic, S.; Gajickrstajic, L. Determination of fatty acid and tocopherol compositions and the oxidative stability of walnut (Juglans regia L.) cultivars grown in Serbia. Czech. J. Food Sci. 2011, 29, 74–78. [Google Scholar] [CrossRef]
- Mohamed, H.B.; Duba, K.S.; Fiori, L.; Abdelgawed, H.; Tlili, I.; Tounekti, T.; Zrig, A. Bioactive compounds and antioxidant activities of different grape (Vitis vinifera L.) seed oils extracted by supercritical CO2 and organic solvent. LWT-Food Sci. Technol. 2016, 74, 557–562. [Google Scholar] [CrossRef]
- Wang, L.; Wu, M.; Liu, H.M.; Ma, Y.X.; Wang, X.D.; Qin, G.Y. Subcritical Fluid Extraction of Chinese Quince Seed: Optimization and Product Characterization. Molecules 2017, 22, 528. [Google Scholar] [CrossRef] [PubMed]
- Chen, M.C.; Hsu, H.H.; Chu, Y.Y.; Cheng, S.F.; Shen, C.Y.; Lin, Y.J.; Chen, R.J.; Viswanadha, V.P.; Lin, Y.M.; Huang, C.Y. Lupeol alters ER stress-signaling pathway by downregulating ABCG2 expression to induce Oxaliplatin-resistant LoVo colorectal cancer cell apoptosis. Environ. Toxicol. 2018. [Google Scholar] [CrossRef] [PubMed]
- Li, T.S.C.; Beveridge, T.H.J.; Drover, J.C.G. Phytosterol content of sea buckthorn (Hippophae rhamnoides L.) seed oil: Extraction and identification. Food Chem. 2007, 101, 1633–1639. [Google Scholar] [CrossRef]
- Kumar, M.S.S.; Mawlong, I.; Singh, D. Phytosterol recovery from oilseeds: Recent advances: FULL ARTICLE. J. Food Process. Eng. 2017, 40, e12466. [Google Scholar]
- Schwartz, H.; Ollilainen, V.; Piironen, V.; Lampi, A.M. Tocopherol, tocotrienol and plant sterol contents of vegetable oils and industrial fats. J. Food Compos. Anal. 2008, 21, 152–161. [Google Scholar] [CrossRef]
- Bai, P.H.; Liu, Q.Z.; Li, X.Y.; Liu, Y.B.; Zhang, L.L. Response of the wheat rhizosphere soil nematode community in wheat/walnut intercropping system in Xinjiang, Northwest China. Appl. Entomol. Zool. 2018, 1–10. [Google Scholar] [CrossRef]
- Beveridge, T.H.J.; Benoit, G.; Thomas, K.; Drover, J.C.G. Yield and composition of grape seed oils extracted by supercritical carbon dioxide and petroleum ether: Varietal effects. J. Agric. Food Chem. 2005, 53, 1799–1804. [Google Scholar] [CrossRef] [PubMed]
- Dias, L.S.; Luzia, D.M.M.; Jorge, N. Physicochemical and bioactive properties of Hymenaea courbaril L. pulp and seed lipid fraction. Ind. Crops Prod. 2013, 49, 610–618. [Google Scholar] [CrossRef]
- Guo, J.J.; Gao, Z.P.; Xia, J.L.; Ritenour, M.A.; Shan, Y. Comparative analysis of chemical composition, antimicrobial and antioxidant activity of citrus essential oils from the main cultivated varieties in China. LWT-Food Sci. Technol. 2018, 97, 825–839. [Google Scholar] [CrossRef]
- Diao, W.R.; Hu, Q.P.; Feng, S.S.; Li, W.Q.; Xu, J.G. Chemical Composition and Antibacterial Activity of the Essential Oil from Green Huajiao (Zanthoxylum schinifolium) against Selected Foodborne Pathogens. J. Agric. Food Chem. 2013, 61, 6044–6049. [Google Scholar]
- Viafara, D.; Abreu-Naranjo, R.; Alvarez-Suarez, J.M.; Reyes-Mera, J.J.; Barreno-Ayala, M. Chemical characterisation and antioxidant activity of Aphandra natalia mesocarp and its oil from the Amazon region of Ecuador. J. Food Meas. Charact 2018, 39, 1–9. [Google Scholar] [CrossRef]
- Willems, P.; Kuipers, N.J.M.; Haan, A.B.D. Hydraulic pressing of oilseeds: Experimental determination and modeling of yield and pressing rates. J. Food Eng. 2008, 89, 8–16. [Google Scholar] [CrossRef]
- Mandana, B.; Russly, A.R.; Farah, S.T.; Noranizan, M.A.; Sarker, M.Z.I.; Ali, G. Supercritical carbon dioxide extraction of seed oil from winter melon (Benincasa hispida) and its antioxidant activity and fatty acid composition. Molecules 2013, 18, 997–1014. [Google Scholar]
- Boso, S.; Gago, P.; Santiago, J.L.; Rodríguez-Canas, E.; Martínez, M.C. New monovarietal grape seed oils derived from white grape bagasse generated on an industrial scale at a winemaking plant. LWT-Food Sci. Technol. 2018, 92, 388–394. [Google Scholar] [CrossRef]
- Giovanna, I.; Vito, V.; Emanuele, M.; Maria, F.C. Characterization of total, free and esterified phytosterols in tetraploid and hexaploid wheats. J. Agric. Food Chem. 2009, 57, 2267–2273. [Google Scholar]
- Kedan, C.; Wei, X.; Huang, L.; Lidian, C.; Yuqin, Z.; Xuchong, T. Extraction of Lepidium apetalum seed oil using supercritical carbon dioxide and anti-oxidant activity of the extracted oil. Molecules 2011, 16, 10029–10045. [Google Scholar]
- Kaur, H.; Halliwell, B. Detection of hydroxyl radicals by aromatic hydroxylation. Method Enzymol. 1994, 233, 67–82. [Google Scholar]
Sample Availability: Samples of the compounds are not available from the authors. |



| Run no. | A (MPa) | B (°C) | C (min) | D (mesh) | Extraction Yield (%) |
|---|---|---|---|---|---|
| 1 | 35 (3) | 50 (1) | 150 (2) | 80 (2) | 27.35 |
| 2 | 30 (1) | 60 (3) | 180 (3) | 80 (2) | 27.23 |
| 3 | 32.5 (2) | 55 (2) | 120 (1) | 80 (2) | 24.80 |
| 4 | 35 (3) | 55 (2) | 180 (3) | 60 (1) | 25.70 |
| 5 | 30 (1) | 55 (2) | 150 (2) | 100 (3) | 27.85 |
| 6 | 32.5 (2) | 50 (1) | 180 (3) | 100 (3) | 28.02 |
| 7 | 30 (1) | 50 (1) | 120 (1) | 60 (1) | 24.47 |
| 8 | 32.5 (2) | 60 (3) | 150 (2) | 60 (1) | 26.71 |
| 9 | 35 (3) | 60 (3) | 120 (1) | 100 (3) | 24.29 |
| K1 | 79.55 | 79.84 | 73.56 | 76.88 | |
| K2 | 79.53 | 78.35 | 81.91 | 79.38 | |
| K3 | 77.34 | 78.23 | 80.95 | 80.16 | |
| R | 0.737 | 0.537 | 2.783 | 1.093 |
| Factor | SS | f | MS | F | p |
|---|---|---|---|---|---|
| Extraction pressure | 1.076 | 2 | 0.538 | 0.200 | 0.827 |
| Extraction temperature | 0.536 | 2 | 0.268 | 0.090 | 0.911 |
| Extraction time | 13.917 | 2 | 0.959 | 11.700 | 0.009 |
| Particle size | 1.957 | 2 | 0.979 | 0.380 | 0.700 |
| Residual Error | 0.008 | 2 | 0.004 | 1.350 | |
| Total | 17.494 | 8 |
| Fatty Acid | SF-CO2-Extracted | Soxhlet-Extracted | Cold-Pressed |
|---|---|---|---|
| Myristic (C14:0) | 0.03 | 0.03 | - |
| Pentadecanoic (C15:0) | 0.02 | - | - |
| Palmitic (C16:0) | 4.12 | 3.59 | 7.24 |
| Margaric (C17:0) | 0.05 | 0.04 | - |
| Stearic (C18:0) | 2.50 | 2.54 | 1.56 |
| Arachidic (C20:0) | 0.19 | 0.23 | 0.15 |
| Behenic (C22:0) | 0.04 | 0.09 | - |
| Tricosanoic (C23:0) | - | 0.02 | - |
| Tetracosanoic (C24:0) | 0.06 | 0.16 | - |
| Palmitoleic (C16:1 n-7) | 0.07 | 0.07 | - |
| Oleic (C18:1 n-9) | 35.18 | 32.96 | 38.47 |
| Eicosenoic (C20:1 n-11) | 0.50 | 0.53 | 0.02 |
| Linoleic (C18:2 n-9, 12) | 50.99 | 46.71 | 51.83 |
| Linolenic (C18:3 n-9, 12, 15) | 5.10 | 4.84 | 0.57 |
| Eicosadienoic (C20:2 n-11, 14) | 0.05 | 0.05 | 0.03 |
| SFA | 7.01 | 6.70 | 8.95 |
| MUFA | 35.75 | 33.56 | 38.49 |
| PUFA | 56.14 | 51.60 | 52.43 |
| Types | SF-CO2 Extracted | Soxhlet-Extracted | Cold-Pressed |
|---|---|---|---|
| α-tocopherol | 17.79 ± 0.11 | 16.51 ± 0.78 | 15.18 ± 1.32 |
| β-tocopherol | - | - | - |
| γ-tocopherol | 53.68 ± 2.21 | 49.00 ± 1.12 | 50.37 ± 0.56 |
| δ-tocopherol | 8.72 ± 0.032 | 8.83 ± 1.65 | 7.27 ± 0.12 |
| α-tocotrienol | 5.78 ± 0.013 | 5.34 ± 0.097 | 4.91 ± 0.038 |
| β-tocotrienol | - | - | - |
| γ-tocotrienol | 6.03 ± 0.56 | 3.59 ± 0.034 | 3.8 ± 0.041 |
| δ-tocotrienol | 2.25 ± 0.072 | 5.14 ± 0.16 | 4.59 ± 0.21 |
| Total | 96.24 ± 3.01 | 88.41 ± 4.32 | 86.12 ± 2.05 |
| Types | SF-CO2 Extracted | Soxhlet-Extracted | Cold-Pressed |
|---|---|---|---|
| β-Sitosterol | 223.52 ± 7.15 | 212.40 ± 6.58 | 127.52 ± 2.32 |
| Stigmasterol | 54.10 ± 8.76 | 42.03 ± 3.56 | 35.81 ± 4.65 |
| β-Amyrin | 31.06 ± 0.30 | 34.36 ± 2.13 | 19.92 ± 6.54 |
| Lupeol | 58.66 ± 4.67 | 74.19 ± 5.87 | 50.85 ± 3.19 |
| Total | 364.34 ± 4.86 | 362.98 ± 2.03 | 224.13 ± 1.93 |
| Lipophilic Antioxidant Compounds | DPPH | Hydroxyl |
|---|---|---|
| Total phytosterols | 0.860 ** | 0.765 ** |
| β-Sitosterol | 0.829 ** | 0.737 ** |
| Stigmasterol | 0.854 ** | 0.768 ** |
| β-Amyrin | 0.844 ** | 0.750 ** |
| Lupeol | 0.886 ** | 0.791 ** |
| Total tocopherols and tocotrienols | 0.913 ** | 0.824 ** |
| α-Tocopherol | 0.909 ** | 0.819 ** |
| γ-Tocopherol | 0.915 ** | 0.829 ** |
| δ-Tocopherol | 0.907 ** | 0.813 ** |
| α-Tocotrienol | 0.909 ** | 0.818 ** |
| γ-Tocotrienol | 0.798 ** | 0.728 ** |
| δ-Tocotrienol | 0.815 ** | 0.750 ** |
© 2019 by the authors. Licensee MDPI, Basel, Switzerland. This article is an open access article distributed under the terms and conditions of the Creative Commons Attribution (CC BY) license (http://creativecommons.org/licenses/by/4.0/).
Share and Cite
Wang, C.; Duan, Z.; Fan, L.; Li, J. Supercritical CO2 Fluid Extraction of Elaeagnus mollis Diels Seed Oil and Its Antioxidant Ability. Molecules 2019, 24, 911. https://doi.org/10.3390/molecules24050911
Wang C, Duan Z, Fan L, Li J. Supercritical CO2 Fluid Extraction of Elaeagnus mollis Diels Seed Oil and Its Antioxidant Ability. Molecules. 2019; 24(5):911. https://doi.org/10.3390/molecules24050911
Chicago/Turabian StyleWang, Chengxin, Zhenhua Duan, Liuping Fan, and Jinwei Li. 2019. "Supercritical CO2 Fluid Extraction of Elaeagnus mollis Diels Seed Oil and Its Antioxidant Ability" Molecules 24, no. 5: 911. https://doi.org/10.3390/molecules24050911
APA StyleWang, C., Duan, Z., Fan, L., & Li, J. (2019). Supercritical CO2 Fluid Extraction of Elaeagnus mollis Diels Seed Oil and Its Antioxidant Ability. Molecules, 24(5), 911. https://doi.org/10.3390/molecules24050911

