A Study of the Dynamic Stiffness of Flexible Couplings with a Rubber–Metal Element Type SEGME †
Abstract
1. Introduction
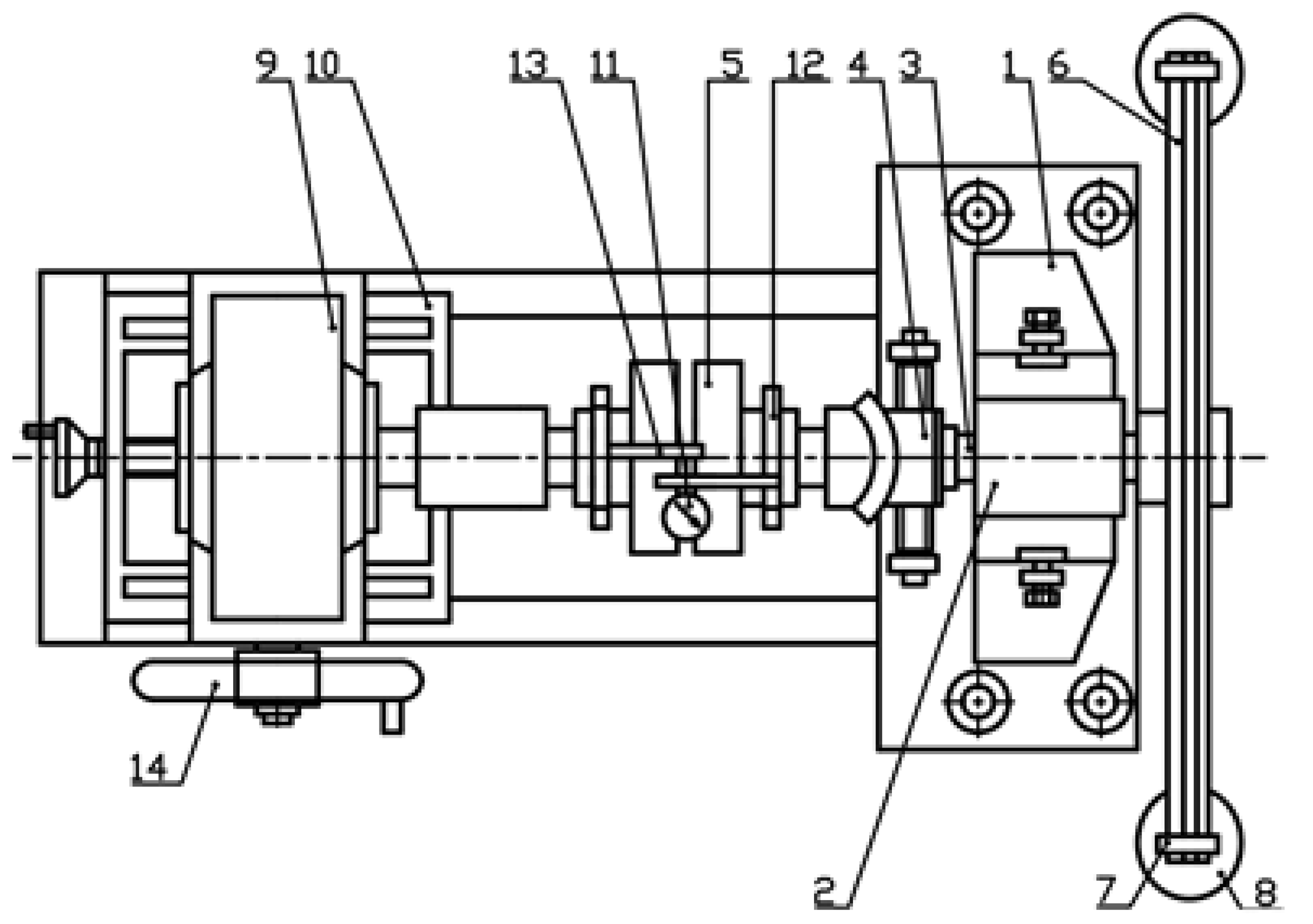
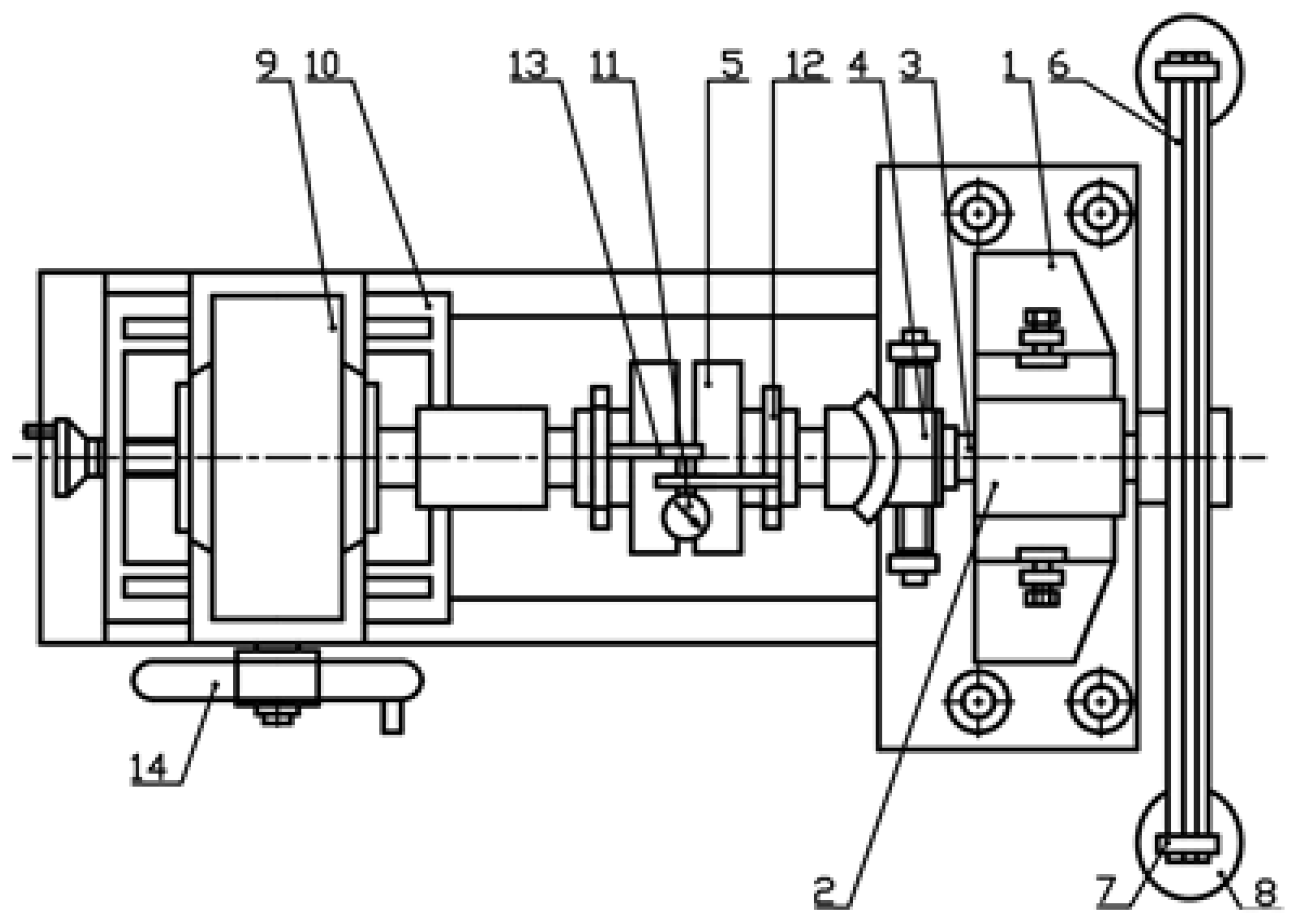
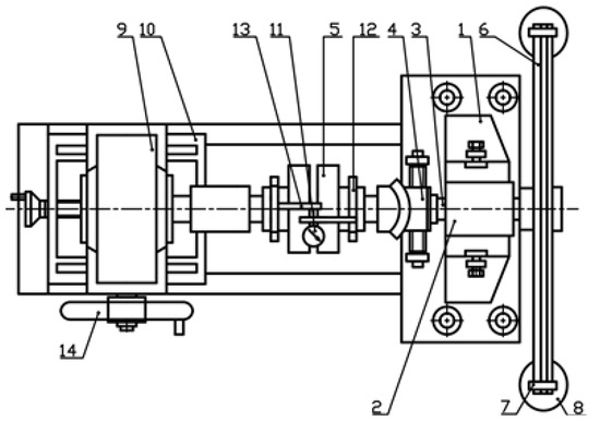
2. Methodology
3. Results
4. Conclusions
Author Contributions
Funding
Institutional Review Board Statement
Informed Consent Statement
Data Availability Statement
- Mehmedov, I.; Hristov, H.; Tenev, S. Thermal Condition Modeling of a Modified Engine Mount. In Proceedings of the Technical and Scientific Conference—Transport, Ecology—Sustainable Development EKO Varna 2021, AIP Conference Proceedings, Varna, Bulgaria, 13–15 May 2021; Volume 2439, p. 6, ISBN 978-0-7354-4140-8. https://doi.org/10.1063/5.0071562.
- Mehmedov, I.; Hristov, H.; Tenev, S. Dynamic Stiffness Determination of a Modified Engine Mount. In Proceedings of the Technical and Scientific Conference—Transport, Ecology—Sustainable Development EKO Varna 2021, AIP Conference Proceedings, Varna, Bulgaria, 13–15 May 2021; Volume 2439, p. 6, ISBN 978-0-7354-4140-8. https://doi.org/10.1063/5.0071564.
- Bankova, A.; Tsoneva, Z.; Tenev, S.; Tachev, M. Unfolds of Non-expandable Surfaces and Some Aspects of Their Practical Application in Transport Engineering. In Proceedings of the Technical and Scientific Conference—Transport, Ecology—Sustainable Development EKO Varna 2022, AIP Conference Proceedings, Varna, Bulgaria, 19–21 May 2022; Volume 1, ISSN 0094-243X. https://doi.org/10.1063/5.0165446.
- Bankova, A.; Tenev, S.; Tsoneva, Z.; Tachev, M.; Mehmedov, I. AutoCAD Application for Selecting the Required Materials for Manufacturing Machines and Equipment from Sheet Material. In Proceedings of the International Conference Automatics and Informatics (ICAI), Varna, Bulgaria, 6–8 October 2022; pp. 303–306, ISBN 978-1-6654-7625-6. https://doi.org/10.1109/ICAI55857.2022.9960020.
- Mehmedov, I.; Tenev, S.; Manev, V.; Bankova, A.; Tsoneva, Z. Static Characteristic Study of a Modified Crankshaft Pulley. In Proceedings of the Technical and Scientific Conference—Transport, Ecology—Sustainable Development EKO Varna 2022, AIP Conference Proceedings, Varna, Bulgaria, 19–21 May 2022; Volume 1, ISSN 0094-243X. https://doi.org/10.1063/12.0020111.
- Tsoneva, Z.; Bankova, A.; Tachev, M.; Tenev, S. Ergonomic Analysis of the Conventional Water Bottle Handle Grip Design. In Proceedings of the 2021 International Conference on Biomedical Innovations and Applications (BIA), Varna, Bulgaria, 2–4 June 2022; pp. 85–88, ISBN:978-1-6654-4582-5. https://doi.org/10.1109/BIA52594.2022.9831254.
- Tenev, S. Impact of Shear Forces on Variable Cross Section Shaft Stiffness. In Proceedings of the Technical and Scientific Conference—Transport, Ecology—Sustainable Development EKO Varna 2020, IOP Conference Series: Materials Science and Engineering, Varna, Bulgaria, 8–10 October 2020; Volume 977 p. 012009, ISSN 1757-899X. https://doi.org/10.1088/1757-899X/977/1/012009.
- Tenev, S. Alignment Optimization of 3D Model of Propulsion Shaft System. In Proceedings of the Technical and Scientific Conference—Transport, Ecology—Sustainable Development EKO Varna 2020, IOP Conference Series: Materials Science and Engineering, Varna, Bulgaria, 2020; Volume 977, p. 012008, ISSN 1757-899X. https://doi.org/10.1088/1757-899X/977/1/012008.
- Ivanova, E.; Tenev, S.; Vasilev, T. The theoretical model for determinig critical rotation speed flexible coupling type SEGE. In Scientific Bulletin of Naval Academy; MBNA Publishing House Constanta: Romania, Constanta, 2018; Volume XXI, ISSN 2392-8956. https://doi.org/10.21279/1454-864X-18-I1-050.
- Hristov, H.; Tenev, S.; Mehmedov, I.; Bankova, A. Hysteresis Energy caracteristic of SEGME-type in Flexible Coupling. In Proceedings of the IEEE 4th International Conference on Communications, Information, Electronic and Energy Systems (IEEE CIEES), Bulgaria, Plovdiv, 23–25 November 2023; IEEE Xplore digital library, on print.
Conflicts of Interest
References
- Chen, C.; Chang, H.; Lee, C. An experimental study on the torsional stiffness and limit torque of a jaw coupling with consideration of spacer’s hardness and installation methods. J. Mech. 2022, 38, 195–203. [Google Scholar] [CrossRef]
- Zhao, B.; Zhao, Y.; Feng, J.; Peng, X. Numerical and experimental investigation of the torsional stiffness of flexible disc couplings. Int. J. Mech. Sci. 2016, 114, 207–216. [Google Scholar] [CrossRef]
- Samikkanu, N.; Basha, A.M.J. Effects of Misalignment of High-Speed Flexible Coupling on the Fighter Aircraft Transmission Characteristics. Int. J. Fluid Mach. Syst. 2012, 5, 1–9. [Google Scholar] [CrossRef]
- Desouki, M.; Sassi, S.; Renno, J.; Gowid, S.A. Dynamic Response of a Rotating Assembly under the Coupled Effects of Misalignment and Imbalance. Shock Vib. 2020, 2020, 8819676. [Google Scholar] [CrossRef]
- Nazarov, V.E.; Kiyashko, S.B. Modified Davidenkov hysteresis and the propagation of sawtooth waves in polycrystals with hysteresis loss saturation. Phys. Metals Metallogr. 2016, 117, 766–771. [Google Scholar] [CrossRef]
- Mehmedov, I.; Hristov, H.R.; Tenev, S.T. Dynamic Stiffness Determination of a Modified Engine Mount. In Proceedings of the Technical and Scientific Conference—Transport, Ecology—Sustainable Development EKO Varna 2021, Varna, Bulgaria, 13–15 May 2021; pp. 1–6. [Google Scholar] [CrossRef]
- Standard BDS 16418-86; Rubber-Metal Member Elastic Couplings. Basic Parameters, Dimensions and Technical Requirements. State Publishing House “Standardization”: Sofia, Bulgaria, 1987; pp. 1–11. (In Bulgarian)
- Mehmedov, I.; Hristov, H.R.; Tenev, S.T. Thermal Condition Modeling of a Modified Engine Mount. In Proceedings of the Technical and Scientific Conference—Transport, Ecology—Sustainable Development EKO Varna 2021, Varna, Bulgaria, 13–15 May 2021; pp. 1–6. [Google Scholar] [CrossRef]
- Kinnunen, K.; Laine, S.; Tiainen, T.; Viitala, R.; Seppänen, A.; Turrin, T.; Kiviluoma, P.; Viitala, R. Coupling with adjustable torsional stiffness. Proc. Est. Acad. Sci. 2021, 70, 470–476. [Google Scholar] [CrossRef]
- Buryy, A.; Simonovsky, V.; Obolonik, V. Investigation of the torsional stiffness of flexible disc coupling. IOP Conf. Ser. Mater. Sci. Eng. 2017, 233, 012052. [Google Scholar] [CrossRef]
- Bouslema, M.; Fakhfakha, T.; Nasrib, R.; Haddara, M. Effect of elastic couplings on the dynamic behavior of transmission systems. Comptes Rendus-Mec. 2022, 350, 343–359. [Google Scholar] [CrossRef]
- Ghitescu, M.; Ghitescu, I.-M.; Vlase, S.; Borza, P.N. Experimental Dynamic Rigidity of an Elastic Coupling with Bolts. Symmetry 2021, 13, 989. [Google Scholar] [CrossRef]
- Mehmedov, I.; Tenev, S.; Manev, V.; Bankova, A.; Tsoneva, Z. Static characteristic study of a modified Crankshaft pulley. AIP Conf. Proc. 2023, 2868, 020014. [Google Scholar] [CrossRef]
- Aggarwal, M.; Dutt, J.K.; Chandraker, S. Dynamic Characteristics of a Flexible Coupling. In Proceedings of the ASME 2019 Gas Turbine India Conference, Volume 1: Compressors, Fans, and Pumps; Turbines; Heat Transfer; Structures and Dynamics, Chennai, India, 5–6 December 2019; V001T05A013. ASME: New York, NY, USA, 2019. [Google Scholar] [CrossRef]
- Wanyou, L.; Zhuoye, C.; Mengqi, W.; Xinhuan, H.; Yibin, G. Online Identification and Verification of the Elastic Coupling Torsional Stiffness. Shock Vib. 2016, 2016, 2016432. [Google Scholar] [CrossRef]







| Misalignments | Δr = 0 | Δr = 0.3 | Δr = 0.6 | Δr = 1.0 |
| TW [Nm] | 4.5 | 4.5 | 4.5 | 4.5 |
| [rad] | 0.015625 | 0.015734 | 0.015901 | 0.016187 |
| Cdyn [Nm/rad] | 288 | 286 | 283 | 278 |
| Misalignments | Δr = 0; 1° | Δr = 0.3; 1° | Δr = 0.6; 1° | Δr = 1.0; 1° |
| TW [Nm] | 4.5 | 4.5 | 4.5 | 4.5 |
| [rad] | 0.015845 | 0.016187 | 0.016667 | 0.01751 |
| Cdyn [Nm/rad] | 284 | 278 | 270 | 257 |
| Misalignments | Δr = 0 | Δr = 0.3 | Δr = 0.6 | Δr = 1.0 |
| TW [Nm] | 30 | 30 | 30 | 30 |
| [rad] | 0.022392 | 0.022616 | 0.022848 | 0.023061 |
| Cdyn [Nm/rad] | 1340 | 1327 | 1313 | 1294 |
| Misalignments | Δr = 0; 1° | Δr = 0.3; 1° | Δr = 0.6; 1° | Δr = 1.0; 1° |
| TW [Nm] | 30 | 30 | 30 | 30 |
| [rad] | 0.022455 | 0.022727 | 0.023041 | 0.023511 |
| Cdyn [Nm/rad] | 1336 | 1320 | 1302 | 1276 |
Disclaimer/Publisher’s Note: The statements, opinions and data contained in all publications are solely those of the individual author(s) and contributor(s) and not of MDPI and/or the editor(s). MDPI and/or the editor(s) disclaim responsibility for any injury to people or property resulting from any ideas, methods, instructions or products referred to in the content. |
© 2024 by the authors. Licensee MDPI, Basel, Switzerland. This article is an open access article distributed under the terms and conditions of the Creative Commons Attribution (CC BY) license (https://creativecommons.org/licenses/by/4.0/).
Share and Cite
Hristov, H.; Tenev, S.; Mehmedov, I. A Study of the Dynamic Stiffness of Flexible Couplings with a Rubber–Metal Element Type SEGME. Eng. Proc. 2024, 60, 26. https://doi.org/10.3390/engproc2024060026
Hristov H, Tenev S, Mehmedov I. A Study of the Dynamic Stiffness of Flexible Couplings with a Rubber–Metal Element Type SEGME. Engineering Proceedings. 2024; 60(1):26. https://doi.org/10.3390/engproc2024060026
Chicago/Turabian StyleHristov, Hristo, Stefan Tenev, and Ismail Mehmedov. 2024. "A Study of the Dynamic Stiffness of Flexible Couplings with a Rubber–Metal Element Type SEGME" Engineering Proceedings 60, no. 1: 26. https://doi.org/10.3390/engproc2024060026
APA StyleHristov, H., Tenev, S., & Mehmedov, I. (2024). A Study of the Dynamic Stiffness of Flexible Couplings with a Rubber–Metal Element Type SEGME. Engineering Proceedings, 60(1), 26. https://doi.org/10.3390/engproc2024060026

