Multi-Objective Site Selection of Underground Smart Parking Facilities Using NSGA-III: An Ecological-Priority Perspective
Abstract
1. Introduction
- •
- Systematic Methodology: A widely applicable system-based three-stage strategy is proposed, integrating spatial analysis, multi-objective optimization, and post-Pareto analysis into a unified system, forming a complete methodology chain from data processing to decision-making.
- •
- Quantitative Decision Support: Under the ecological-prioritization framework, marginal benefit analysis is used to determine the input-output critical point, making the multi-objective optimization process more precise while enhancing the scientific and practical feasibility of decision-making.
- •
- Transferability: The system-based methodology is applicable to a variety of complex scenarios, including surface or underground facility layout, emergency and medical resource allocation, and green infrastructure configuration, making it adaptable to complex ecological and governance constraints.
2. Literature Review
3. Materials and Methods
- •
- Stage 1 applies Geographic Information Systems (GIS) to identify potential construction areas and conduct preliminary screening of urban fringe spaces, population distribution, and transportation networks.
- •
- Stage 2 employs the NSGA-III algorithm to perform multi-dimensional optimization across ecological, economic, and social objectives. This step ensures that site selection achieves a balanced outcome in terms of service efficiency, cost-effectiveness, and ecological protection.
- •
- Stage 3 integrates post-Pareto analysis with marginal benefit theory to refine the solution set. By quantifying the trade-offs between investment costs and service coverage under ecological constraints, the most cost-effective and practically valuable schemes are identified.
3.1. Study Area
| Type | Data Source | Processing Process |
|---|---|---|
| POI Data | OpenStreetMap [78] | Filter and deduplicate data and apply spatial projection |
| AOI Data | ||
| Transportation Road Data | ||
| Population Data | China’s Seventh National Population Census Data [79] | Convert into a 100 m × 100 m raster format in ArcMap 10.8.2. |
| The Smart Parking Facility Data | China Railway 15th Bureau Group Corporation Limited (Shanghai, China) | The data were organized and classified as detailed in Table 3. |
| Module | A | B | C | D |
|---|---|---|---|---|
| Capacity | 50 | 100 | 176 | 220 |
| Construction Cos | 20 million CNY | 30 million CNY | 50 million CNY | 65 million CNY |
3.2. GIS-Based Spatial Analysis
3.2.1. Kernel Density Analysis
3.2.2. Preliminary Screening of Candidate Sites
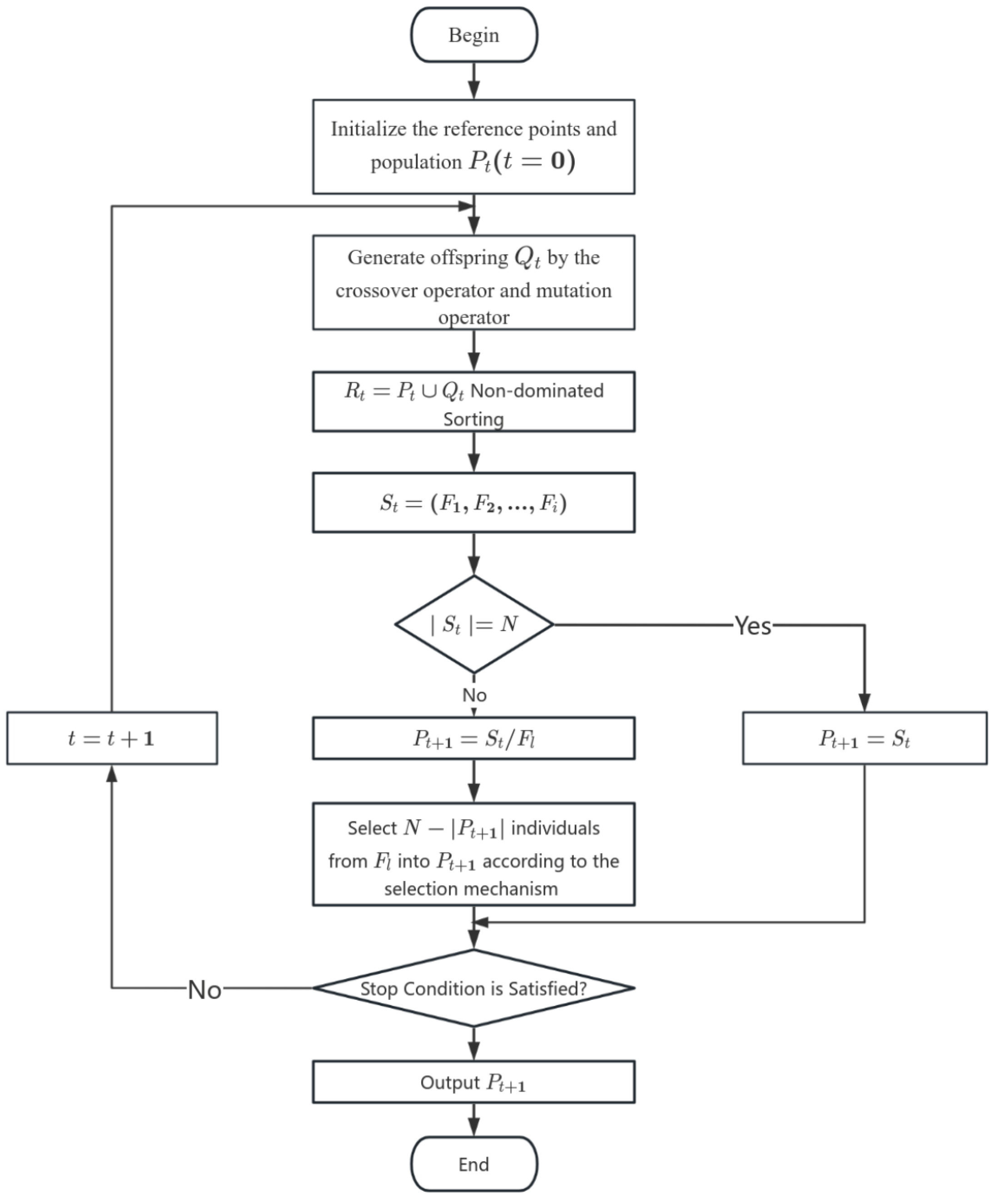
3.3. Multi-Objective Optimization and Post-Pareto Analysis
| Algorithm 1: NSGA-III Pseudocode. |
| Input: // Number of Decision Variables // Lower and Upper Bound of Variables // Maximum Number of Iterations // Population Size // Crossover Percentage // Mutation Percentage // Mutation Rate // Mutation Step Size // Number of divisions for generating reference points Output: ParetoFront 1: Initialize Parameters ← MOP2(x) // Define the cost function ← Number of Objective Functions ← ( , ) // Generate reference points Initialize Population P with nPop individuals For each individual i in P: Randomly initialize Position(i) within bounds [VarMin, VarMax] Evaluate Cost(i) = (Position(i)) 2: Perform Non-Dominated Sorting and Reference Point Assignment ← ( ) 3: for = 1 to do 4: Crossover Operation Create empty offspring population popc of size For k = 1 to /2 do Randomly select Parent1 and Parent2 from P [Child1, Child2] ← Crossover(Parent1, Parent2) // Perform crossover Evaluate Cost(Child1), Cost(Child2) Add Child1, Child2 to popc 5: Mutation Operation Create empty population popm of size For k = 1 to do Randomly select Parent p from P Mutate p to generate new individual with mutation operator Evaluate Cost(new individual) Add mutated individual to popm 6: Merge Population - Combine P (original population), popc (offspring), and popm (mutated) into a single population pop - Perform Non-Dominated Sorting and Reference Point Assignment for pop 7: Select New Population based on Reference Point Assignment Assign individuals to reference points based on their distance to Zr Sort population based on the minimum distance to reference points and crowding distance Select the best nPop individuals to form the new population P 8: Store Front 1 F1← F{1} // First Pareto front (best solutions) 9: Show Iteration Information Display: "Iteration iter: Number of F1 Members = number_of_F1" Plot F1 Costs for visualization 10: end for 11: Return ← // Return the final Pareto front |
4. Results
4.1. GIS-Based Spatial Analysis
4.2. Formulation of the Multi-Objective Optimization Model
4.2.1. Parameter Definition
4.2.2. Objective Functions and Constraints
- Minimize total walking distance
- Let denote the shortest walking distance from candidate parking facility i to demand point j, and let be a binary variable indicating whether parking facility i serves demand point j. This objective function aims to minimize the total walking distance between all constructed parking facilities and their corresponding service demand points, which can be expressed as:
- Minimize total construction cost
- 4.
- Minimize green space occupation
- 5.
- Maximize total population coverage
4.3. Pareto Optimal Solution Set
Summary of Optimization Process
4.4. Post-Pareto Analysis
5. Discussion
6. Conclusions
- System-Based Methodological Framework: The proposed three-stage optimization framework, integrating GIS-based spatial analysis, NSGA-III, and marginal benefit analysis, provides a scientific and operational decision-support tool for siting parking facilities in complex urban contexts. Beyond theoretical significance, it also offers a practical reference for planners and policymakers, enabling transparent and evidence-based decisions in similar infrastructure projects.
- Ecological-Priority Multi-Objective Optimization Strategy: By employing the NSGA-III algorithm, this study achieves comprehensive optimization across ecological, economic, and social objectives, ensuring that site selection schemes maximize service coverage while minimizing construction costs, walking distances, and green-space occupation. Compared with traditional methods, this strategy provides stronger support for balancing conflicting objectives under ecological constraints, thereby offering practical guidance for policy formulation and resource allocation.
- Decision Support through Marginal Benefit Analysis: Incorporating marginal benefit theory enables the identification of critical input–output inflection points and the most cost-effective schemes. This provides decision-makers with a transparent tool to prioritize investment options under ecological constraints, enhancing both the feasibility and managerial value of the proposed solutions.
Author Contributions
Funding
Institutional Review Board Statement
Informed Consent Statement
Data Availability Statement
Acknowledgments
Conflicts of Interest
References
- Croeser, T.; Garrard, G.E.; Visintin, C.; Kirk, H.; Ossola, A.; Furlong, C.; Clements, R.; Butt, A.; Taylor, E.; Bekessy, S.A. Finding Space for Nature in Cities: The Considerable Potential of Redundant Car Parking. npj Urban Sustain. 2022, 2, 27. [Google Scholar] [CrossRef]
- Wu, G.; Yang, D.; Niu, X.; Mi, Z. The Impact of Park Green Space Areas on Urban Vitality: A Case Study of 35 Large and Medium-Sized Cities in China. Land 2024, 13, 1560. [Google Scholar] [CrossRef]
- International Transport Forum. Global Transport Outlook 2021. Available online: https://www.oecd.org/ (accessed on 11 June 2025).
- The World Bank. World Development Report 2020: Data, Digitalization, and Development. Available online: https://www.worldbank.org/ (accessed on 11 June 2025).
- Chester, M.; Fraser, A.; Matute, J.; Flower, C.; Pendyala, R. Parking Infrastructure: A Constraint on or Opportunity for Urban Redevelopment? A Study of Los Angeles County Parking Supply and Growth. J. Am. Plann. Assoc. 2015, 81, 268–286. [Google Scholar] [CrossRef]
- Davis, A.Y.; Pijanowski, B.C.; Robinson, K.; Engel, B. The Environmental and Economic Costs of Sprawling Parking Lots in the United States. Land Use Policy 2010, 27, 255–261. [Google Scholar] [CrossRef]
- Aydınoğlu, A.Ç.; Iqbal, A.S.; Şişman, S. Parking Suitability and Site Selection Analysis Using GIS-Based Multi-Criteria Decision Analysis Techniques: AHP, TOPSIS, and VIKOR—A Case Study of Pendik District (Istanbul). Iconarp Int. J. Archit. Plan. 2025, 13, 22–50. [Google Scholar] [CrossRef]
- Jonuzi, E.; Alkan, T.; Durduran, S.S.; Selvi, H.Z. Using GIS-Supported MCDA Method for Appropriate Site Selection of Parking Lots: The Case Study of the City of Tetovo, North Macedonia. Int. J. Eng. Geosci. 2024, 9, 86–98. [Google Scholar] [CrossRef]
- Kabashkin, I.; Kulmurzina, A.; Zhandarbekova, A.; Sansyzbayeva, Z.; Sultanov, T. A Multi-Objective Approach for Optimizing Aisle Widths in Underground Parking. Infrastructures 2025, 10, 100. [Google Scholar] [CrossRef]
- Sisman, S.; Ergul, I.; Aydinoglu, A.C. Designing GIS-Based Site Selection Model for Urban Investment Planning in Smart Cities with the Case of Electric Vehicle Charging Stations. Int. Arch. Photogramm. Remote Sens. Spat. Inf. Sci. 2021, XLVI-4/W5-2021, 515–522. [Google Scholar] [CrossRef]
- Shen, T.; Hua, K.; Liu, J. Optimized Public Parking Location Modelling for Green Intelligent Transportation System Using Genetic Algorithms. IEEE Access 2019, 7, 176870–176883. [Google Scholar] [CrossRef]
- Li, X.; Guo, Y.; Liu, Z.; Sun, D.; Liu, Y.; Wang, W. A Study on Multi-Objective Optimization for the Location Selection of Smart Underground Parking Facilities in High-Density Urban Areas of Megacities: A Case Study of Jing’an District, Shanghai. PLoS ONE 2025, 20, e0326455. [Google Scholar] [CrossRef]
- Eskandari, M.; Nookabadi, A.S. Off-Street Parking Facility Location on Urban Transportation Network Considering Multiple Objectives: A Case Study of Isfahan (Iran). Transport 2018, 33, 1067–1078. [Google Scholar] [CrossRef]
- Song, M.; Chen, D. An Improved Knowledge-Informed NSGA-II for Multi-Objective Land Allocation (MOLA). Geo-Spat. Inf. Sci. 2018, 21, 273–287. [Google Scholar] [CrossRef]
- Pătrăușanu, A.; Florea, A.; Neghină, M.; Dicoiu, A.; Chiș, R. A Systematic Review of Multi-Objective Evolutionary Algorithms Optimization Frameworks. Processes 2024, 12, 869. [Google Scholar] [CrossRef]
- Demir, S.; Basaraner, M.; Taskin Gumus, A. Selection of Suitable Parking Lot Sites in Megacities: A Case Study for Four Districts of Istanbul. Land Use Policy 2021, 111, 105731. [Google Scholar] [CrossRef]
- Beijing Municipal Government. Beijing ‘14th Five-Year Plan’ for Traffic Development and Construction Planning. Available online: https://www.beijing.gov.cn/ (accessed on 19 June 2025).
- Xia, B.; Wu, J.; Fang, Y.; Shen, H.; Shen, J. Sustainable Renewal Methods of Urban Public Parking Spaces under the Scenario of Shared Autonomous Vehicles (SAV): A Review and a Proposal. Sustainability 2021, 13, 3629. [Google Scholar] [CrossRef]
- Roijers, D.M.; Vamplew, P.; Whiteson, S.; Dazeley, R. A Survey of Multi-Objective Sequential Decision-Making. J. Artif. Intell. Res. 2013, 48, 67–113. [Google Scholar] [CrossRef]
- Yi, J.-H.; Xing, L.-N.; Wang, G.-G.; Dong, J.; Vasilakos, A.V.; Alavi, A.H.; Wang, L. Behavior of Crossover Operators in NSGA-III for Large-Scale Optimization Problems. Inf. Sci. 2020, 509, 470–487. [Google Scholar] [CrossRef]
- Liu, S.; Lin, Q.; Wong, K.-C.; Coello Coello, C.A.; Li, J.; Ming, Z.; Zhang, J. A Self-Guided Reference Vector Strategy for Many-Objective Optimization. IEEE Trans. Cybern. 2022, 52, 1164–1178. [Google Scholar] [CrossRef]
- Verma, S.; Pant, M.; Snasel, V. A Comprehensive Review on NSGA-II for Multi-Objective Combinatorial Optimization Problems. IEEE Access 2021, 9, 57757–57791. [Google Scholar] [CrossRef]
- Sooktip, T.; Wattanapongsakorn, N. Identifying Preferred Solutions for Multi-Objective Optimization: Application to Capacitated Vehicle Routing Problem. Cluster Comput. 2015, 18, 1435–1448. [Google Scholar] [CrossRef]
- Wajeetongratana, S. The Role of Ecological Management and Green Infrastructure in Improving Air Quality. E3S Web Conf. 2023, 452, 05001. [Google Scholar] [CrossRef]
- Jia, Y.-P.; Lu, K.-F.; Zheng, T.; Li, X.-B.; Liu, X.; Peng, Z.-R.; He, H.-D. Effects of Roadside Green Infrastructure on Particle Exposure: A Focus on Cyclists and Pedestrians on Pathways between Urban Roads and Vegetative Barriers. Atmos. Pollut. Res. 2021, 12, 1–12. [Google Scholar] [CrossRef]
- Hapriyanto, A.R.; Azmi, H. Implementation of Green Infrastructure in Sustainable Transportation in Supporting Urban Mobility: A Literature Review. Eng. Proc. 2025, 84, 25. [Google Scholar] [CrossRef]
- Wang, X. GIS Application to Build a New Parking in East Lansing City. Geo-Spat. Inf. Sci. 2008, 11, 308–310. [Google Scholar] [CrossRef]
- Rahimi, S.; Hafezalkotob, A.; Monavari, S.M.; Hafezalkotob, A.; Rahimi, R. Sustainable Landfill Site Selection for Municipal Solid Waste Based on a Hybrid Decision-Making Approach: Fuzzy Group BWM-MULTIMOORA-GIS. J. Clean. Prod. 2020, 248, 119186. [Google Scholar] [CrossRef]
- Aliniai, K.; Yarahmadi, A.; Zarin, J.Z.; Yarahmadi, H.; Lak, S.B. Parking Lot Site Selection: An Opening Gate Towards Sustainable GIS-Based Urban Traffic Management. J. Indian Soc. Remote Sens. 2015, 43, 801–813. [Google Scholar] [CrossRef]
- Oh, K.; Jeong, S. Assessing the Spatial Distribution of Urban Parks Using GIS. Landsc. Urban Plan. 2007, 82, 25–32. [Google Scholar] [CrossRef]
- Geneletti, D. A GIS-Based Decision Support System to Identify Nature Conservation Priorities in an Alpine Valley. Land Use Policy 2004, 21, 149–160. [Google Scholar] [CrossRef]
- Boroushaki, S.; Malczewski, J. Implementing an Extension of the Analytical Hierarchy Process Using Ordered Weighted Averaging Operators with Fuzzy Quantifiers in ArcGIS. Comput. Geosci. 2008, 34, 399–410. [Google Scholar] [CrossRef]
- Zavadskas, E.K.; Turskis, Z.; Kildienė, S. State of Art Surveys of Overviews on MCMD/MADM Methods. Technol. Econ. Dev. Econ. 2014, 20, 165–179. [Google Scholar] [CrossRef]
- Darani, S.K.; Eslami, A.A.; Jabbari, M.; Asefi, H. Parking Lot Site Selection Using a Fuzzy AHP-TOPSIS Framework in Tuyserkan, Iran. J. Urban Plan. Dev. 2018, 144, 04018022. [Google Scholar] [CrossRef]
- Ayyildiz, E.; Erdogan, M. A Fermatean Fuzzy SWARA-TOPSIS Methodology Based on SCOR Model for Autonomous Vehicle Parking Lot Selection. Appl. Soft Comput. 2024, 166, 112198. [Google Scholar] [CrossRef]
- Prasertsri, N.; Sangpradid, S. Parking Site Selection for Light Rail Stations in Muaeng District, Khon Kaen, Thailand. Symmetry 2020, 12, 1055. [Google Scholar] [CrossRef]
- Naderipour, A.; Abdul-Malek, Z.; Nowdeh, S.A.; Gandoman, F.H.; Moghaddam, M.J.H. A Multi-Objective Optimization Problem for Optimal Site Selection of Wind Turbines for Reduce Losses and Improve Voltage Profile of Distribution Grids. Energies 2019, 12, 2621. [Google Scholar] [CrossRef]
- Zhu, Y.; Zhang, W.; Wang, H.; Hou, J.; Wang, H.; Wang, M. An Improved Chaotic Quantum Multi-Objective Harris Hawks Optimization Algorithm for Emergency Centers Site Selection Decision Problem. CMC-Comput. Mat. Contin. 2025, 82, 2177–2198. [Google Scholar] [CrossRef]
- Sicuaio, T.; Zhao, P.; Pilesjo, P.; Shindyapin, A.; Mansourian, A. A Multi-Objective Optimization Approach for Solar Farm Site Selection: Case Study in Maputo, Mozambique. Sustainability 2024, 16, 7333. [Google Scholar] [CrossRef]
- Hocine, A.; Zhuang, Z.-Y.; Kouaissah, N.; Li, D.-C. Weighted-Additive Fuzzy Multi-Choice Goal Programming (WA-FMCGP) for Supporting Renewable Energy Site Selection Decisions. Eur. J. Oper. Res. 2020, 285, 642–654. [Google Scholar] [CrossRef]
- Zhang, Z.; Xu, J. Applying Rough Random MODM Model to Resource-Constrained Project Scheduling Problem: A Case Study of Pubugou Hydropower Project in China. KSCE J. Civ. Eng. 2014, 18, 1279–1291. [Google Scholar] [CrossRef]
- Abd El-Wahed, W.F.; Abo-Sinna, M.A. A Hybrid Fuzzy-Goal Programming Approach to Multiple Objective Decision Making Problems. Fuzzy Sets Syst. 2001, 119, 71–85. [Google Scholar] [CrossRef]
- Ma, H.; Zhang, Y.; Sun, S.; Liu, T.; Shan, Y. A Comprehensive Survey on NSGA-II for Multi-Objective Optimization and Applications. Artif. Intell. Rev. 2023, 56, 15217–15270. [Google Scholar] [CrossRef]
- Zhao, Y.; Lu, J.; Yan, Q.; Lai, L.; Xu, L. Research on Cell Manufacturing Facility Layout Problem Based on Improved NSGA-II. CMC-Comput. Mat. Contin. 2020, 62, 355–364. [Google Scholar] [CrossRef]
- Zhang, Z.; Wu, F.; Wu, A. Research on Multi-Objective Process Parameter Optimization Method in Hard Turning Based on an Improved NSGA-II Algorithm. Processes 2024, 12, 950. [Google Scholar] [CrossRef]
- Dutta, S.; M, S.S.R.; Mallipeddi, R.; Das, K.N.; Lee, D.-G. A Mating Selection Based on Modified Strengthened Dominance Relation for NSGA-III. Mathematics 2021, 9, 2837. [Google Scholar] [CrossRef]
- Zhang, Z.; Lu, B. Improving NSGA-II by a Local Search Strategy with Gaussian Mutation. In Proceedings of the 2021 40th Chinese Control Conference (CCC), Shanghai, China, 26–28 July 2021; pp. 1628–1633. [Google Scholar]
- OuYang, J.; Yang, F.; Yang, S.W.; Nie, Z.P. The Improved NSGA-II Approach. J. Electromagn. Waves Appl. 2008, 22, 163–172. [Google Scholar] [CrossRef]
- Celik, H.; Karaboga, N. Blind Source Separation with Strength Pareto Evolutionary Algorithm 2 (SPEA2) Using Discrete Wavelet Transform. Electronics 2023, 12, 4383. [Google Scholar] [CrossRef]
- He, F.; Shen, K.; Guan, L.; Jiang, M. Research on Energy-Saving Scheduling of a Forging Stock Charging Furnace Based on an Improved SPEA2 Algorithm. Sustainability 2017, 9, 2154. [Google Scholar] [CrossRef]
- Xu, Y.; Ma, J.; Yuan, J. Application of SPEA2-MMBB for Distributed Fault Diagnosis in Nuclear Power System. Processes 2024, 12, 2620. [Google Scholar] [CrossRef]
- Zhang, Y.; Yang, R.; Zuo, J.; Jing, X. Enhancing MOEA/D with Uniform Population Initialization, Weight Vector Design and Adjustment Using Uniform Design. J. Syst. Eng. Electron. 2015, 26, 1010–1022. [Google Scholar] [CrossRef]
- Liu, Y.; Jiao, Y.-C.; Zhang, Y.-M.; Tan, Y.-Y. Synthesis of Phase-Only Reconfigurable Linear Arrays Using Multiobjective Invasive Weed Optimization Based on Decomposition. Int. J. Antennas Propag. 2014, 2014, 630529. [Google Scholar] [CrossRef]
- Lin, Q.; Tang, C.; Ma, Y.; Du, Z.; Li, J.; Chen, J.; Ming, Z. A Novel Adaptive Control Strategy for Decomposition-Based Multiobjective Algorithm. Comput. Oper. Res. 2017, 78, 94–107. [Google Scholar] [CrossRef]
- Zhang, Y.; Wang, G.-G.; Li, K.; Yeh, W.-C.; Jian, M.; Dong, J. Enhancing MOEA/D with Information Feedback Models for Large-Scale Many-Objective Optimization. Inf. Sci. 2020, 522, 1–16. [Google Scholar] [CrossRef]
- Luan, C.; Liu, R.; Zhang, Q.; Sun, J.; Liu, J. Multi-Objective Land Use Optimization Based on Integrated NSGA–II–PLUS Model: Comprehensive Consideration of Economic Development and Ecosystem Services Value Enhancement. J. Clean. Prod. 2024, 434, 140306. [Google Scholar] [CrossRef]
- Zhang, F. Constructing a Multi-Objective Optimization Model for Engineering Projects Based on NSGA-II Algorithm under the Background of Green Construction. Decis. Mak. Appl. Manag. Eng. 2024, 7, 37–53. [Google Scholar] [CrossRef]
- Yi, J.-H.; Deb, S.; Dong, J.; Alavi, A.H.; Wang, G.-G. An Improved NSGA-III Algorithm with Adaptive Mutation Operator for Big Data Optimization Problems. Futur. Gener. Comput. Syst. 2018, 88, 571–585. [Google Scholar] [CrossRef]
- Wei, Z.; Yang, J.; Hu, Z.; Sun, H. An Adaptive Decomposition Evolutionary Algorithm Based on Environmental Information for Many-Objective Optimization. ISA Trans. 2021, 111, 108–120. [Google Scholar] [CrossRef]
- Hongbo, W.; Fan, Y.; Kena, T.; Xuyan, T. A Many-Objective Evolutionary Algorithm with Spatial Division and Angle Culling Strategy. Chin. J. Electron. 2021, 30, 437–443. [Google Scholar] [CrossRef]
- Liang, Z.; Luo, T.; Hu, K.; Ma, X.; Zhu, Z. An Indicator-Based Many-Objective Evolutionary Algorithm With Boundary Protection. IEEE T. Cybern. 2021, 51, 4553–4566. [Google Scholar] [CrossRef]
- Wei, L.; Li, E. A Many-Objective Evolutionary Algorithm Based on Bi-direction Fusion Niche Dominance. Concurr. Comput. Pract. Exp. 2021, 33, e8196. [Google Scholar] [CrossRef]
- Zhang, Z.; Zheng, Y.; Li, C.; Jiang, B.; Li, Y. Designing an Urban Air Mobility Corridor Network: A Multi-Objective Optimization Approach Using U-NSGA-III. Aerospace 2025, 12, 229. [Google Scholar] [CrossRef]
- Taboada, H.A.; Coit, D.W. Data Clustering of Solutions for Multiple Objective System Reliability Optimization Problems. Qual. Technol. Quant. Manag. 2007, 4, 191–210. [Google Scholar] [CrossRef]
- Seyedashraf, O.; Bottacin-Busolin, A.; Harou, J.J. Many-Objective Optimization of Sustainable Drainage Systems in Urban Areas with Different Surface Slopes. Water Resour. Manag. 2021, 35, 2449–2464. [Google Scholar] [CrossRef]
- Tang, S.; Jiang, J.; Shamseldin, A.Y.; Shi, H.; Wang, X.; Shang, F.; Wang, S.; Zheng, Y. Comprehensive Optimization Framework for Low Impact Development Facility Layout Design with Cost–Benefit Analysis: A Case Study in Shenzhen City, China. ACS ES&T Water 2022, 2, 63–74. [Google Scholar] [CrossRef]
- Dong, Y.; Liu, S.; Pei, X.; Wang, Y. Spatially Explicit Multi-Objective Optimization Tool for Green Infrastructure Planning Based on InVEST and NSGA-II towards Multifunctionality. Land Use Policy 2025, 150, 107465. [Google Scholar] [CrossRef]
- Carrese, S.; D’Andreagiovanni, F.; Giacchetti, T.; Nardin, A.; Zamberlan, L. An Optimization Model and Genetic-Based Matheuristic for Parking Slot Rent Optimization to Carsharing. Res. Transp. Econ. 2021, 85, 100962. [Google Scholar] [CrossRef]
- Zhao, X.; Zhao, K.; Ha, F. An Algorithm of Parking Planning for Smart Parking System. In Proceedings of the 11th World Congress on Intelligent Control and Automation, Shenyang, China, 27–30 June 2014; pp. 4965–4969. [Google Scholar]
- Lin, Y.-K.; Yeh, C.-T. Multi-Objective Optimization for Stochastic Computer Networks Using NSGA-II and TOPSIS. Eur. J. Oper. Res. 2012, 218, 735–746. [Google Scholar] [CrossRef]
- Goyal, K.K.; Jain, P.K.; Jain, M. Optimal Configuration Selection for Reconfigurable Manufacturing System Using NSGA II and TOPSIS. Int. J. Prod. Res. 2012, 50, 4175–4191. [Google Scholar] [CrossRef]
- Dong, J.; Guo, R.; Lin, M.; Guo, F.; Zheng, X. Multi-Objective Optimization of Green Roof Spatial Layout in High-Density Urban Areas—A Case Study of Xiamen Island, China. Sustain. Cities Soc. 2024, 115, 105827. [Google Scholar] [CrossRef]
- Hou, Q.; Xu, H.; Xie, M.; Luo, P.; Cheng, Y. A Cellular Automata Coupled Multi-Objective Optimization Framework for Blue-Green Infrastructure Spatial Allocation. Water Res. X 2025, 28, 100387. [Google Scholar] [CrossRef]
- Zandniapour, K.; Soroush, A.; Khezerlu Agdam, E.; Sanaieian, H. Integrating GIS, 3D-Isovist, and an NSGA-II Multi-Objective Optimization Algorithm for Automation of Design Process in Urban Parks and Public Open Spaces. Int. J. Geoheritage Parks 2025, 13, 1–16. [Google Scholar] [CrossRef]
- Zhang, X.; Liu, Y.; Zhang, Z.; Li, Y.; Zhang, H.; Zhang, Y. Intersection Signal Timing Optimization: A Multi-Objective Evolutionary Algorithm. Sustainability 2022, 14, 1506. [Google Scholar] [CrossRef]
- Beijing Municipal Planning and Natural Resources Commission. Beijing Land and Space Ecological Restoration Special Plan (2021–2035). Available online: https://ghzrzyw.beijing.gov.cn/ (accessed on 19 June 2025).
- 2023 China Parking Industry Development White Paper. Available online: https://www.199it.com/ (accessed on 25 February 2024).
- OpenStreetMap. Available online: https://www.openstreetmap.org/ (accessed on 19 June 2025).
- National Bureau of Statistics of China . Available online: https://www.stats.gov.cn/ (accessed on 19 June 2025).
- Deb, K.; Jain, H. An Evolutionary Many-Objective Optimization Algorithm Using Reference-Point-Based Nondominated Sorting Approach, Part I: Solving Problems with Box Constraints. IEEE Trans. Evol. Comput. 2014, 18, 577–601. [Google Scholar] [CrossRef]
- Mankiw, N.G. Principles of Economics, 9th ed.; Cengage Learning: Boston, MA, USA, 2021; pp. 154–196. [Google Scholar]
- Loecker, J.D.; Goldberg, P.K.; Khandelwal, A.K.; Pavcnik, N. Econometrica. Econometrica 2016, 84, 445–510. [Google Scholar] [CrossRef]











| Algorithm | Advantages | Limitations |
|---|---|---|
| NSGA-II [40,41,42,43,44,45,46] | Stable performance for 2–3 objectives, easy to implement, standard in engineering practice | Performs poorly for >4 objectives, uneven distribution, computational complexity increases with dimensionality |
| SPEA2 [16,47,48] | Elite archives + density estimation, leading in IGD/HV. | O(N3) high complexity, slow convergence in high dimensions, large memory overhead. |
| MOEA/D [49,50,51,52] | Decomposes into subproblems, neighborhood updates, good front HV. | Weights need to be pre-set, irregular front distribution, sensitive to parameters. |
| NSGA-III [53,54,55] | Reference points + normalization, broad and uniform distribution for 4–15 objectives. | Reference point grows exponentially, heavy computational/storage burden, sensitive to density. |
| MaOEA [56,57,58,59] | Converges with more than 10 objectives, HV better than NSGA-III. | Many hyperparameters, difficult to tune, incomplete theoretical convergence analysis. |
| Notation | Definition |
|---|---|
| Shortest walking distance from site i to demand point j | |
| Construction cost of site i | |
| Population at demand point j | |
| Parking capacity of site i | |
| Green area occupied at site i | |
| Maximum allowable walking distance | |
| Minimum required parking capacity | |
| A | Set of candidate sites |
| B | Set of demand points |
| Constraints | Function | Interpretation |
|---|---|---|
| Service Distance | Ensures that each demand point is within a reasonable walking distance from the assigned parking facility. | |
| Candidate Position | Determines whether a candidate location is selected as a parking facility using a binary decision variable. | |
| Service Capacity | Assumes each parking facility has a maximum service capacity; the total demand served must not exceed this limit. | |
| Coverage Requirements | Ensures that a demand point can only be covered by a parking facility if that facility has been selected. | |
| Binary variable | Indicates whether a specific parking facility serves a specific demand point; this relationship is modeled using a binary variable. |
| Objective/Constraint | Population Coverage (Maximize) | Walking Distance (Minimize) | Construction Cost (Minimize) | Green-Space Occupation (Minimize) | Constraint Considerations |
|---|---|---|---|---|---|
| Population Coverage | — | Trade-off: higher coverage increases distance | Trade-off: higher coverage increases cost | Trade-off: higher coverage increases green-space occupation | Limited by candidate sites and urban density |
| Walking Distance | Shorter distance may reduce coverage | — | Often correlated: shorter distances increase cost | Often correlated: shorter distances may require more green-space occupation | Restricted by urban layout and accessibility |
| Construction Cost | Lower cost may reduce coverage | Lower cost may increase distance | — | Lower cost may increase green-space occupation | Budget constraints |
| Green-Space Occupation | Lower occupation may reduce coverage | Lower occupation may increase distance | Lower occupation may increase cost | — | Strict ecological red-line policies |
Disclaimer/Publisher’s Note: The statements, opinions and data contained in all publications are solely those of the individual author(s) and contributor(s) and not of MDPI and/or the editor(s). MDPI and/or the editor(s) disclaim responsibility for any injury to people or property resulting from any ideas, methods, instructions or products referred to in the content. |
© 2025 by the authors. Licensee MDPI, Basel, Switzerland. This article is an open access article distributed under the terms and conditions of the Creative Commons Attribution (CC BY) license (https://creativecommons.org/licenses/by/4.0/).
Share and Cite
Li, X.; Guo, Y.; Wang, H.; Wang, Y.; Liu, Z.; Sun, D. Multi-Objective Site Selection of Underground Smart Parking Facilities Using NSGA-III: An Ecological-Priority Perspective. Eng 2025, 6, 305. https://doi.org/10.3390/eng6110305
Li X, Guo Y, Wang H, Wang Y, Liu Z, Sun D. Multi-Objective Site Selection of Underground Smart Parking Facilities Using NSGA-III: An Ecological-Priority Perspective. Eng. 2025; 6(11):305. https://doi.org/10.3390/eng6110305
Chicago/Turabian StyleLi, Xiaodan, Yunci Guo, Huiqin Wang, Yangyang Wang, Zhen Liu, and Dandan Sun. 2025. "Multi-Objective Site Selection of Underground Smart Parking Facilities Using NSGA-III: An Ecological-Priority Perspective" Eng 6, no. 11: 305. https://doi.org/10.3390/eng6110305
APA StyleLi, X., Guo, Y., Wang, H., Wang, Y., Liu, Z., & Sun, D. (2025). Multi-Objective Site Selection of Underground Smart Parking Facilities Using NSGA-III: An Ecological-Priority Perspective. Eng, 6(11), 305. https://doi.org/10.3390/eng6110305

