A Study of MTPA Applied to Sensorless Control of the Synchronous Reluctance Machine (SynRM)
Abstract
1. Introduction
2. Analysis of Maximum Torque Per Ampere Operation for SynRM
2.1. An Alternative Mathematical Model of SynRM in dq

2.2. Constant Torque Curves of SynRM
2.3. Maximum Torque Per Ampere (MTPA) Control

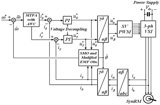
3. Design of Maximum Torque Per Ampere Algorithm Applied on Sensorless Control for SynRM
3.1. SynRM Mathematical Model in γδ Reference Frame
3.2. Design of Sliding Mode Observer (SMO) for SynRM Current/Flux in γδ Reference Frame
3.3. Stability of the Sliding Mode Observer
3.4. Stator Resistance Observer
3.5. Modified Back EMF Observer and Stability
3.6. Stability Criteria of Modified EMF Observer and Angular Speed and Position Estimation
3.7. MTPA, Current Control, and Torque Decoupling
4. Simulation Results
4.1. Description of SynRM model–Observer System, Voltage Source Inverter (VSI), Torque, and Current Controllers
4.2. MTPA Operation of SynRM at Low-Speed Range
4.3. MTPA Operation of SynRM at Medium-Speed Range
4.4. MTPA Operation of SynRM at High-Speed Range
4.5. Control Inputs vγ and vδ, Estimated Currents, and MTPA Operation of SynRM
4.6. MTPA Operation of SynRM at Low-Speed Range in the Presence of Current Measurement Noise
5. Discussion
6. Conclusions
Funding
Institutional Review Board Statement
Informed Consent Statement
Data Availability Statement
Conflicts of Interest
Notation
| ud, uq | dq axis stator voltages |
| id, iq | dq axis stator currents |
| Is | stator current magnitude |
| rs | stator resistance |
| Ld, Lq | dq axis inductances |
| λd,λq | dq axis stator magnetic fluxes |
| λms = (Ld − Lq)id | modified rotor magnetic flux |
| Ed, Eq | dq axis EMF |
| uγ, uδ | γδ axis stator voltages |
| iγ, iδ | γδ axis stator currents |
| λγ,λδ | γδ axis stator magnetic fluxes |
| λmsγδ | γδ axis modified rotor magnetic flux |
| Eγ, Eδ | γδ axis EMF |
| p | number of pole pairs |
| θ = θe | electrical angular position |
| ω = ωe | electrical angular speed |
| θm | mechanical angular position |
| ωm | mechanical angular speed |
| J | inertia of the rotor |
| Te | electrical motor torque |
| TL | load torque |
References
- Lipo, T.A.; Miller, T.J.; Vagati, A.; Boldea, I.; Malesani, L.; Fukao, T. Synchronous Reluctance Drives. In Proceedings of the IEEE IAS Annual Meeting, Denver, CO, USA, 2–6 October 1994. [Google Scholar]
- Boldea, I. Control issues in adjustable speed drives. IEEE Ind. Electron. Mag. 2008, 2, 32–50. [Google Scholar] [CrossRef]
- Kamper, M.J.; Volschenk, A.F. Effect of rotor dimensions and cross magnetization on Ld and Lq inductances of reluctance synchronous machine with cage less flux barrier rotor. IEE Proc. Electr. Power Appl. 1994, 141, 213–220. [Google Scholar] [CrossRef]
- Bolognani, S.; Bon, D.; Dai Pré, M.; Bianchi, N. Rotor Flux-Barrier Design for Torque Ripple Reduction in Synchronous Reluctance and PM-Assisted Synchronous Reluctance Motors. IEEE Trans. Ind. Appl. 2009, 45, 921–928. [Google Scholar]
- Pellegrino, G.; Jahns, T.M.; Bianchi, N.; Soong, W.; Cupertino, F. The Rediscovery of Synchronous Reluctance and Ferrite Permanent Magnet Motors; Springer: Cham, Switzerland, 2016. [Google Scholar]
- Moghaddam, R.-R. Synchronous Reluctance Machine (SynRM) in Variable Speed Drives (VSD) Applications. Ph.D. Thesis, KTH School of Electrical Engineering, Stockholm, Sweden, 2011. [Google Scholar]
- Bianchi, N. Synchronous Reluctance and Interior Permanent Magnet Motors. In Proceedings of the 2013 IEEE Workshop on Electrical Machines Design Control and Diagnosis (WEMDCD-2013), France, Paris, 11–12 March 2013. [Google Scholar]
- Boldea, I.; Tutelea, L.N.; Parsa, L.; Dorrell, D. Automotive electric propulsion systems with reduced or no permanent magnets: An overview. IEEE Trans. Ind. Electron. 2014, 61, 5696–5711. [Google Scholar] [CrossRef]
- Heidari, H.; Rassõlkin, A.; Kallaste, A.; Vaimann, T.; Andriushchenko, E.; Belahcen, A.; Lukichev, D.V. A Review of Synchronous Reluctance Motor-Drive Advancements. Sustainability 2021, 13, 729. [Google Scholar] [CrossRef]
- Bianchi, N.; Fornasiero, E.; Soong, W. Selection of PM flux linkage for maximum low-speed torque rating in a PM-assisted synchronous reluctance machine. IEEE Trans. on Ind. Appl. 2015, 51, 3600–3608. [Google Scholar] [CrossRef]
- Taghavi, S.; Pillay, P. A sizing methodology of the synchronous reluctance motor for traction applications. IEEE J. Emerg. Sel. Top. Power Electron. 2014, 2, 329–340. [Google Scholar] [CrossRef]
- Sanada, M.; Morimoto, S.; Tokuda, T. Influence of rotor structure on performance of permanent magnet assisted synchronous reluctance motor. In Proceedings of the 2009 International Conference on Electrical Machines and Systems (ICEMS 2009), Tokyo, Japan, 15–18 November 2009. [Google Scholar]
- Paradkar, M.; Boecker, J. Design of a High Performance Ferrite Magnet-Assisted Synchronous Reluctance Motor for an Electric Vehicle. In Proceedings of the IECON 2012–38th Annual Conference on IEEE Industrial Electronics Society, Montreal, QC, Canada, 25–28 October 2012. [Google Scholar]
- Huynh, T.A.; Hsieh, M.-F. Comparative study of PM-Assisted SynRM and IPMSM on constant power speed range for EV applications. IEEE Trans. Magnetics 2017, 53, 8211006. [Google Scholar] [CrossRef]
- Barcaro, M.; Bianchi, N.; Magnussen, F. Permanent-magnet optimization in permanent-magnet-assisted synchronous reluctance motor for a wide constant-power speed range. IEEE Trans. Ind. Electron. 2012, 59, 2495–2502. [Google Scholar] [CrossRef]
- Kärkkäinen, H.; Aarniovuori, L.; Niemelä, M.; Pyrhönen, J.; Kolehmainen, J. Technology comparison of induction motor and synchronous reluctance motor. In Proceedings of the IECON 2017–43rd Annual Conference of the IEEE Industrial Electronics Society, Beijing, China, 29 October–1 November 2017. [Google Scholar]
- Li, C.; Wang, G.; Zhang, G.; Zhao, N.; Gao, Y.; Xu, D. Torque Ripples Minimization of Sensorless SynRM Drives for Low-Speed Operation Using Bi-HFSI Scheme. IEEE Trans. Ind. Electron. 2021, 68, 5559–5570. [Google Scholar] [CrossRef]
- Chi, S. Position-Sensorless Control of Permanent Magnet Synchronous Machines Over Wide Speed Range. Doctoral Dissertation, Department of Electrical and Computer Engineering, The Ohio State University, Columbus, OH, USA, 2007. [Google Scholar]
- Ilioudis, V.C.; Margaris, N.I. Flux Weakening Method for Sensorless PMSM Control Using Torque Decoupling Technique. In Proceedings of the 1st IEEE Symposium on Sensorless Control for Electrical Drivers (SLED 2010), Padova, Italy, 9–10 July 2010. [Google Scholar]
- Dianov, A.; Tinazzi, F.; Calligaro, S.; Bolognani, S. Review and Classification of MTPA Control Algorithms for Synchronous Motors. IEEE Trans. Power Electron. 2021, 37, 3990–4007. [Google Scholar] [CrossRef]
- Li, Z.; Odonnell, D.; Li, W.; Song, P.; Balamurali, A.; Kar, N.C. A comprehensive review of state-of-the-art maximum torque per ampere strategies for permanent magnet synchronous motors. In Proceedings of the 10th International Electric Drives Production Conference (EDPC 2020), Ludwigsburg, Germany, 8–9 December 2020. [Google Scholar]
- Varatharajan, A.; Cruz, S.; Hadla, H.; Briz, F. Predictive torque control of synrm drives with online mtpa trajectory tracking and inductances estimation. In Proceedings of the 2017 IEEE International Electric Machines and Drives Conference (IEMDC 2017), Miami, FL, USA, 21–24 May 2017. [Google Scholar]
- Kim, S.; Yoon, Y.; Sul, S.; Ide, K. Maximum Torque per Ampere (MTPA) Control of an IPM Machine Based on Signal Injection Considering Inductance Saturation. IEEE Trans. Power Electron. 2013, 28, 488–497. [Google Scholar] [CrossRef]
- Morimoto, S.; Shimizu, Y.; Inoue, Y.; Sanada, M. Experimental Evaluation of the Online MTPA Angle Search Method Based on Flux-linkage Plane Estimation for IPMSMs. IEEJ J. Ind. Appl. 2024, 13, 400–408. [Google Scholar] [CrossRef]
- Bedetti, N.; Calligaro, S.; Olsen, C.; Petrella, R. Automatic MTPA tracking in IPMSM drives: Loop dynamics, design, and auto-tuning. IEEE Trans. Ind. Appl. 2017, 53, 4547–4558. [Google Scholar] [CrossRef]
- Bonifacio, J.; Kennel, R.M. On considering saturation and cross-coupling effects for copper loss minimization on highly anisotropic synchronous machines. IEEE Trans. Ind. Appl. 2018, 54, 4177–4185. [Google Scholar] [CrossRef]
- Jeong, Y.; Sul, S.; Hiti, S.; Rahman, K.M. Online Minimum-Copper-Loss Control of an Interior Permanent-Magnet Synchronous Machine for Automotive Applications. IEEE Trans. Ind. Appl. 2006, 42, 1222–1229. [Google Scholar] [CrossRef]
- Sun, T.; Wang, J.; Chen, X. Maximum Torque Per Ampere (MTPA) Control for Interior Permanent Magnet Synchronous Machine Drives Based on Virtual Signal Injection. IEEE Trans. Power Electron. 2015, 30, 5036–5045. [Google Scholar] [CrossRef]
- Bolognani, S.; Petrella, R.; Prearo, A.; Sgarbossa, L. On-line tracking of the MTPA trajectory in IPM motors via active power measurement. In Proceedings of the 19th Int. Conf. on Electrical Machines (ICEM 2010), Rome, Italy, 6–8 September 2010. [Google Scholar]
- Krstic, M. Extremum Seeking Control. In Encyclopedia of Systems and Control, 1st ed.; Baillieul, J., Samad, T., Eds.; Springer London: London, UK, 2014; pp. 1–5. [Google Scholar]
- Antonello, V.; Carraro, M.; Zigliotto, M. Maximum-torque-per-ampere operation of anisotropic synchronous permanent-magnet motors based on extremum seeking control. IEEE Trans. Ind. Electron. 2014, 61, 5086–5093. [Google Scholar] [CrossRef]
- Tinazzi, F.; Bolognani, S.; Calligaro, S.; Kumar, P.; Petrella, R.; Zigliotto, M. Classification and review of MTPA algorithms for synchronous reluctance and interior permanent magnet motor drives. In Proceedings of the 2019 21st European Conference on Power Electronics and Applications (EPE ‘19 ECCE Europe), Genova, Italy, 3–5 September 2019. [Google Scholar]
- Cho, Y. Improved Sensorless Control of Interior Permanent Magnet Sensorless Motors Using an Active Damping Control Strategy. Energies 2016, 9, 135. [Google Scholar] [CrossRef]
- Piippo, A.; Salomäki, J.; Luomi, J. Signal injection in sensorless PMSM drives equipped with inverter output filter. In Proceedings of the Fourth Power Conversion Conference (PCC 2007), Nagoya, Japan, 2–5 April 2007. [Google Scholar]
- Wang, X.; Kennel, R.M. Analysis of permanent-Magnet machine for sensorless control based on high-frequency signal injection. In Proceedings of the IEEE 7th International Power Electronics and Motion Control Conference (IPEMC 2012), Harbin, China, 2–5 June 2012. [Google Scholar]
- Yang, S.; Lorenz, R. Surface permanent-magnet machine self-sensing at zero and low speeds using improved observer for position, velocity, and disturbance torque estimation. IEEE Trans. Ind. Appl. 2012, 48, 151–160. [Google Scholar] [CrossRef]
- Ferreira, O.C.; Kennel, R. Encoderless Control of Industrial Servo Drives. In Proceedings of the 12th International EPE-PEMC. Power Electronics and Motion Control Conference, Portoroz, Slovenia, 30 August–1 September 2006. [Google Scholar]
- Chen, Z.; Tomita, M.; Ichikawa, S.; Doki, S.; Okuma, S. Sensorless control of interior permanent magnet synchronous motor by estimation of an extended electromotive force. In Proceedings of the 35th IAS Annual Meeting and World Conference on Industrial Applications of Electrical Energy, Rome, Italy, 8–12 October 2000. [Google Scholar]
- Morimoto, S.; Kawamoto, K.; Sanada, M.; Takeda, Y. Sensorless control strategy for salient-Pole PMSM based on extended EMF in rotating reference frame. IEEE Trans. Ind. Appl. 2002, 38, 1054–1061. [Google Scholar] [CrossRef]
- Fop, G.; Rahman, M.F. Sensorless sliding mode MTPA control of an IPM synchronous motor drive using a sliding-mode observer and HF signal injection. IEEE Trans. Ind. Electron. 2010, 57, 1270–1278. [Google Scholar]
- Betin, F.; Capolino, G.A.; Casadei, D.; Kawkabani, B.; Bojoi, R.I.; Harnefors, L.; Levi, E.; Parsa, L.; Fahimi, B. Trends in electrical machines control samples for classical, sensorless, and fault-Tolerant techniques. IEEE Ind. Electron. Mag. 2014, 8, 43–55. [Google Scholar] [CrossRef]
- Zidat, F.; Lecointe, J.P.; Morganti, F.; Brudny, J.F.; Jacq, T.; Streiff, F. Non Invasive Sensors for Monitoring the Efficiency of AC Electrical Rotating Machines. Sensors 2010, 10, 7874–7895. [Google Scholar] [CrossRef] [PubMed]
- Chen, Z.C.; Tomita, M.; Doki, S.; Okuma, S. An extended electromotive force model for sensorless control of interior permanent-Magnet synchronous motors. IEEE Trans. Ind. Electron. 2003, 50, 288–295. [Google Scholar] [CrossRef]
- Wang, G.; Zhan, H.; Zhang, G.; Gui, X.; Xu, D. Adaptive compensation method of position estimation harmonic error for EMF-based observer in sensorless IPMSM drives. IEEE Trans. Power Electron. 2014, 29, 3055–3064. [Google Scholar] [CrossRef]
- Hammel, W.; Kennel, R.M. Position sensorless control of PMSM by synchronous injection and demodulation of alternating carrier voltage. In Proceedings of the 2010 First Symposium on Sensorless Control for Electrical Drives (SLED 2010), Padova, Italy, 9–10 July 2010. [Google Scholar]
- Chen, J.; Yang, S.; Tu, K. Comparative Evaluation of a Permanent Magnet Machine Saliency-Based Drive with Sine-Wave and Square-Wave Voltage Injection. Energies 2018, 11, 2189. [Google Scholar] [CrossRef]
- Schoonhoven, G.; Uddin, M.N. Harmonic Injection-Based adaptive control of IPMSM motor drive for reduced motor current THD. IEEE Trans. Ind. Appl. 2017, 53, 483–491. [Google Scholar] [CrossRef]
- Henao, H.; Capolino, G.A.; Razik, H. Analytical Approach of the Stator Current Frequency Harmonics Computation for Detection of Induction Machine Rotor Faults. In Proceedings of the Symposium on Diagnostic for Electrical Machines, Power Electronics and Drives, SDEMPED, Atlanta, GA, USA, 24–26 August 2003; pp. 259–264. [Google Scholar]
- Kim, H.; Harke, M.C.; Lorenz, R.D. Sensorless control of interior permanent-magnet machine drives with zero-Phase lag position estimation. IEEE Trans. Ind. Appl. 2003, 39, 1726–1733. [Google Scholar]
- Ilioudis, V.C. Sensorless Control Applying Signal Injection Methodology on Modified Model of Permanent Magnet Synchronous Machine. In Proceedings of the 6th Conference on Control, Decision and Information Technologies (CoDIT 2019), Paris, France, 23–26 April 2019. [Google Scholar]
- Zhu, Z.Q.; Gong, L.M. Investigation of effectiveness of sensorless operation in carrier signal injection based sensorless control Methods. IEEE Trans. Ind. Electron. 2011, 8, 3431–3439. [Google Scholar] [CrossRef]
- Piippo, A.; Luomi, J. Inductance harmonics in permanent magnet synchronous motors and reduction of their effects in sensorless control. In Proceedings of the XVII International Conference on Electric Machines (ICEM 2006), Chania, Greece, 2–5 September 2006. [Google Scholar]
- Ilioudis, V.C. Sensorless Control of Permanent Magnet Synchronous Machine with Magnetic Saliency Tracking Based on Voltage Signal Injection. Machines 2020, 8, 14. [Google Scholar] [CrossRef]
- Tuovinen, T.; Hinkkanen, M. Signal-injection-assisted full-order observer with parameter adaptation for synchronous reluctance motor drives. IEEE Trans. Ind. Appl. 2014, 50, 3392–3402. [Google Scholar] [CrossRef]
- Bolognani, S.; Calligaro, S.; Petrella, R. Design Issues and Estimation Errors Analysis of Back-EMF-Based Position and Speed Observer for SPM Synchronous Motors. J. Emerg. Sel. Top. Power Electron. IEEE 2014, 2, 159–170. [Google Scholar] [CrossRef]
- Hejny, R.W.; Lorenz, R.D. Evaluating the practical low-Speed limits for back-EMF tracking-Based sensorless speed control using drive stiffness as a key metric. IEEE Trans. Ind. Appl. 2011, 47, 1337–1343. [Google Scholar] [CrossRef]
- Preindl, M.; Schaltz, E. Sensorless Model Predictive Direct Current Control Using Novel Second-Order PLL Observer for PMSM Drive Systems. IEEE Trans. Ind. Electron. 2011, 58, 4087–4095. [Google Scholar] [CrossRef]
- Trancho, E.; Ibarra, E.; Arias, A.; Salazar, C.; Lopez, I.; De Guereñu, A.D.; Peña, A. A novel PMSM hybrid sensorless control strategy for EV applications based on PLL and HFI. In Proceedings of the 42nd Annual Conference of the IEEE Industrial Electronics Society (IECON 2016), Florence, Italy, 23–26 October 2016. [Google Scholar]
- Kondo, S.; Sato, Y.; Goto, T.; Tomita, M. Position and velocity sensorless control for synchronous reluctance motor at low speeds and under loaded conditions using high-frequency extended EMF observer and heterodyne detection. In Proceedings of the 2014 International Conference of Electrical Machines (ICEM 2014), Berlin, Germany, 2–5 September 2014. [Google Scholar]
- Bolognani, S.; Tubiana, L.; Zigliotto, M. Extended Kalman filter tuning in sensorless PMSM drives. IEEE Trans. Ind. Appl. 2003, 39, 1741–1747. [Google Scholar] [CrossRef]
- Ichikawa, S.; Tomita, M.; Doki, S.; Okuma, S. Initial position estimation and low speed sensorless control of synchronous motors in consideration of magnetic saturation based on system identification theory. In Proceedings of the 2004 IEEE Industry Applications Conference-39th IAS Annual Meeting, Seattle, WA, USA, 3–7 October 2004. [Google Scholar]
- Kuehl, S.; Landsmann, P.; Kennel, R.M. Compensating angle estimation errors caused by magnetic saturation in anisotropy-based sensorless control schemes. In Proceedings of the 2013 IEEE Int. Symposium on Sensorless Control for Electrical Drives and Predictive Control of Electrical Drives and Power Electronics (SLED/PRECEDE 2013), Munich, Germany, 17–19 October 2013. [Google Scholar]
- Utkin, V.I. Sliding Mode Control Design Principles and Applications to Electric Drives. IEEE Trans. Ind. Electron. 2013, 40, 23–36. [Google Scholar] [CrossRef]
- Shtessel, Y.B. Sliding Mode Control with Applications: Tutorial. In Proceedings of the ICEECSAS-2008, UNAM, Mexico City, Mexico, 12 November 2008. [Google Scholar]
- Shtessel, Y.; Edwards, C.; Fridman, L.; Levant, A. Sliding Mode Control and Observation (Control Engineering), 1st ed.; Birkhäuser: Basel, Switzerland, 2014. [Google Scholar]
- Spurgeon, S.K. Sliding Mode Observers: A Survey. Int. J. Syst. Sci. 2008, 39, 751–764. [Google Scholar] [CrossRef]
- Shtessel, Y.B.; Shkolnikov, I.A.; Brown, M. An Asymptotic Second-Order Smooth Sliding Mode Control. Asian J. Control. 2003, 5, 498–5043. [Google Scholar] [CrossRef]
- Levant, A. Chattering Analysis. IEEE Trans. Autom. Control 2010, 55, 1380–1389. [Google Scholar] [CrossRef]
- Lee, H.; Utkin, V.I. Chattering suppression methods in sliding mode control systems. J. Annu. Rev. Control. 2007, 31, 179–188. [Google Scholar] [CrossRef]
- Utkin, V.I.; Lee, H. Chattering Analysis. In Proceedings of the Power Electronics and Motion Control Conference (EPE-PEMC 2006), Portoroz, Slovenia, 30 August–1 September 2006. [Google Scholar]
- Lee, H.; Utkin, V. Chattering analysis, in Advances in Variable Structure and Sliding Mode Control. In Lecture Notes in Control and Information Sciences, 1st ed.; Edwards, C., Fossas, C., Fridman, L., Eds.; Springer Verlag: Berlin, Germany, 2006; Volume 334, pp. 107–123. [Google Scholar]
- Utkin, V.; Poznyak, A.; Orlov, Y.V.; Polyakov, A. High-Order Sliding Mode Control. In Road Map for Sliding Mode Control Design; SpringerBriefs in Mathematics; Springer Nature: Berlin/Heidelberg, Germany, 2020; pp. 83–89. [Google Scholar]
- Plestan, F.; Shtessel, Y.; Brégeault, V.; Poznyak, A. Sliding mode control with gain adaptation-Application to an electropneumatic actuator. J. Control. Eng. Pract. 2013, 21, 679–688. [Google Scholar] [CrossRef]
- DS1104 R&D Controller Board. Available online: https://www.dspace.com/en/pub/home/products/hw/singbord/ds1104.cfm (accessed on 5 November 2024).
- Pate, M. Application Note: The Essential Guide for Developing with C2000 Real-Time Microcontrollers (Rev. F). Available online: https://www.ti.com/lit/an/spracn0f/spracn0f.pdf?ts=1735390108649 (accessed on 3 October 2024).
- Application Note: Sensorless Field-Oriented Control (FOC) Using PSoC™ 6 MCU. Available online: https://www.infineon.com/dgdl/Infineon-AN235096_Sensorless_field-oriented_control_FOC_using_PsoC_6_MCU-ApplicationNotes-v01_00-EN.pdf?fileId=8ac78c8c821f280601821f2bea270000 (accessed on 3 November 2024).
- Ilioudis, V.C. A Model Based Sliding Mode Observer Applied in SynRM Sensorless Control. Magnetism 2024, 5, 4. [Google Scholar] [CrossRef]








| Symbol | Quantity | Expressed in SI |
|---|---|---|
| P | Power | 4.4 kW |
| Vl-l | Line-to-line voltage | 380 V |
| rs | Stator resistance | 2.5 Ω |
| Ld | d-axis inductance | 0.400 H |
| Lq | q-axis inductance | 0.210 H |
| J | Moment of inertia | 0.089 kgm2 |
| p | Magnetic pole pairs | 1 |
| ωm | Mechanical angular speed | 3000 rpm |
| Symbol | Quantity | Value |
|---|---|---|
| kγ | γ-axis gain of SMO | 20,000 |
| kδ | δ-axis gain of SMO | 20,000 |
| γr | gain of stator resistance estimator | 75 |
| Symbol | Quantity | Value |
|---|---|---|
| c | gain of modified EMF observer | 80 |
| γω | gain of angular speed observer | 400 |
Disclaimer/Publisher’s Note: The statements, opinions and data contained in all publications are solely those of the individual author(s) and contributor(s) and not of MDPI and/or the editor(s). MDPI and/or the editor(s) disclaim responsibility for any injury to people or property resulting from any ideas, methods, instructions or products referred to in the content. |
© 2025 by the author. Licensee MDPI, Basel, Switzerland. This article is an open access article distributed under the terms and conditions of the Creative Commons Attribution (CC BY) license (https://creativecommons.org/licenses/by/4.0/).
Share and Cite
Ilioudis, V.C. A Study of MTPA Applied to Sensorless Control of the Synchronous Reluctance Machine (SynRM). Automation 2025, 6, 11. https://doi.org/10.3390/automation6010011
Ilioudis VC. A Study of MTPA Applied to Sensorless Control of the Synchronous Reluctance Machine (SynRM). Automation. 2025; 6(1):11. https://doi.org/10.3390/automation6010011
Chicago/Turabian StyleIlioudis, Vasilios C. 2025. "A Study of MTPA Applied to Sensorless Control of the Synchronous Reluctance Machine (SynRM)" Automation 6, no. 1: 11. https://doi.org/10.3390/automation6010011
APA StyleIlioudis, V. C. (2025). A Study of MTPA Applied to Sensorless Control of the Synchronous Reluctance Machine (SynRM). Automation, 6(1), 11. https://doi.org/10.3390/automation6010011
