The Venetian Warships of Lake Garda. News of the Benacus Project: What If Fresh Water Is No Longer Protective?
Abstract
:1. Introduction
2. Historical Background
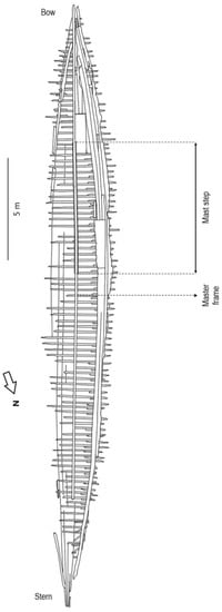
3. The Shipwreck of Lazise
4. The New Research
5. Conclusions
Funding
Acknowledgments
Conflicts of Interest
References
- Viggiano, A. Il Dominio da terra: Politica e istituzioni. In Storia di Venezia. Dalle Origini Alla Caduta Della Serenissima. Vol. IV: Il Rinascimento. Politica e Cultura; Tenenti, A., Tucci, U., Eds.; Istituto della Enciclopedia Italiana-Treccani: Roma, Italy, 1996; pp. 465–528. [Google Scholar]
- Law, J.E. The Venetian Mainland State in the Fifteenth Century. In Transactions of the Royal Historical Society 2; Cambridge University Press: London, UK, 1992; pp. 154–174. [Google Scholar]
- Mallett, M. La conquista della Terraferma. In Storia di Venezia. Dalle Origini Alla Caduta Della Serenissima. Vol. IV: Il Rinascimento. Politica e Cultura; Tenenti, A., Tucci, U., Eds.; Istituto della Enciclopedia Italiana-Treccani: Roma, Italy, 1996; pp. 181–244. [Google Scholar]
- Mallett, M. Mercenaries and Their Masters: Warfare in Renaissance Italy; Pen & Sword: Barnsley, UK, 2019. [Google Scholar]
- Tarducci, G. L’alleanza Visconti-Gonzaga del 1483 contro la Repubblica veneta. Archivio Storico Lombardo 1899, III, 265–329. [Google Scholar]
- Rosini, E. Il Garda prima dell’anno Mille. Arch. Veneto 1997, CXLIX, 5–40. [Google Scholar]
- Renier, P. Testimonianze sul Trasporto Delle Navi da Venezia al Garda Eseguito dai Veneziani nel 1439; S.E.: Venezia, Italy, 1967. [Google Scholar]
- Mazzi, G. Governo del territorio e cartografia veneta tra Quattrocento e Cinquecento. In Verona e il suo Territorio nel Quattrocento. Studi Sulla Carta dell’Almagià; Lodi, S., Varanini, G.M.S., Eds.; Cierre: Verona, Italy, 2014; pp. 19–60. [Google Scholar]
- Capulli, M. Le Navi della Serenissima. La “Galea” di Lazise; Marsilio: Venezia, Italy, 2003; pp. 12–117. [Google Scholar]
- Bondioli, M. L’arte della costruzione navale veneziana tra il XV e il XVI secolo: Riflessioni e nuovi documenti. In Navalia. Archeologia e Storia; Ciciliot, F., Ed.; International Propeller Club: Savona, Italy, 1996; pp. 139–155. [Google Scholar]
- Bondioli, M.; Penzo, G. Teodoro Baxon e Nicola Palopano proti delle galee sottili. L’influsso greco nelle costruzioni navali veneziane della prima metà del XV secolo. Archeol. Delle Acque 1999, 2, 67–80. [Google Scholar]
- Biondo, F. La Seconda Parte de le Historie del Biondo, Ridotte in Compendio per Lucio Fauno; Michele Tramezzino: Venezia, Italy, 1550; p. 116. [Google Scholar]
- Gerosa, M. Il Benaco. Nei Ricordi e Nelle Sovrane Bellezze; Tip. Queriniana: Brescia, Italy, 1956; Volume 2. [Google Scholar]
- Scandurra, E. The Maritime Republics: Medieval and Renaissance Ship in Italy. In A History of Seafaring Based on Underwater Archaeology; Bass, G., Ed.; Thames and Hudson: New York, NY, USA, 1972; p. 209. [Google Scholar]
- Shaw, C. Treaty of Cambrai (1529). In The Encyclopedia of Diplomacy; Martel, G., Ed.; Wiley-Blackwell: Hoboken, NJ, USA, 2018; pp. 1–4. [Google Scholar] [CrossRef]
- Sanudo, M. I diarii (Nella Trascrizione di Nicolò Barozzi), Tomo VIII.; Venezia, Italy, 1882; pp. 113–334. Available online: http://bpfe.eclap.eu/eclap/axmedis/a/a58/00000-a58eeb91-f35c-40f9-8e5a-bdc316384e53/2/~saved-on-db-a58eeb91-f35c-40f9-8e5a-bdc316384e53.pdf (accessed on 29 January 2023).
- Cavazzocca Mazzanti, V. Navi affondate nel Lago di Garda. Mem. Dell’ateneo Di Salò 1931, II, 15–19. [Google Scholar]
- Scandurra, E. Una flotta attraverso i monti. Mondo Sommerso 1969, XI-2, 164–166. [Google Scholar]
- D’Agostino, M.; Fozzati, L. La galea veneziana del XVI secolo da Lazise. In C’era una Volta Lazise; Neri Pozza: Verona, Italy, 1992; pp. 121–126. [Google Scholar]
- Bondioli, M.; D’Agostino, M.; Fozzati, L. Lago di Garda, Lazise (VR). Relitto di nave lunga veneziana. Relazione preliminare. Archeol. Mediev. 1997, XXIV, 145–153. [Google Scholar]
- Bondioli, M.; Capulli, M. Il relitto cinquecentesco della fusta veneziana di Lazise: Analisi strutturale e studio sul metodo di configurazione dell’innalzamento verticale dei madieri (stellatura) mediante l’uso dei sesti. In Proceedings of the Atti del I Convegno Nazionale, NAVIS-Rassegna di Studi di Archeologia, Etnologia e Storia Navale 4, Cesenatico, Italy, 4–5 April 2008; Caniato, G., D’Agostino, M., Medas, S., Eds.; Libreriauniversitaria: Bari, Italy, 2010; pp. 83–88. [Google Scholar]
- Bondioli, M. The Libro di navigar. A new treatise on Venetian shipbuilding from the 14th century. In Proceedings of the Thirteenth International Symposium on Boat and Ship Archaeology, Ships And Maritime Landscape, Amsterdam 2012 (ISBSA 13), Amsterdam, The Netherland,, 7–12 October 2012; Gawronski, J., Von Holk, A., Schokkenbroek, J., Eds.; Barkhuis Publishing: Eelde, The Netherland, 2017; pp. 215–223. [Google Scholar]
- Capulli, M. Annotazioni di archeologia navale nel Mediterraneo medievale. In Sotto il Profilo del Metodo. Studi in Onore di Silvia Lusuardi Siena; Giostra, C., Perassi, C., Sannazaro, M., Eds.; SAP Società Archeologica: Mantova, Italy, 2021; pp. 357–365. [Google Scholar]
- Di Stefano, G. La galea medievale di Camerina: Notizie preliminari. Sicil. Archeol. 1994, XXVII, 87–92. [Google Scholar]
- Occioni-Bonaffons, G.; Gregoretti, U. Sulla Scoperta di due barche Antiche nel Comune di Contarina (Rovigo); Stab. Tip. Lit. Federigo Visentini: Venezia, Italy, 1901. [Google Scholar]
- Capulli, M. The Precenicco 11th–13th-Century AD Bottom-Based Vessel: Excavation and Preliminary Results. Int. J. Naut. Archaeol. 2021, 50.1, 76–86. [Google Scholar] [CrossRef]
- D’Agostino, M.; Medas, S. Laguna di Venezia. Lo scavo e il rilievo dei relitti di San Marco in Boccalama. Notizia preliminare. In Proceedings of the Atti del III Congresso Nazionale di Archeologia Medievale, Salerno, Italy, 2–5 October 2003; Fiorillo, R., Peduto, P., Eds.; Il Giglio: Firenze, Italy, 2003; Volume 1, pp. 224–227. [Google Scholar]
- D’Agostino, M.; Medas, S. Excavation and Recording of the medieval Hulls at San Marco in Boccalama (Venice). INA Q. 2003, 30, 22–28. [Google Scholar]
- Capulli, M. Archeologia in Contesto Subacqueo. Ambienti di Ricerca e Metodi; Forum: Udine, Italy, 2021; pp. 123–135. [Google Scholar]
- Capulli, M.; Pipan, M.; Mocnik, A. Progetto ANAXUM. Studio di un paesaggio archeologico fluviale e sviluppo di tecniche geofisiche integrate. In Proceedings of the Atti del Convegno Scuola Normale Superiore, Conoscenza e Tutela del Patrimonio Sommerso, Pisa, Italy, 11 December 2012; Botarelli, L., La Monica, D., Eds.; Aracne Editrice: Roma, Italy, 2013; pp. 185–198. [Google Scholar]
- Orlova, M.I. Dreissena (D.) Polymorpha: Evolutionary Origin and Biological Peculiarities as Prerequisites of Invasion Success. In Invasive Aquatic Species of Europe. Distribution, Impacts and Management; Leppäkoski, E., Gollasch, S., Olenin, S., Eds.; Kluwer Academic: Dordrecht, The Netherland, 2002; pp. 127–134. [Google Scholar]
- Bianchi, I.; Girod, A.; Mariani, M. Densità, Strutture di popolazione e distribuzione di Dreissena polymorpha nel Bacino Idrografico del Benaco. Arch. Molluskenkd. 1974, 104, 97–105. [Google Scholar]
- Cappelletti, C.; Ciutti, F. Bivalvi alloctoni nel Lago di Garda Cristina. Biol. Ambient. 2017, 31, 169–173. [Google Scholar]
- Frisinghelli, C.; Potrich, C.; Pretti, M. Analisi naturalistica sul microambiente in cui vive Dreissena Polymorpha Pallas (Dreissenidae, Molluschi bivalvi). Ann. Dei Musei Civ. Di Rovereto 1992, 7, 275–290. [Google Scholar]
- Franchini, D.A. Distribuzione verticale di Dreissena polymorpha (Pallas) nel lago di Garda: II Contributo. Bolletino Di Zool. 1978, 45, 257–260. [Google Scholar] [CrossRef]
- Salmaso, N.; Boscaini, A.; Capelli, C.; Cerasino, L. Ongoing ecological shifts in a large lake are driven by climate change and eutrophication: Evidences from a three-decade study in Lake Garda. Hydrobiologia 2017, 824, 177–195. [Google Scholar] [CrossRef]
- Salmaso, N.; Buzzi, F.; Capelli, C.; Cerasino, L.; Leoni, B.; Lepori, F.; Rogora, M. Responses to local and global stressors in the large southern perialpine lakes: Present status and challenges for research and management. J. Great Lakes Res. 2020, 46, 752–766. [Google Scholar] [CrossRef]
- Zieritz, A.; Sousa, R.; Aldridge, D.C.; Douda, K.; Esteves, E.; Ferreira-Rodríguez, N.; Mageroy, J.H.; Nizzoli, D.; Osterling, M.; Reis, J.; et al. A global synthesis of ecosystem services provided and disrupted by freshwater bivalve molluscs. Biol. Rev. Camb. Philos. Soc. 2022, 97, 967–1998. [Google Scholar] [CrossRef] [PubMed]
- Köninger, J.; Ebersbach, R.; Goldhammer, J.; Hagmann, S. Quagga–Muscheln, Erosionsrinnen und einen neue Palisade in der UNESCO–Welterbestation Unteruhldingen–Stollenwiesen. In Archäologische Ausgrabungen in Baden-Württemberg 2018; Theiss: Stuttgart, Germany, 2019; pp. 107–112. [Google Scholar]
- Watzin, M.C.; Cohn, A.B.; Emerson, B.P. Zebra Mussels, Shipwrecks, and the Environment. Final Report; University of Vermont: Burlington, VT, USA, 2001. [Google Scholar]
- Gasperini, L.; Marzocchi, A.; Mazza, S.; Miele, R.; Meli, M.; Najjar, H.; Michetti, A.M.; Polonia, A. Morphotectonics and late Quaternary seismic stratigraphy of Lake Garda (Northern Italy). Geomorphology 2020, 371, 107427. [Google Scholar] [CrossRef]
- Capulli, M.; Fozzati, F. Le navi della Serenissima: Archeologia e restauro (XIII-XVI sec.). In Proceedings of the IV Seminario ANSER, Rotte e Porti del Mediterraneo Dopo la Caduta Dell’Impero D’Occidente, Genova, Italy, 18–19 June 2004; De Maria, L., Turchetti, R., Eds.; Rubbettino: Soveria Mannelli, Italy, 2005; pp. 239–248. [Google Scholar]
- Wright, J. Maritime Archaeology and Climate Change: An Invitation. J. Marit. Archaeol. 2016, 11, 255–270. [Google Scholar] [CrossRef]








Disclaimer/Publisher’s Note: The statements, opinions and data contained in all publications are solely those of the individual author(s) and contributor(s) and not of MDPI and/or the editor(s). MDPI and/or the editor(s) disclaim responsibility for any injury to people or property resulting from any ideas, methods, instructions or products referred to in the content. |
© 2023 by the author. Licensee MDPI, Basel, Switzerland. This article is an open access article distributed under the terms and conditions of the Creative Commons Attribution (CC BY) license (https://creativecommons.org/licenses/by/4.0/).
Share and Cite
Capulli, M. The Venetian Warships of Lake Garda. News of the Benacus Project: What If Fresh Water Is No Longer Protective? Heritage 2023, 6, 1594-1604. https://doi.org/10.3390/heritage6020085
Capulli M. The Venetian Warships of Lake Garda. News of the Benacus Project: What If Fresh Water Is No Longer Protective? Heritage. 2023; 6(2):1594-1604. https://doi.org/10.3390/heritage6020085
Chicago/Turabian StyleCapulli, Massimo. 2023. "The Venetian Warships of Lake Garda. News of the Benacus Project: What If Fresh Water Is No Longer Protective?" Heritage 6, no. 2: 1594-1604. https://doi.org/10.3390/heritage6020085
APA StyleCapulli, M. (2023). The Venetian Warships of Lake Garda. News of the Benacus Project: What If Fresh Water Is No Longer Protective? Heritage, 6(2), 1594-1604. https://doi.org/10.3390/heritage6020085

