Real-Time Large-Scale Intrusion Detection and Prevention System (IDPS) CICIoT Dataset Traffic Assessment Based on Deep Learning
Abstract
1. Introduction
- We develop, design, and implement the DLMIDPSM. The DLMIDPSM evaluates intrusion attacks in the topology of IoT devices based on our proposed topology in this research, IDPST.
- We develop, design, and implement the intrusion detection and prevention system topology (IDPST). IDPST analyzes intrusion detection systems (IDS) and intrusion prevention systems (IPS).
- We propose a large-scale real-time CICIoT2023 dataset with IDPS capability.
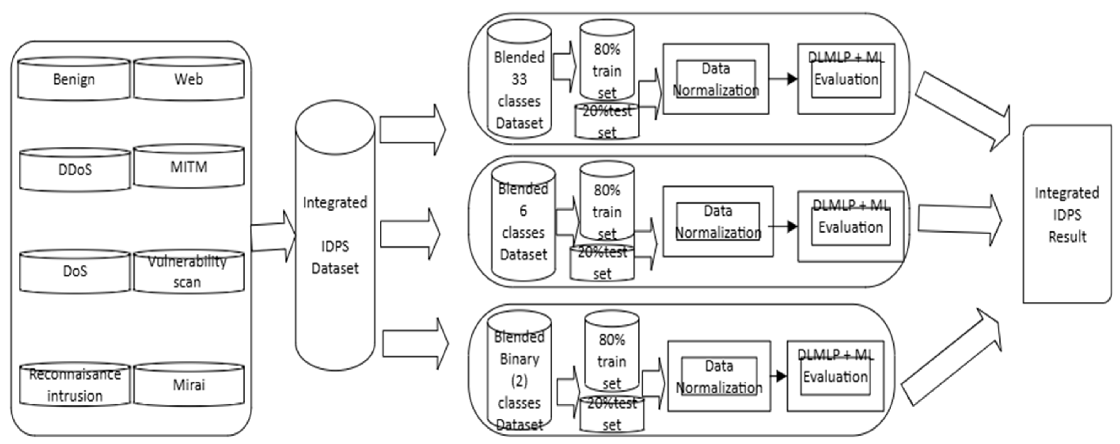
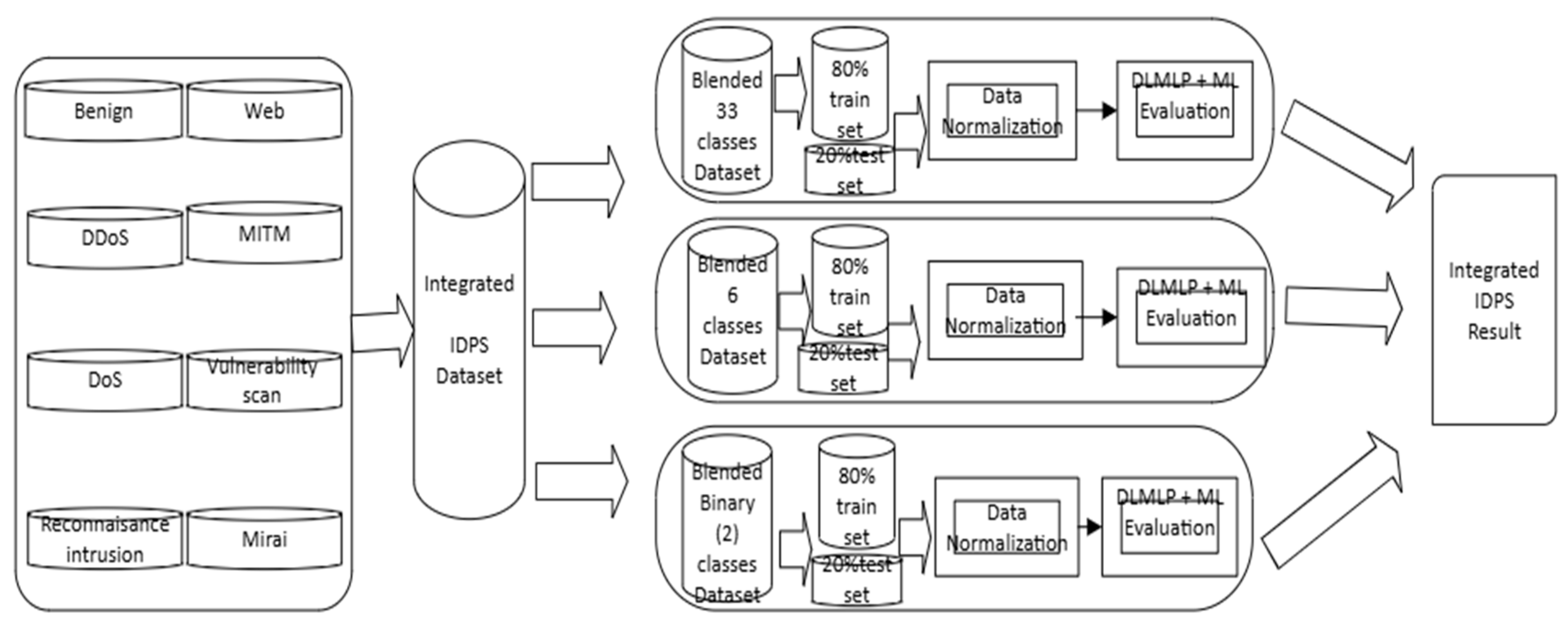
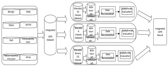
- We implement, document, obtain, and analyze data based on 33 intrusion attacks categorized into six classes against the IoT devices dataset.
- We develop, design, implement, and evaluate the deep learning multilayer perceptron intrusion detection and prevention system (DLMIDPSM) and machine learning (ML). The combined model is known as ML and DLMIDPSM. We use this combined model to classify, detect, and prevent IoT network device traffic that represents benign or malicious attacks.
- We develop performance metrics using the precision, accuracy, F1-score, and confusion matrix to assess the performance of the proposed solution.
2. Literature Review
2.1. Internet of Things Machine Learning-Based IDPS
2.2. Deep Learning-Based Intrusion Detection and Prevention System (IDPS)
3. Proposed Solution and Methodology
3.1. Preliminary Problem Resolution Objectives
3.2. Proposed Methodology
3.3. Intrusion Detection System (IDS) Phase Used in Proposed DLMIDPS Model
| Algorithm 1: Framework Algorithm for Deep Learning Multilayer Perceptron Intrusion Detection and Prevention System (DLMIDPS) Model |
|
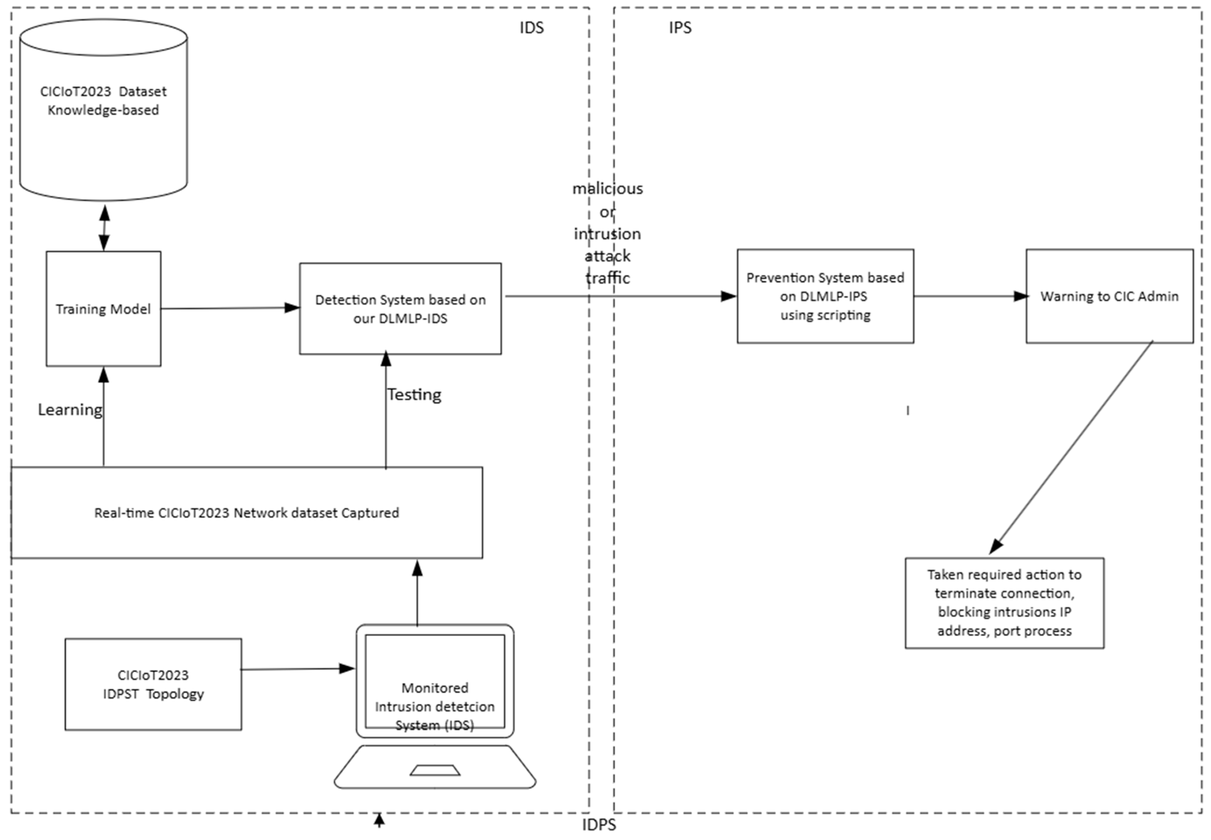
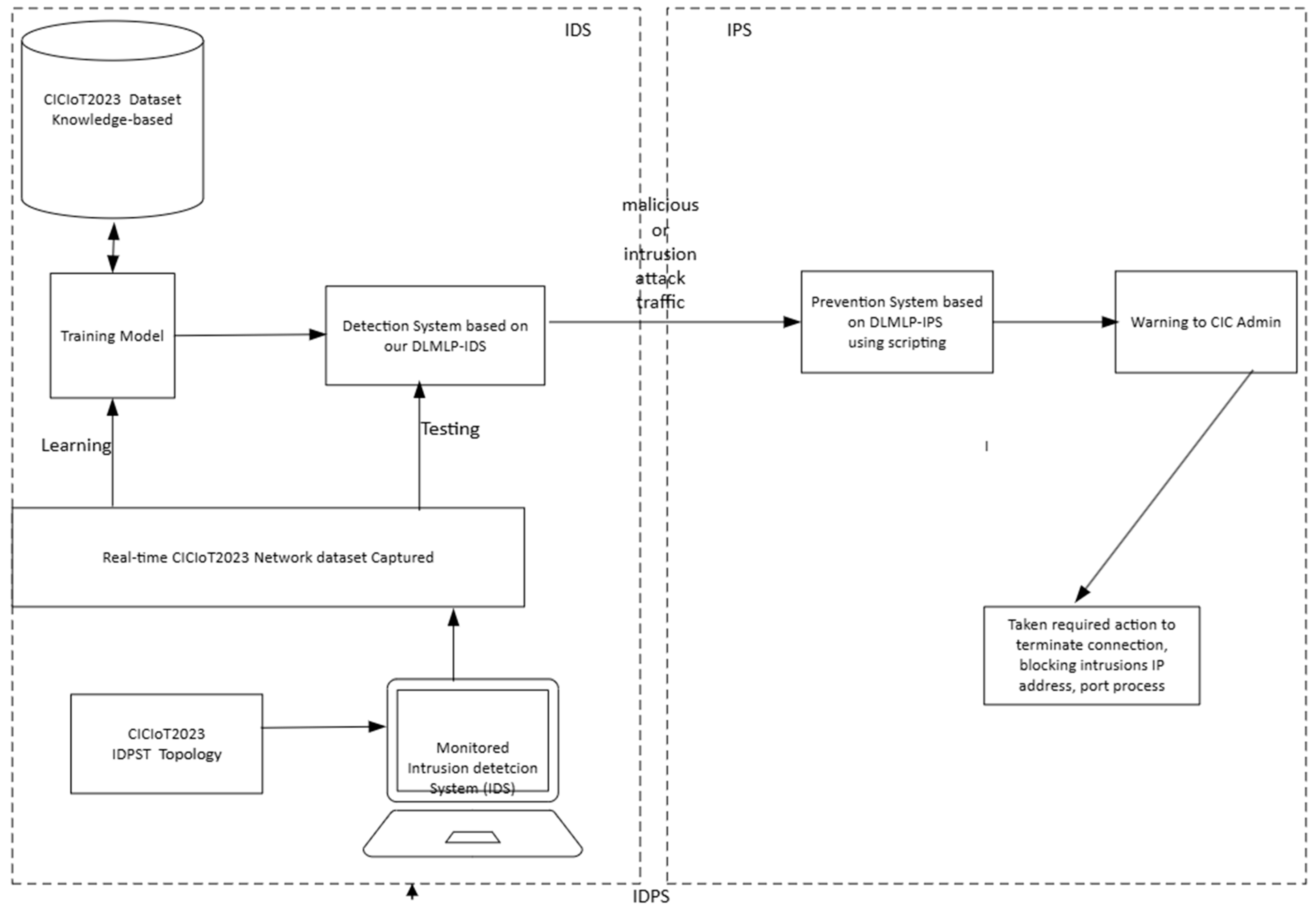
3.4. Proposed DLMIDPSM Predictive Framework for Intrusion Detection and Prevention
3.5. Investigating IDPS Capability and Producing the Dataset
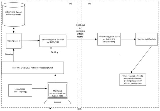
3.6. CIC IoT Lab with IDPS Capability
3.7. Proposed Intrusion Detection and Prevention System Topology (IDPST)
3.8. Benign and Malicious Dataset Collection Scenario from Our IDPST
Generating Intrusion/Malicious Data from the Dataset
3.9. Generating Benign Data from the CICIoT2023 Dataset
3.9.1. DDoS and DoS Intrusion Attacks
3.9.2. IoT Mirai Intrusion Threats
3.10. Preprocessing and Feature Scaling of the Categorical CICIoT2023 Dataset Based on the DLMIDPSM
4. Training and Validating/Testing the Dataset
4.1. Training and Validating the CICIoT2023 Dataset Using Our Proposed DLMIDPSM
4.2. Discussion on Validating the CICIoT2023 Dataset Utilizing the DLMIDPSM
- MOST_SIMPLE_MODEL


- NO_REGULARIZATION_MODEL


4.3. Intrusion Prevention System (IPS) Deep Learning Approach
4.4. Deep Learning Multilayer Perceptron (DLMLP) Role Using Our Proposed DLMIDPSM Algorithm
| Algorithm 2: Proposed DLMIDPSM Training, Classification, and Validation Algorithm |
| Input: X_train, X_validation (CICIoT2023 dataset selected/extracted features) Output: Performance metrics and run time |
|
4.5. Feature Extraction and Data Processing Description Using ML and DLMIDPSM Approach
4.6. Machine Learning (ML) and Deep Learning Multilayer Perceptron Evaluation (DLMLP)
5. Experimental and Simulation Setup Analysis
5.1. Performance Metric Evaluation Measurements Used
- Accuracy: Evaluation of the classification models by identifying the proportion of correct predictions in the given dataset.
- Precision: Ratio of correctly identified labels to the absolute number of positive classifications, based on the formula below.
- Recall: Ratio of correctly identified labels to the total absolute number of occurrences of those labels.
- F1-score: Average geometric based on precision and recall.
5.2. Binary Classification Result Analysis
6. Conclusions
Funding
Data Availability Statement
Acknowledgments
Conflicts of Interest
References
- Nataraj, B.; Duraisamy, P. An Investigation on Attacks in Application Layer Protocols and Ransomeware Threats in Internet of Things. In Proceedings of the 2023 9th International Conference on Advanced Computing and Communication Systems (ICACCS), Coimbatore, India, 17–18 March 2023; pp. 668–672. [Google Scholar]
- Choudhary, V.; Tanwar, S.; Rana, A. Demystifying Security and Applications of Internet of Things. In Proceedings of the 2021 9th International Conference on Reliability, Infocom Technologies and Optimization (Trends and Future Directions) (ICRITO), Noida, India, 3–4 September 2021; pp. 1–5. [Google Scholar]
- Wang, J.; Liu, Y.; Su, W.; Feng, H. A DDoS attack detection based on deep learning in software-defined Internet of things. In Proceedings of the 2020 IEEE 92nd Vehicular Technology Conference (VTC2020-Fall), Victoria, BC, Canada, 18 November–16 December 2020; pp. 1–5. [Google Scholar]
- Villanueva-Miranda, I.; Nazeran, H.; Martinek, R. A Semantic Interoperability Approach to Heterogeneous Internet of Medical Things (IoMT) Platforms. In Proceedings of the 2018 IEEE 20th International Conference on e-Health Networking, Applications and Services (Healthcom), Ostrava, Czech Republic, 17–20 September 2018; pp. 1–5. [Google Scholar]
- Mishra, A.R.; Vishwakarma, N.K.; Shukla, R.; Mishra, R. Internet of Things Application: E-health data acquisition system and Smart agriculture. In Proceedings of the 2022 10th International Conference on Emerging Trends in Engineering and Technology—Signal and Information Processing (ICETET-SIP-22), Nagpur, India, 29–30 April 2022; pp. 1–5. [Google Scholar]
- Kumar, B.J.S.; Sinha, S. An Intrusion Detection and Prevention System against DOS Attacks for Internet-Integrated WSN. In Proceedings of the 2022 7th International Conference on Communication and Electronics Systems (ICCES), Coimbatore, India, 22–24 June 2022; pp. 793–797. [Google Scholar] [CrossRef]
- Selvaraj, S.; Sundaravaradhan, S. Challenges and opportunities in IoT healthcare systems: A systematic review. SN Appl. Sci. 2019, 2, 139. [Google Scholar] [CrossRef]
- Akkaş, M.; Sokullu, R.; Çetin, H.E. Healthcare and patient monitoring using IoT. Internet Things 2020, 11, 100173. [Google Scholar] [CrossRef]
- Zantalis, F.; Koulouras, G.; Karabetsos, S.; Kandris, D. A review of machine learning and IoT in intelligent transportation. Future Internet 2019, 11, 94. [Google Scholar]
- Uma, S.; Eswari, R. Accident prevention and safety assistance using IOT and machine learning. J. Reliab. Intell. Environ. 2021, 8, 79–103. [Google Scholar] [CrossRef]
- Celesti, A.; Galletta, A.; Carnevale, L.; Fazio, M.; Lay-Ekuakille, A.; Villari, M. An IoT Cloud System for Traffic Monitoring and Vehicular Accidents Prevention Based on Mobile Sensor Data Processing. IEEE Sensors J. 2017, 18, 4795–4802. [Google Scholar] [CrossRef]
- Hassan, R.; Sagar, A.K.; Banda, L. Future Internet of Things: A Framework for Next Generation Smart Cities. In Proceedings of the 2021 IEEE 6th International Conference on Computing, Communication and Automation (ICCCA), Arad, Romania, 17–19 December 2021; pp. 106–112. [Google Scholar]
- He, H. Research on the Application of Electronic Technology of Internet of Things in Smart City. In Proceedings of the 2020 International Conference on Intelligent Transportation, Big Data & Smart City (ICITBS), Vientiane, Laos, 11–12 January 2020; pp. 454–457. [Google Scholar]
- Kumar, R.; Sharma, B. Comparative Analysis of Smart Cities based Architecture, Applications, Technologies, & Challenges in Internet of Things. In Proceedings of the 2023 6th International Conference on Information Systems and Computer Networks (ISCON), Mathura, India, 3–4 March 2023; pp. 1–5. [Google Scholar]
- Al-Emran, M.; Malik, S.I.; Al-Kabi, M.N. A Internet of Things (IoT) survey in education: Opportunities and challenges. In Toward Social Internet of Things (IoT): Enabling Technologies, Architectures, and Applications; Springer: Berlin/Heidelberg, Germany, 2020; pp. 197–209. [Google Scholar]
- Nayak, S.; Das, S.; Chakraborty, B.; Chakraborty, T.; Roy, K. Internet of Things (IoT) Based Continuous Growth Rate Monitoring System of Plant Stem. In Proceedings of the 2022 IEEE VLSI Device Circuit and System (VLSI DCS), Kolkata, India, 26–27 February 2022; pp. 275–279. [Google Scholar]
- Shafique, K.; Khawaja, B.A.; Sabir, F.; Qazi, S.; Mustaqim, M. Internet of things (IoT) for next-generation innovative systems: A review of current challenges, future trends and prospects for emerging 5G-IoT scenarios. IEEE Access 2020, 8, 23022–23040. [Google Scholar] [CrossRef]
- Neto, E.C.P.; Dadkhah, S.; Ghorbani, A.A. Collaborative DDoS Detection in Distributed Multi-Tenant IoT using Federated Learning. In Proceedings of the 2022 19th Annual International Conference on Privacy, Security & Trust (PST), Fredericton, NB, Canada, 22–24 August 2022. [Google Scholar]
- Kaur, B.; Dadkhah, S.; Xiong, P.; Iqbal, S.; Ray, S.; Ghorbani, A.A. Verification-based scheme to restrict iot attacks. In Proceedings of the 2021 IEEE/ACM 8th International Conference on Big Data Computing, Applications and Technologies (BDCAT’21), Leicester, UK, 6–9 December 2021; pp. 63–68. [Google Scholar]
- Sharma, S.; Kaushik, B. A survey on internet of vehicles: Applications, security issues & solutions. Veh. Commun. 2019, 20, 100182. [Google Scholar] [CrossRef]
- Guerra, J.L.; Catania, C.; Veas, E. Datasets are insufficient: Challenges in labeling network traffic. Comput. Secure. 2022, 120, 102810. [Google Scholar]
- Kalra, H. An E-Healthcare System Enhancement Via a Dynamic Cloud-Computing Platform. In Proceedings of the 2023 2nd International Conference on Futuristic Technologies (INCOFT), Karnataka, India, 24–26 November 2023; pp. 1–6. [Google Scholar]
- Iqbal, W.; Abbas, H.; Daneshmand, M.; Rauf, B.; Bangash, Y.A. An In-Depth Analysis of IoT Security Requirements, Challenges, and Their Countermeasures via Software-Defined Security. IEEE Internet Things J. 2020, 7, 10250–10276. [Google Scholar] [CrossRef]
- Wurm, J.; Hoang, K.; Arias, O.; Sadeghi, A.-R.; Jin, Y. Security analysis on consumer and industrial IoT devices. In Proceedings of the 2016 21st Asia and South Pacific Design Automation Conference (ASP-DAC), Macao, China, 25–28 January 2016; pp. 519–524. [Google Scholar]
- Nithya, R.; Sundari, J.A.; Kanna, B.R.; Balamurugan, M.S.; Sindhuja, R.; Srivastava, A. Multimodal Sensor Data Fusion Based Cyberattack Detection in Industrial Internet of Things Environment. In Proceedings of the 2023 7th International Conference on Electronics, Communication and Aerospace Technology (ICECA), Coimbatore, India, 22–24 November 2023; pp. 1656–1661. [Google Scholar]
- Balamurugan, B.; Biswas, D. Security in the network layer of IoT: Possible measures to preclude. In Security Breaches and Threat Prevention in the Internet of Things; IGI Global: Hoboken, NJ, USA, 2017; pp. 46–75. [Google Scholar]
- Safi, M.; Dadkhah, S.; Shoeleh, F.; Mahdikhani, H.; Molyneaux, H.; Ghorbani, A.A. A Survey on IoT Profiling, Fingerprinting, and Identification. ACM Trans. Internet Things 2022, 3, 26. [Google Scholar] [CrossRef]
- Elghalhoud, O.; Naik, K.; Zaman, M.; Goel, N. Data balancing and hyper-parameter optimization for machine learning algorithms for secure iot networks. In Proceedings of the 18th ACM International Symposium on QoS and Security for Wireless and Mobile Networks, Montreal, QC, Canada, 24–28 October 2022; pp. 71–78. [Google Scholar]
- Abrishami, M.; Dadkhah, S.; Neto, E.C.P.; Xiong, P.; Iqbal, S.; Ray, S.; Ghorbani, A.A. Label Noise Detection in IoT Security based on Decision Tree and Active Learning. In Proceedings of the 2022 IEEE 19th International Conference on Smart Communities: Improving Quality of Life Using ICT, IoT and AI (HONET), Marietta, GA, USA, 19–21 December 2022; pp. 46–53. [Google Scholar]
- Erfani, M.; Shoeleh, F.; Dadkhah, S.; Kaur, B.; Xiong, P.; Iqbal, S.; Ray, S.; Ghorbani, A.A. A feature exploration approach for IoT attack type classification. In Proceedings of the 2021 IEEE Intl Conf on Dependable, Autonomic and Secure Computing, Intl Conf on Pervasive Intelligence and Computing, Intl Conf on Cloud and Big Data Computing, Intl Conf on Cyber Science and Technology Congress (DASC/PiCom/CBDCom/CyberSciTech), Calgary, AB, Canada, 25–28 October 2021; pp. 582–588. [Google Scholar]
- Krishna, A.; Lal, A.; Mathewkutty, A.J.; Jacob, D.S.; Hari, M. Intrusion Detection and Prevention System Using Deep Learning. In Proceedings of the 2020 International Conference on Electronics and Sustainable Communication Systems (ICESC), Coimbatore, India, 2–4 July 2020; pp. 273–278. [Google Scholar]
- Neto, E.C.P.; Dadkhah, S.; Ferreira, R.; Zohourian, A.; Lu, R.; Ghorbani, A.A. CICIoT2023: A Real-Time Dataset and Benchmark for Large-Scale Attacks in IoT Environment. Sensors 2023, 23, 5941. [Google Scholar] [CrossRef] [PubMed]
- Adebayo, P.O.; Abdulahi, M.J.; Lawrence, O.M.; Ibrahim, Y.A.; Faki, S.A.; Hassan, B.A. An Artificial Intelligence-based Ensemble Technique for Intrusion Detection and Prevention in IoT Systems. In Proceedings of the 2024 International Conference on Science, Engineering and Business for Driving Sustainable Development Goals (SEB4SDG), Omu-Aran, Nigeria, 2–4 April 2024; pp. 1–6. [Google Scholar]
- Manivannan, R. Improving IoT Security with AI-Powered Anomaly Detection and Intrusion Prevention. In Proceedings of the 2023 International Conference on Innovative Computing, Intelligent Communication and Smart Electrical Systems (ICSES), Chennai, India, 14–15 December 2023; pp. 1–5. [Google Scholar]
- Adrian, R.; Okke, A.J.; Somardani, M.A.R.; Widiasari, T. Determination of Attack Points on IoT Devices based on Particle Swarm Optimization to Support Intrusion Prevention System. In Proceedings of the 2022 5th International Seminar on Research of Information Technology and Intelligent Systems (ISRITI), Yogyakarta, Indonesia, 8–9 December 2022; pp. 47–50. [Google Scholar]
- Kauhsik, B.; Nandanwar, H.; Katarya, R. IoT Security: A Deep Learning-Based Approach for Intrusion Detection and Prevention. In Proceedings of the 2023 International Conference on Evolutionary Algorithms and Soft Computing Techniques (EASCT), Bengaluru, India, 20–21 October 2023; pp. 1–7. [Google Scholar]
- Geetha, K.; Sreedevi, A.G.; Chadha, A.R. Unraveling IoT Network Security with Snort for Robust Intrusion Detection and Prevention. In Proceedings of the 2024 IEEE International Conference on Contemporary Computing and Communications (InC4), Bangalore, India, 15–16 March 2024; pp. 1–6. [Google Scholar]
- Ramaiah, N.S.; Andrews, S.K.; Shenbagharaman, A.; Gowtham, M.S.; Bhaskar, B.; Tiwari, M. Enhancing IoT Security Through AI-Based Anomaly Detection and Intrusion Prevention. In Proceedings of the 2023 6th International Conference on Contemporary Computing and Informatics (IC3I), Gautam Buddha Nagar, India, 14–16 September 2023; pp. 1786–1790. [Google Scholar]
- Ashish, K.; Manoj, K. Classification of Deep Learning methods in Intrusion Detection for IoT Devices. In Proceedings of the 2024 International Conference on Data Science and Network Security (ICDSNS), Tiptur, India, 26–27 July 2024; pp. 1–6. [Google Scholar]
- Sushant, C.G.; Ajay, V.L.; Sahay, R. A Comparative Analysis of Deep Learning Algorithms for Intrusion Detection in IoT. In Proceedings of the 2024 International Conference on Emerging Techniques in Computational Intelligence (ICETCI), Hyderabad, India, 22–24 August 2024; pp. 402–407. [Google Scholar]
- Devi, V.A.; Bhuvaneswari, E.; Tummala, R.K. Decentralized Hybrid Intrusion Detection System for Cyber Attack Identification using Machine Learning. In Proceedings of the 2023 International Conference on Data Science, Agents & Artificial Intelligence (ICDSAAI), Chennai, India, 21–23 December 2023; pp. 1–5. [Google Scholar]
- Saba, T.; Sadad, T.; Rehman, A.; Mehmood, Z.; Javaid, Q. Intrusion Detection System Through Advance Machine Learning for the Internet of Things Networks. IT Prof. 2021, 23, 58–64. [Google Scholar] [CrossRef]
- Alghaithi, H.R.O.; Alshehhi, M.M.A.M.; Murugan, T. IoT Network Anomaly Detection Using Machine Learning and Deep Learning Techniques—Research Study. In Proceedings of the 2024 IEEE Students Conference on Engineering and Systems (SCES), Prayagraj, India, 21–23 June 2024; pp. 1–6. [Google Scholar]
- Maithem, M.; Al-Sultany, G.A. Network intrusion detection system using deep neural networks. J. Phys. Conf. Ser. 2021, 1804, 012138. [Google Scholar] [CrossRef]
- Bhatia, V.; Choudhary, S.; Ramkumar, K.R. A Comparative Study on Various Intrusion Detection Techniques Using Machine Learning and Neural Network. In Proceedings of the 2020 8th International Conference on Reliability Infocom Technologies and Optimization (Trends and Future Directions) (ICRITO), Noida, India, 4–5 June 2020. [Google Scholar]
- Keturahlee, C. An overview of Intrusion Detection and Prevention Systems. arXiv 2020, arXiv:2004.08967. [Google Scholar] [CrossRef]
- Kumari, A.; Mehta, A.K. A Hybrid Intrusion Detection System Based on Decision Tree and Support Vector Machine. In Proceedings of the 2020 IEEE 5th International Conference on Computing Communication and Automation (ICCCA), Greater Noida, India, 30–31 October 2020. [Google Scholar]
- Ge, M.; Fu, X.; Syed, N.; Baig, Z.; Teo, G.; Robles-Kelly, A. Deep Learning-Based Intrusion Detection for IoT Networks. In Proceedings of the 2019 IEEE 24th Pacific Rim International Symposium on Dependable Computing (PRDC), Kyoto, Japan, 1–3 December 2019; pp. 256–25609. [Google Scholar]
- Zachos, G.; Mantas, G.; Essop, I.; Porfyrakis, K.; Ribeiro, J.C.; Rodriguez, J. Prototyping an Anomaly-Based Intrusion Detection System for Internet of Medical Things Networks. In Proceedings of the 2022 IEEE 27th International Workshop on Computer Aided Modeling and Design of Communication Links and Networks (CAMAD), Paris, France, 2–3 November 2022; pp. 179–183. [Google Scholar]
- Bock, L. Learn Wireshark: A Definitive Guide to Expertly Analyzing Protocols and Troubleshooting Networks Using Wireshark; Packt Publishing: Birmingham, UK, 2022. [Google Scholar]
- Bhat, C.; Mane, S.B.; Bhatt, C.; Verma, G.; Naser, S.J.; Jweeg, M. Enhancement of Level of Security using Wireshark Through Continuous Monitoring and Detection System. In Proceedings of the 2024 4th International Conference on Advance Computing and Innovative Technologies in Engineering (ICACITE), Greater Noida, India, 14–15 May 2024; pp. 342–344. [Google Scholar]
- Stančin, I.; Jović, A. An overview and comparison of free Python libraries for data mining and big data analysis. In Proceedings of the 2019 42nd International Convention on Information and Communication Technology, Electronics and Microelectronics (MIPRO), Opatija, Croatia, 20–24 May 2019; pp. 977–982. [Google Scholar] [CrossRef]
- Oktivasari, P.; Zain, A.R.; Agustin, M.; Kurniawan, A.; Murad, F.A.; Anshor, M.F. Analysis of Effectiveness of Iptables on Web Server from Slowloris Attack. In Proceedings of the 2022 5th International Conference of Computer and Informatics Engineering (IC2IE), Jakarta, Indonesia, 13–14 September 2022; pp. 215–219. [Google Scholar]
- Pande, P.; Mathur, H.; Gupta, L.K. Machine Learning-based Intrusion Detection System using Wireless Sensor Networks. In Proceedings of the 2024 Fourth International Conference on Advances in Electrical, Computing, Communication and Sustainable Technologies (ICAECT), Bhilai, India, 11–12 January 2024; pp. 1–10. [Google Scholar]
- Li, J.; Othman, M.S.; Chen, H.; Yusuf, L.M. Optimizing IoT intrusion detection system: Feature selection versus feature extraction in machine learning. J. Big Data 2024, 11, 1–44. [Google Scholar] [CrossRef]
- Amato, F.; Mazzocca, N.; Moscato, F.; Vivenzio, E. Multilayer perceptron: An intelligent model for classification and intrusion detection. In Proceedings of the 2017 31st International Conference on Advanced Information Networking and Applications Workshops (WAINA), Taipei, Taiwan, 27–29 March 2017; pp. 686–691. [Google Scholar] [CrossRef]
- Sajid, M.; Malik, K.R.; Almogren, A.; Malik, T.S.; Khan, A.H.; Tanveer, J.; Rehman, A.U. Enhancing intrusion detection: A hybrid machine and deep learning approach. J. Cloud Comput. 2024, 13, 1–24. [Google Scholar] [CrossRef]
- Shi, G.; Hao, H.; Lei, J.; Zhu, Y. Application security system design of Internet of Things based on blockchain technology. In Proceedings of the 2021 International Conference on Computer, Internet of Things and Control Engineering (CITCE), Guangzhou, China, 12–14 November 2021; pp. 134–137. [Google Scholar]
- Sharafaldin, I.; Lashkari, A.H.; Ali, A. Toward Generating a New Intrusion Detection Dataset and Intrusion Traffic Characterization. In Proceedings of the 4th International Conference on Information Systems Security and Privacy (ICISSP 2018), Madeira, Portugal, 22–24 January 2018. [Google Scholar]
- Kadam, G.; Parekh, S.; Agnihotri, P.; Ambawade, D.; Bhavathankar, P. An Approach to Reduce Uncertainty Problem in Network Intrusion Detection Systems. In Proceedings of the 2020 IEEE 15th International Conference on Industrial and Information Systems (ICIIS), Rupnagur, India, 26–28 November 2020; pp. 586–590. [Google Scholar]
- DPKT. Dpkt Documentation. 2022. Available online: https://dpkt.readthedocs.io/en/latest/ (accessed on 19 June 2023).
- Ferrag, M.A.; Friha, O.; Hamouda, D.; Maglaras, L.; Janicke, H. Edge-IIoTset: A new comprehensive, realistic cyber security dataset of IoT and IoT applications for centralized and federated learning. IEEE Access 2022, 10, 40281–40306. [Google Scholar] [CrossRef]
- Bilal, M.; Ali, G.; Iqbal, M.W.; Anwar, M.; Malik, M.S.A.; Kadir, R.A. Auto-Prep: Efficient and Automated Data Preprocessing Pipeline. IEEE Access 2022, 10, 107764–107784. [Google Scholar] [CrossRef]
- Vadlamani, A.; Kalicheti, R.; Chimalakonda, S. APIScanner—Towards Automated Detection of Deprecated APIs in Python Libraries. In Proceedings of the 2021 IEEE/ACM 43rd International Conference on Software Engineering: Companion Proceedings (ICSE-Companion), Madrid, Spain, 25–28 May 2021; IEEE: Piscataway, NJ, USA, 2021. [Google Scholar]
- Hakim, M.I.N.; Siswanto, J.; Qalban, A.A.; Nuryono, A.A. Increasing the Accuracy of Classification Models with a Scaler for Bus Rapid Transit (BRT) Reliability Values. In Proceedings of the 2024 International Conference on Electrical Engineering and Computer Science (ICECOS), Palembang, Indonesia, 25–26 September 2024; pp. 211–216. [Google Scholar]
















| DLMIDPS Models (Proposed) | Accuracy for Training/Validation (%) | Loss for Training/Validation (%) |
|---|---|---|
| Complete_model | 85 | 2 |
| No_regularization_model | 80 | 1 |
| Most_simple_model | 78 | 0.5 |
| Number | Feature | Description |
|---|---|---|
| 1 | Fin flag number | Finish flag value |
| 2 | Syn flag number | Synchronous flag value |
| 3 | Psh flag number | Push flag value |
| 4 | Ack flag number | Acknowledgment flag value |
| 5 | Ece flag number | Explicit congestion notification echo value |
| 6 | Car flag number | The congestion window reduced the number |
| 7 | HTTP | Indicates if the application layer protocol is HTTP |
| 8 | HTTPS | Indicates if the application layer is HTTPS |
| 9 | DNS | Indicates if the application layer protocol uses DNS |
| 10 | Telnet | Indicates if the application layer protocol uses Telnet |
| 11 | SMTP | Indicates if the application layer protocol is SMTP |
| 12 | SSH | Indicates if the application layer protocol is SSH |
| 13 | IRC | Indicates if the application layer protocol is IRC |
| 14 | TCP | Indicates if the application layer protocol is TCP |
| 15 | UDP | Indicates if the application layer protocol is UDP |
| 16 | DHCP | Indicates if the application layer protocol is HTTP |
| 17 | ARP | Indicates if the application layer protocol is ARP |
| 18 | ICMP | Indicates if the network layer protocol is ICMP |
| 19 | IPv | Indicates if the network layer protocol is IP |
| 20 | Flow duration | The duration of packet flow |
| 21 | Header length | Header length in protocol header |
| 22 | Protocol Type | |
| 23 | Duration | Time-to-Live (TTL) |
| 24 | Rate | Packet transmission rate in flow |
| 25 | State | The outbound packet transmission rate in flow |
| 26 | Date | The inbound packet transmission rate in flow |
| 27 | Ack count | Packet amount with ack flag set in the same flow |
| 28 | Syn count | Packet amount with the syn flag set in the same flow |
| 29 | Fin count | Packet amount with fin flag set in the same flow |
| 30 | Urg count | Packet amount with urg flag set in the same flow |
| 31 | Rest count | Packet amount with rst flag set in the same flow |
| 32 | Tot sum | Packet summation length in flow |
| 33 | Min | The minimum packet length in flow |
| 34 | Max | The maximum packet length in flow |
| 35 | AVG | The average packet length in flow |
| 36 | Std | Standard deviation of packet length in flow |
| 37 | Tot size | Packet length summation in flow |
| 38 | IAT | Time difference based on the previous packet |
| 39 | Magnitude | (Average incoming packet lengths in flow + averages of the length of the outgoing packet in the flow) |
| 40 | Radius | (Incoming packet variance lengths in flow + outgoing packet variance lengths in flow) |
| 41 | Covariance | Incoming and outgoing packet covariance lengths |
| 42 | Variance | Variance lengths of incoming packets in flow/variance lengths of outgoing packets in flow |
| 43 | Weight | Incoming packet amount × outgoing packet amount |
| 44 | Number | The packet amount in flow |
| Parameter | Value |
|---|---|
| Learning Table Rate | |
| Sample Batch Size | 256 |
| Optimizer | Adam |
| Activation Functions | SoftMax and Relu |
| Number of Epochs | Max 100 |
| Binary Classification | Cross Entropy |
| GPU | RTX3072 |
| Processor | Intel Xeon W 1370 |
| Windows Platform | 11 has 16GB RAM, SSD |
| Language Platform | Python, Jupiter Notebook |
| Classification Method | Binary |
| Libraries | Pandas, Scikit, Tensor flow, Keara |
| Dataset Used | CICIoT2023 dataset |
| Precision | Recall | F1-Score | Support | |
|---|---|---|---|---|
| BenignTraffic | 0.00 | 0.00 | 0.00 | 2489 |
| DDoS | 0.82 | 0.99 | 0.90 | 76,498 |
| DoS | 0.88 | 0.39 | 0.54 | 18,053 |
| MITM | 0.00 | 0.00 | 0.00 | 706 |
| Mirai | 0.99 | 0.62 | 0.77 | 5838 |
| Recon | 0.71 | 0.25 | 0.37 | 703 |
| accuracy | 0.85 | 104,287 | ||
| macro avg | 0.57 | 0.38 | 0.43 | 104,287 |
| weighted avg | 0.81 | 0.83 | 0.80 | 104,287 |
Disclaimer/Publisher’s Note: The statements, opinions and data contained in all publications are solely those of the individual author(s) and contributor(s) and not of MDPI and/or the editor(s). MDPI and/or the editor(s) disclaim responsibility for any injury to people or property resulting from any ideas, methods, instructions or products referred to in the content. |
© 2025 by the author. Published by MDPI on behalf of the International Institute of Knowledge Innovation and Invention. Licensee MDPI, Basel, Switzerland. This article is an open access article distributed under the terms and conditions of the Creative Commons Attribution (CC BY) license (https://creativecommons.org/licenses/by/4.0/).
Share and Cite
Erskine, S.K. Real-Time Large-Scale Intrusion Detection and Prevention System (IDPS) CICIoT Dataset Traffic Assessment Based on Deep Learning. Appl. Syst. Innov. 2025, 8, 52. https://doi.org/10.3390/asi8020052
Erskine SK. Real-Time Large-Scale Intrusion Detection and Prevention System (IDPS) CICIoT Dataset Traffic Assessment Based on Deep Learning. Applied System Innovation. 2025; 8(2):52. https://doi.org/10.3390/asi8020052
Chicago/Turabian StyleErskine, Samuel Kofi. 2025. "Real-Time Large-Scale Intrusion Detection and Prevention System (IDPS) CICIoT Dataset Traffic Assessment Based on Deep Learning" Applied System Innovation 8, no. 2: 52. https://doi.org/10.3390/asi8020052
APA StyleErskine, S. K. (2025). Real-Time Large-Scale Intrusion Detection and Prevention System (IDPS) CICIoT Dataset Traffic Assessment Based on Deep Learning. Applied System Innovation, 8(2), 52. https://doi.org/10.3390/asi8020052
