Modeling of the Modification Process of an Epoxy Basalt-Filled Oligomer in Traveling Wave Microwave Chambers
Abstract
:1. Introduction
2. Mathematical Models of Electro-Dynamic and Thermal Processes during Microwave Modification of Oligomers
- -
- Constructing a geometric model;
- -
- Setting equations that describe the process of microwave heat treatment under consideration, taking into account the corresponding relationship of these equations;
- -
- Setting the boundary and initial conditions;
- -
- Setting the properties of the model materials;
- -
- Creating a finite element mesh;
- -
- Developing the solution algorithm;
- -
- Launching a solution or a series of solutions with varying parameters;
- -
- Conclusions and analysis of modeling results.
- -
- Initial data for modeling:
- -
- Physical properties of EBO, its components, and fluoroplastic used as cuvettes and tubes for moving the oligomer in the microwave chambers are shown in Table 1.
3. Modeling of the Process of Oligomer Modification in Microwave Chambers with a Traveling Wave of a Waveguide Type
3.1. Option I. Microwave Modification of the Oligomer in a Fixed Cuvette 50 × 40 × 10 mm in Size
- The maximum electric field strength in the modified EBO is 7.58 × 103 V/m (Figure 3), which is 36% less than E found during the experiment.
- The distribution of the temperature field over the volume of the sample is uneven. For a heating time of 24 s, the temperature inside (in the middle section) is 160 °C, and on the outer surface of the oligomer it is 138 °C (Figure 5). The temperature in the middle of the outer surface of the sample at an instant of time 24 s is 130 °C (Figure 4b).
3.2. Option II. Microwave Modification of the Oligomer in a Fixed Cuvette with a Cross Section of 40 × 10 mm
- It has been stated that the maximum electric field strength E near the input of microwave energy into the chamber is 8.5·103 V/m (Figure 7b), which is 28% less than the experimentally determined E.
- The temperature in the oligomer at 24 s is distributed unevenly. By the thickness of the sample in the area of the electric field maximum, the temperature varies from 100 °C to 182 °C (Figure 8b). Along the length of the cuvette, the temperature in the material is also uneven: the temperature maximum is observed near the microwave energy input in the region that is about 3 cm wide (Figure 8a).
3.3. Option III. Microwave Modification of the Oligomer in a Moving Cuvette with a Cross Section of 40 × 10 mm
- The maximum electric field strength E near the input of microwave energy into the chamber is 8.2 × 103 V/m (Figure 10a), which is 31% less than the experimentally determined E.
- For the cuvette movement speed v = 0.5 cm/s at microwave power P = 400 W, the EBO temperature increases during 50 s to Tc = 265 °C in the middle section of the material and to Tp = 235 °C on its surface, which is higher than the EBO destruction temperature. The temperature maximum in the object shifts in the direction of the cuvette movement along the microwave chamber. The time to reach the maximum temperature at the control points of the sample in the center of the microwave chamber is 30–35 s at a speed of v = 0.5 cm/s.
3.4. Option IV. Microwave Modification of the Oligomer during Its Transportation through a Rectangular Tube
- The maximum electric field strength E near the input of microwave energy into the chamber is an order of magnitude lower than the experimental E and is 1.1 × 103 V/m (Figure 13a).
- For a motion velocity v = 0.5 cm/s at microwave power P = 400 W, the temperature of the sample rises during 50 s to Tc = 330 °C in the middle section of the material and to Tp = 190 °C on the material surface; at such temperatures in the middle section of the EBO, the oligomer is destroyed. The temperature maximum in the composite material shifts in the direction of the motion along the microwave chamber. The time taken to reach the maximum temperature at the control points of the sample in the center of the microwave chamber is 40 s.
3.5. Modeling of the Modification Process of an Epoxy Basalt-Filled Oligomer in a Microwave Chamber with a Traveling Wave on a Quasi-Coaxial Waveguide
- The dimensions of the microwave chamber on a quasi-coaxial waveguide and the internal diameter of the fluoroplastic tube, d = 16 mm, through which the EBO is transported, have been determined.
- The maximum electric field strength is 12.3 × 103 V/m, which is comparable with the experimental data.
- At microwave power Pmic = 300 W for a movement speed v = 1.0 cm/s, the temperature of the oligomer during 10 s increases to Ts = 202 °C in the middle section of the object and to Tsurf = 180 °C on the EBO surface; that is, the material is not heated above 220 ± 10 °C.
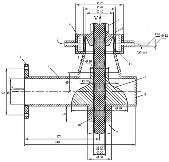
3.6. Design of the Working Chamber for Microwave Modification of an Epoxy Basalt-Filled Oligomer
4. Conclusions
Author Contributions
Funding
Data Availability Statement
Conflicts of Interest
References
- Ojogbo, E.; Ogunsona, E.O.; Mekonnen, T.H. Chemical and physical modifications of starch for renewable polymeric materials. Mater. Today Sustain. 2020, 7–8, 100028. [Google Scholar] [CrossRef]
- Studentsov, V.N.; Pyataev, I.V. Effect of vibration in processes of structure formation in polymers. Russ. J. Appl. Chem. 2014, 87, 352–354. [Google Scholar] [CrossRef]
- Weltmann, K.-D.; Kolb, J.F.; Holub, M.; Uhrlandt, D.; Šimek, M.; Ostrikov, K.; Hamaguchi, S.; Cvelbar, U.; Černák, M.; Locke, B.; et al. The future for plasma science and technology. Plasma Process. Polym. 2019, 16, 1800118. [Google Scholar] [CrossRef]
- Singh, M.; Vajpayee, M.; Ledwani, L. Eco-friendly Surface Modification and Nanofinishing of Textile Polymers to Enhance Functionalisation. In Nanotechnology for Energy and Environmental Engineering; Ledwani, L., Sangwai, J., Eds.; Springer International Publishing: Cham, Switzerland, 2020; pp. 529–559. ISBN 978-3-030-33774-2. [Google Scholar]
- Leon-Garzon, A.R.; Dotelli, G.; Tommasini, M.; Bianchi, C.L.; Pirola, C.; Villa, A.; Lucotti, A.; Sacchi, B.; Barbieri, L. Experimental Characterization of Polymer Surfaces Subject to Corona Discharges in Controlled Atmospheres. Polymers 2019, 11, 1646. [Google Scholar] [CrossRef]
- Abdel-Rahman, H.A.; Awad, E.H.; Fathy, R.M. Effect of modified nano zinc oxide on physico-chemical and antimicrobial properties of gamma-irradiated sawdust/epoxy composites. J. Compos. Mater. 2020, 54, 331–343. [Google Scholar] [CrossRef]
- Kacem, I.; Daoudi, M.; Dridi, W.; Sellemi, H.; Harzli, K.; De Izzara, G.; Geslot, B.; Guermazi, H.; Blaise, P.; Hosni, F.; et al. Effects of neutron–gamma radiation on the free radical contents in epoxy resin: Upconversion luminescence and structural stabilization. Appl. Phys. A 2019, 125, 758. [Google Scholar] [CrossRef]
- Kolosov, A.E.; Sivetskii, V.I.; Kolosova, E.P.; Vanin, V.V.; Gondlyakh, A.V.; Sidorov, D.E.; Ivitskiy, I.I.; Symoniuk, V.P. Use of Physicochemical Modification Methods for Producing Traditional and Nanomodified Polymeric Composites with Improved Operational Properties. Int. J. Polym. Sci. 2019, 2019, 1258727. [Google Scholar] [CrossRef]
- Zhang, J.; Duan, Y.; Wang, B.; Zhang, X. Interfacial enhancement for carbon fibre reinforced electron beam cured polymer composite by microwave irradiation. Polymer 2020, 192, 122327. [Google Scholar] [CrossRef]
- Benega, M.A.G.; Silva, W.M.; Schnitzler, M.C.; Andrade, R.J.E.; Ribeiro, H. Improvements in thermal and mechanical properties of composites based on epoxy-carbon nanomaterials-A brief landscape. Polym. Test. 2021, 98, 107180. [Google Scholar] [CrossRef]
- Sun, S.; Sha, X.; Liang, J.; Yang, G.; Hu, X.; He, Z.; Liu, M.; Zhou, N.; Zhang, X.; Wei, Y. Rapid synthesis of polyimidazole functionalized MXene via microwave-irradiation assisted multi-component reaction and its iodine adsorption performance. J. Hazard. Mater. 2021, 420, 126580. [Google Scholar] [CrossRef]
- Menéndez, J.A.; Arenillas, A.; Fidalgo, B.; Fernández, Y.; Zubizarreta, L.; Calvo, E.G.; Bermúdez, J.M. Microwave heating processes involving carbon materials. Fuel Process. Technol. 2010, 91, 1–8. [Google Scholar] [CrossRef]
- Laporterie, A.; Marquié, J.; Dubac, J. Microwave-Assisted Reactions on Graphite. In Microwaves in Organic Synthesis; John Wiley & Sons: Hoboken, NJ, USA, 2002; pp. 219–252. ISBN 978-3-527-60177-6. [Google Scholar]
- Omoriyekomwan, J.E.; Tahmasebi, A.; Dou, J.; Wang, R.; Yu, J. A review on the recent advances in the production of carbon nanotubes and carbon nanofibers via microwave-assisted pyrolysis of biomass. Fuel Process. Technol. 2021, 214, 106686. [Google Scholar] [CrossRef]
- Sun, Y.; Zhang, P.; Hu, J.; Liu, B.; Yang, J.; Liang, S.; Xiao, K.; Hou, H. A review on microwave irradiation to the properties of geopolymers: Mechanisms and challenges. Constr. Build. Mater. 2021, 294, 123491. [Google Scholar] [CrossRef]
- Gao, C.; Li, M.; Zhu, C.; Hu, Y.; Shen, T.; Li, M.; Ji, X.; Lyu, G.; Zhuang, W. One-pot depolymerization, demethylation and phenolation of lignin catalyzed by HBr under microwave irradiation for phenolic foam preparation. Compos. Part B Eng. 2021, 205, 108530. [Google Scholar] [CrossRef]
- Kempe, K.; Becer, C.R.; Schubert, U.S. Microwave-Assisted Polymerizations: Recent Status and Future Perspectives. Macromolecules 2011, 44, 5825–5842. [Google Scholar] [CrossRef]
- Abutalipova, E.M.; Bugai, D.E.; Avrenyuk, A.N.; Strel’tsov, O.B.; Sungatullin, I.R. Investigation of the Effect of Microwave-Radiation Energy Flux on the Structure and Properties of Polymeric Insulating Materials. Chem. Pet. Eng. 2016, 52, 212–216. [Google Scholar] [CrossRef]
- Belkhir, K.; Riquet, G.; Becquart, F. Polymer Processing under Microwaves. Adv. Polym. Technol. 2022, 2022, 3961233. [Google Scholar] [CrossRef]
- Kadykova, Y.A. A structural polymeric composite material reinforced with basalt fiber. Russ. J. Appl. Chem. 2012, 85, 1434–1438. [Google Scholar] [CrossRef]
- Bogiatzidis, C.; Zoumpoulakis, L. Thermoset Polymer Matrix Composites of Epoxy, Unsaturated Polyester, and Novolac Resin Embedding Construction and Demolition Wastes powder: A Comparative Study. Polymers 2021, 13, 737. [Google Scholar] [CrossRef]
- Shcherbakov, A.; Mostovoy, A.; Bekeshev, A.; Burmistrov, I.; Arzamastsev, S.; Lopukhova, M. Effect of Microwave Irradiation at Different Stages of Manufacturing Unsaturated Polyester Nanocomposite. Polymers 2022, 14, 4594. [Google Scholar] [CrossRef]
- Englert, C.; Schwenke, A.M.; Hoeppener, S.; Weber, C.; Schubert, U.S. Microwave-Assisted Polymer Modifications. In Microwave-Assisted Polymer Synthesis; Hoogenboom, R., Schubert, U.S., Wiesbrock, F., Eds.; Springer International Publishing: Cham, Switzerland, 2016; pp. 209–240. ISBN 978-3-319-42241-1. [Google Scholar]
- Galos, J. Microwave processing of carbon fibre polymer composites: A review. Polym. Polym. Compos. 2021, 29, 151–162. [Google Scholar] [CrossRef]
- Bonab, V.S.; Karimkhani, V.; Manas-Zloczower, I. Ultra-Fast Microwave Assisted Self-Healing of Covalent Adaptive Polyurethane Networks with Carbon Nanotubes. Macromol. Mater. Eng. 2019, 304, 1800405. [Google Scholar] [CrossRef]
- Shcherbakov, A.S.; Mostovoy, A.S.; Yakovlev, N.A.; Arzamastsev, S.V. Effect of Carbon Nanotube Functionalization on the Physicochemical and Mechanical Properties of Modified Fiber-Reinforced Composites Based on an Epoxy Resin. Russ. J. Appl. Chem. 2021, 94, 1080–1087. [Google Scholar] [CrossRef]
- Bekeshev, A.; Mostovoy, A.; Tastanova, L.; Kadykova, Y.; Kalganova, S.; Lopukhova, M. Reinforcement of Epoxy Composites with Application of Finely-ground Ochre and Electrophysical Method of the Composition Modification. Polymers 2020, 12, 1437. [Google Scholar] [CrossRef] [PubMed]
- Kondratov, D.V.; Barulina, M.A.; Ulitin, I.V.; Bekrenev, N.V.; Zlobina, I.V. Principles of constructing a mathematical model of thermal heating of a composite under microwave exposure. AIP Conf. Proc. 2023, 2999, 020044. [Google Scholar] [CrossRef]
- Kosarev, A.V.; Studentsov, V.N. A Layered Model of the Curing Kinetics of Oligomer Resins. Int. Polym. Sci. Technol. 2014, 41, 49–54. [Google Scholar] [CrossRef]
- Hidalgo, P.; Echeverria, A.; Romero, L.; Navia, R.; Hunter, R. Microwave-assisted epoxidized oil production from the wet microalga Nannochloropsis gaditana to obtain environmentally friendly epoxy resins. Chem. Eng. Process. Process. Intensif. 2023, 183, 109215. [Google Scholar] [CrossRef]
- Bekeshev, A.; Vasinkina, E.; Kalganova, S.; Kadykova, Y.; Mostovoy, A.; Shcherbakov, A.; Lopukhova, M.; Aimaganbetova, Z. Microwave Modification of an Epoxy Basalt-Filled Oligomer to Improve the Functional Properties of a Composite Based on It. Polymers 2023, 15, 2024. [Google Scholar] [CrossRef]
- Lu, H.; Zhang, A.; Zhang, Y.; Ding, L.; Zheng, Y. The effect of polymer polarity on the microwave absorbing properties of MWNTs. RSC Adv. 2015, 5, 64925–64931. [Google Scholar] [CrossRef]
- Haider, I.; Gul, I.H.; Umer, M.A.; Baig, M.M. Silica-Fiber-Reinforced Composites for Microelectronic Applications: Effects of Curing Routes. Materials 2023, 16, 1790. [Google Scholar] [CrossRef]
- Tominaga, Y.; Shimamoto, D.; Hotta, Y. Curing Effects on Interfacial Adhesion between Recycled Carbon Fiber and Epoxy Resin Heated by Microwave Irradiation. Materials 2018, 11, 493. [Google Scholar] [CrossRef] [PubMed]




















| Physical Properties | EBO | Fluoroplastic |
|---|---|---|
| Thermal conductivity coefficient, W/(m K) | 0.124 | 0.25 |
| Specific heat capacity, J/(kg K) | 580 | 1040 |
| Density, kg/m3 | 1607 | 2200 |
| Dynamic viscosity, Pa s | 6.519 | - |
| Relative permittivity | 4.921 | 2.1 |
| Loss ratio | 1.55 | 0.000252 |
Disclaimer/Publisher’s Note: The statements, opinions and data contained in all publications are solely those of the individual author(s) and contributor(s) and not of MDPI and/or the editor(s). MDPI and/or the editor(s) disclaim responsibility for any injury to people or property resulting from any ideas, methods, instructions or products referred to in the content. |
© 2023 by the authors. Licensee MDPI, Basel, Switzerland. This article is an open access article distributed under the terms and conditions of the Creative Commons Attribution (CC BY) license (https://creativecommons.org/licenses/by/4.0/).
Share and Cite
Bekeshev, A.; Vasinkina, E.; Kalganova, S.; Trigorly, S.; Kadykova, Y.; Mostovoy, A.; Shcherbakov, A.; Lopukhova, M.; Zhanturina, N. Modeling of the Modification Process of an Epoxy Basalt-Filled Oligomer in Traveling Wave Microwave Chambers. J. Compos. Sci. 2023, 7, 392. https://doi.org/10.3390/jcs7090392
Bekeshev A, Vasinkina E, Kalganova S, Trigorly S, Kadykova Y, Mostovoy A, Shcherbakov A, Lopukhova M, Zhanturina N. Modeling of the Modification Process of an Epoxy Basalt-Filled Oligomer in Traveling Wave Microwave Chambers. Journal of Composites Science. 2023; 7(9):392. https://doi.org/10.3390/jcs7090392
Chicago/Turabian StyleBekeshev, Amirbek, Ekaterina Vasinkina, Svetlana Kalganova, Sergey Trigorly, Yulia Kadykova, Anton Mostovoy, Andrey Shcherbakov, Marina Lopukhova, and Nurgul Zhanturina. 2023. "Modeling of the Modification Process of an Epoxy Basalt-Filled Oligomer in Traveling Wave Microwave Chambers" Journal of Composites Science 7, no. 9: 392. https://doi.org/10.3390/jcs7090392
APA StyleBekeshev, A., Vasinkina, E., Kalganova, S., Trigorly, S., Kadykova, Y., Mostovoy, A., Shcherbakov, A., Lopukhova, M., & Zhanturina, N. (2023). Modeling of the Modification Process of an Epoxy Basalt-Filled Oligomer in Traveling Wave Microwave Chambers. Journal of Composites Science, 7(9), 392. https://doi.org/10.3390/jcs7090392

