Experimental and Simulation Study on the Ditching and Backfilling Characteristics of a 3DGZ-50A Self-Propelled Orchard Ditching Machine
Abstract
1. Introduction
2. Materials and Methods
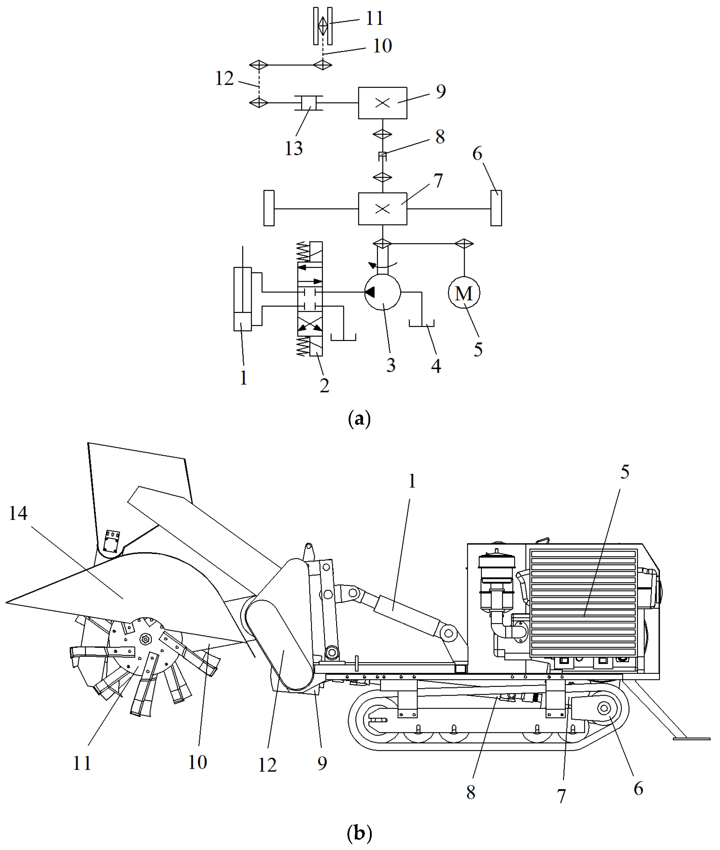
2.1. Machine Structure and Working Principle of SPODM
2.1.1. Structure of SPODM
2.1.2. Working Principle
2.2. Determination of Key Components
2.2.1. Lifting Regulator
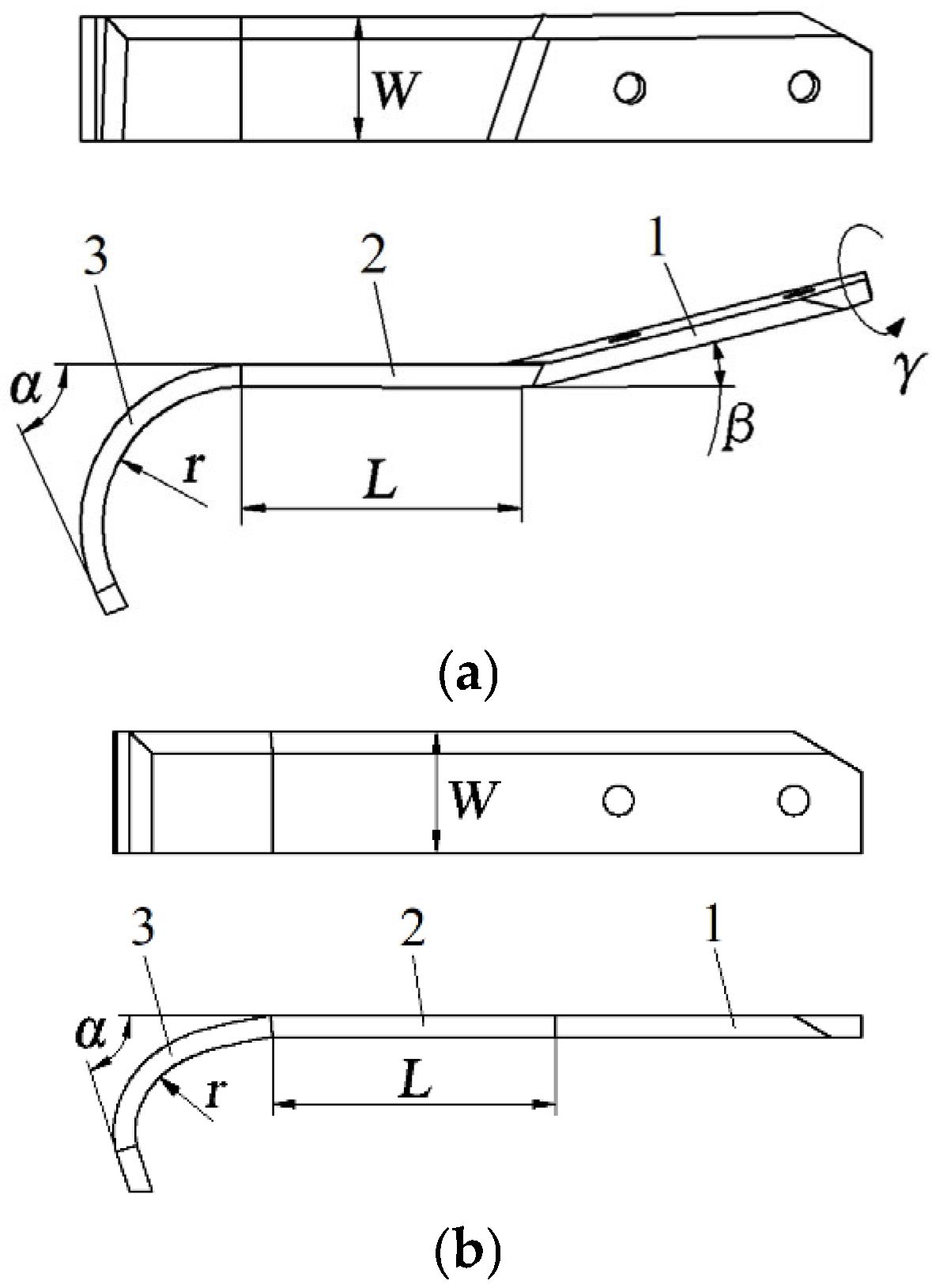
2.2.2. Ditching Blades
2.2.3. Ditching Cutter Discs
2.3. Experimental Design
2.3.1. Description of Experimental Site
2.3.2. Orchard Experiment Design
2.3.3. Measurements During Experiment
- Rotational speed and ditching speed
- 2.
- Surface furrow profile
- 3.
- Ditching and backfilling characteristics
2.4. Simulation Design
2.4.1. Description of Simulation Model
2.4.2. EDEM Simulation Design
2.4.3. Measurements During Simulation
- 4.
- Furrow profile
- 5.
- Ditching and backfilling characteristics
- 6.
- Power consumption
2.5. Statistical Analysis
3. Results and Discussions
3.1. Comparisons of Experimental Results and Standards
3.2. Soil Furrow Profile
3.3. Validations of Simulation Model
3.4. Changes in Ditching Power Consumption
3.5. Analysis of the Ditching and Backfilling Processes
3.6. Evaluation of SPODM Performance
4. Conclusions
Author Contributions
Funding
Data Availability Statement
Conflicts of Interest
References
- Brunetto, G.; Sete, P.B.; Marcio Norberto, P.; Daiane Welter, P.; Thábata Silva Viana, I.; Paulo Andrade, M. The fate of soil-applied Nitrogen in the fig tree. Horticulturae 2024, 10, 609. [Google Scholar] [CrossRef]
- Kuneski, A.C.; Loss, A.; Ventura, B.S.; Santos, T.S.D.; Giumbelli, L.D.; Lima, A.P.; Piccolo, M.D.C.; Torres, J.L.R.; Brunetto, G.; Kurtz, C.; et al. Effects of tillage and cover crops on total carbon and nitrogen stocks and particle-size fractions of soil organic matter under onion crop. Horticulturae 2023, 9, 822. [Google Scholar] [CrossRef]
- Qin, K.; Liang, X.; Cao, C.; Ding, W.; Wu, Z.; Fang, L. Design and experiment of combined cutting and throwing ditching blade for tea garden. Trans. Chin. Soc. Agric. Mach. 2021, 52, 74–82. [Google Scholar]
- Qin, K.; Lang, X.; Shen, Z.; Wu, Z.; Bi, H.; Cao, C.; Sun, Y.; Ge, J.; Fang, L. Design and experiment of reciprocating furrowing and loosening machine for tea garden. Trans. Chin. Soc. Agric. Mach. 2024, 55, 29–39. [Google Scholar]
- Kang, J.; Li, S.; Yang, X.; Liu, L.; Wang, C.; Liu, X. Design and experiment of ditching blade installed in close planting orchard ditching machinery. Trans. Chin. Soc. Agric. Mach. 2017, 48, 68–74. [Google Scholar]
- Xu, G.; Xie, Y.; Liang, L.; Ding, Q.; Xie, H.; Wang, J. Straw-soil-rotary blade interaction: Interactive effects of multiple operation parameters on the straw movement. Agronomy 2022, 12, 847. [Google Scholar] [CrossRef]
- Zhang, G.; Zhang, Z.; Xiao, M.; Bartos, P.; Bohatá, A. Soil-cutting simulation and parameter optimization of rotary blade’s three-axis resistances by response surface method. Comput. Electron. Agric. 2019, 164, 104902. [Google Scholar] [CrossRef]
- He, C.; Li, X.; Wang, T.; Liu, C.; Jin, C. Design and finite element analysis of orchard chain trencher system. J. Agric. Mech. Res. 2020, 42, 116–120. [Google Scholar]
- Li, J.; Li, H.; Chen, Y.; Lin, P.; Zhang, Q.; Cheng, Y.; Yang, Z.; Huang, G. Research on ditching mechanism of self-excited vibration ditching machine. Agronomy 2023, 13, 905. [Google Scholar] [CrossRef]
- Wang, S.; Kang, J.; Peng, Q.; Fang, H.; Niu, M.; Chen, Y. Improvement and test of abrase resistance of ditching blades of hill orchard spiral ditcher. J. Agric. Mech. Res. 2022, 44, 193–200. [Google Scholar]
- Zhan, C.; Ding, W.; Han, Y.; Jiang, Q.; Zhao, Y.; Zhao, L.; Song, Z. Design and experiments with a single spiral fixed depth ditching and fertilizing machine. Sci. Rep. 2023, 13, 7798. [Google Scholar] [CrossRef] [PubMed]
- Niu, Y.; Zhang, J.; Qi, J.; Meng, H.; Peng, H.; Li, J. Design and test of soil–fertilizer collision mixing and mulching device for manure deep application machine. Agriculture 2023, 13, 709. [Google Scholar] [CrossRef]
- Liu, J.; Jiang, P.; Chen, J.; Zhang, X.; Xu, M.; Huang, D.; Shi, Y. Optimal Design of and Experiment on a Dual-Spiral Ditcher for Orchards. Agriculture 2023, 13, 1628. [Google Scholar] [CrossRef]
- Zhang, L.; Jiang, J.; Li, Y. Agricultural rotavator power requirement optimization using multi-objective probability parameter optimization. Int. Agric. Eng. J. 2010, 19, 15–22. [Google Scholar]
- Ren, J.; Chen, C.; Bao, D.; Weng, W.; Zheng, S. Optimization of the structural and motion parameters of blade cutters in paddy field pulping machines. Agriculture 2024, 14, 132. [Google Scholar] [CrossRef]
- Kang, J.; Li, S.; Yang, X.; Liu, L.; Li, C. Experimental verification and simulation analysis on power consumption of disc type ditcher. Trans. Chin. Soc. Agric. Eng. 2016, 32, 8–15. [Google Scholar]
- Hasimu, A.; Chen, Y. Soil disturbance and draft force of selected seed openers. Soil Tillage Res. 2014, 140, 48–54. [Google Scholar] [CrossRef]
- Zhang, X.; Li, H.; Ma, S.; Du, R.; Zheng, Z. Effect of tine furrow opener on soil disturbance, draught, and fuel consumption. Int. Agric. Eng. J. 2016, 25, 29–45. [Google Scholar]
- Zhang, X.; Li, H.; Du, R. Effects of key design parameters of tine furrow opener on soil seedbed properties. Int. J. Agric. Biol. Eng. 2016, 9, 67–80. [Google Scholar]
- Aikins, K.A.; Barr, J.B.; Ucgul, M.; Jensen, T.A.; Antille, D.L.; Desbiolles, J.M.A. No-tillage furrow opener performance: A review of tool geometry, settings and interactions with soil and crop residue. Soil Res. 2020, 58, 603–621. [Google Scholar] [CrossRef]
- Han, L.; Yuan, W.; Yu, J.; Jin, J.; Xie, D.; Xi, X.; Zhang, Y.; Zhang, R. Simulation and experiment of spiral soil separation mechanism of compound planter based on discrete element method (DEM). Agriculture 2022, 12, 511. [Google Scholar] [CrossRef]
- Fang, W.; Wang, X.; Han, D.; Chen, X. Review of material parameter calibration method. Agriculture 2022, 12, 7065. [Google Scholar] [CrossRef]
- Yang, Q.; Shi, L.; Shi, A.; He, M.; Zhao, X.; Zhang, L.; Addy, M. Determination of key soil characteristic parameters using angle of repose and direct shear stress test. Int. J. Agric. Biol. Eng. 2023, 16, 143–150. [Google Scholar] [CrossRef]
- Yuan, H.; Liang, S.; Wang, J.; Lu, Y. Numerical simulation and analysis of vibrating rice filling based on EDEM software. Agriculture 2022, 12, 201312. [Google Scholar] [CrossRef]
- Yuan, H.; Cai, Y.; Liang, S.; Ku, J.; Qin, Y. Numerical simulation and analysis of feeding uniformity of viscous miscellaneous fish bait based on EDEM software. Agriculture 2023, 13, 3562. [Google Scholar] [CrossRef]
- Fang, H.; Ji, C.; Farman, A.C.; Guo, J.; Zhang, Q.; Chaudhry, A. Analysis of soil dynamic behavior during rotary tillage based on distinct element method. Trans. Chin. Soc. Agric. Mach. 2016, 47, 22–28. [Google Scholar]
- Wang, S.; Li, S.; Zhang, Y.; Zhang, C.; Chen, H.; Meng, L. Design and optimization of inclined helical ditching component for mountain orchard ditcher. Trans. Chin. Soc. Agric. Eng. 2018, 34, 11–22. [Google Scholar]
- Guan, Z.; Mu, S.; Jiang, T.; Li, H.; Zhang, M.; Wu, C.; Jin, M. Development of centrifugal disc spreader on tracked combine harvester for rape undersowing rice based on DEM. Agriculture 2022, 12, 562. [Google Scholar] [CrossRef]
- Du, C.; Han, D.; Song, Z.; Chen, Y.; Chen, X.; Wang, X. Calibration of contact parameters for complex shaped fruits based on discrete element method: The case of pod pepper (Capsicum annuum). Biol. Eng. 2023, 226, 43–54. [Google Scholar] [CrossRef]
- Liang, Z.; Huang, Y.; Li, D.; Wada, M.E. Parameter determination of a viscoelastic-plastic contact model for potatoes during transient collisions. Biol. Eng. 2023, 234, 156–171. [Google Scholar] [CrossRef]
- Zeng, Y.; Jiang, X.; Wu, M.; Zhao, Z.; Tang, L.; Ni, P. Development of the layered cut and throw ditching blade groups for oil tea forest based on DEM-MBD. Trans. Chin. Soc. Agric. Eng. 2024, 40, 30–42. [Google Scholar] [CrossRef]
- Muller, K.; Duwig, C.; Tinet, A.J.; Strozzi, A.G.; Spadini, L.; Morel, M.C.; Charrier, P. Orchard management and preferential flow in Andosols-comparing two kiwifruit orchards in New Zealand. Soil Res. 2019, 57, 615–628. [Google Scholar] [CrossRef]
- Yin, J.; Wang, Y.; Yao, L. Modular design for small-sized and multi-functional farm machinery used in hilly fields. Guizhou Sci. 2012, 30, 35–39. [Google Scholar]
- NY/T 740-2003; Field Operation Quality of Ditchers. Ministry of Agriculture and Rural Affairs of the People’s Republic of China: Beijing, China, 2003.
- Fang, H.; Ji, C.; Ahmed, A.T.; Zhang, Q.; Guo, J. Simulation analysis of straw movement in straw–soil–rotary blade system. Trans. Chin. Soc. Agric. Mach. 2016, 47, 60–67. [Google Scholar]
- Ma, S.; Xu, L.; Yuan, Q.; Niu, C.; Zeng, J.; Chen, C.; Wang, S.; Yuan, X. Calibration of discrete element simulation parameters of grapevine antifreezing soil and its interaction with soil-cleaning components. Trans. Chin. Soc. Agric. Eng. 2020, 36, 40–49. [Google Scholar]
- Fang, H.; Ji, C.; Zhang, Q.; Guo, J. Force analysis of rotary blade based on distinct element method. Trans. Chin. Soc. Agric. Eng. 2016, 32, 54–59. [Google Scholar]
- Fang, H.; Zhang, Q.; Ji, C.; Guo, J. Soil shear properties as influenced by straw content: An evaluation of field-collected and laboratory-remolded soils. J. Integr. Agric. 2016, 15, 2848–2854. [Google Scholar] [CrossRef]
- Kang, J.; Li, S.; Yang, X.; Liu, L. Structure parameters optimization of sine exponential curve type ditching blade. Trans. Chin. Soc. Agric. Eng. 2016, 47, 91–99, 17. [Google Scholar]
- Hou, P.; Yuan, W.; Li, G.; Petropoulos, E.; Xue, L.; Feng, Y.; Xue, L.; Yang, L.; Ding, Y. Deep fertilization with controlled-release fertilizer for higher cereal yield and N utilization in paddies: The optimal fertilization depth. Agronomy 2021, 113, 5027–5039. [Google Scholar] [CrossRef]
- Wang, S. Design and Performance Analysis on Ditching Blades of Hill Orchard Spiral Ditcher. Ph.D. Thesis, Huazhong Agricultural University, Wuhan, China, 2019. [Google Scholar]
- Gao, J.; Qi, H. Soil Throwing experiments for reverse rotary tillage at various depths, travel speeds, and rotational speeds. Trans. ASABE 2017, 60, 1113–1121. [Google Scholar] [CrossRef]
- Ma, C.; Meng, H.; Zhang, J.; Zhang, C.; Zhao, Y.; Wang, L. Research and experiment on the trenching performance of orchard trenching device. Sci. Rep. 2023, 13, 18941. [Google Scholar] [CrossRef]
















| Items | Values |
|---|---|
| Overall dimension (length × wide × high)/mm | 2550 × 1250 × 1170 |
| Weight/kg | 750 |
| Auxiliary power/kW | 36.8 |
| Ditching depth/mm | ≤300 |
| Cutter disc speed/r·min−1 | ≥200 |
| Working speed/m·s−1 | 0.1~0.3 |
| No. | Descriptions of Layout | Illustration | ||
|---|---|---|---|---|
| 01# | 5 blades of type A and 5 blades of type B are installed alternately and uniformly | ![]() D1 | ![]() D2 | ![]() D3 |
| 02# | 10 blades of type A only are installed uniformly | |||
| 03# | 10 blades of type B only are installed uniformly | |||
| Levels | Types of Cutter Disc |
|---|---|
| 1 | 01# |
| 2 | 02# |
| 3 | 03# |
| Type | Discrete Element Parameters | Values |
|---|---|---|
| Soil intrinsic parameters | Density/(g·cm−3) | 2.6 |
| Poisson ratio | 0.3 | |
| Shear modules/Pa | 5 × 107 | |
| Steel intrinsic parameters | Density/(g·cm−3) | 7.865 |
| Poisson ratio | 0.3 | |
| Shear modules/Pa | 7.9 × 1010 | |
| Soil–soil contact parameters | Recovery coefficient | 0.4 |
| Static friction coefficient | 0.6 | |
| Rolling friction coefficient | 0.3 | |
| Soil–steel contact parameters | Recovery coefficient | 0.55 |
| Static friction coefficient | 0.5 | |
| Rolling friction coefficient | 0.1 |
| Items | Standards Requirement | Experimental Results | Simulation Results |
|---|---|---|---|
| Ditching depth/mm | 270–330 | 295 ± 10.14 | 271 ± 13.04 |
| Ditching width/mm | 185–215 | 205 ± 8.10 | 185 ± 8.61 |
Disclaimer/Publisher’s Note: The statements, opinions and data contained in all publications are solely those of the individual author(s) and contributor(s) and not of MDPI and/or the editor(s). MDPI and/or the editor(s) disclaim responsibility for any injury to people or property resulting from any ideas, methods, instructions or products referred to in the content. |
© 2025 by the authors. Licensee MDPI, Basel, Switzerland. This article is an open access article distributed under the terms and conditions of the Creative Commons Attribution (CC BY) license (https://creativecommons.org/licenses/by/4.0/).
Share and Cite
Niu, M.; Yang, H.; Zhang, Q.; Qi, P.; Wang, S.; Fang, H.; Wen, H. Experimental and Simulation Study on the Ditching and Backfilling Characteristics of a 3DGZ-50A Self-Propelled Orchard Ditching Machine. Horticulturae 2025, 11, 171. https://doi.org/10.3390/horticulturae11020171
Niu M, Yang H, Zhang Q, Qi P, Wang S, Fang H, Wen H. Experimental and Simulation Study on the Ditching and Backfilling Characteristics of a 3DGZ-50A Self-Propelled Orchard Ditching Machine. Horticulturae. 2025; 11(2):171. https://doi.org/10.3390/horticulturae11020171
Chicago/Turabian StyleNiu, Mengmeng, Huawei Yang, Qingyi Zhang, Peng Qi, Shaowei Wang, Huimin Fang, and Hongbo Wen. 2025. "Experimental and Simulation Study on the Ditching and Backfilling Characteristics of a 3DGZ-50A Self-Propelled Orchard Ditching Machine" Horticulturae 11, no. 2: 171. https://doi.org/10.3390/horticulturae11020171
APA StyleNiu, M., Yang, H., Zhang, Q., Qi, P., Wang, S., Fang, H., & Wen, H. (2025). Experimental and Simulation Study on the Ditching and Backfilling Characteristics of a 3DGZ-50A Self-Propelled Orchard Ditching Machine. Horticulturae, 11(2), 171. https://doi.org/10.3390/horticulturae11020171




