Study on Drying Control Strategy of White Radish Slice Based on Monitoring Medium Relative Humidity
Abstract
:1. Introduction
2. Materials and Methods
2.1. Materials
2.2. Main Experiment Equipment and Procedure
2.3. Experiment Method
2.4. Calculation Method of Experiment Parameters
2.4.1. Calculation Method of the Moisture Ratio (MR) and the DR
2.4.2. Determination of the Color, RR, and Energy Consumption
2.4.3. Determination of the Total Sugar Content
2.4.4. Comprehensive Evaluation Method
2.5. Statistical Analyses
3. Results and Analysis
3.1. Effect of the Constant RH and the Step-Down RH on Hot-Air-Drying Characteristics of White Radish Slices
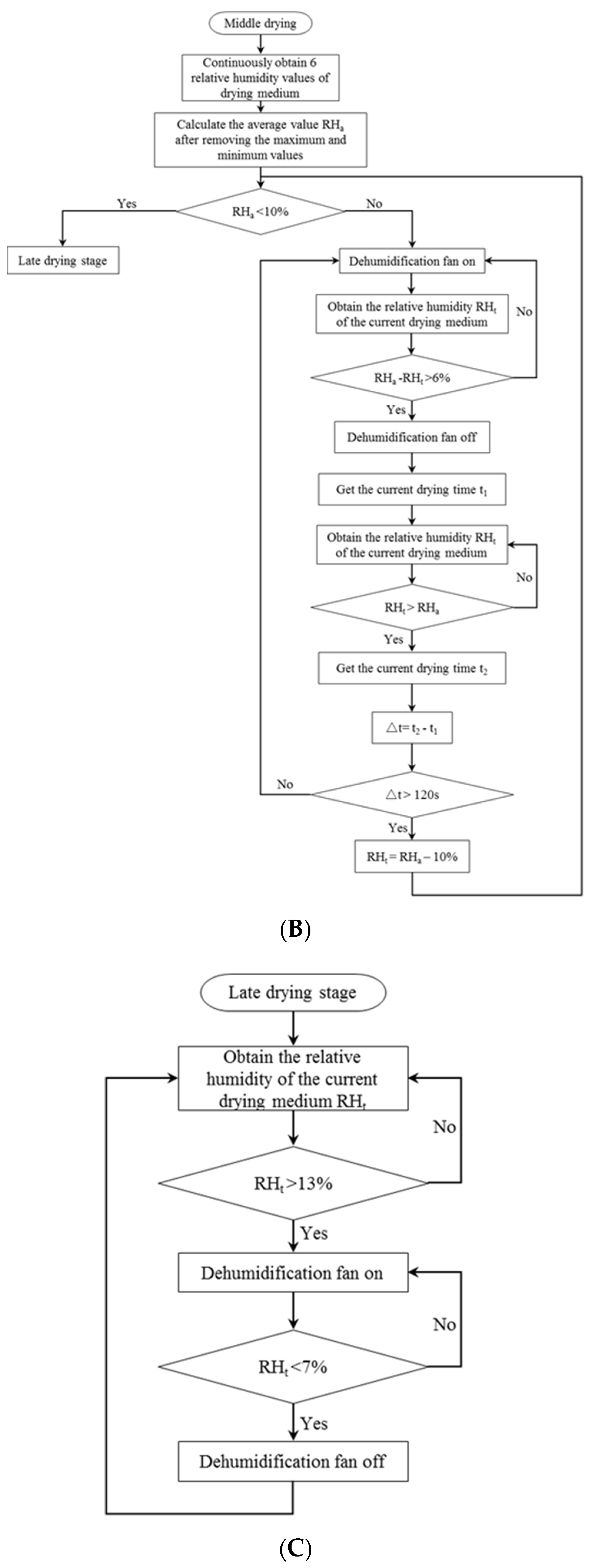
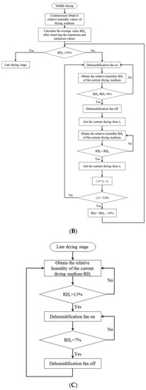
3.2. Effect of the Automatic-Down RH on the Hot-Air-Drying Characteristics of White Radish Slices
3.3. Comparison of the Color, RR, Total Sugar Content, and Energy Consumption
3.4. Comprehensive Evaluation of Different Drying Methods
4. Conclusions
- (1)
- The step-down RH process was conducive to the material temperature rise in the early stage of drying process. When the material central temperature was increased and then the RH was reduced, the DR was increased and the drying time was shortened.
- (2)
- The drying time was greatly shortened, and the drying efficiency was improved by using the automatic RH control drying method. The drying process includes three dehumidification processes. The respective RH control values were 40%, 30%, and 20%, and the respective durations were 180 min, 90 min, and 60 min. The drying time using automatic RH control was 1 h shorter than that of the step-down RH.
- (3)
- Comprehensive evaluation of RR, brightness L*, drying time t, energy consumption Q, and yellow–blue value b* showed that the L* and b* values of the automatic RH control process conditions were 26.0 and 1.67, respectively, which were better than the conditions of the step-down RH, constant 20% RH, and constant 40% RH. There was no significant difference in the RRs under different conditions of the constant RH, step-down RH, and automatic RH control, but the maximum value of the RR was 3.96 under the automatic RH control condition. The lowest energy consumption under the condition of automatic RH control was 0.90.
Author Contributions
Funding
Institutional Review Board Statement
Informed Consent Statement
Data Availability Statement
Conflicts of Interest
References
- Xu, B.; Sylvain Tiliwa, E.; Yan, W.; Roknul Azam, S.M.; Wei, B.; Zhou, C.; Ma, H.; Bhandari, B. Recent development in high quality drying of fruits and vegetables assisted by ultrasound: A review. Food Res. Int. 2022, 152, 110744. [Google Scholar] [CrossRef] [PubMed]
- Lv, W.; Li, D.; Lv, H.; Jin, X.; Han, Q.; Su, D.; Wang, Y. Recent development of microwave fluidization technology for drying of fresh fruits and vegetables. Trends Food Sci. Technol. 2019, 86, 59–67. [Google Scholar] [CrossRef]
- Coogan, R.C.; Wills, R.B.H. Flavour changes in asian white radish (Raphanus sativus) produced by different methods of drying and salting. Int. J. Food Prop. 2008, 11, 253–257. [Google Scholar] [CrossRef]
- Coogan, R.C.; Wills, R.B.H. Effect of drying and salting on the flavour compound of Asian white radish. Food Chem. 2002, 77, 305–307. [Google Scholar] [CrossRef]
- Hu, X.D.; Li, N.; He, Z.W. Analysis on the development status and prospect of Chinese radish industry. Outlook Agric. Prod. 2012, 10, 35–40. [Google Scholar]
- Ehiem, J.C.; Irtwange, S.V.; Obetta, S.E. Design and development of an industrial fruit and vegetable dryer. Res. J. Appl. Sci. Eng. Technol. 2009, 1, 44–53. [Google Scholar]
- Hu, Q.G.; Zhang, M.; Mujumdar, A.S.; Du, W.H.; Sun, J.C. Effects of different drying methods on the quality changes of granular edamame. Dry. Technol. 2006, 24, 1025–1032. [Google Scholar]
- Moradinezhad, F.; Ghesmati, M.; Khayat, M. Pre-storage calcium salts treatment maintained postharvest quality and bioactive compounds of fresh jujube fruit. Fundam. Appl. Agric. 2019, 4, 890–897. [Google Scholar] [CrossRef]
- Guo, H.L.; Chen, Y.; Xu, W.; Xu, M.T.; Sun, Y.; Wang, X.C.; Wang, X.Y.; Luo, J.; Zhang, H.; Xiong, Y.K. Assessment of drying kinetics, textural and aroma attributes of mentha haplocalyx leaves during the hot air thin-layer drying process. Foods 2022, 11, 784. [Google Scholar] [CrossRef]
- Abbaspour-Gilandeh, Y.; Kaveh, M.; Fatemi, H.; Aziz, M. Combined hot air, microwave, and infrared drying of hawthorn fruit: Effects of ultrasonic pretreatment on drying time, energy, qualitative, and bioactive compounds’ properties. Foods 2021, 10, 1006. [Google Scholar] [CrossRef]
- Senadeera, W.; Adiletta, G.; Onal, B.; Di Matteo, M.; Russo, P. Influence of different hot air drying temperatures on drying kinetics, shrinkage, and colour of persimmon slices. Foods 2020, 9, 101. [Google Scholar] [CrossRef] [Green Version]
- R Milczarek, R.; D Woods, R.; I LaFond, S.; L Smith, J.; Sedej, I.; W Olsen, C.; M Vilches, A.; P Breksa, A.; E Preece, J. Texture of hot-air-dried persimmon (Diospyros kaki) chips: Instrumental, sensory, and consumer input for product development. Foods 2020, 9, E1434. [Google Scholar] [CrossRef] [PubMed]
- Barati, E.; Esfahani, J.A. A new solution approach for simultaneous heat and mass transfer during convective drying of mango. J. Food Eng. 2011, 102, 302–309. [Google Scholar] [CrossRef]
- Jia, L.; Kong, J.X.; Liu, Y.H.; Wu, Y.; Xiong, S.B.; Zhao, S.M. Study on drying technology of legumes in high temperature and humidity. Sci. Technol. Food Ind. 2012, 33, 251–254. [Google Scholar]
- Liu, Y.M.; Zhao, S.M.; Xiong, S.B.; He, G.L. Study on drying technology of fish noodle at high temperature and humidity. Food Sci. 2007, 5, 221–224. [Google Scholar]
- Zhao, S.M.; Liu, Y.M.; Xiong, S.B.; Tan, R.C. Moisture diffusion characteristics of rice flour during high temperature and high humidity drying process. J. Huazhong Agric. Univ. 2003, 285–288. [Google Scholar]
- Wang, Q.H.; Li, Z.X.; Yang, J.S.; Xie, L.; Zhang, S.X.; Gao, Z.J. Dried characteristics of cherry tomatoes using temperature and humidity by stages changed hot-air drying method. Trans. Chin. Soc. Agric. Eng. 2014, 30, 271–276. [Google Scholar]
- Jiang, D.L.; Li, C.C.; Zielinska, S.; Liu, Y.H.; Gao, Z.J.; Wang, R.Y.; Zheng, Z.A. Process performance and quality attributes of temperature and step-down relative humidity controlled hot air drying of Panax notoginseng roots. Int. J. Agric. Biol. Eng. 2021, 14, 244–257. [Google Scholar] [CrossRef]
- Li, X.Y.; Zhang, Y.; Xie, Y.K.; Yu, X.L.; Zhu, G.F.; Gao, Z.J.; Xiao, H.W.; Liu, Y.H. Effects of relative humidity on the exterior quality of shiitake mushrooms (Lentinus edodes) during hot air drying. Trans. Chin. Soc. Agric. Eng. 2020, 36, 281–291. [Google Scholar]
- Liu, M.B.; Li, J.; He, F.J.; Pei, Y.S.; Li, Z.F. Effect of environmental relative humidity on microwave drying process of hawthorn. Jiangsu J. Agric. Sci. 2020, 36, 487–493. [Google Scholar]
- Ju, H.Y.; Xiao, H.W.; Zheng, X.; Guo, X.L.; Liu, Y.H.; Zhang, W.P.; Yuan, J.; Gao, Z.J. Effect of hot air relative humidity on drying characteristics of carrot slabs. Trans. Chin. Soc. Agric. Eng. 2015, 31, 296–304. [Google Scholar]
- Ju, H.Y.; Zhao, H.Y.; Zhang, W.P.; Gao, Z.J.; Xiao, H.W. Effects of relative humidity on heat and mass transfer characteristics of carrot during hot air drying. Trans. Chin. Soc. Agric. Eng. 2021, 37, 295–302. [Google Scholar]
- Zhou, H.M.; Li, Z.F.; Li, J.; Li, L.L.; Xu, W.X. Research on microwave drying process of carrot under different humidity. J. Food Sci. Biotechnol. 2019, 38, 1673–1689. [Google Scholar]
- Liu, J.; Xue, J.; Xu, Q.; Shi, Y.; Wu, L.; Li, Z. Drying kinetics and quality attributes of white radish in low pressure superheated steam. Int. J. Food Eng. 2017, 13, 1. [Google Scholar] [CrossRef]
- Lee, J.H.; Kim, H.J. Vacuum drying kinetics of Asian white radish (Raphanus sativus L.) slices. LWT-Food Sci. Technol. 2009, 42, 180–186. [Google Scholar] [CrossRef]
- Liu, Z.L.; Xie, L.; Zielinska, M.; Pan, Z.L.; Wang, J.; Deng, L.Z.; Wang, H.; Xiao, H.W. Pulsed vacuum drying enhances drying of blueberry by altering micro-, ultrastructure and water status and distribution. LWT 2021, 142, 111013. [Google Scholar] [CrossRef]
- Jiang, D.L.; Xiao, H.W.; Zielinska, M.; Zhu, G.F.; Bai, T.Y.; Zheng, Z.A. Effect of pulsed vacuum drying on drying kinetics and quality of roots of Panax notoginseng (Burk.) F. H. Chen (Araliaceae). Dry. Technol. 2020, 39, 2234–2251. [Google Scholar] [CrossRef]
- Liu, Z.L.; Xie, L.; Zielinska, M.; Pan, Z.L.; Deng, L.Z.; Zhang, J.S.; Gao, L.; Wang, S.Y.; Zheng, Z.A.; Xiao, H.W. Improvement of drying efficiency and quality attributes of blueberries using innovative far-infrared radiation heating assisted pulsed vacuum drying (FIR-PVD). Innov. Food Sci. Emerg. Technol. 2022, 77, 102948. [Google Scholar] [CrossRef]
- Deng, L.Z.; Xiong, C.H.; Pei, Y.P.; Zhu, Z.Q.; Zheng, X.; Zhang, Y.; Yang, X.H.; Liu, Z.L.; Xiao, H.W. Effects of various storage conditions on total phenolic, carotenoids, antioxidant capacity, and color of dried apricots. Food Control 2022, 136, 108846. [Google Scholar] [CrossRef]
- Deng, L.Z.; Yang, X.H.; Mujumdar, A.S.; Zhao, J.H.; Wang, D.; Zhang, Q.; Wang, J.; Gao, Z.J.; Xiao, H.W. Red pepper (Capsicum annuum L.) drying: Effects of different drying methods on drying kinetics, physicochemical properties, antioxidant capacity, and microstructure. Dry. Technol. 2017, 36, 893–907. [Google Scholar] [CrossRef]
- Kidoń, M.; Grabowska, J. Bioactive compounds, antioxidant activity, and sensory qualities of red-fleshed apples dried by different methods. LWT 2021, 136, 110302. [Google Scholar] [CrossRef]
- Gupta, R.; Asgari, S.; Moazamigoodarzi, H.; Down, D.G.; Puri, I.K. Energy, exergy and computing efficiency based data center workload and cooling management. Appl. Energy 2021, 299, 117050. [Google Scholar] [CrossRef]
- Yu, X.L.; Zielinska, M.; Ju, H.Y.; Mujumdar, A.S.; Duan, X.; Gao, Z.J.; Xiao, H.W. Multistage relative humidity control strategy enhances energy and exergy efficiency of convective drying of carrot cubes. Int. J. Heat Mass Transfer 2020, 149, 119–231. [Google Scholar] [CrossRef]
- Macedo, L.L.; Vimercati, W.C.; Araújo, C.; Saraiva, S.H.; Teixeira, L.J.Q. Effect of drying air temperature on drying kinetics and physicochemical characteristics of dried banana. J. Food Process Eng. 2020, 43, 1–10. [Google Scholar] [CrossRef]
- Van Engeland, C.; Spreutels, L.; Legros, R.; Haut, B. Comprehensive analysis of intermittent drying. A theoretical approach. Food Bioprod. Process. 2022, 131, 86–101. [Google Scholar] [CrossRef]
- Li, C.Y. Exergy evaluation theory of hot air drying system for grains. Trans. Chin. Soc. Agric. Eng. 2012, 28, 1–6. [Google Scholar]
- Li, C.Y.; Zhao, Y.K.; Xingzao, Z.M. Model analytical and verification of heat and moisture characteristics in litchi drying. Trans. Chin. Soc. Agric. Eng. 2014, 30, 289–298. [Google Scholar]
- Chen, J.; Lin, H.; Lin, Y.; Li, H.; Wang, Z. Optimized technology of Pleurotus eryngii by microwave-vacuum drying based on quality and energy consumption. Trans. Chin. Soc. Agric. Eng. 2014, 30, 277–284. [Google Scholar]
- Xie, L.; Zheng, Z.A.; Mujumdar, A.S.; Fang, X.M.; Wang, J.; Zhang, Q.; Ma, Q.; Xiao, H.W.; Liu, Y.H.; Gao, Z.J. Pulsed vacuum drying (PVD) of wolfberry: Drying kinetics and quality attributes. Dry. Technol. 2018, 36, 1501–1514. [Google Scholar] [CrossRef]
- Li, T.S.C.; Wardle, D.A. Effects of root drying temperature and moisture content on the levels of active ingredients in echinacea roots. J. Herbs Spices Med. Plants 2008, 8, 15–22. [Google Scholar] [CrossRef]







| Materials | Main Conclusion | Author |
|---|---|---|
| Pods | Appropriate relative humidity could improve the color, shape, and rehydration rate of dried pods. | Jia et al. [14] |
| Rice and fish noodles | The high-temperature and high-RH drying technology could improve the drying rate and the quality. | Liu et al. [15] |
| Rice | Suitable drying conditions of high temperature and high RH could improve the moisture effective diffusion coefficient and reduce the drying energy consumption. | Zhao et al. [16] |
| Cherry tomatoes | Staged variable temperature and humidity drying process could effectively reduce the loss of nutrients and color changes of cherry tomatoes and shorten the drying time. | Wang et al. [17] |
| Panax notoginseng roots | The step-down relative humidity strategy contributed to the formation of a porous structure, enhancement of drying efficiency, and quality improvement. | Jiang et al. [18] |
| Shiitake mushrooms | The high RH had a negative effect on the flavor components of shiitake mushrooms. | Li et al. [19] |
| Hawthorn | The color difference, Vitamin C content, and sensory scores of dried products were better under the conditions of a constant RH of 30% and phase humidification (RH of 50% at the constant rate period and RH of 30% at the falling rate period). | Liu et al. [20] |
| Carrot slabs | Taking the rehydration ratio, color value, drying time, and energy consumption into account, conditions of 50% RH kept for 30 min and then RH reduced to 20% were proposed as the favorable condition for drying carrot slabs. | Ju et al. [21] |
| Carrot | The step-down RH could accelerate the drying rate to prevent surface casehardening in the porous agriculture products of which surfaces were easily crusted during drying. | Ju et al. [22] |
| Carrot | The quality of dried carrot was related to the high humidity maintenance interval and the drying time. In order to improve the quality of dried carrot, a longer humidification time and a lower humidity of moisture should be selected. | Zhou et al. [23] |
| Process | Experimental Number | Drying Temperature (°C) | RH (%) | Stage Time (h) |
|---|---|---|---|---|
| Constant RH | 1 | 60 | 20 | To the end |
| 2 | 40 | To the end | ||
| Step-down RH | 3 | 60 | 40 | 150 min |
| 20 | To the end | |||
| Automatic-down RH | 4 | 60 | - | To the end |
| No | L* White Black | b* Yellow–Blue Value | ΔE | Rehydration Ratio (g·g−1) | Energy | Drying Time (h) | Total Sugar Content (%) | Comprehensive Score |
|---|---|---|---|---|---|---|---|---|
| Fresh | 21.1 ± 0.03 c | –0.19 ± 0.05 e | - | - | - | - | 45.01 ± 0.03 a | - |
| 1 | 16.19 ± 0.07 e | 3.08 ± 0.06 b | 7.32 ± 0.03 b | 3.86 ± 0.04 a | 0.97 | 9 ± 0.05 d | 37.29 ± 0.01 b | 0.58 c |
| 2 | 19.28 ± 0.02 d | 3.75 ± 0.04 a | 15.24 ± 0.02 a | 3.89 ± 0.02 a | 1 | 12 ± 0.02 a | 25.54 ± 0.02 e | 0.49 d |
| 3 | 25.1 ± 0.01 b | 2.83 ± 0.03 c | 4.17 ± 0.01 c | 3.88 ± 0.03 a | 0.95 | 10.17 ± 0.10 b | 31.17 ± 0.03 d | 0.73 b |
| 4 | 26.0 ± 0.02 a | 1.67 ± 0.01 d | 3.61 ± 0.07 d | 3.96 ± 0.01 b | 0.90 | 9.17 ± 0.24 c | 35.89 ± 0.01 c | 0.85 a |
Publisher’s Note: MDPI stays neutral with regard to jurisdictional claims in published maps and institutional affiliations. |
© 2022 by the authors. Licensee MDPI, Basel, Switzerland. This article is an open access article distributed under the terms and conditions of the Creative Commons Attribution (CC BY) license (https://creativecommons.org/licenses/by/4.0/).
Share and Cite
Jiang, D.; Li, C.; Zheng, Z. Study on Drying Control Strategy of White Radish Slice Based on Monitoring Medium Relative Humidity. Foods 2022, 11, 1197. https://doi.org/10.3390/foods11091197
Jiang D, Li C, Zheng Z. Study on Drying Control Strategy of White Radish Slice Based on Monitoring Medium Relative Humidity. Foods. 2022; 11(9):1197. https://doi.org/10.3390/foods11091197
Chicago/Turabian StyleJiang, Dalong, Congcong Li, and Zhian Zheng. 2022. "Study on Drying Control Strategy of White Radish Slice Based on Monitoring Medium Relative Humidity" Foods 11, no. 9: 1197. https://doi.org/10.3390/foods11091197
APA StyleJiang, D., Li, C., & Zheng, Z. (2022). Study on Drying Control Strategy of White Radish Slice Based on Monitoring Medium Relative Humidity. Foods, 11(9), 1197. https://doi.org/10.3390/foods11091197
