An Empirical Investigation on the Influence of the Number of Particle Outlets and Volume Flow Rates on Separation Efficiency and Pressure Drop in a Uniflow Hydrocyclone
Abstract
:1. Introduction
2. Materials and Methods
2.1. Test Rig
2.2. Dosing Unit Setting and Inlet Concentration Adjustment
2.3. Performance Evaluation
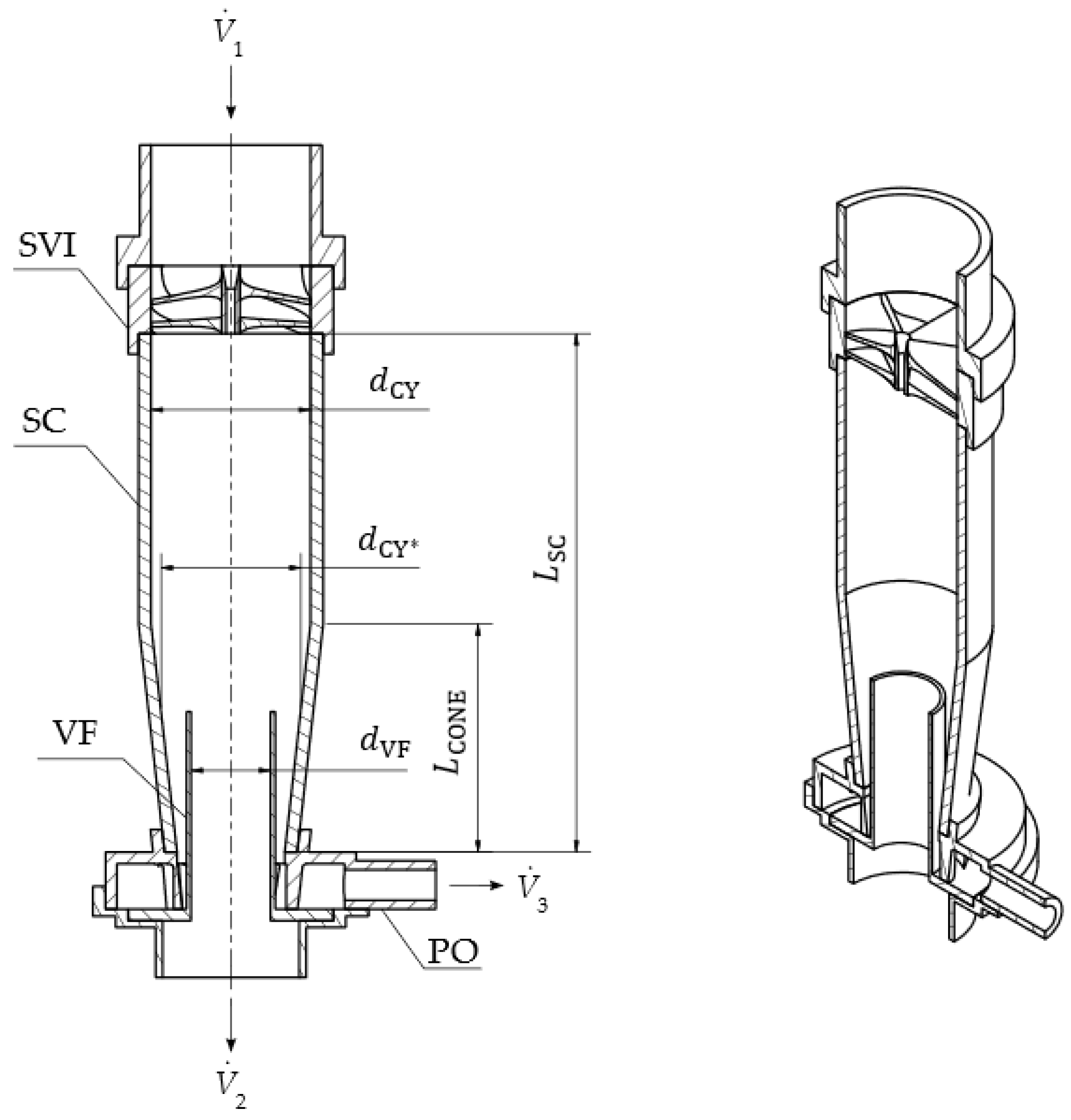
2.4. Prototype Design and Experimental Investigations
3. Results and Discussion
4. Conclusions
Author Contributions
Funding
Data Availability Statement
Conflicts of Interest
Appendix A



References
- Chhabra, R.; Basavaraj, M.G. Coulson and Richardson’s Chemical Engineering: Volume 2A: Particulate Systems and Particle Technology, 6th ed.; Butterworth-Heinemann: Oxford, UK, 2019; pp. 133–203. [Google Scholar]
- Concha, F.A.; Bouse, J.L. Fluid Mechanics Fundamentals of Hydrocyclones and Its Applications in the Mining Industry; Springer: Cham, Switzerland, 2021; pp. 1–8. [Google Scholar]
- Muschelknautz, U. Design criteria for multicyclones in a limited space. Powder Technol. 2019, 357, 2–20. [Google Scholar] [CrossRef]
- Pillei, M.; Kofler, T.; Wierschem, A.; Kraxner, M. Intensification of uniflow cyclone performance at low loading. Powder Technol. 2020, 360, 522–533. [Google Scholar] [CrossRef]
- Liow, J.L.; Oakman, O.A. Performance of mini-axial hydrocyclones. Miner. Eng. 2018, 122, 67–78. [Google Scholar] [CrossRef]
- Kraxner, M. Empirische Ermittlung von Auslegungskriterien für Gleichstromzyklone in Multizyklonblöcken. Ph.D. Thesis, Technische Universität München, Munich, Germany, 2012. [Google Scholar]
- Gauthier, T.A.; Briens, C.L.; Bergougnou, M.A.; Galtier, P. Uniflow cyclone efficiency study. Powder Technol. 1990, 62, 217–225. [Google Scholar] [CrossRef]
- Tan, Z.; Zhang, H.; Abedi, J.; Yu, Z.; Martinuzzi, R. Development of a new high-efficiency simple structure cyclone. Can. J. Chem. Eng. 2009, 87, 343–349. [Google Scholar] [CrossRef]
- Oh, J.; Choi, S.; Kim, J.; Lee, S.; Jin, G. Particle separation with the concept of uniflow cyclone. Powder Technol. 2014, 254, 500–507. [Google Scholar] [CrossRef]
- Nieuwstadt, F.T.M.; Dirkzwager, M. A fluid mechanics model for an axial cyclone separator. Ind. Eng. Chem. Res. 1995, 34, 3399–3404. [Google Scholar] [CrossRef]
- Delfos, R.; Murphy, S.; Stanbridge, D.; Olujic, Z.; Jansens, P.J. A design tool for optimising axial liquid-liquid hydrocyclones. Miner. Eng. 2004, 17, 721–731. [Google Scholar] [CrossRef]
- Liu, M.; Chen, J.; Cai, X.; Han, Y.; Xiong, S. Oil-water pre-separation with a novel axial hydrocyclone. Chin. J. Chem. Eng. 2018, 26, 60–66. [Google Scholar] [CrossRef]
- Hamza, J.E.; Al-Kayiem, H.H.; Lemma, T.A. Experimental investigation of the separation performance of oil/water mixture by compact conical axial hydrocyclone. Therm. Sci. Eng. Prog. 2020, 17, 100358. [Google Scholar] [CrossRef]
- Al-Kayiem, H.H.; Hamza, J.E.; Lemmu, T.A. Performance enhancement of axial concurrent liquid-liquid hydrocyclone separator through optimization of the swirler vane angle. J. Pet. Explor. Prod. Technol. 2020, 10, 2957–2967. [Google Scholar] [CrossRef]
- Kou, J.; Jiang, Z.; Cong, Y. Separation characteristics of an axial hydrocyclone separator. Processes 2021, 9, 2288. [Google Scholar] [CrossRef]
- Sineath, H.H. Operation Characteristics of Fixed-Impeller Hydrocyclones. Ph.D. Thesis, Georgia Institute of Technology, Atlanta, GA, USA, 1955. [Google Scholar]
- Sineath, H.H.; Della Valle, J.M. Fixed impeller hydrocyclones. Chem. Eng. Prog. 1959, 55, 59–65. [Google Scholar]
- Ogawa, A.; Suzuki, T. Theory of the cut-size, the fractional collection efficiency, and the vortex breakdown in the axial flow hydro-cyclone. Part. Sci. Technol. 2001, 19, 257–299. [Google Scholar] [CrossRef]
- Oakman, O.A.; Liow, J.L. Simulation and Experimental Validation of an Axial-Flow Hydrocyclone. In Proceedings of the 20th Australasian Fluid Mechanics Conference, Perth, Australia, 5–8 December 2016. [Google Scholar]
- Niazi, S.; Habibian, M.; Rahimi, M. Performance evaluation of a uniflow mini-hydrocyclone for removing fine heavy metal particles from water. Chem. Eng. Res. Des. 2017, 126, 89–96. [Google Scholar] [CrossRef]
- Murphy, S.; Delfos, R.; Pourquie, M.J.B.M.; Olujic, Z.; Jansens, P.J.; Nieuwstadt, F.T.M. Prediction of strongly swirling flow within an axial hydrocyclone using two commercial CFD codes. Chem. Eng. Sci. 2007, 62, 1619–1635. [Google Scholar] [CrossRef]
- Rocha, A.D.; Bannwart, A.C.; Ganzarolli, M.M.; Quintella, E.F. Numerical study of swirling flow in a liquid-liquid axial hydrocyclone separator. In Proceedings of the 20th International Congress of Mechanical Engineering, Gramado, Brazil, 15–20 November 2009. [Google Scholar]
- Mokni, I.; Dhaouadi, H.; Bournot, P.; Mhiri, H. Numerical investigation of the effect of the cylindrical height on separation performances of uniflow hydrocyclone. Chem. Eng. Sci. 2015, 122, 500–513. [Google Scholar] [CrossRef]
- Senn, M.; Berger, M.; Senfter, T.; Pillei, M.; Kraxner, M. Empirical and Numerical Investigation of an Uniflow Hydrocyclone. In Proceedings of the 15th Minisymposium Chemical and Process Engineering and 6th Austrian Particle Forum, Leoben, Austria, 29–30 April 2019. [Google Scholar]
- Weng, M. Experimentelle und Numerische Untersuchung von Gleichstromhydrozyklonen. Ph.D. Thesis, Technische Hochschule Aachen, Aachen, Germany, 2002. [Google Scholar]
- Senfter, T. Kontinuierliche Störstoffabscheidung in der Klärschlamm-Co-Fermentation Mittels Zentrifugalabscheider. Ph.D. Thesis, Universität Innsbruck, Innsbruck, Austria, 2018. [Google Scholar]
- Zhang, C.; Cui, B.; Wei, D.; Zhao, Q.; Luo, N.; Feng, Y. Predicting the optimum range of feed flow rate in a hydrocyclone using the method combined flow pattern and equation model. Powder Technol. 2017, 319, 279–288. [Google Scholar] [CrossRef]
- Cui, B.; Zhang, C.; Zhao, Q.; Hou, D.; Wie, D.; Song, T.; Feng, Y. Study on interaction effects between the hydrocyclone feed flow rate and the feed size distribution. Powder Technol. 2020, 366, 617–628. [Google Scholar] [CrossRef]
- ISO 5011:2020; Inlet Air Cleaning Equipment for Internal Combustion Engines and Compressors—Performance Testing. International Organization for Standardization: London, UK, 2020.
- Pillei, M. Optimierung von Gleichstromzyklonen bei Geringer Feststoffbeladung. Ph.D. Thesis, Friedrich-Alexander-Universität, Erlangen, Germany, 2020. [Google Scholar]






| Description | Variable | Value | Unit | 
|---|---|---|---|
| swirl vane inlet angle | 15 | ° | |
| cyclone diameter | 70 | mm | |
| length of the separation chamber | 227.5 | mm | |
| ratio of cone length to total separation chamber length | / | 0.53 | - | 
| cone angle | β | 5.4 | ° | 
| ratio of vortex finder length to separation chamber length | / | 0.38 | - | 
| ratio of vortex finder diameter to cyclone diameter | / | 0.48 | - | 
| ratio of cyclone diameter at the location of the vortex finder to cyclone diameter | / | 0.84 | - | 
| Designation | Unit | |
|---|---|---|
| experimental investigation—first revision | 0.229 | bar | 
| experimental investigation—second revision | 0.223 | bar | 
| experimental investigation—third revision | 0.228 | bar | 
| arithmetic mean | 0.227 | bar | 
| range | 0.006 | bar | 
| standard deviation | 0.003 | bar | 
| Disclaimer/Publisher’s Note: The statements, opinions and data contained in all publications are solely those of the individual author(s) and contributor(s) and not of MDPI and/or the editor(s). MDPI and/or the editor(s) disclaim responsibility for any injury to people or property resulting from any ideas, methods, instructions or products referred to in the content. | 
© 2023 by the authors. Licensee MDPI, Basel, Switzerland. This article is an open access article distributed under the terms and conditions of the Creative Commons Attribution (CC BY) license (https://creativecommons.org/licenses/by/4.0/).
Share and Cite
Senfter, T.; Ennemoser, J.; Berger, M.; Mayerl, C.; Kofler, T.; Pillei, M. An Empirical Investigation on the Influence of the Number of Particle Outlets and Volume Flow Rates on Separation Efficiency and Pressure Drop in a Uniflow Hydrocyclone. Separations 2023, 10, 169. https://doi.org/10.3390/separations10030169
Senfter T, Ennemoser J, Berger M, Mayerl C, Kofler T, Pillei M. An Empirical Investigation on the Influence of the Number of Particle Outlets and Volume Flow Rates on Separation Efficiency and Pressure Drop in a Uniflow Hydrocyclone. Separations. 2023; 10(3):169. https://doi.org/10.3390/separations10030169
Chicago/Turabian StyleSenfter, Thomas, Jonas Ennemoser, Manuel Berger, Christian Mayerl, Tobias Kofler, and Martin Pillei. 2023. "An Empirical Investigation on the Influence of the Number of Particle Outlets and Volume Flow Rates on Separation Efficiency and Pressure Drop in a Uniflow Hydrocyclone" Separations 10, no. 3: 169. https://doi.org/10.3390/separations10030169
APA StyleSenfter, T., Ennemoser, J., Berger, M., Mayerl, C., Kofler, T., & Pillei, M. (2023). An Empirical Investigation on the Influence of the Number of Particle Outlets and Volume Flow Rates on Separation Efficiency and Pressure Drop in a Uniflow Hydrocyclone. Separations, 10(3), 169. https://doi.org/10.3390/separations10030169
 
         
                                                

 
       