Joint Scheduling of Yard Crane, Yard Truck, and Quay Crane for Container Terminal Considering Vessel Stowage Plan: An Integrated Simulation-Based Optimization Approach
Abstract
:1. Introduction
2. Background and Relevant Literature Review
2.1. Overall View of Operations in a Container Terminal
2.2. Yard Storage Plan
2.3. Vessel Stowage Plan
- For some export containers to be stored at the same bay and same row, the container at a lower tier should be loaded first (i.e., a sequence constraint).
- Containers of the same bay should be assigned to the same QC (i.e., an equipment constraint).
2.4. Relevant Studies
3. Problem Definition, Operational Analysis, and Mathematical Model Formulation
3.1. Problem Definition
3.2. Operations Analysis
3.2.1. Yard Crane (YC) Operation Analysis
- : is the moving velocity of YC along the x-direction.
- : is the moving velocity of YC along the y-direction.
- : is the moving velocity of YC along the z-direction.
- d(•): is a function transforming container coordinate into distance.
3.2.2. Yard Truck (YT) Operation Analysis
3.2.3. Quay Crane (QC) Operation Analysis
- Each QC handles one first task and one last task.
- Each task can only be handled by one QC.
- Each QC handles a sequence of containers based on their positions given by a VSP.
- The interference of QCs should be avoided.
- Given a set of containers to be loaded into a ship at the same bay and column, the container with the lowest tier should be loaded firstly.
- : is the moving velocity of QC along the bay direction.
- : is the moving velocity of QC along the row direction.
- : is the moving velocity of QC along the tier direction.
- is the height for a QC to pick up a container from a YT.
- d(•): is a function transforming container coordinate into distance.
3.3. Mathematical Model
- Assumptions
- All export containers have a storage position (x,y,z) in a block and a stowage position (b,r,t) in a vessel.
- YCs and QCs are homogeneous in moving speed.
- No-passing each other for YCs and QCs.
- No interruptions during loading and transporting containers.
- No relocation of containers.
- Indices
| i,j | a container number; i, |
| p | a YC number; |
| k | a YT number; |
| q | a QC number; |
- Set
| T | a set of containers (tasks) |
| RT | a set of resource types; . |
| indicates YC; indicates YT; indicates QC. | |
| B | a set of vessel bays |
| K | a set of yard trucks |
| P | a set of yard cranes |
| Q | a set of quay cranes |
- Parameters (Input data)
| total number of tasks (containers). | |
| (X,Y,Z) | dimensions of a storage block. |
| X, Y, Z are the maximum number of bays, rows, tiers, respectively. | |
| the coordinate of a container j in a block. | |
| the coordinate of a container j in a vessel. | |
| total number of YCs. | |
| total number of YTs. | |
| total number of QCs. | |
| total number of bays in the ship. | |
| the height for a QC to pick up a container from a YT. | |
| H | the tier used by hoist to move containers across the storage block (H = Z + 1). |
| moving speed of YC along the X-direction. | |
| moving speed of YC along the Y-direction. | |
| moving speed of YC along the Z-direction. | |
| moving speed of QC along the bay direction. | |
| moving speed of QC along the row direction. | |
| moving speed of QC along the tier direction. | |
| available time of container i. | |
| available time of YC p. | |
| available time of YT k. | |
| available time of QC q. | |
| travel time for YT transporting container j to QC (a fixed time). | |
| M | a big number. |
- Decision variables
| = 1, if container i is loaded before j by YC q; = 0, otherwise. | |
| = 1, if container i is transported before j by YT k; = 0, otherwise. | |
| = 1, if container i is loaded before j by QC q; = 0, otherwise. | |
| total number of containers assigned to YC p. | |
| total number of containers assigned to YT k. | |
| total number of containers assigned to QC q. | |
| total YC loading time of container j, estimated by Equation (3). | |
| total QC loading time of container j, estimated by Equation (7). | |
| start usage time of resource instance r of the type RT for container j (j ∈ T). if RT = 1 then r ∈ P; if RT = 2 then r ∈ K; if RT = 3 then r ∈ Q. | |
| end usage time of resource instance r of the type RT for container j (j ∈ T). if RT = 1 then r ∈ P; if RT = 2 then r ∈ K; if RT = 3 then r ∈ Q. |
4. Simulation-Based Optimization Methods
4.1. The Framework of Simulation-Based Optimization Methods
4.2. The Load-Balancing Heuristic
| Algorithm 1 The Logic of Workload Balance for Equipment (QCs or YCs) |
|
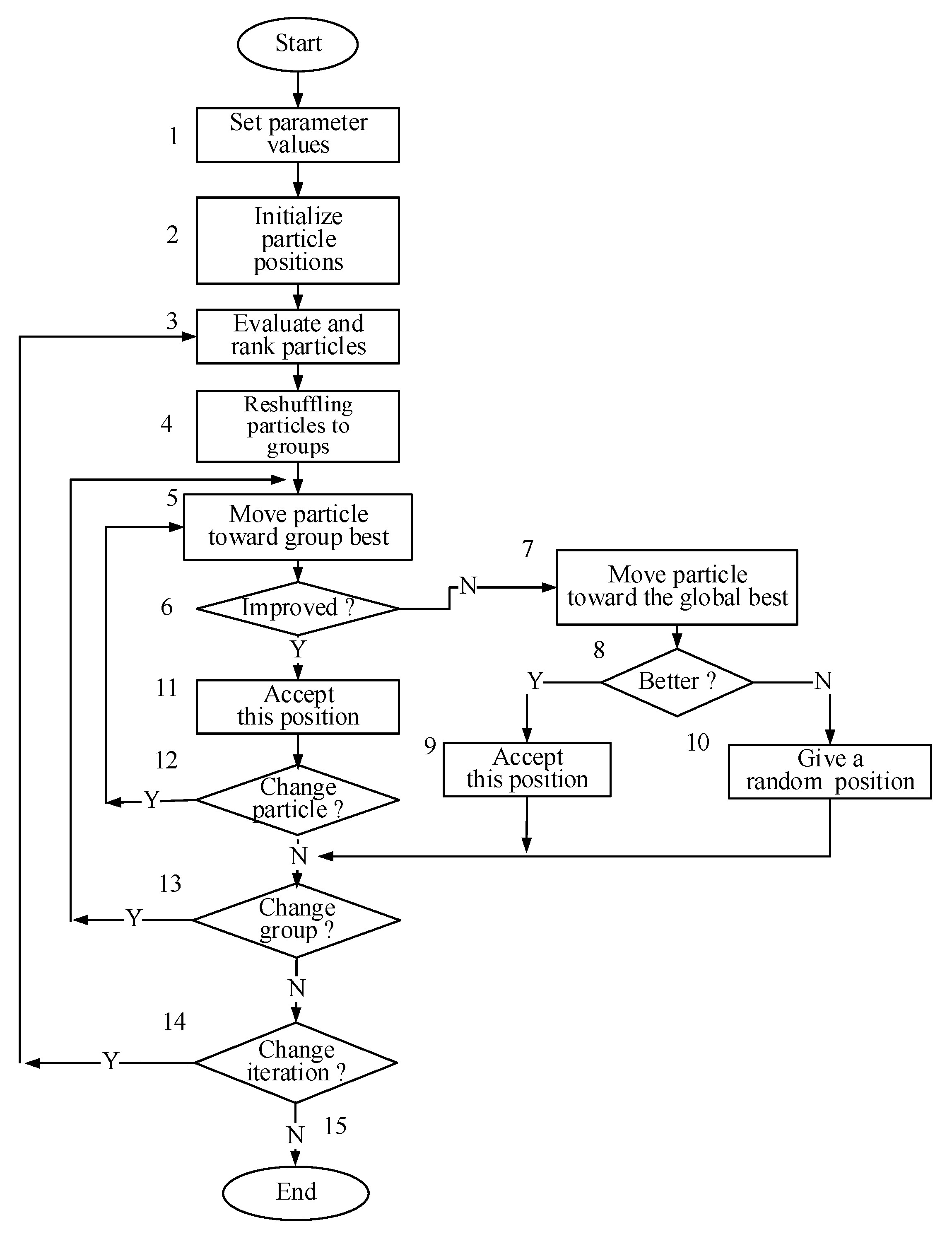
4.3. The Main Flow Logic of MGPSO
4.3.1. Particle Swarm Optimization (PSO)
4.3.2. Multiple Groups Particle Swarm Optimization (MGPSO)
- Determine the total distance vector by using Equation (34). The total distance vector is then derived as follows.
- Determine the and by using Equations (39) and (40).
- Determine the adaptive velocity vector by using Equations (38) and (39). Here, we assume (0,1,0,0).
- Determine the adaptive velocity using Equation (34). We can get the as follow.
- Determine the next position using Equation (35).
4.4. The Simulation Method
- Timed Pr/Tr net = (P,T,A,Σ,L,F)
| P: | a set of predicates; P = Pt ∪ Pnt, where Pt is a set of timed predicates; Pnt is a set non-timed predicates. Pi ∈ Pt or Pnt and Pt ∩ Pnt = ∅. |
| T: | a set of transitions {T1,…,Tn}. |
| A: | a set of arcs. |
| Σ: | a structure including individual tokens (Ti) as well as operations (Oj) and relations (Rk), i.e., Σ = (T1,…,Ti; O1,…,Oj; R1,…,Rk). |
| L: | labeling of arcs with a formal sum of n attributes of token’s variables, consisting of zero-attributes indicating a no-argument token. |
| F: | a set of inscriptions in transitions; being logical formulas established from the operations and relations of the structure Σ; variables occurring free in a formula have to be at an adjacent arc. |
| M: | a marking of P with formal sums of n-tuples of individual tokens. M0 is an initial marking. |
5. Numerical Experiments
5.1. Parameter Values
5.2. Experiment Data Generation
5.3. An Example of a Small-Sized Problem
5.3.1. Input Data
- Container 1 should be loaded before Container 5.
- Container 2 should be loaded before Container 4.
- Container 4 should be loaded before Container 7.
5.3.2. Output Result
5.4. Extensive Experiments
- The experimental results of the problem size 10 × 10 show that Method4 (MGPSO) outperforms Method3 (PSO), Method2 (GA), and Method1 (SBB) with the edges 26.3%, 25.4%, and 28.0%, respectively, in terms of makespan.
- The experimental results of the problem size 20 × 20 show that Method4 (MGPSO) outperforms Method3 (PSO), Method2 (GA), and Method1 (SBB) with the edges 25.3%, 26.8%, 28.9%, respectively, in terms of makespan.
- The experimental results of the problem size 40 × 40 show that the Method4 (MGPSO) outperforms Method3 (PSO), Method2 (GA), and Method1 (SBB) with the edges 25.8%, 26.2%, and 28.4%, respectively, in terms of makespan.
- The experimental results of the problem size 80 × 80 show that Method4 (MGPSO) outperforms Method3 (PSO), Method2 (GA), and Method1 (SBB) with the edges 26.9%, 27.3%, and 31.8%, respectively, in terms of makespan.
5.5. Statistically Test
6. Results Analysis and Discussions
- The research aims to improve operational efficiency for a container terminal by coordinating YC, YT, and QC. The VSP constraints are especially respected, and they can affect the QC operation. The penalty costs of violating the VSP constraint is considered in the objective function with the purpose of exclude undesired solutions. The small-sized experiment has demonstrated the found solution, which is found to be free from violating all the VSP constraints.
- As QC is bigger and heavier, it requires more setup time and tends to become a bottleneck in the container terminal operation. Therefore, coordinating YC and YT operations to facilitate the QC operation is reasonable.
- The load-balancing concept enables better utilization of available resources. This concept has been applied to all equipment, including YC, YT, and QC, in this research. The small-sized experiment shows that the completion of QC 1 and QC 2 in the found solution is close, which implies a good result.
- This research has taken two storage positions of containers, one in the storage block and another in the vessel, into consideration. The position in the block is specified by the YSP, while the position in the vessel is specified by the VSP. Changing positions between the block and vessel require the cooperation of YC, YT, and QC; thus, coordination on these MHE is important. In this research, simulation-based optimization methods are used as the planning tool.
- Method1 (SBB) is simply due to the use of one single iteration. It generates a simple solution. This method makes a YC work in one direction, from low bay to high bay number. Though it facilitates YC operation, it cannot make sure of the benefit to the QC operation. The experimental results show that Method1 is inferior to other methods in terms of makespan.
- Method4 (MGPSO) is found able to find a good solution at an earlier iteration. This advantage is considered owing to its novel features, such as multiple groups, particle reshuffling, adaptive velocity, and decreasing group number. Not only to be more diversified, but particles can also use smart movements, such as Tabu fly and Neighborhood search, to better search a solution space.
- Unlike the PSO, the MGPSO employs multiple groups of particles so that particles can be more diversified due to being influenced by more elites (i.e., the best particles of groups). This helps avoid particles from being trapped in local optima.
- Figure 11 shows the Z value trends of the problem size 20 × 20 obtained from different methods. Method4 (MGPSO) is found to outperform Method3 (PSO), Method2 (GA), and Method1 (SBB). Method1 (SBB) finds one Z value due to its simplicity. In contrast, Method2 (GA), Method3 (PSO), and Method4 (MGPSO) have evolutionary capabilities. In addition, the evolutionary methods dive to the bottom quickly, and since then, solution improvement is found to not be significant. One likely reason is the use of the load-balancing concept, which gives a good initial foundation for developing solutions so that the contributions from the sequencing methods become non-significant. This finding suggests that a small iteration run can be employed to save the computational times required if necessary.
7. Conclusions
Author Contributions
Funding
Institutional Review Board Statement
Informed Consent Statement
Data Availability Statement
Acknowledgments
Conflicts of Interest
References
- UNCTAD. United Nations Conference on Trade and Development-Review of Maritime Transport. 2019. Available online: http://unctad.org/en/publicationsLibrary/rmt2019en.pdf (accessed on 15 June 2021).
- Stahlbock, R.; Steenken, D. Container terminal operation and operations research—A classification and literature review. OR Spectr. 2004, 26, 3–49. [Google Scholar] [CrossRef]
- Bierwirth, C.; Meisel, F. A survey of berth allocation and quay crane scheduling problems in container terminals. Eur. J. Oper. Res. 2010, 202, 615–627. [Google Scholar] [CrossRef]
- Hsu, H.-P.; Wang, C.-N. Resources Planning for Container Terminal in a Maritime Supply Chain Using Multiple Particle Swarms Optimization (MPSO). Mathematics 2020, 8, 764. [Google Scholar] [CrossRef]
- Imai, A.; Chen, H.C.; Nishimura, E.; Papadimitriou, S. The simultaneous berth and quay crane allocation problem. Transp. Res. Part E Logist. Transp. Rev. 2008, 44, 900–920. [Google Scholar] [CrossRef] [Green Version]
- Hsu, H.-P. A HPSO for solving dynamic and discrete berth allocation problem and dynamic quay crane assignment problem simultaneously. Swarm Evol. Comput. 2016, 27, 156–168. [Google Scholar] [CrossRef]
- Raa, B.; Dullaert, W.; Van Schaeren, R. An enriched model for the integrated berth allocation and quay crane assignment problem. Expert Syst. Appl. 2011, 38, 14136–14147. [Google Scholar] [CrossRef]
- Carlo, H.J.; Vis, I.F.; Roodbergen, K.J. Storage yard operations in container terminals: Literature overview, trends, and research directions. Eur. J. Oper. Res. 2014, 235, 412–430. [Google Scholar] [CrossRef]
- Kizilay, D.; Eliiyi, D.T. A comprehensive review of quay crane scheduling, yard operations and integrations thereof in container terminals. Flex. Serv. Manuf. J. 2020, 33, 1–42. [Google Scholar] [CrossRef]
- Azevedo, A.T.; Salles-Neto, L.; Chaves, A.; Moretti, A.C. Solving the 3D stowage planning problem integrated with the quay crane scheduling problem by representation by rules and genetic algorithm. Appl. Soft Comput. 2018, 65, 495–516. [Google Scholar] [CrossRef]
- Zheng, K.; Lu, Z.; Sun, X. An Effective Heuristic for the Integrated Scheduling Problem of Automated Container Handling System Using Twin 40’ Cranes. In Proceedings of the Second International Conference on Computer Modeling And Simulation, Sanya, China, 22–24 January 2010; Volume 1, pp. 406–410. [Google Scholar] [CrossRef]
- Fazli, M.; Fathollahi-Fard, A.M.; Tian, G. Addressing a Coordinated Quay Crane Scheduling and Assignment Problem by Red Deer Algorithm. Int. J. Eng. 2019, 32, 1186–1191. [Google Scholar] [CrossRef] [Green Version]
- Sun, D.; Tang, L.; Baldacci, R. A Benders decomposition-based framework for solving quay crane scheduling problems. Eur. J. Oper. Res. 2018, 273, 504–515. [Google Scholar] [CrossRef]
- Huang, S.Y.; Li, Y. A bounded two-level dynamic programming algorithm for quay crane scheduling in container terminals. Comput. Ind. Eng. 2018, 123, 303–313. [Google Scholar] [CrossRef]
- Rouky, N.; Abourraja, M.N.; Boukachour, J.; Boudebous, D.; Alaoui, A.E.H.; El Khoukhi, F. Simulation optimization based ant colony algorithm for the uncertain quay crane scheduling problem. Int. J. Ind. Eng. Comput. 2019, 111–132. [Google Scholar] [CrossRef]
- Nielsen, I.E.; Do, N.A.D.; Nguyen, V.D.; Nielsen, P.; Michna, Z. Reducing Truck Emissions in Import Operations at Container Terminal—A Case Study in a Singaporean Port. In Technology Management for Sustainable Production and Logistics; Springer: Berlin/Heidelberg, Germany, 2015; pp. 133–151. [Google Scholar] [CrossRef]
- Kim, K.H.; Bae, J.W. A Look-Ahead Dispatching Method for Automated Guided Vehicles in Automated Port Container Terminals. Transp. Sci. 2004, 38, 224–234. [Google Scholar] [CrossRef]
- Bish, E.K.; Chen, F.Y.; Leong, Y.T.; Nelson, B.L.; Ng, J.W.C.; Simchi-Levi, D. Dispatching vehicles in a mega container terminal. In Container Terminals and Cargo Systems; Springer: Berlin/Heidelberg, Germany, 2007; pp. 179–194. [Google Scholar] [CrossRef]
- Ng, W.C.; Mak, K.L.; Zhang, Y.X. Scheduling trucks in container terminals using a genetic algorithm. Eng. Optim. 2007, 39, 33–47. [Google Scholar] [CrossRef]
- Ng, W.; Mak, K. Yard crane scheduling in port container terminals. Appl. Math. Model. 2005, 29, 263–276. [Google Scholar] [CrossRef] [Green Version]
- Jung, S.H.; Kim, K.H. Load scheduling for multiple quay cranes in port container terminals. J. Intell. Manuf. 2006, 17, 479–492. [Google Scholar] [CrossRef]
- He, J.; Chang, D.; Mi, W.; Yan, W. A Strategy for Yard Crane Scheduling Based on Hybrid Parallel Genetic Algorithm. In Proceedings of the 2008 International Symposium on Knowledge Acquisition and Modeling, Wuhan, China, 21–22 December 2008; pp. 678–683. [Google Scholar] [CrossRef]
- Javanshir, H.; SEYED, A.G.S. Yard crane scheduling in port container terminals using genetic algorithm. Int. J. Ind. Eng. 2010, 6, 39–50. [Google Scholar]
- Chang, D.; Jiang, Z.; Yan, W.; He, J. Developing a dynamic rolling-horizon decision strategy for yard crane scheduling. Adv. Eng. Inform. 2011, 25, 485–494. [Google Scholar] [CrossRef]
- He, J.; Huang, Y.; Yan, W. Yard crane scheduling in a container terminal for the trade-off between efficiency and energy consumption. Adv. Eng. Inform. 2015, 29, 59–75. [Google Scholar] [CrossRef]
- Tsai, F.-M.; Lu, C.-C.; Chang, Y.-M. A network model for solving the yard truck routing and scheduling problem. Int. J. Logist. Manag. 2016, 27, 353–370. [Google Scholar] [CrossRef]
- Ng, W. Crane scheduling in container yards with inter-crane interference. Eur. J. Oper. Res. 2005, 164, 64–78. [Google Scholar] [CrossRef]
- Sharif, O.; Huynh, N. Yard crane scheduling at container terminals: A comparative study of centralized and decentralized approaches. Marit. Econ. Logist. 2012, 14, 139–161. [Google Scholar] [CrossRef]
- Guo, X.; Huang, S.Y.; Hsu, W.J.; Low, M.Y.H. Dynamic yard crane dispatching in container terminals with predicted vehicle arrival information. Adv. Eng. Inform. 2011, 25, 472–484. [Google Scholar] [CrossRef]
- Li, W.; Wu, Y.; Goh, M. A Continuous-Time Model for Multiple Yard Crane Scheduling with Last-Minute Job Arrivals. In Planning and Scheduling for Maritime Container Yards; Springer: Cham, Switzerland, 2015; pp. 53–83. [Google Scholar] [CrossRef] [Green Version]
- Chen, L.; Bostel, N.; Dejax, P.; Cai, J.; Xi, L. A tabu search algorithm for the integrated scheduling problem of container handling systems in a maritime terminal. Eur. J. Oper. Res. 2007, 181, 40–58. [Google Scholar] [CrossRef]
- Cao, J.X.; Lee, D.H.; Chen, J.H.; Shi, Q. The integrated yard truck and yard crane scheduling problem: Benders’ decomposi-tion-based methods. Transp. Res. Part E Logist. Transp. Rev. 2010, 46, 344–353. [Google Scholar] [CrossRef]
- Chen, L.; Langevin, A.; Lu, Z. Integrated scheduling of crane handling and truck transportation in a maritime container ter-minal. Eur. J. Oper. Res. 2013, 225, 142–152. [Google Scholar] [CrossRef]
- Wu, Y.; Luo, J.; Zhang, D.; Dong, M. An integrated programming model for storage management and vehicle scheduling at container terminals. Res. Transp. Econ. 2013, 42, 13–27. [Google Scholar] [CrossRef]
- Xue, Z.; Zhang, C.; Miao, L.; Lin, W.-H. An ant colony algorithm for yard truck scheduling and yard location assignment problems with precedence constraints. J. Syst. Sci. Syst. Eng. 2013, 22, 21–37. [Google Scholar] [CrossRef]
- He, J.; Huang, Y.; Yan, W.; Wang, S. Integrated internal truck, yard crane and quay crane scheduling in a container terminal considering energy consumption. Expert Syst. Appl. 2015, 42, 2464–2487. [Google Scholar] [CrossRef]
- Luo, J.; Wu, Y.; Mendes, A.B. Modelling of integrated vehicle scheduling and container storage problems in unloading process at an automated container terminal. Comput. Ind. Eng. 2016, 94, 32–44. [Google Scholar] [CrossRef]
- Kizilay, D.; Eliiyi, D.T.; Van Hentenryck, P. Constraint and Mathematical Programming Models for Integrated Port Container Terminal Operations. In Proceedings of the International Conference on the Integration of Constraint Programming, Artificial Intelligence, and Operations Research, Delft, The Netherlands, 26–29 June 2018; Springer: Cham, Switzerland, 2018; pp. 344–360. [Google Scholar] [CrossRef] [Green Version]
- Yang, Y.; Zhong, M.; Dessouky, Y.; Postolache, O. An integrated scheduling method for AGV routing in automated container terminals. Comput. Ind. Eng. 2018, 126, 482–493. [Google Scholar] [CrossRef]
- Jonker, T.; Duinkerken, M.B.; Yorke-Smith, N.; de Waal, A.; Negenborn, R.R. Coordinated optimization of equipment opera-tions in a container terminal. Flex. Serv. Manuf. J. 2019, 33, 281–311. [Google Scholar] [CrossRef] [Green Version]
- Yang, Y.; Zhu, X.; Haghani, A. Multiple Equipment Integrated Scheduling and Storage Space Allocation in Rail–Water Intermodal Container Terminals Considering Energy Efficiency. Transp. Res. Rec. J. Transp. Res. Board 2019, 2673, 199–209. [Google Scholar] [CrossRef]
- Kennedy, J.; Eberhart, R. Particle swarm optimization. In Proceedings of the ICNN’95—International Conference on Neural Networks, Perth, Australia, 27 November–1 December 1995. [Google Scholar] [CrossRef]
- Hsu, H.P. A fuzzy knowledge-based disassembly process planning system based on fuzzy attributed and timed predi-cate/transition net. In Proceedings of the IEEE Transactions on Systems, Man, and Cybernetics: Systems, Budapest, Huntary, 9–12 October 2016; Volume 47, pp. 1800–1813. [Google Scholar]
- Hsu, H.-P.; Wang, C.-N.; Chou, C.-C.; Lee, Y.; Wen, Y.-F. Modeling and Solving the Three Seaside Operational Problems Using an Object-Oriented and Timed Predicate/Transition Net. Appl. Sci. 2017, 7, 218. [Google Scholar] [CrossRef]
- Zhang, Y.; Gong, D.-W.; Cheng, J. Multi-Objective Particle Swarm Optimization Approach for Cost-Based Feature Selection in Classification. IEEE/ACM Trans. Comput. Biol. Bioinform. 2015, 14, 64–75. [Google Scholar] [CrossRef]











| Research | Problem Scopes | Method Approaches | ||||
|---|---|---|---|---|---|---|
| YSP | YC | YT | QC | VSP | ||
| Chen et al. [31] | v | v | v | TS | ||
| Zheng et al. [11] | v | v | v | v | RULE | |
| Cao et al. [32] | v | v | GA, RULE | |||
| Chen et al. [33] | v | v | v | CP, RULE, DG | ||
| Wu et al. [34] | v | v | v | MIP, NLMIP, GA | ||
| Xue et al. [35] | v | v | v | ACO | ||
| He et al. [36] | v | v | v | MIP, SIM, GA, PSO | ||
| Luo et al. [37] | v | v | v | MIP, GA | ||
| Azevedo et al. [10] | v | v | SIM | |||
| Kizilay et al. [38] | v | v | MIP, CP | |||
| Yang et al. [39] | v | v | v | GA | ||
| Jonker et al. [40] | v | v | v | SA | ||
| Yang et al. [41] | v | v | v | v | MIP, GA | |
| This research | v | v | v | v | v | MILP, SIM, GA, PSO, MGPSO, SBB |
| YSP | YC | YT | QC | VSP | |||||
|---|---|---|---|---|---|---|---|---|---|
| X | 40 | 2 | 5 | 2 | 5 | ||||
| Y | 10 | 1 M/s | PT2i | 600 s | 1 M/s | R | 5 | ||
| Z | 10 | 1 M/s | 1 M/s | T | 5 | ||||
| 1 M/s | 1 M/s | ||||||||
| H | 11 | 40 M | |||||||
| Parameter Values | Method1 (SBB) | Method2 (GA) | Method3 (PSO) | Method4 (MGPSO) |
|---|---|---|---|---|
| 10, 20, 40, 80 | 10, 20, 40, 80 | 10, 20, 40, 80 | 10, 20, 40, 80 | |
| P | 120 | 120 | 120 | 120 |
| GN(t) | - | - | - | Equation (33) |
| n | - | - | - | P/GN(t) |
| n_ls | - | - | - | 2 |
| T | 1 | 500 | 500 | 250 |
| w | - | - | 0.5 | - |
| - | - | 2 | - | |
| - | - | −2 | - | |
| Rm | - | 0.3 | - | 0.3 |
| Rc | - | 0.4 | - | - |
| j | 1 | 2 | 3 | 4 | 5 | 6 | 7 | 8 | 9 | 10 |
|---|---|---|---|---|---|---|---|---|---|---|
| type | 2 | 2 | 2 | 2 | 2 | 2 | 2 | 2 | 2 | 2 |
| x | 23 | 3 | 31 | 10 | 38 | 30 | 20 | 5 | 28 | 33 |
| y | 7 | 7 | 9 | 1 | 10 | 4 | 1 | 8 | 2 | 9 |
| z | 8 | 10 | 8 | 5 | 4 | 7 | 5 | 2 | 2 | 2 |
| j | 1 | 2 | 3 | 4 | 5 | 6 | 7 | 8 | 9 | 10 |
|---|---|---|---|---|---|---|---|---|---|---|
| type | 2 | 2 | 2 | 2 | 2 | 2 | 2 | 2 | 2 | 2 |
| b | 3 | 2 | 4 | 2 | 3 | 3 | 2 | 2 | 4 | 3 |
| r | 3 | 4 | 4 | 4 | 3 | 2 | 4 | 3 | 5 | 4 |
| t | 1 | 2 | 2 | 3 | 3 | 4 | 5 | 2 | 1 | 2 |
| j | 1 | 2 | 3 | 4 | 5 | 6 | 7 | 8 | 9 | 10 | |
|---|---|---|---|---|---|---|---|---|---|---|---|
| i | |||||||||||
| 1 | 0 | 0 | 0 | 0 | 0 | 0 | 0 | 0 | 0 | 0 | |
| 2 | 0 | 0 | 0 | 0 | 0 | 0 | 0 | 0 | 0 | 0 | |
| 3 | 0 | 0 | 0 | 0 | 0 | 0 | 0 | 0 | 0 | 0 | |
| 4 | 0 | 600 | 0 | 0 | 0 | 0 | 0 | 0 | 0 | 0 | |
| 5 | 600 | 0 | 0 | 0 | 0 | 0 | 0 | 0 | 0 | 0 | |
| 6 | 0 | 0 | 0 | 0 | 0 | 0 | 0 | 0 | 0 | 0 | |
| 7 | 0 | 0 | 0 | 600 | 0 | 0 | 0 | 0 | 0 | 0 | |
| 8 | 0 | 0 | 0 | 0 | 0 | 0 | 0 | 0 | 0 | 0 | |
| 9 | 0 | 0 | 0 | 0 | 0 | 0 | 0 | 0 | 0 | 0 | |
| 10 | 0 | 0 | 0 | 0 | 0 | 0 | 0 | 0 | 0 | 0 | |
| j | 1 | 2 | 3 | 4 | 5 | 6 | 7 | 8 | 9 | 10 |
|---|---|---|---|---|---|---|---|---|---|---|
| YC | 1 | 1 | 2 | 1 | 2 | 2 | 1 | 1 | 2 | 2 |
| Seq. | 4 | 1 | 5 | 3 | 4 | 1 | 5 | 2 | 3 | 2 |
| S1 | 229.2 | 0 | 465.6 | 156 | 348 | 0 | 331.2 | 62.4 | 258 | 157.2 |
| E1 | 331.2 | 62.4 | 550.8 | 229.2 | 465.6 | 157.2 | 400.8 | 156 | 348 | 258 |
| YT | 1 | 1 | 5 | 4 | 4 | 3 | 3 | 2 | 2 | 5 |
| S2 | 662.4 | 62.4 | 858 | 229.2 | 829.2 | 157.2 | 757.2 | 156 | 756 | 258 |
| E2 | 1262.4 | 662.4 | 1458 | 829.2 | 1429.2 | 757.2 | 1357.2 | 756 | 1356 | 858 |
| QC | 1 | 1 | 2 | 1 | 1 | 1 | 1 | 1 | 2 | 1 |
| Seq. | 6 | 1 | 2 | 4 | 8 | 3 | 7 | 2 | 1 | 5 |
| S3 | 1263.2 | 662.4 | 1488.8 | 1011.1 | 1505.6 | 894 | 1394.6 | 773.4 | 1356 | 1131.7 |
| E3 | 1394.6 | 773.4 | 1626.4 | 1131.7 | 1627.5 | 1011.1 | 1505.6 | 894 | 1488.8 | 1263.2 |
| No. | Method1 (SBB) | Method2 (GA) | Method3 (PSO) | Method4 (MGPSO) | |||||||||||
|---|---|---|---|---|---|---|---|---|---|---|---|---|---|---|---|
| Z (s) | T (s) | IT | G (%) | Z(s) | T(s) | IT | G (%) | Z (s) | T (s) | IT | G (%) | Z (s) | T (s) | IT | |
| 10 × 10 | |||||||||||||||
| 1 | 2050.5 | 0.05 | 1 | 26.4 | 2152.9 | 1134 | 100 | 32.7 | 2079.3 | 78 | 7 | 28.1 | 1622.8 | 366 | 1 |
| 2 | 2079.6 | 0.05 | 1 | 28.6 | 1921.6 | 133 | 1 | 18.8 | 1964.8 | 76 | 1 | 21.5 | 1616.9 | 365 | 1 |
| 3 | 2129.8 | 0.05 | 1 | 21.6 | 2132.2 | 130 | 162 | 21.7 | 2175.4 | 77 | 2 | 24.2 | 1751.6 | 360 | 1 |
| 4 | 2138.3 | 0.05 | 1 | 30.0 | 2118.2 | 131 | 342 | 28.7 | 2108.6 | 78 | 28 | 28.2 | 1645.4 | 389 | 1 |
| 5 | 2058.2 | 0.05 | 1 | 27.5 | 1957.3 | 134 | 5 | 21.2 | 2000.5 | 77 | 9 | 23.9 | 1614.4 | 354 | 1 |
| 6 | 2128.8 | 0.05 | 1 | 31.6 | 2051.4 | 131 | 5 | 26.9 | 2071.3 | 76 | 6 | 28.1 | 1617.1 | 349 | 1 |
| 7 | 2058.4 | 0.05 | 1 | 26.4 | 2093.5 | 131 | 1 | 28.5 | 2036.7 | 76 | 1 | 25.0 | 1628.9 | 365 | 6 |
| 8 | 2011.1 | 0.05 | 1 | 25.3 | 2083.3 | 134 | 3 | 29.8 | 2166.6 | 76 | 223 | 35.0 | 1604.8 | 362 | 4 |
| 9 | 2160.3 | 0.05 | 1 | 32.8 | 2060.3 | 131 | 2 | 26.7 | 2080.0 | 76 | 4 | 27.9 | 1626.7 | 349 | 2 |
| 10 | 2234.5 | 0.05 | 1 | 30.6 | 2041.1 | 132 | 17 | 19.3 | 2084.3 | 78 | 8 | 21.9 | 1710.3 | 374 | 1 |
| Avg. | 2104.9 | 0.05 | 1 | 28.0 | 2061.2 | 232.1 | 64 | 25.4 | 2076.8 | 76.8 | 29 | 26.3 | 1643.9 | 363.3 | 2 |
| 20 × 20 | |||||||||||||||
| 1 | 3571.6 | 0.08 | 1 | 28.1 | 3582.0 | 257 | 278 | 28.5 | 3356.0 | 149 | 35 | 20.4 | 2787.9 | 662 | 230 |
| 2 | 3724.5 | 0.08 | 1 | 33.5 | 3626.4 | 258 | 213 | 30.0 | 3568.7 | 147 | 56 | 27.9 | 2790.5 | 690 | 146 |
| 3 | 3090.9 | 0.08 | 1 | 9.6 | 3447.2 | 252 | 164 | 22.3 | 3465.5 | 150 | 97 | 22.9 | 2819.2 | 696 | 7 |
| 4 | 3884.5 | 0.08 | 1 | 38.2 | 3373.0 | 257 | 450 | 20.0 | 3394.4 | 152 | 383 | 20.8 | 2810.9 | 717 | 31 |
| 5 | 3723.8 | 0.08 | 1 | 33.7 | 3595.9 | 259 | 410 | 29.1 | 3603.6 | 148 | 9 | 29.4 | 2785.5 | 707 | 70 |
| 6 | 3208.5 | 0.08 | 1 | 14.4 | 3526.6 | 261 | 9 | 25.8 | 3693.3 | 102 | 261 | 31.7 | 2803.5 | 683 | 55 |
| 7 | 3595.3 | 0.08 | 1 | 29.1 | 3627.0 | 262 | 317 | 30.2 | 3376.7 | 148 | 60 | 21.2 | 2785.5 | 718 | 147 |
| 8 | 3799.5 | 0.08 | 1 | 36.1 | 3350.7 | 262 | 309 | 20.0 | 3368.2 | 148 | 22 | 20.6 | 2792.7 | 698 | 5 |
| 9 | 3585.1 | 0.08 | 1 | 27.2 | 3588.8 | 259 | 384 | 27.4 | 3636.3 | 147 | 19 | 29.0 | 2818.0 | 691 | 8 |
| 10 | 3890.1 | 0.08 | 1 | 39.1 | 3768.3 | 259 | 213 | 34.7 | 3600.7 | 146 | 18 | 28.7 | 2797.5 | 681 | 174 |
| Avg. | 3607.4 | 0.08 | 1 | 28.9 | 3548.6 | 258.6 | 275 | 26.8 | 3506.3 | 143.7 | 96 | 25.3 | 2799.1 | 694.3 | 87 |
| 40 × 40 | |||||||||||||||
| 1 | 6697.5 | 0.08 | 1 | 28.6 | 6909.1 | 509 | 271 | 32.6 | 6895.6 | 285 | 31 | 32.4 | 5209.6 | 1167 | 110 |
| 2 | 6751.7 | 0.08 | 1 | 30.6 | 6627.7 | 491 | 204 | 28.2 | 5936.2 | 279 | 173 | 14.8 | 5169.9 | 1297 | 47 |
| 3 | 6694.7 | 0.08 | 1 | 29.4 | 6654.6 | 495 | 45 | 28.6 | 6489.6 | 286 | 330 | 25.4 | 5174.7 | 1258 | 92 |
| 4 | 6580.2 | 0.08 | 1 | 26.9 | 6217.7 | 499 | 94 | 20.0 | 6344.9 | 285 | 340 | 22.4 | 5183.3 | 1211 | 91 |
| 5 | 6689.7 | 0.08 | 1 | 29.4 | 6389.4 | 501 | 35 | 23.6 | 6327.9 | 281 | 422 | 22.4 | 5167.9 | 1373 | 42 |
| 6 | 6586.0 | 0.08 | 1 | 26.9 | 6671.3 | 503 | 153 | 28.5 | 6688.9 | 285 | 497 | 28.9 | 5190.2 | 1227 | 219 |
| 7 | 6592.3 | 0.08 | 1 | 26.8 | 6485.1 | 503 | 67 | 24.7 | 6621.2 | 285 | 121 | 27.4 | 5198.7 | 1312 | 4 |
| 8 | 6796.8 | 0.08 | 1 | 30.9 | 6719.2 | 501 | 238 | 29.4 | 6518.8 | 282 | 50 | 25.5 | 5194.0 | 1309 | 28 |
| 9 | 6570.3 | 0.08 | 1 | 27.0 | 6551.1 | 497 | 419 | 26.7 | 6743.2 | 288 | 357 | 30.4 | 5172.2 | 1364 | 116 |
| 10 | 6595.4 | 0.08 | 1 | 27.4 | 6217.4 | 495 | 458 | 20.1 | 6665.3 | 287 | 438 | 28.7 | 5177.0 | 1316 | 117 |
| Avg. | 6655.5 | 0.1 | 1 | 28.4 | 6544.3 | 499.4 | 198 | 26.2 | 6523.2 | 284.3 | 276 | 25.8 | 5183.8 | 1283.4 | 87 |
| 80 × 80 | |||||||||||||||
| 1 | 13,038.4 | 0.09 | 1 | 30.6 | 12,483.9 | 992 | 272 | 25.1 | 12,444.1 | 566 | 272 | 24.7 | 9982.2 | 2576 | 56 |
| 2 | 12,278.7 | 0.09 | 1 | 23.0 | 12,733.5 | 908 | 103 | 27.5 | 12,493.5 | 555 | 199 | 25.1 | 9986.7 | 2471 | 131 |
| 3 | 13,054.0 | 0.09 | 1 | 30.6 | 12,850.4 | 989 | 37 | 28.6 | 12,478.4 | 551 | 226 | 24.8 | 9996.4 | 2398 | 116 |
| 4 | 13,619.6 | 0.09 | 1 | 36.4 | 12,699.8 | 960 | 1 | 27.2 | 12,886.8 | 556 | 348 | 29.1 | 9985.7 | 2421 | 161 |
| 5 | 13,257.0 | 0.09 | 1 | 33.0 | 12,514.7 | 979 | 203 | 25.6 | 12,604.7 | 548 | 314 | 26.5 | 9965.2 | 2315 | 73 |
| 6 | 13,507.1 | 0.09 | 1 | 35.3 | 12,895.5 | 945 | 266 | 29.2 | 12,717.8 | 626 | 85 | 27.4 | 9983.2 | 2423 | 15 |
| 7 | 12,538.6 | 0.09 | 1 | 25.6 | 12,593.6 | 984 | 178 | 26.2 | 12,182.4 | 566 | 252 | 22.0 | 9981.8 | 2484 | 95 |
| 8 | 14,272.8 | 0.09 | 1 | 43.0 | 12,776.7 | 983 | 114 | 28.0 | 12,958.4 | 566 | 126 | 29.8 | 9983.1 | 2463 | 74 |
| 9 | 13,023.6 | 0.09 | 1 | 30.5 | 12,560.4 | 977 | 433 | 25.8 | 12,903.2 | 562 | 140 | 29.3 | 9980.8 | 2565 | 157 |
| 10 | 12,932.9 | 0.09 | 1 | 29.8 | 12,947.2 | 964 | 107 | 29.9 | 12,945.4 | 558 | 212 | 29.9 | 9963.8 | 2283 | 105 |
| Avg. | 13,152.3 | 0.1 | 1 | 31.8 | 12,705.6 | 968.1 | 171 | 27.3 | 12,661.5 | 565.4 | 217 | 26.9 | 9980.9 | 2439.9 | 98 |
| Problem Size | Method1 (SBB) | Method2 (GA) | Method3 (PSO) | Method4 (MGPSO) | |||
|---|---|---|---|---|---|---|---|
| Avg. Z | t-test | Avg. Z | t-test | Avg. Z | t-test | Avg. Z | |
| 10 × 10 | 2104.9 | + | 2061.2 | + | 2076.8 | + | 1643.9 |
| 20 × 20 | 3607.4 | + | 3548.6 | + | 3506.3 | + | 2799.1 |
| 20 × 40 | 6655.5 | + | 6544.3 | + | 6523.2 | + | 5183.8 |
| 80 × 80 | 13,152.3 | + | 12,705.6 | + | 12,661.5 | + | 9980.9 |
Publisher’s Note: MDPI stays neutral with regard to jurisdictional claims in published maps and institutional affiliations. |
© 2021 by the authors. Licensee MDPI, Basel, Switzerland. This article is an open access article distributed under the terms and conditions of the Creative Commons Attribution (CC BY) license (https://creativecommons.org/licenses/by/4.0/).
Share and Cite
Hsu, H.-P.; Wang, C.-N.; Fu, H.-P.; Dang, T.-T. Joint Scheduling of Yard Crane, Yard Truck, and Quay Crane for Container Terminal Considering Vessel Stowage Plan: An Integrated Simulation-Based Optimization Approach. Mathematics 2021, 9, 2236. https://doi.org/10.3390/math9182236
Hsu H-P, Wang C-N, Fu H-P, Dang T-T. Joint Scheduling of Yard Crane, Yard Truck, and Quay Crane for Container Terminal Considering Vessel Stowage Plan: An Integrated Simulation-Based Optimization Approach. Mathematics. 2021; 9(18):2236. https://doi.org/10.3390/math9182236
Chicago/Turabian StyleHsu, Hsien-Pin, Chia-Nan Wang, Hsin-Pin Fu, and Thanh-Tuan Dang. 2021. "Joint Scheduling of Yard Crane, Yard Truck, and Quay Crane for Container Terminal Considering Vessel Stowage Plan: An Integrated Simulation-Based Optimization Approach" Mathematics 9, no. 18: 2236. https://doi.org/10.3390/math9182236
APA StyleHsu, H.-P., Wang, C.-N., Fu, H.-P., & Dang, T.-T. (2021). Joint Scheduling of Yard Crane, Yard Truck, and Quay Crane for Container Terminal Considering Vessel Stowage Plan: An Integrated Simulation-Based Optimization Approach. Mathematics, 9(18), 2236. https://doi.org/10.3390/math9182236

