Altruistic Preference Models of Low-Carbon E-Commerce Supply Chain
Abstract
:1. Introduction
- (1)
- When the manufacturer and the e-platform form a Stackelberg game relationship, what are the optimal decisions in basic models where the e-platform considering sltruistic preference or not?
- (2)
- Considering the increase of consumers’ low-carbon awareness, what is the impact of the consumers’ elasticity coefficient of carbon emission reduction on LCECSC decision-making?
- (3)
- By comparing whether the e-platform considers altruistic preferences, is it beneficial to the operation of LCECSC for the e-platform to consider altruistic preferences? Since commission will affect the degree of altruistic preference of the e-platform, an extended model is established after endogenizing the influence of commissions on altruistic preference. How does LCECSC’s decision-making differ between the commission-based extended model with altruistic preference and the basic model without altruistic preference?
2. Literature Review
3. Model Illustration and Assumptions
- (1)
- Suppose that in an LCECSC composed of a single manufacturer and a single e- platform, the e-platform is the leader and the manufacturer is the follower. The two constitute a Stackelberg game relationship, that is, a two-stage complete information dynamic game.
- (2)
- According to the research of Nair and Narasimhan [56], the carbon emission reduction cost of the manufacturer is assumed as , and the market demand for low-carbon products is
- (3)
- According to the hypothesis of Han and Wang [10], the cost of the e-platform to provide service is assumed as .
4. Basic Model
4.1. The Basic Model without Altruistic Preference
4.2. The Basic Model with Altruistic Preference
5. Extended Model
5.1. The Commission-Based Extended Model with Altruistic Preference
5.2. Comparative Analysis between Models
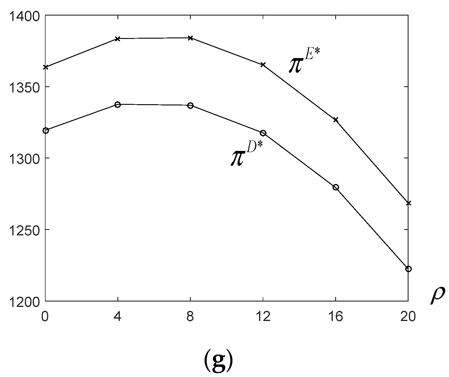
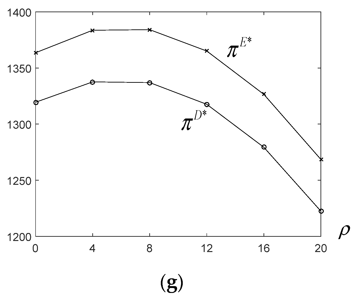
6. Numerical Analysis
7. Conclusions
- (1)
- The paper only considers the impact of carbon emission reduction and altruistic preference on LCECSC’s decision-making. Carbon trading mechanisms, carbon tax, and other environmental policies will also have an impact on LCECSC’s decisions and operation. Research on this aspect will be our next research direction.
- (2)
- The paper only considers the LCECSC composed of a single manufacturer and a single e-platform. In reality, the e-platform often cooperates with multiple manufacturers. Research on this “one-to-many” LCECSC will be more practical and instructive.
- (3)
- The paper only considers the impact of economic and environmental benefits, and does not consider other factors that affect the sustainable development of the supply chain, such as consumer surplus. This will be our next research direction.
Author Contributions
Funding
Institutional Review Board Statement
Informed Consent Statement
Data Availability Statement
Conflicts of Interest
References
- Fan, R.; Lin, J.; Zhu, K. Study of game models and the complex dynamics of a low-carbon supply chain with an altruistic retailer under consumers’ low-carbon preference. Phys. A Stat. Mech. Its Appl. 2019, 528, 121460. [Google Scholar] [CrossRef]
- Kokkinos, K.; Karayannis, V.; Moustakas, K. Circular bio-economy via energy transition supported by Fuzzy Cognitive Map modeling towards sustainable low-carbon environment. Sci. Total. Environ. 2020, 721, 137754. [Google Scholar] [CrossRef]
- Zu, Y.; Chen, L.; Fan, Y. Research on low-carbon strategies in supply chain with environmental regulations based on differential game. J. Clean. Prod. 2018, 177, 527–546. [Google Scholar] [CrossRef]
- Zhang, F.; Wang, C. Dynamic pricing strategy and coordination in a dual-channel supply chain considering service value. Appl. Math. Model. 2018, 54, 722–742. [Google Scholar] [CrossRef]
- Michaud, C.; Llerena, D.; Joly, I. Willingness to pay for environmental attributes of non-food agricultural products: A real choice experiment. Eur. Rev. Agric. Econ. 2012, 40, 313–329. [Google Scholar] [CrossRef] [Green Version]
- Sun, L.; Cao, X.; Alharthi, M.; Zhang, J.; Taghizadeh-Hesary, F.; Mohsin, M. Carbon emission transfer strategies in supply chain with lag time of emission reduction technologies and low- carbon preference of consumers. J. Clean. Prod. 2020, 264, 121664. [Google Scholar] [CrossRef]
- Xie, J.; Li, J.; Liang, L.; Fang, X.; Yang, G.; Wei, L. Contracting Emissions Reduction Supply Chain Based on Market Low-Carbon Preference and Carbon Intensity Constraint. Asia Pac. J. Oper. Res. 2020, 37, 1–34. [Google Scholar] [CrossRef]
- Peng, Q.; Wang, C.; Xu, L. Emission abatement and procurement strategies in a low-carbon supply chain with option contracts under stochastic demand. Comput. Ind. Eng. 2020, 144, 106502. [Google Scholar] [CrossRef]
- Liu, H.; Ke, W.; Wei, K.K.; Hua, Z. Influence of power and trust on the intention to adopt electronic supply chain management in China. Int. J. Prod. Res. 2015, 53, 70–87. [Google Scholar] [CrossRef]
- Han, Q.; Wang, Y. Decision and coordination in a low-carbon e-supply chain considering the manufacturer’s carbon emission reduction behavior. Sustainability 2018, 10, 1686. [Google Scholar] [CrossRef] [Green Version]
- Xu, X.; Munson, C.L.; Zeng, S. The impact of e-service offerings on the demand of online customers. Int. J. Prod. Econ. 2017, 184, 231–244. [Google Scholar] [CrossRef]
- Siddiqui, A.W.; Raza, S.A. Electronic supply chains: Status & perspective. Comput. Ind. Eng. 2015, 88, 536–556. [Google Scholar] [CrossRef]
- Wang, C.X.; Qian, Z.; Zhao, Y. Impact of manufacturer and retailer’s market pricing power on customer satisfaction incentives in supply chains. Int. J. Prod. Econ. 2018, 205, 98–112. [Google Scholar] [CrossRef]
- He, C.; Zhou, H. A retailer promotion policy model in a manufacturer Stackelberg dual-channel green supply chain. Procedia CIRP 2019, 83, 722–727. [Google Scholar] [CrossRef]
- Hu, B.; Meng, C.; Xu, D.; Son, Y.-J. Supply chain coordination under vendor managed inventory-consignment stocking contracts with wholesale price constraint and fairness. Int. J. Prod. Econ. 2018, 202, 21–31. [Google Scholar] [CrossRef]
- Liu, S.; Papageorgiou, L.G. Fair profit distribution in multi-echelon supply chains via transfer prices. Omega 2018, 80, 77–94. [Google Scholar] [CrossRef] [Green Version]
- Wan, X.; Jiang, B.; Li, Q.; Hou, X. Dual-channel environmental hotel supply chain network equilibrium decision under altruism preference and demand uncertainty. J. Clean. Prod. 2020, 271, 122595. [Google Scholar] [CrossRef]
- Feng, H.; Zeng, Y.; Cai, X.; Qian, Q.; Zhou, Y. Altruistic profit allocation rules for joint replenishment with carbon cap-and-trade policy. Eur. J. Oper. Res. 2020, 290, 956–967. [Google Scholar] [CrossRef]
- Xia, X.; Li, C.; Zhu, Q. Game analysis for the impact of carbon trading on low-carbon supply chain. J. Clean. Prod. 2020, 276, 123220. [Google Scholar] [CrossRef]
- Wang, Y.; Fan, R.; Shen, L.; Miller, W. Recycling decisions of low-carbon e-commerce closed-loop supply chain under government subsidy mechanism and altruistic preference. J. Clean. Prod. 2020, 259, 120883. [Google Scholar] [CrossRef]
- Nie, D.; Li, H.; Qu, T.; Liu, Y.; Li, C. Optimizing supply chain configuration with low carbon emission. J. Clean. Prod. 2020, 271, 122539. [Google Scholar] [CrossRef]
- Xu, X.P.; Guo, W.D.; Yu, G.Y. Government investment strategy and platform pricing decisions with the cross-market network externality. Kybernetes 2020, 50, 711–736. [Google Scholar] [CrossRef]
- Fang, G.; Tian, L.; Fu, M.; Sun, M. Government control or low carbon lifestyle?—Analysis and application of a novel selective-constrained energy-saving and emission-reduction dynamic evolution system. Energy Policy 2014, 68, 498–507. [Google Scholar] [CrossRef]
- Jung, S.H.; Feng, T. Government subsidies for green technology development under uncertainty. Eur. J. Oper. Res. 2020, 286, 726–739. [Google Scholar] [CrossRef]
- Yuyin, Y.; Jinxi, L. The effect of governmental policies of carbon taxes and energy-saving subsidies on enterprise decisions in a two-echelon supply chain. J. Clean. Prod. 2018, 181, 675–691. [Google Scholar] [CrossRef]
- Yi, Y.; Li, J. Cost-Sharing Contracts for energy saving and emissions reduction of a supply chain under the conditions of government subsidies and a carbon tax. Sustainability 2018, 10, 895. [Google Scholar] [CrossRef] [Green Version]
- Wang, Q.; Zhao, D.; He, L. Contracting emission reduction for supply chains considering market low-carbon preference. J. Clean. Prod. 2016, 120, 72–84. [Google Scholar] [CrossRef]
- Ji, J.; Zhang, Z.; Yang, L. Carbon emission reduction decisions in the retail-/dual-channel supply chain with consumers’ preference. J. Clean. Prod. 2017, 141, 852–867. [Google Scholar] [CrossRef]
- Zhao, H.; Song, S.; Zhang, Y.; Liao, Y.; Yue, F. Optimal decisions in supply chains with a call option contract under the carbon emissions tax regulation. J. Clean. Prod. 2020, 271, 122199. [Google Scholar] [CrossRef]
- Hu, W.; Wang, D. How does environmental regulation influence China’s carbon productivity? An empirical analysis based on the spatial spillover effect. J. Clean. Prod. 2020, 257, 120484. [Google Scholar] [CrossRef]
- Halat, K.; Hafezalkotob, A. Modeling carbon regulation policies in inventory decisions of a multi-stage green supply chain: A game theory approach. Comput. Ind. Eng. 2019, 128, 807–830. [Google Scholar] [CrossRef]
- Babagolzadeh, M.; Shrestha, A.; Abbasi, B.; Zhang, Y.; Woodhead, A.; Zhang, A. Sustainable cold supply chain management under demand uncertainty and carbon tax regulation. Transp. Res. Part D Transport. Environ. 2020, 80, 102245. [Google Scholar] [CrossRef]
- Saxena, L.K.; Jain, P.K.; Sharma, A.K. A fuzzy goal programme with carbon tax policy for Brownfield Tyre remanufacturing strategic supply chain planning. J. Clean. Prod. 2018, 198, 737–753. [Google Scholar] [CrossRef]
- Wang, C.; Wang, W.; Huang, R. Supply chain enterprise operations and government carbon tax decisions considering carbon emissions. J. Clean. Prod. 2017, 152, 271–280. [Google Scholar] [CrossRef]
- Wang, F.; Zhuo, X.; Niu, B. Sustainability analysis and buy-back coordination in a fashion supply chain with price competition and demand uncertainty. Sustainability 2017, 9, 25. [Google Scholar] [CrossRef] [Green Version]
- Kushwaha, S.; Ghosh, A.; Rao, A.K. Collection activity channels selection in a reverse supply chain under a carbon cap-and-trade regulation. J. Clean. Prod. 2020, 260, 121034. [Google Scholar] [CrossRef]
- Chaabane, A.; Ramudhin, A.; Paquet, M. Design of sustainable supply chains under the emission trading scheme. Int. J. Prod. Econ. 2012, 135, 37–49. [Google Scholar] [CrossRef]
- Xing, E.; Shi, C.; Zhang, J.; Cheng, S.; Lin, J.; Ni, S. Double third-party recycling closed-loop supply chain decision under the perspective of carbon trading. J. Clean. Prod. 2020, 259, 120651. [Google Scholar] [CrossRef]
- Kang, K.; Zhao, Y.; Zhang, J.; Qiang, C. Evolutionary game theoretic analysis on low-carbon strategy for supply chain enterprises. J. Clean. Prod. 2019, 230, 981–994. [Google Scholar] [CrossRef]
- Li, Q.; Xiao, T.; Qiu, Y. Price and carbon emission reduction decisions and revenue-sharing contract considering fairness concerns. J. Clean. Prod. 2018, 190, 303–314. [Google Scholar] [CrossRef]
- Zhao, J.; Zeng, D.; Che, L.; Zhou, T.; Hu, J. Research on the profit change of new energy vehicle closed-loop supply chain members based on government subsidies. Environ. Technol. Innov. 2020, 19, 100937. [Google Scholar] [CrossRef]
- Hong, Z.; Guo, X. Green product supply chain contracts considering environmental responsibilities. Omega 2019, 83, 155–166. [Google Scholar] [CrossRef]
- Li, Z.; Wei, G. Pythagorean fuzzy heronian mean operators in multiple attribute decision making and their application to supplier selection. Int. J. Knowl. Based Intell. Eng. Syst. 2019, 23, 77–91. [Google Scholar] [CrossRef]
- Wei, G.; Wei, C.; Guo, Y. EDAS method for probabilistic linguistic multiple attribute group decision making and their application to green supplier selection. Soft Comput. 2021, 25, 9045–9053. [Google Scholar] [CrossRef]
- Wagner, G.; Schramm-Klein, H.; Steinmann, S. Online retailing across e-channels and e-channel touchpoints: Empirical studies of consumer behavior in the multichannel e-commerce environment. J. Bus. Res. 2020, 107, 256–270. [Google Scholar] [CrossRef]
- Tang, R.; Yang, L. Financing strategy in fresh product supply chains under e-commerce environment. Electron. Commer. Res. Appl. 2020, 39, 100911. [Google Scholar] [CrossRef]
- Garcia, F.; Grabot, B. Enterprise Web Portals for Supply Chain Coordination: A Case Study. In IFIP International Conference on Advances in Production Management Systems; Springer: Cham, Switzerland, 2015; Volume 460, pp. 93–100. [Google Scholar] [CrossRef] [Green Version]
- Ma, J.; Xie, L. The comparison and complex analysis on dual-channel supply chain under different channel power structures and uncertain demand. Nonlinear Dyn. 2015, 83, 1379–1393. [Google Scholar] [CrossRef]
- Shao, X.F. Free or calculated shipping: Impact of delivery cost on supply chains moving to online retailing. Int. J. Prod. Econ. 2017, 191, 267–277. [Google Scholar] [CrossRef]
- Panda, S.; Modak, N.M.; Cárdenas-Barrón, L.E. Coordinating a socially responsible closed-loop supply chain with product recycling. Int. J. Prod. Econ. 2017, 188, 11–21. [Google Scholar] [CrossRef]
- Jia, D.; Li, S. Optimal decisions and distribution channel choice of closed-loop supply chain when e-retailer offers online marketplace. J. Clean. Prod. 2020, 265, 121767. [Google Scholar] [CrossRef]
- Yan, N.; Liu, Y.; Xu, X.; He, X. Strategic dual-channel pricing games with e-retailer finance. Eur. J. Oper. Res. 2020, 283, 138–151. [Google Scholar] [CrossRef]
- Loch, C.; Wu, Y. Social preferences and supply chain performance: An experimental study. Manag. Sci. 2008, 54, 1835–1849. [Google Scholar] [CrossRef] [Green Version]
- Xia, L.; Hao, W.; Qin, J.; Ji, F.; Yue, X. Carbon emission reduction and promotion policies considering social preferences and consumers’ low-carbon awareness in the cap-and-trade system. J. Clean. Prod. 2018, 195, 1105–1124. [Google Scholar] [CrossRef]
- Huang, H.; Zhang, J.; Ren, X.; Zhou, X. Greenness and pricing decisions of cooperative supply chains considering altruistic preferences. Int. J. Environ. Res. Public Health 2018, 16, 51. [Google Scholar] [CrossRef] [Green Version]
- Nair, A.; Narasimhan, R. Dynamics of competing with quality-and advertising-based goodwill. Eur. J. Oper. Res. 2006, 175, 462–474. [Google Scholar] [CrossRef]
- Yue, J.; Austin, J.; Huang, Z.; Chen, B. Pricing and advertisement in a manufacturer–retailer supply chain. Eur. J. Oper. Res. 2013, 231, 492–502. [Google Scholar] [CrossRef]
- Liu, W.; Yan, X.; Li, X.; Wei, W. The impacts of market size and data-driven marketing on the sales mode selection in an Internet platform based supply chain. Transp. Res. Part E Logist. Transp. Rev. 2020, 136, 101914. [Google Scholar] [CrossRef]
- Shi, K.; Jiang, F.; Ou, Y.Q. Altruism and Pricing Strategy in Dual-Channel Supply Chains. Am. J. Oper. Res. 2013, 03, 402–412. [Google Scholar] [CrossRef] [Green Version]
- Katok, E.; Olsen, T.; Pavlov, V. Wholesale Pricing under Mild and Privately Known Concerns for Fairness. Prod. Oper. Manag. 2014, 23, 285–302. [Google Scholar] [CrossRef]




| Symbol | Description |
|---|---|
| Parameters | |
| Carbon emission reduction cost parameter, | |
| The commission charged by the e-platform for units selling low-carbon products, | |
| Service cost parameter, | |
| The potential maximum demand in the market, | |
| Elasticity coefficient of the sales price, , where , this shows that consumers are most concerned about sales price, followed by the service level and the carbon emission reduction level. | |
| The service level elasticity coefficient, | |
| The carbon emission reduction elasticity coefficient, | |
| The e-platform’s altruistic preference coefficient, | |
| Decision variables | |
| The manufacturer’s carbon emission reduction level | |
| The sales price of unit low-carbon products | |
| The service level | |
| Derived Functions | |
| The manufacturer’s profit | |
| The e-platform’s profit | |
| The LCECSC’s profit, | |
| Basic Model | Title 2 |
|---|---|
| Basic model without altruistic preference | ; |
| ; | |
| ; | |
| ; | |
| Basic model with altruistic preference | ; |
| ; | |
| . | |
Publisher’s Note: MDPI stays neutral with regard to jurisdictional claims in published maps and institutional affiliations. |
© 2021 by the authors. Licensee MDPI, Basel, Switzerland. This article is an open access article distributed under the terms and conditions of the Creative Commons Attribution (CC BY) license (https://creativecommons.org/licenses/by/4.0/).
Share and Cite
Liu, J.; Zhou, L.; Wang, Y. Altruistic Preference Models of Low-Carbon E-Commerce Supply Chain. Mathematics 2021, 9, 1682. https://doi.org/10.3390/math9141682
Liu J, Zhou L, Wang Y. Altruistic Preference Models of Low-Carbon E-Commerce Supply Chain. Mathematics. 2021; 9(14):1682. https://doi.org/10.3390/math9141682
Chicago/Turabian StyleLiu, Jianfeng, Liguo Zhou, and Yuyan Wang. 2021. "Altruistic Preference Models of Low-Carbon E-Commerce Supply Chain" Mathematics 9, no. 14: 1682. https://doi.org/10.3390/math9141682
APA StyleLiu, J., Zhou, L., & Wang, Y. (2021). Altruistic Preference Models of Low-Carbon E-Commerce Supply Chain. Mathematics, 9(14), 1682. https://doi.org/10.3390/math9141682

