A Sliding Mode Control Algorithm with Elementary Compensation for Input Matrix Uncertainty in Affine Systems
Abstract
1. Introduction
- A two-step design strategy is utilized to develop the controller: the first step aims at the additive matched uncertainties; the second step focuses on addressing input matrix uncertainty.
- In the proposed method, a new compensation term is specially developed to suppress the input matrix uncertainty. This control term is determined by solving a nonlinear vector equation. By this means, the uncertainty in the input matrix can be compensated for by the element. A theorem and several lemmas based on the principle of the convex cone set are proposed to guarantee the existence and uniqueness of the solution to the vector equation.
- A practical algorithmic process is proposed to obtain the unique solution to the vector equation efficiently.
- The proposed method is applied to two systems with different structures. The simulations are conducted by comparing the proposed SMC strategy with the SMC method proposed by Cao and Xu [10] and the SMC method proposed by Feng et al. [21]. The simulation results show that the proposed method can successfully suppress the effect of input matrix uncertainty and is effective in chattering reduction.
- Compared with SMC studies that integrated with intelligent control approaches such as observers, fuzzy logics and adaptive control, the proposed method has much simpler structure and many fewer control parameters and is useful for practical implementations.
2. Preliminaries of Sliding Mode Controller Design
3. Sliding Mode Controller Design
3.1. General Control Law
3.2. Compensation Term
| Algorithm 1 Calculation of the control law |
| Input: m, Output: ;
|
4. Stability Analysis
- If system (1) can be transformed into the regular canonical form in (3), linear sliding surface is defined as (4). During the sliding mode,Since is a diagonal positive definite matrix, . Supposing that the origin of system (31), i.e., is globally asymptotically stable, if not considering , there exists a gain providing a global asymptotic stabilization of the origin with respect to (3) by means of the control [24,25,30]:One can observe that in (14) has the same form as in (32) and in (32) is equal to in (14). Therefore, in (14), which ensures the enforcement of sliding mode, is able to provide a global asymptotic stabilization of the origin with respect to (3) without [25].Since also satisfies the matched condition and the compensation control term proposed in this paper can suppress its effect and guarantee the system reachability, in conclusion, the global asymptotic stabilization of system (3) can be achieved by combining the general control in (14) and the compensation term proposed in this paper.
- If integral sliding surface (5) is adopted here, considering Assumption 3, as well as the non-singularity of , the equivalent control can be solved from equation [10]:
5. Numerical Simulation Results
5.1. Nonlinear Plant with Matched Uncertainties
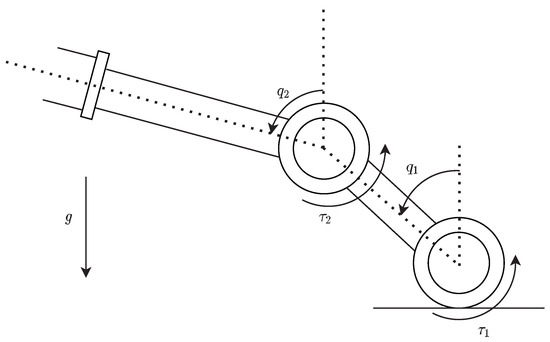
5.2. A Two-Link Robot Manipulator
6. Conclusions
Author Contributions
Funding
Data Availability Statement
Conflicts of Interest
References
- Ji, W.; Qiu, J.; Karimi, H.R.; Fu, Y. New Results on Fuzzy Integral Sliding Mode Control of Nonlinear Singularly Perturbed Systems. IEEE Trans. Fuzzy Syst. 2021, 29, 2062–2067. [Google Scholar] [CrossRef]
- Ji, W.; Ji, W.; Chadli, M. A Novel Fuzzy Output Feedback Dynamic Sliding Mode Controller Design for Two-Dimensional Nonlinear Systems. IEEE Trans. Fuzzy Syst. 2021, 29, 2869–2877. [Google Scholar] [CrossRef]
- Chen, W.-H.; Deng, X.; Zheng, W.X. Sliding-Mode Control for Linear Uncertain Systems with Impulse Effects via Switching Gains. IEEE Trans. Autom. Control 2022, 67, 2044–2051. [Google Scholar] [CrossRef]
- Kao, Y.; Ma, S.; Xia, H.; Wang, C.; Liu, Y. Integral Sliding Mode Control for a Kind of Impulsive Uncertain Reaction-Diffusion Systems. IEEE Trans. Autom. Control 2022, 68, 1154–1160. [Google Scholar] [CrossRef]
- Utkin, V.I. Variable Structure Systems with Sliding Modes. IEEE Trans. Autom. Control 1977, 22, 212–222. [Google Scholar] [CrossRef]
- Utkin, V.I. Sliding Mode Control Design Principles and Applications to Electric Drives. IEEE Trans. Ind. Electron. 1993, 40, 23–36. [Google Scholar] [CrossRef]
- Sharma Kumar, N.; Janardhanan, S. Discrete-Time Higher-Order Sliding Mode Control of Systems with Unmatched Uncertainty. Int. J. Robust Nonlinear Control 2019, 29, 135–152. [Google Scholar] [CrossRef]
- Bejarano-Rincón, A.; Estrada, A.; Herrera-Hernández, E.C.; Orozco, J.M.A. Control Design for a Class of Multivariable Nonlinear System with Uncertain Control Direction: A Laser Cladding Case Study. Eur. J. Control 2021, 60, 114–124. [Google Scholar] [CrossRef]
- Nasiri, A.; Nguang, S.K.; Swain, A. Adaptive Sliding Mode Control for a Class of MIMO Nonlinear Systems with Uncertainties. J. Frankl. Inst. 2014, 351, 2048–2061. [Google Scholar] [CrossRef]
- Cao, W.-J.; Xu, J. Nonlinear Integral-Type Sliding Surface for Both Matched and Unmatched Uncertain Systems. IEEE Trans. Autom. Control 2004, 49, 1355–1360. [Google Scholar] [CrossRef]
- Chen, L.; Edwards, C.; Alwi, H. Integral Sliding Mode Fault-Tolerant Control Allocation for a Class of Affine Nonlinear System. Int. J. Robust Nonlinear Control 2019, 29, 565–582. [Google Scholar] [CrossRef]
- Chang, J.-L. Dynamic Output Integral Sliding-Mode Control with Disturbance Attenuation. IEEE Trans. Autom. Control 2009, 54, 2653–2658. [Google Scholar] [CrossRef]
- Shtessel, Y.; Edwards, C.; Fridman, L.; Levant, A. Sliding Mode Control and Observation. In Control Engineering; Springer: New York, NY, USA, 2014. [Google Scholar] [CrossRef]
- Zhang, X.; Xiao, L.; Li, H. Robust Control for Switched Systems with Unmatched Uncertainties Based on Switched Robust Integral Sliding Mode. IEEE Access 2020, 8, 138396–138405. [Google Scholar] [CrossRef]
- Lin, C.-H.; Hu, G.-H.; Yan, J.-J. Estimation of Synchronization Errors between Master and Slave Chaotic Systems with Matched/Mismatched Disturbances and Input Uncertainty. Mathematics 2021, 9, 176. [Google Scholar] [CrossRef]
- Lee, H.; Utkin, V.I. Chattering Suppression Methods in Sliding Mode Control Systems. Annu. Rev. Control 2007, 31, 179–188. [Google Scholar] [CrossRef]
- Utkin, V.I.; Lee, H. Chattering Problem in Sliding Mode Control Systems. In Proceedings of the International Workshop on Variable Structure Systems, Alghero, Sardinia, 5–7 June 2006; pp. 346–350. [Google Scholar] [CrossRef]
- Castillo, I.; Fridman, L.; Moreno, J.A. Super-Twisting Algorithm in Presence of Time and State Dependent Perturbations. Int. J. Control 2018, 91, 2535–2548. [Google Scholar] [CrossRef]
- Martínez-Fuentes, A.C.; Seeber, R.; Fridman, L.; Moreno, J.A. Saturated Lipschitz Continuous Sliding Mode Controller for Perturbed Systems with Uncertain Control Coefficient. IEEE Trans. Autom. Control 2021, 66, 3885–3891. [Google Scholar] [CrossRef]
- Gutiérrez-Oribio, D.; Mercado-Uribe, A.; Moreno, J.A.; Fridman, L. Robust Global Stabilization of a Class of Underactuated Mechanical Systems of Two Degrees of Freedom. Int. J. Robust Nonlinear Control 2021, 31, 3908–3928. [Google Scholar] [CrossRef]
- Feng, Z.-R.; Sha, R.-Z.; Ren, Z.-G. A Chattering-Reduction Sliding Mode Control Algorithm for Affine Systems with Input Matrix Uncertainty. IEEE Access 2022, 10, 58982–58996. [Google Scholar] [CrossRef]
- Hui, L.; Liu, L.; Wang, Y.; Cheng, Z.; Luo, Q. Active Fault-Tolerant Attitude Tracking Control with Adaptive Gain for Spacecrafts. Aerosp. Sci. Technol. 2020, 98, 105706. [Google Scholar] [CrossRef]
- Utkin, V.I.; Shi, J. Integral Sliding Mode in Systems Operating under Uncertainty Conditions. In Proceedings of the 35th IEEE Conference on Decision and Control, Kobe, Japan, 13 December 1996; Volume 4, pp. 4591–4596. [Google Scholar] [CrossRef]
- Sira-Ramírez, H. Differential Geometric Methods in Variable-Structure Control. Int. J. Control 1988, 48, 1359–1390. [Google Scholar] [CrossRef]
- Perruquetti, W.; Barbot, J.-P. Sliding Mode Control in Engineering; CRC Press: New York, NY, USA, 2002. [Google Scholar] [CrossRef]
- Utkin, V.I.; Guldner, J.; Shi, J. Sliding Mode Control in Electro-Mechanical Systems, 2nd ed.; CRC Press: Boca Raton, FL, USA, 2017. [Google Scholar] [CrossRef]
- Loukianov, A.; Utkin, V.I. Methods of Reducing Equations of Dynamic Systems to Regular Form. Autom. Remote. Control 1981, 42, 413–420. [Google Scholar]
- Rubagotti, M.; Estrada, A.; Castanos, F.; Ferrara, A.; Fridman, L. Integral Sliding Mode Control for Nonlinear Systems with Matched and Unmatched Perturbations. IEEE Trans. Autom. Control 2011, 56, 2699–2704. [Google Scholar] [CrossRef]
- Hamayun, T.M.; Edwards, C.; Alwi, H. Integral Sliding Mode Control In Fault Tolerant Control Schemes Using Integral Sliding Modes; Hamayun, M.T., Edwards, C., Alwi, H., Eds.; Studies in Systems, Decision and Control; Springer International Publishing: Cham, Switzerland, 2016; pp. 17–37. [Google Scholar] [CrossRef]
- Perruquetti, W.; Borne, P.; Richard, J. A Generalized Regular Form for Sliding Mode Stabilization of MIMO Systems. In Proceedings of the 36th IEEE Conference on Decision and Control, San Diego, CA, USA, 13 December 1997; Volume 2, pp. 957–961. [Google Scholar] [CrossRef]

















| Parameter | Value |
|---|---|
| 1 (ms) | |
| T | 15 (s) |
| cSMC | 37.1501 | 23.4337 | 21.5019 | 6.9049 | 26.6317 | 12.4571 |
| fSMC | 8.9872 | 4.0914 | 20.5888 | 6.6641 | 16.6333 | 5.8035 |
| pSMC | 4.2052 | 1.1294 | 6.4453 | 2.2433 | 5.6850 | 1.8903 |
| cSMC/pSMC | 8.8343 | 20.7494 | 3.3361 | 3.0780 | 4.6846 | 6.5898 |
| fSMC/pSMC | 2.1372 | 3.6227 | 3.1944 | 2.9707 | 2.9258 | 3.0701 |
| Parameter | Value |
|---|---|
| 1 (kg) | |
| 1 (kg) | |
| 1 (m) | |
| 1 (m) | |
| g | 9.8 (m/s) |
| T | 6 (s) |
| 1 (ms) | |
| cSMC | 7.5517 | 12.0323 |
| fSMC | 3.8651 | 5.7159 |
| pSMC | 0.6051 | 26.2142 |
| cSMC/pSMC | 12.4810 | 55.1825 |
| fSMC/pSMC | 6.3881 | 26.2142 |
Disclaimer/Publisher’s Note: The statements, opinions and data contained in all publications are solely those of the individual author(s) and contributor(s) and not of MDPI and/or the editor(s). MDPI and/or the editor(s) disclaim responsibility for any injury to people or property resulting from any ideas, methods, instructions or products referred to in the content. |
© 2023 by the authors. Licensee MDPI, Basel, Switzerland. This article is an open access article distributed under the terms and conditions of the Creative Commons Attribution (CC BY) license (https://creativecommons.org/licenses/by/4.0/).
Share and Cite
Sha, R.; Feng, Z. A Sliding Mode Control Algorithm with Elementary Compensation for Input Matrix Uncertainty in Affine Systems. Mathematics 2023, 11, 1337. https://doi.org/10.3390/math11061337
Sha R, Feng Z. A Sliding Mode Control Algorithm with Elementary Compensation for Input Matrix Uncertainty in Affine Systems. Mathematics. 2023; 11(6):1337. https://doi.org/10.3390/math11061337
Chicago/Turabian StyleSha, Ruizhi, and Zuren Feng. 2023. "A Sliding Mode Control Algorithm with Elementary Compensation for Input Matrix Uncertainty in Affine Systems" Mathematics 11, no. 6: 1337. https://doi.org/10.3390/math11061337
APA StyleSha, R., & Feng, Z. (2023). A Sliding Mode Control Algorithm with Elementary Compensation for Input Matrix Uncertainty in Affine Systems. Mathematics, 11(6), 1337. https://doi.org/10.3390/math11061337

