An Improved Laplace Satellite Tracking Method Based on the Kalman Filter
Abstract
1. Introduction
2. Materials and Methods
2.1. An Improved Laplace Algorithm
2.2. Kalman Filtering
2.2.1. Judging the Validity of the Measurement Data
2.2.2. Kalman Filtering of the Measurement Data
- (1)
- is the predicted value of the current frame’s data, that is, for the predicted value of the current frame data derived from the improved Laplacian orbit prediction algorithm, Formula (14) is modified to the improved Laplacian orbit prediction algorithm.
- (2)
- is the measurement of tracking of the equipment for the current frame’s data, and is the optimal estimation of the current frame’s data.
- (3)
- Because the data on the satellite’s orbit in this study include the azimuth angle and pitch angle, and the two axes of the data are filtered separately, which is appropriate for a single model and a single measurement, Equations (15)–(18) were simplified. The simplified results are as follows.
2.2.3. Workflow for Recording Accurate Measurement Data
- Receive the measurement data fed back by the servo control system and the target’s miss distance data fed back by the image processing system and synthesize the target’s measurement data.
- Extrapolate the orbit data of the current frame by using the recorded measurement data and the improved Laplace algorithm for predicting the orbit.
- Compare the target’s measurement data with the extrapolated tracking data of the current frame and judge whether the current frame’s measurement data are valid according to the judgment of validity, that is, whether the target captured by image processing is valid. If it is valid, execute Step 4; if it is invalid, execute Step 5.
- Using the extrapolated tracking data of the current frame in Step 2 as the predicted value and the measured data of the current frame as the measured value, filter the tracking data of the current frame by using the Kalman filtering method to obtain the optimal estimated value of the tracking data of the current frame and record the current frame’s data.
- If several consecutive frames are invalid, the tracking data of the current frame extrapolated in Step 2 are directly used as the optimal estimation value to record the current frame’s data. If consecutive frames are invalid (the number depends on the situation), stop recording.
2.3. An Improved Laplace Satellite Tracking Method Based on the Kalman Filter
2.3.1. Transformation of Coordinates
- (a)
- Alt-Az to horizontal is shown in Formula (23):where A and E are the azimuth and pitch angle under the horizontal mode and L and B are the horizontal angles of the longitude and latitude axis after rotation.
- (b)
- Horizontal to Alt-Az is shown in the Formula (24):where L and B are the angles of the longitude and latitude axes under the horizontal mode and A and E are the converted azimuth and pitch angle.
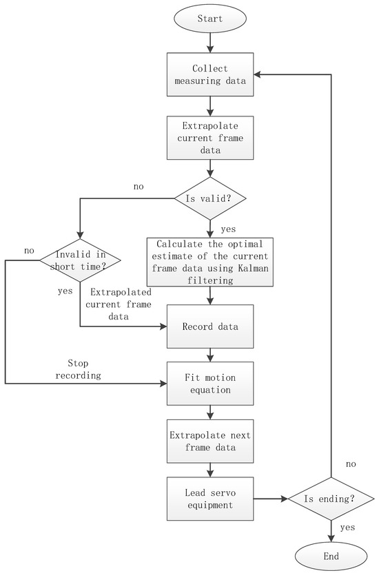
2.3.2. The Whole Process of the Improved Laplacian Satellite Tracking Method Based on the Kalman Filter
- The initial unfiltered measurement data are collected. After six frames of data have been obtained, the improved Laplacian algorithm is used for fitting the initial equation of motion, and the next frame’s data are extrapolated.
- The extrapolated data of the next frame are used to guide the server.
- The current frame’s measurement data are collected and extrapolated by the equation of motion, and the validity of the measurement data is determined. If they are valid, Step 4 is performed; if not, Step 6 is performed.
- Kalman filtering is performed on the current frame’s data, the optimal estimation is calculated, and the exact data are recorded, as shown in Step 5.
- If fewer than six frames of accurate data are recorded, the original six frames of data plus the actual recorded data are used to refit the equation of motion. If the actual recorded data are greater than or equal to 6, the equation of motion is refitted using only the actual recorded data. The next frame is extrapolated according to the time step and the moment when the last frame’s data were recorded. Return to Step 2.
- If the number of consecutive invalid frames is small, then perform Step 7; if the number of consecutive invalid frames is large, then perform Step 8 (the number of consecutive invalid frames depends on the situation).
- Directly record the current frame’s extrapolated data as accurate data and return to Step 5.
- Stop recording accurate data and return to Step 5.
3. Results
3.1. Experimental Verification of the Methods
3.1.1. Frequent Loss of the Target in a Short Period of Time
3.1.2. Losing the Target for Long Periods of Time
3.2. Test Verification of Orbit Prediction Capability
3.2.1. When Kalman Filtering Was Not Used
3.2.2. When Kalman Filtering Was Used
3.2.3. Comparison of the Data
4. Conclusions
Author Contributions
Funding
Data Availability Statement
Acknowledgments
Conflicts of Interest
References
- Joseph, R. Kopacz and Roman Herschitz and Jason Roney. Small satellites an overview and assessment. Acta Astronaut. 2020, 170, 93–105. [Google Scholar]
- Li, Z.; Zhao, L.; Liu, Y.; Chen, X.; Chen, H.; Zheng, F.; Zhang, Y.; Wang, D.; Li, J.; Liu, J.; et al. Autonomous Mission Planning Method for Optical Imaging Satellites Based on Real-Time Cloud Cover Information. Remote Sens. 2022, 14, 2635. [Google Scholar] [CrossRef]
- Pal, M.; Maity, R. Soil Moisture Retrieval Using Quad-Polarized SAR Data from Radar Imaging Satellite 1 (RISAT1) through Artificial Intelligence-Based Soft Computing Techniques. J. Indian Soc. Remote Sens. 2019, 47, 1671–1682. [Google Scholar] [CrossRef]
- Zhang, G.; Li, X.; Hu, G.; Zhang, Z.; An, J.; Man, W. Mission Planning Issues of Imaging Satellites: Summary, Discussion, and Prospects. Int. J. Aerosp. Eng. 2021, 2021, 7819105. [Google Scholar] [CrossRef]
- Giovanni, L.; Marco, C. Hybrid Open/Closed-Loop Attitude Control Method for Imaging Satellites. J. Aerosp. Eng. 2021, 34, 04021067. [Google Scholar]
- Akula, V.S.R.P.; Goyal, K.K.; Verma, O.P.; Sharma, N. Low-cost azimuth and elevation antenna rotator for LEO satellite tracking. Mater. Today Proc. 2022, 63, 56–61. [Google Scholar] [CrossRef]
- Chan, C.C.; Chen, H.H. Improving the Reliability of Phase Detection Autofocus. Electron. Imaging 2018, 30, 1–5. [Google Scholar] [CrossRef]
- Zhang, S.J.; Gao, Y.G.; Xue, X.Y.; Wang, G.; Li, H.D. Design and functional test of a novel optical testing target. Optoelectron. Lett. 2018, 14, 461–464. [Google Scholar] [CrossRef]
- Wu, H.; Mao, Y.; Xue, C.; Wei, Q.; Wu, W. A Method for Selecting Auto-Focusing Window of Photoelectric Theodolite. In Proceedings of the 2019 International Conference on Big Data, Electronics and Communication Engineering (BDECE 2019), Beijing, China, 24–25 November 2019; pp. 94–98. [Google Scholar] [CrossRef]
- Li, B.; Zhang, Y.; Huang, J.; Sang, J. Improved orbit predictions using two-line elements through error pattern mining and transferring. Acta Astronaut. 2021, 188, 405–415. [Google Scholar] [CrossRef]
- Abay, R.; Balage, S.; Brown, M.; Boyce, R. Two-Line Element Estimation Using Machine Learning. J. Astronaut. Sci. 2021, 68, 273–299. [Google Scholar] [CrossRef]
- Thoemel, J.; Mateshvili, N.; Demoulin, P.; Vanhellemont, F.; Pieroux, D.; Bingen, C.; Dekemper, E.; Franssens, G.; Robert, C.; Fussen, D. On the accuracy of the SGP4 to predict stellar occultation events using ENVISAT/GOMOS data and recommendations for the ALTIUS mission. CEAS Space J. 2019, 11, 147–159. [Google Scholar] [CrossRef]
- Ma, Y.; Xi, R. Occasion determination method of low Earth orbit satellites meeting the narrow-beam signal. Proc. Inst. Mech. Eng. Part G J. Aerosp. Eng. 2019, 233, 2198–2206. [Google Scholar] [CrossRef]
- Pavel, K.; Pavel, P.; Kateřina, K. Study of the Two-Line Element Accuracy by 1U CubeSat with a GPS Receiver. Sensors 2022, 22, 2902. [Google Scholar] [CrossRef] [PubMed]
- Tehrani, R.D.; Givi, H.; Crunteanu, D.E.; Cican, G. Adaptive Predictive Functional Control of X-Y Pedestal for LEO Satellite Tracking Using Laguerre Functions. Appl. Sci. 2021, 11, 9794. [Google Scholar] [CrossRef]
- Srivastava Vineet, K.; Mishra Padmdeo Ramakrishna, B.N.; Kushvah, B.S. Orbit prediction and Earth shadow modeling for Chandrayaan-2 Orbiter. Astrophys. Space Sci. 2021, 366, 85. [Google Scholar] [CrossRef]
- Tayeb, B.; Yousri, K.; Abdelaziz, K.; Hind, H. Generalized Laplacian Pyramid Pan-Sharpening Gain Injection Prediction Based on CNN. IEEE Geosci. Remote Sens. Lett. 2020, 17, 651–655. [Google Scholar]
- Liu, W.; Shi, P.; Zhang, H. Kalman filtering with finite-step autocorrelated measurement noise. J. Comput. Appl. Math. 2022, 408, 114138. [Google Scholar] [CrossRef]
- Muñoz, S.; Urda, P.; Escalona, J.L. Experimental measurement of track irregularities using a scaled track recording vehicle and Kalman filtering techniques. Mech. Syst. Signal Process. 2022, 169, 108–625. [Google Scholar] [CrossRef]














| Number | Length of Data | Length of Extrapolated Data | Maximum Deviation | Number of Counts |
|---|---|---|---|---|
| 1 | 26 | |||
| 2 | 22 | |||
| 3 | 14 |
| Number | Length of Data | Length of Extrapolated Data | Maximum Deviation | Number of Counts |
|---|---|---|---|---|
| 1 | 27 | |||
| 2 | 21 | |||
| 3 | 16 |
Disclaimer/Publisher’s Note: The statements, opinions and data contained in all publications are solely those of the individual author(s) and contributor(s) and not of MDPI and/or the editor(s). MDPI and/or the editor(s) disclaim responsibility for any injury to people or property resulting from any ideas, methods, instructions or products referred to in the content. |
© 2024 by the authors. Licensee MDPI, Basel, Switzerland. This article is an open access article distributed under the terms and conditions of the Creative Commons Attribution (CC BY) license (https://creativecommons.org/licenses/by/4.0/).
Share and Cite
Cui, S.; Li, J.; Yu, Y.; Wang, Y.; Gao, Y.; Zhang, L.; Chen, J. An Improved Laplace Satellite Tracking Method Based on the Kalman Filter. Aerospace 2024, 11, 712. https://doi.org/10.3390/aerospace11090712
Cui S, Li J, Yu Y, Wang Y, Gao Y, Zhang L, Chen J. An Improved Laplace Satellite Tracking Method Based on the Kalman Filter. Aerospace. 2024; 11(9):712. https://doi.org/10.3390/aerospace11090712
Chicago/Turabian StyleCui, Shuang, Jiang Li, Yang Yu, Ye Wang, Yuan Gao, Lei Zhang, and Jiayu Chen. 2024. "An Improved Laplace Satellite Tracking Method Based on the Kalman Filter" Aerospace 11, no. 9: 712. https://doi.org/10.3390/aerospace11090712
APA StyleCui, S., Li, J., Yu, Y., Wang, Y., Gao, Y., Zhang, L., & Chen, J. (2024). An Improved Laplace Satellite Tracking Method Based on the Kalman Filter. Aerospace, 11(9), 712. https://doi.org/10.3390/aerospace11090712

