Analysis of Cable Shielding and Influencing Factors for Indirect Effects of Lightning on Aircraft
Abstract
1. Introduction
2. Theoretical Calculation of the Indirect Effect of Lightning on Aircraft
2.1. The Principles behind the Indirect Effect of Lightning on Metal Aircraft
2.2. The Principle of the Indirect Effect of Lightning on Composite Aircraft
2.3. The Analysis of Metal Mesh in the Composite Aircraft Fuselage
3. Design and Analysis of the Indirect Effect of Lightning on Aircraft
3.1. Aircraft Model Construction and Excitation Source Setup
3.2. Lightning Passage through the Airframe
4. Influence of the Cable Shielding Layer on Shielding Performance
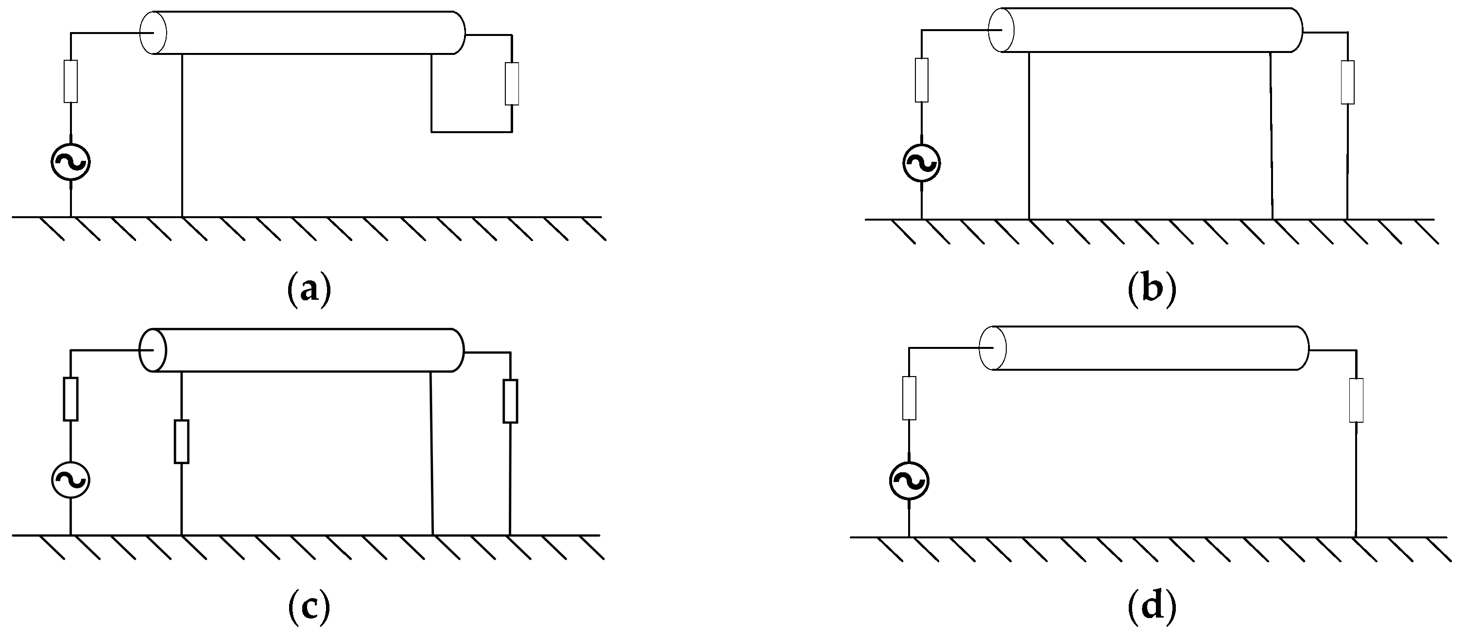
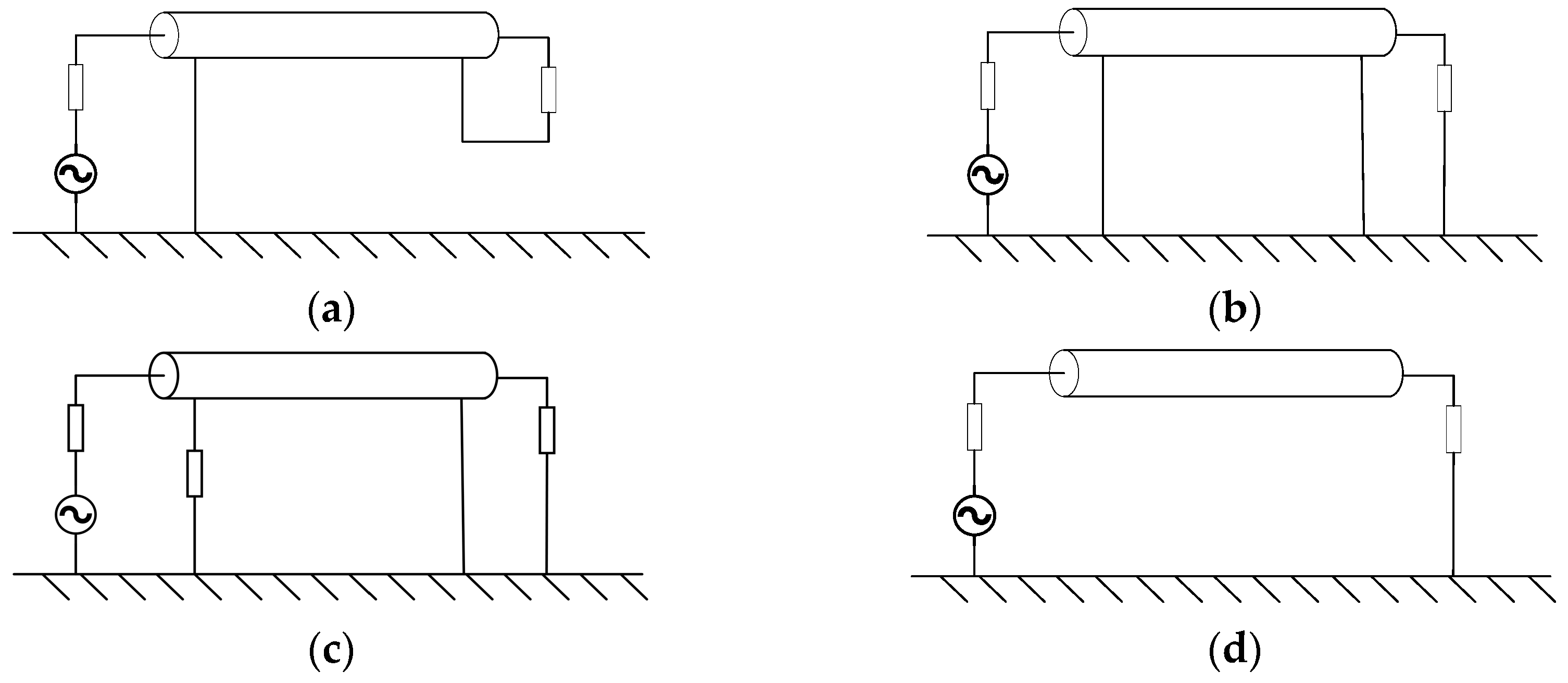
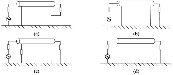
4.1. Cable Type
4.2. Material of the Cable Shielding Layer
4.3. Grounding Modes of the Cable Shielding Layer
5. Principles of Laying Cables
5.1. Cable Layout
5.2. Cable Track Groove
6. Conclusions
Author Contributions
Funding
Data Availability Statement
Conflicts of Interest
References
- Huang, Y.; Dan, S.; Danielle, S.S. Assessing the novel aircraft lightning strike protection technology using technology impact forecasting. J. Aircraft. 2020, 57, 914–921. [Google Scholar] [CrossRef]
- Teichmann, F.K. Chief Editorial Committee of Aircraft Design Manual. In Aircraft Design Manual; Aviation Industry Press: Beijing, China, 2000; Volume 10. [Google Scholar]
- Cai, L.; Du, Y.; Wang, J.; Zhou, M.; Chu, W.; Xu, C.; Fan, Y. Development characteristics of triggered lightning with fast initial continuous current pulses and two grounding points. Atmos. Res. 2023, 283, 106587. [Google Scholar] [CrossRef]
- Duan, Z.M. Review of aircraft lightning protection. High Volt. Eng. 2017, 43, 1393–1399. [Google Scholar] [CrossRef]
- Lloyd, K.J.; Plumer, J.A.; Walko, L.C. Measurement and analysis of lightning-induced voltages in aircraft electrical circuits. In NASA Contractor Report CR-1744; Lightning Technologies Inc.: Pittsfield, MA, USA, 1971. [Google Scholar] [CrossRef]
- Fisher, F.A.; Plumer, A.; Perala, R.A. Aircraft Lightning Protection Handbook; National Technical Information Service: Springfield, CA, USA, 2004.
- Zhao, T.; Chen, Y.; Xu, W.; Duan, Y.; Wang, Z.; Wang, N. Research on Multi-physical field simulation modeling of nacelle CFRP-metal structure by lightning strike. In Proceedings of the 2023 6th International Conference on Energy, Electrical and Power Engineering (CEEPE), Guangzhou, China, 12–14 May 2023; pp. 211–219. [Google Scholar] [CrossRef]
- Wang, B.; Zhang, Y.; Peng, M.; Lv, X.; Zhang, S.; Zhang, Z. A Study of Measuring Indirect Effects of Lightning on Commercial Aircraft Engine Control Systems. In Proceedings of the 2023 IEEE International Workshop on Electromagnetics: Applications and Student Innovation Competition (iWEM), Harbin, China, 15–18 July 2023; pp. 179–184. [Google Scholar] [CrossRef]
- Wang, Y.; Liang, X.; Dai, J.; Wang, L. Indirect Effects of Lightning Electromagnetic Environment Evaluation Analysis Method for Civil Aircraft. In Proceedings of the 2023 9th International Conference on Electrical Engineering, Control and Robotics (EECR), Wuhan, China, 24–26 February 2023; pp. 100–103. [Google Scholar] [CrossRef]
- Kowalczuk, E. Exploring Lightning Susceptibility of Composite Materials and Cable Harnesses in Aircraft through Electromagnetic Simulation; IET Seminar on Lightning Protection for Aircraft Components: Abingdon, UK, 2013; pp. 1–26. [Google Scholar] [CrossRef]
- Perrin, E.; Tristant, F.; Guiffaut, C.; Reineix, A. A numerical tool to estimate lightning indirect effects on a composite aircraft. In Proceedings of the 2010 30th International Conference on Lightning Protection (ICLP), Cagliari, Italy, 13–17 September 2010; pp. 1–4. [Google Scholar] [CrossRef]
- Aguilera, P.; Lair, C.; Issac, F.; Michielsen, B. A reciprocity approach to the indirect effects of lightning impact on an aircraft engine. In Proceedings of the 2016 International Symposium on Electromagnetic Compatibility—EMC EUROPE, Wroclaw, Poland, 5–9 September 2016; pp. 343–346. [Google Scholar] [CrossRef]
- Gao, R.X.-K.; Lee, H.M.; Ewe, W.B.; Tay, S.W.; Thitsartarn, W.; Yang, Z.; Mahmoudi, M.; Juanda, E.; Kohler, J.; Wang, W. Electromagnetic characterization and measurement of conductive aircraft CFRP composite for lightning protection and EMI shielding. IEEE Trans. Instrum. Meas. 2023, 72, 6011611. [Google Scholar] [CrossRef]
- Zampolli, Y.G.; Prado, A.J.D. Effect and behavior of lightning on composite material structures used in aircraft. In Proceedings of the 2022 International Conference on Electromagnetics in Advanced Applications (ICEAA), Cape Town, South Africa, 5–9 September 2022; pp. 264–266. [Google Scholar] [CrossRef]
- Wang, S.M.; Chen, X.-N.; Guo, F.; Huang, L.-Y. Lightning indirect effects on UH-1H helicopter: Numerical simulation analysis and EM shielding. In Proceedings of the 2017 IEEE 5th International Symposium on Electromagnetic Compatibility (EMC-Beijing), Beijing, China, 28–31 October 2017; pp. 1–4. [Google Scholar]
- Langot, J.; Gourcerol, E.; Serbescu, A.; Brassard, D.; Chizari, K.; Lapalme, M.; Desautels, A.; Sirois, F.; Therriault, D. Performance of painted and non-painted non-woven nickel-coated carbon fibers for lightning strike protection of composite aircraft. Compos. Part A Appl. Sci. Manuf. 2023, 175, 107772. [Google Scholar] [CrossRef]
- Piche, A.; Perraud, R.; Urrea, O.; Haddad, S. Coupling analysis of aircraft raceways. In Proceedings of the International Symposium on Electromagnetic Compatibility—EMC EUROPE, Rome, Italy, 17–21 September 2012; pp. 1–6. [Google Scholar] [CrossRef]
- Jo, J.; Kim, Y.; Kim, D.; Lee, H.; Myong, R.S. Effect of shielding and drain wire on lightning-induced currents in rotorcraft cables. IEEE Trans. Electromagn. Compat. 2022, 64, 2015–2023. [Google Scholar] [CrossRef]
- Lu, C. More about lightning induced effects on systems in a composite aircraft. In Multidisciplinary Design Analysis and Optimization of Aerospace Composites; SAE: Warrendale, PA, USA, 2020; pp. 151–162. [Google Scholar] [CrossRef]
- MIL-STD-464D; Electromagnetic Environmental Effects Requirements for System. Department of Defense Interface Standard: Washington, DC, USA, 2020.
- Jones, C.E.; Norman, P.J.; Burt, G.M.; Hill, C.; Allegri, G.; Yon, J.M.; Hamerton, I.; Trask, R.S. A route to sustainable aviation: A roadmap for the realization of aircraft components with electrical and structural multifunctionality. IEEE Trans. Transp. Electrif. 2021, 7, 3032–3049. [Google Scholar] [CrossRef]
- Yang, Z.G.; Zhang, Q.; Sui, Z.; Shi, X. Impedance analysis of current return networks in composite aircraft based on partial element equivalent circuit. Electron. Lett. 2021, 57, 842–844. [Google Scholar] [CrossRef]
- Zhou, Q.H.; Wu, H.L. Research on Shielding of Composite Aircraft. In Proceedings of the 2018 International Academic conference for graduates NUAA, Nanjing, China, 17–19 October 2018; Volume A1, pp. 49–53. [Google Scholar]
- Shan, Z.; Tian, M.; Lu, X. Analysis of lightning ablation damage performance of glass fiber reinforced polymer materials. J. Braz. Soc. Mech. Sci. Eng. 2021, 44, 22. [Google Scholar] [CrossRef]
- ANSI/NEMA WC 27500; Aerospace and Industrial Electrical Cable. National Electrical Manufacturers Association: Rosslyn, VA, USA, 2020.
- SAE AS22759; Wire, Electrical, Fluoropolymer-Insulated, Copper or Copper Alloy. Society of Automotive Engineers: Washington, DC, USA, 2018.



















| Material | Aluminum | Glass | CFRP | ||
|---|---|---|---|---|---|
| x | y | z | |||
| Conductivity (S/m) | 3.56 × 107 | 1 × 10−12 | 40,490 | 200 | 1.3 |
| Material | Peak Value of Internal Magnetic Field Intensity (A/m) | Cable Induced Current Peak (A) | |
|---|---|---|---|
| Core of Wire | Shield of Wire | ||
| Aluminum | 59.384 | 2.912 | 229.597 |
| CFRP | 891.653 | 6.346 | 8667.492 |
| CFRP combined with metal mesh | 531.668 | 2.956 | 2687.860 |
| Types | Single Wire | Coaxial Wire with Shielding Layer | Twisted Pair | Twisted Pair with Shielding Layer |
|---|---|---|---|---|
| Induced current peak value (A) | 1.8844 | 0.0594 | 2.4498 × 10−5 | 3.3452 × 10−6 |
| Material | Cable Induced Current Peak (A) | |
|---|---|---|
| Core of Wire | Shield of Wire | |
| No shielding layer | 1.8844 | —— |
| Copper | 0.0118 | 184.1521 |
| Silver | 0.0106 | 200.1759 |
| Aluminum | 0.0169 | 120.1643 |
| Grounding Modes | Cable Induced Current Peak (A) | |
|---|---|---|
| Core of Wire | Shield of Wire | |
| Single-ended grounding | 1.4614 | 2.1997 |
| Double-ended balanced grounding | 0.2923 | 405.1898 |
| Double-ended unbalanced grounding | 1.5698 | 4.6978 |
| Overhang | 1.2709 | —— |
| Groups | Mark | Distance | Main Method of Electromagnetic Energy Coupling |
|---|---|---|---|
| A | P1, P2–P5 | 0.4 m | Bottom skin |
| B | P5–P8 | 0.43 m | Left skin and hatch door |
| C | P8–P11 | 0.3 m | Hatch door and porthole |
| D | P10, P12–P14 | 0.43 m | Left skin and porthole |
Disclaimer/Publisher’s Note: The statements, opinions and data contained in all publications are solely those of the individual author(s) and contributor(s) and not of MDPI and/or the editor(s). MDPI and/or the editor(s) disclaim responsibility for any injury to people or property resulting from any ideas, methods, instructions or products referred to in the content. |
© 2024 by the authors. Licensee MDPI, Basel, Switzerland. This article is an open access article distributed under the terms and conditions of the Creative Commons Attribution (CC BY) license (https://creativecommons.org/licenses/by/4.0/).
Share and Cite
Yang, Z.; Wei, Y.; Shi, X. Analysis of Cable Shielding and Influencing Factors for Indirect Effects of Lightning on Aircraft. Aerospace 2024, 11, 674. https://doi.org/10.3390/aerospace11080674
Yang Z, Wei Y, Shi X. Analysis of Cable Shielding and Influencing Factors for Indirect Effects of Lightning on Aircraft. Aerospace. 2024; 11(8):674. https://doi.org/10.3390/aerospace11080674
Chicago/Turabian StyleYang, Zhangang, Yuhao Wei, and Xudong Shi. 2024. "Analysis of Cable Shielding and Influencing Factors for Indirect Effects of Lightning on Aircraft" Aerospace 11, no. 8: 674. https://doi.org/10.3390/aerospace11080674
APA StyleYang, Z., Wei, Y., & Shi, X. (2024). Analysis of Cable Shielding and Influencing Factors for Indirect Effects of Lightning on Aircraft. Aerospace, 11(8), 674. https://doi.org/10.3390/aerospace11080674

