Hessian Distributed Ant Optimized Perron–Frobenius Eigen Centrality for Social Networks
Abstract
1. Introduction
- (1)
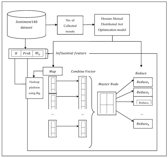
- To handle the stochastic variational inference problem, a Hessian Distributed Ant Optimized model is suggested, requiring just local Twitter assessments using combine vectors rather than explicit inference, making it ideal for applications requiring fast processing.
- (2)
- (3)
- Finally, by applying Perron–Frobenius Eigen Vector Centrality, dimensionality-reduced tweets are arrived at by means of the centrality factor, which uses less memory resources for data storage and processing in real-time application.
2. Related Works
3. Perron–Frobenius Eigen Centrality and Hessian Distributed Ant Optimization (HDAO-PFEC)
3.1. Graph Theory
3.2. Problem Formulation
3.3. Hessian Mutual Distributed Ant Optimization Model
| Algorithm 1. Hessian Mutual Distributed Optimization. |
| Input’ |
| Output |
| Step 1: Begin |
| Step 2: For each Users ‘U’ with Tweets ‘’ |
| Step 3: Obtain Hessian time-changing tweet function using (4) |
| Step 4: Evaluate probability factor for each obtained hessian matrix using (5) |
| Step 5: Obtain better solutions using (6) |
| Step 6: Evaluate mutual weight of each tweets using (7) |
| Step 7: Return (similar user interests tweet ‘’) |
| Step 8: End for |
| Step 9: End |
3.4. Perron–Frobenius Eigen Vector Centrality Model
| Algorithm 2. Perron–Frobenius Eigen Vector Centrality. |
| Input |
| Output: Dimensionality reduced tweets |
| Step 1: Begin |
| Step 2: For each Users ‘’ with similar interest tweets ‘’ |
| Step 3: Measure correlative significance using (8) |
| Step 4: Measure eigen vector centrality score using (9) |
| Step 5: Return dimensionality reduced tweets () |
| Step 6: End for |
| Step 7: End |
3.5. Experimental Setup
4. Discussion
4.1. Performance Analysis of Running Time
4.2. Performance Analysis of Data Storage Overhead
4.3. Performance Analysis of Accuracy Score
5. Conclusions
Author Contributions
Funding
Data Availability Statement
Acknowledgments
Conflicts of Interest
References
- Yang, J.; Wang, J.; Tay, W.P. Using Social Network Information in Community-Based Bayesian Truth Dis-covery. IEEE Trans. Signal Inf. Process. Over Netw. 2019, 5, 525–537. [Google Scholar] [CrossRef]
- Palau, A.S.; Dhada, M.H.; Parlikad, A.K. Multi-agent system architectures for collaborative prognostics. J. Intell. Manuf. 2019, 30, 2999–3013. [Google Scholar] [CrossRef]
- Pang, Y.; Hu, G. Randomized Gradient-Free Distributed Optimization Methods for a Multi-Agent System with Unknown Cost Function. IEEE Trans. Autom. Control 2020, 65, 333–340. [Google Scholar] [CrossRef]
- Zivan, R.; Okamoto, S.; Peled, H. Explorative anytime local search for distributed constraint optimization. Artif. Intell. 2014, 212, 1–26. [Google Scholar] [CrossRef]
- Wang, Q.; Duan, Z.; Wang, J. Distributed Optimal Consensus Control Algorithm for Continuous-Time Multi-Agent Systems. IEEE Trans. Circuits Syst. II Express Briefs 2020, 67, 102–106. [Google Scholar] [CrossRef]
- Jiang, Y.; Jiang, J.C. Diffusion in Social Networks: A Multiagent Perspective. IEEE Trans. Syst. Man Cybern. Syst. 2015, 45, 198–213. [Google Scholar] [CrossRef]
- Alaviani, S.S.; Elia, N. Distributed Multi-Agent Convex Optimization Over Random Digraphs. IEEE Trans. Autom. Control 2020, 65, 86–998. [Google Scholar] [CrossRef]
- Sun, C.; Ye, M.; Hu, G. Distributed Optimization for Two Types of Heterogeneous Multiagent Systems. IEEE Trans. Neural Netw. Learn. Syst. 2021, 32, 1314–1324. [Google Scholar] [CrossRef] [PubMed]
- Park, Y.J.; Cho, Y.S.; Kim, S.B. Multi-agent reinforcement learning with approximate model learning for competitive games. PLoS ONE 2019, 14, e0222215. [Google Scholar] [CrossRef] [PubMed]
- Zhang, Q.; Gong, Z.; Yang, Z.; Chen, Z. Distributed Convex Optimization for Flocking of Nonlinear Multi-agent Systems. Int. J. Control Autom. Syst. 2019, 17, 1177–1183. [Google Scholar] [CrossRef]
- Mukhutdinov, D.; Filchenkov, A.; Shalyto, A.; Vyatkin, V. Multi-agent deep learning for simultaneous optimization for time and energy in distributed routing system. Futur. Gener. Comput. Syst. 2019, 94, 587–600. [Google Scholar] [CrossRef]
- Li, F.; Xu, Z. A multi-agent system for distributed multi-project scheduling with two-stage decomposition. PLoS ONE 2018, 13, e0205445. [Google Scholar] [CrossRef] [PubMed]
- Bose, S.; Chandra, S.; Alfurhood, B.S.; Gururaj, H.L.; Flammini, F.; Natarajan, R.; Jaya, S.-K. Decision Fault Tree Learning and Differential Lyapunov Optimal Control for Path Tracking. Entropy 2023, 25, 443. [Google Scholar] [CrossRef] [PubMed]
- Tampuu, A.; Matiisen, T.; Kodelja, D.; Kuzovkin, I.; Korjus, K.; Aru, J.; Aru, J.; Vicente, R. Multiagent cooperation and competition with deep reinforcement learning. PLoS ONE 2017, 12, e0172395. [Google Scholar] [CrossRef] [PubMed]
- Kamiński, B.; Kraiński, Ł.; Mashatan, A.; Prałat, P.; Szufel, P. Multiagent Routing Simulation with Partial Smart Vehicles Penetration. J. Adv. Transp. 2020, 2020, 3152020. [Google Scholar] [CrossRef]
- Shirazi, E.; Jadid, S. A multiagent design for self-healing in electric power distribution systems. Electr. Power Syst. Res. 2019, 171, 230–239. [Google Scholar] [CrossRef]
- Yan, F.; Di, K.; Jiang, J.; Jiang, Y.; Fan, H. Efficient decision-making for multiagent target searching and occupancy in an unknown environment. Robot. Auton. Syst. 2019, 114, 41–56. [Google Scholar] [CrossRef]
- Chandan, R.R.; Balobaid, A.; Cherukupalli, N.L.S.; Gururaj, H.L.; Flammini, F.; Natarajan, R. Secure Modern Wireless Communication Network Based on Blockchain Technology. Electronics 2023, 12, 1095. [Google Scholar] [CrossRef]
- Liu, S.; Jiang, H.; Zhang, L.; Mei, X. Distributed Adaptive Optimization for Generalized Linear Multiagent Systems. Discret. Dyn. Nat. Soc. 2019, 2019, 9181093. [Google Scholar] [CrossRef]







| S. No | Feature Name | Description |
|---|---|---|
| 1 | Target | The polarity of the tweet |
| 2 | Ids | The id of the tweet |
| 3 | Date | The date of the tweet |
| 4 | Flag | Flag value |
| 5 | User | User that tweeted |
| 6 | Text | The text of the tweet |
| Number of Tweets | Running Time (ms) | ||
|---|---|---|---|
| HDAO-PFEC | Laplace Three-Level Stochastic Variational Inference | Multi-Agent BASED Distributed Architecture | |
| 10,000 | 2500 | 2630 | 2655 |
| 15,000 | 2635 | 2685 | 2735 |
| 20,000 | 2655 | 2755 | 2815 |
| 25,000 | 2690 | 2815 | 2925 |
| 30,000 | 2735 | 2835 | 3015 |
| 35,000 | 2755 | 2925 | 3235 |
| 40,000 | 2780 | 3055 | 3340 |
| 45,000 | 2855 | 3155 | 3455 |
| 50,000 | 2950 | 3215 | 3615 |
| 55,000 | 3035 | 3355 | 3730 |
| Number of Tweets | Data Storage Overhead (KB) | ||
|---|---|---|---|
| HDAO-PFEC | Laplace Three-Level Stochastic Variational Inference | Multi-Agent Based Distributed Architecture | |
| 10,000 | 30,000 | 35,000 | 40,000 |
| 15,000 | 32,000 | 36,000 | 42,000 |
| 20,000 | 33,000 | 38,000 | 45,000 |
| 25,000 | 35,000 | 40,000 | 46,500 |
| 30,000 | 38,000 | 42,000 | 47,000 |
| 35,000 | 42,000 | 44,000 | 48,000 |
| 40,000 | 45,000 | 46,000 | 50,000 |
| 45,000 | 46,000 | 48,000 | 50,500 |
| 50,000 | 48,000 | 50,000 | 52,000 |
| 55,000 | 50,000 | 52,000 | 54,000 |
| Number of Tweets | Accuracy Score (%s) | ||
|---|---|---|---|
| HDAO-PFEC | Laplace Three-Level Stochastic Variational Inference | Multi-Agent Based Distributed Architecture | |
| 10,000 | 80.00 | 78.50 | 75.00 |
| 15,000 | 78.85 | 76.25 | 74.15 |
| 20,000 | 77.00 | 75.65 | 73.55 |
| 25,000 | 76.25 | 74.55 | 72.15 |
| 30,000 | 75.00 | 74.15 | 70.15 |
| 35,000 | 74.35 | 73.00 | 69.80 |
| 40,000 | 73.86 | 71.35 | 69.25 |
| 450,00 | 73.25 | 70.45 | 68.60 |
| 50,000 | 72.80 | 69.75 | 68.10 |
| 55,000 | 70.00 | 68.00 | 66.75 |
Disclaimer/Publisher’s Note: The statements, opinions and data contained in all publications are solely those of the individual author(s) and contributor(s) and not of MDPI and/or the editor(s). MDPI and/or the editor(s) disclaim responsibility for any injury to people or property resulting from any ideas, methods, instructions or products referred to in the content. |
© 2023 by the authors. Licensee MDPI, Basel, Switzerland. This article is an open access article distributed under the terms and conditions of the Creative Commons Attribution (CC BY) license (https://creativecommons.org/licenses/by/4.0/).
Share and Cite
Kumaraguru, P.V.; Kamalakkannan, V.; H L, G.; Flammini, F.; Sulaiman Alfurhood, B.; Natarajan, R. Hessian Distributed Ant Optimized Perron–Frobenius Eigen Centrality for Social Networks. ISPRS Int. J. Geo-Inf. 2023, 12, 316. https://doi.org/10.3390/ijgi12080316
Kumaraguru PV, Kamalakkannan V, H L G, Flammini F, Sulaiman Alfurhood B, Natarajan R. Hessian Distributed Ant Optimized Perron–Frobenius Eigen Centrality for Social Networks. ISPRS International Journal of Geo-Information. 2023; 12(8):316. https://doi.org/10.3390/ijgi12080316
Chicago/Turabian StyleKumaraguru, P.V., Vidyavathi Kamalakkannan, Gururaj H L, Francesco Flammini, Badria Sulaiman Alfurhood, and Rajesh Natarajan. 2023. "Hessian Distributed Ant Optimized Perron–Frobenius Eigen Centrality for Social Networks" ISPRS International Journal of Geo-Information 12, no. 8: 316. https://doi.org/10.3390/ijgi12080316
APA StyleKumaraguru, P. V., Kamalakkannan, V., H L, G., Flammini, F., Sulaiman Alfurhood, B., & Natarajan, R. (2023). Hessian Distributed Ant Optimized Perron–Frobenius Eigen Centrality for Social Networks. ISPRS International Journal of Geo-Information, 12(8), 316. https://doi.org/10.3390/ijgi12080316

