Anomaly Based Unknown Intrusion Detection in Endpoint Environments
Abstract
1. Introduction
- We design the model using local outlier factor (LOF) and Autoencoder for efficient anomaly detection. In addition, we propose analysis of attack profile for detected anomalies. It shows threats to anomalies based on various attack scenarios.
- Existing studies detect supervised learning-based attack behavior by using labeled data such as Normal, denial of service attack (DOS), remote to local attack (R2L), user to root attack (U2R), and Probe in network traffic. However, this study learns normal behavior based on unsupervised learning that is not labeled and detects deviations from it as suspicious behavior.
- Due to the increasing number of managed devices and the occurrence of numerous networks and event logs, real-time detection is limited by existing security methods. The proposed model is capable of large-scale processing according to the operation policy, and detects the user’s behavior-based suspicious behavior in real time in the endpoint log and shows the corresponding threat.
- It applies the allowlist operation policy and reduces the burden of security administrators by reducing the analysis target. In addition, it is efficient because it can set the learning period required for the operation policy.
2. Related Work
3. Proposal Model
3.1. Overview
3.2. Anomaly Event Analysis
3.2.1. LOF Based Anomaly Detection
3.2.2. AutoEncoder Based Anomaly Detection
3.3. Attack Profile Analysis
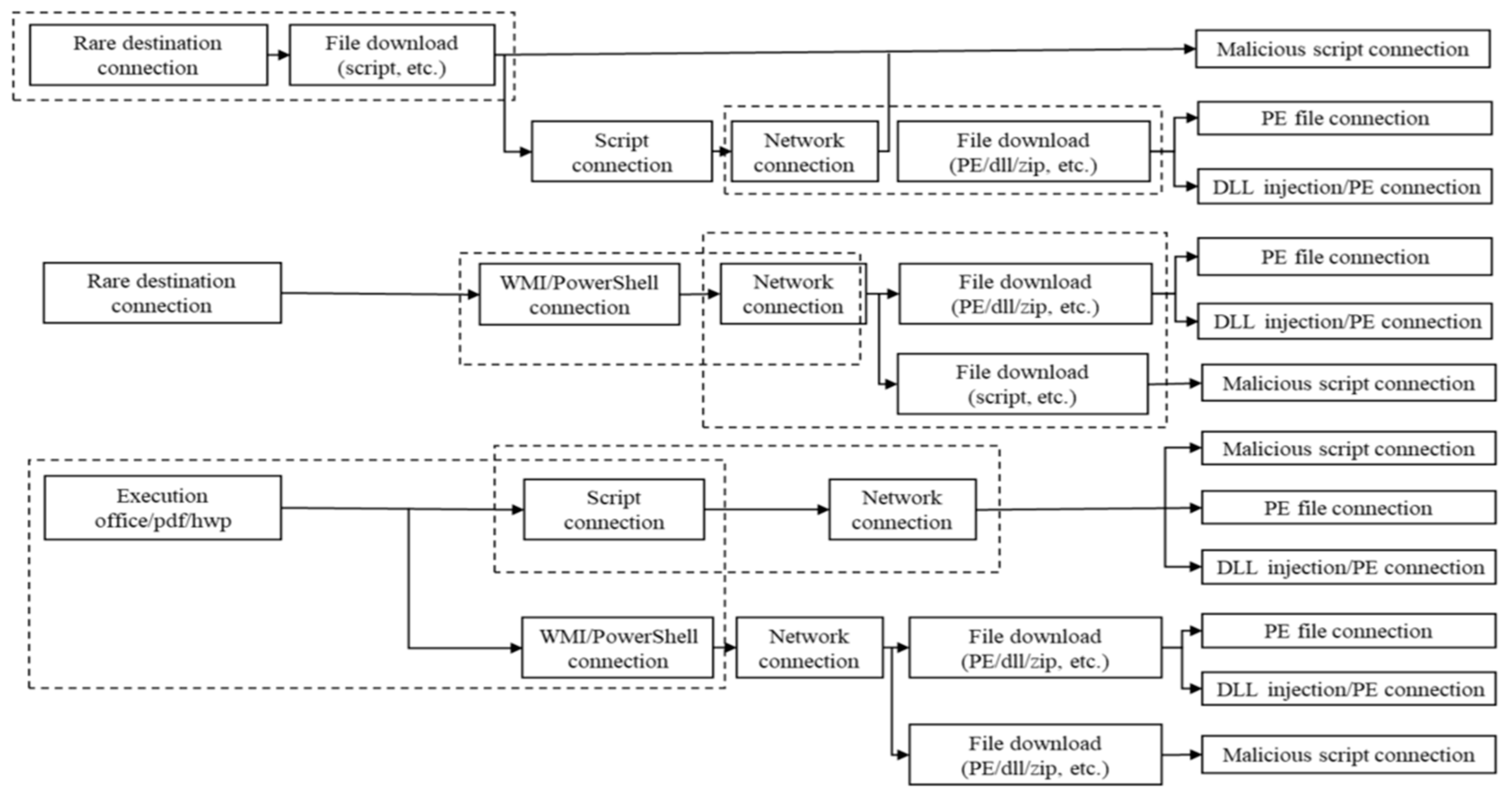
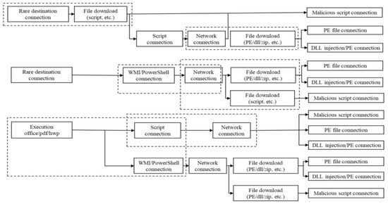
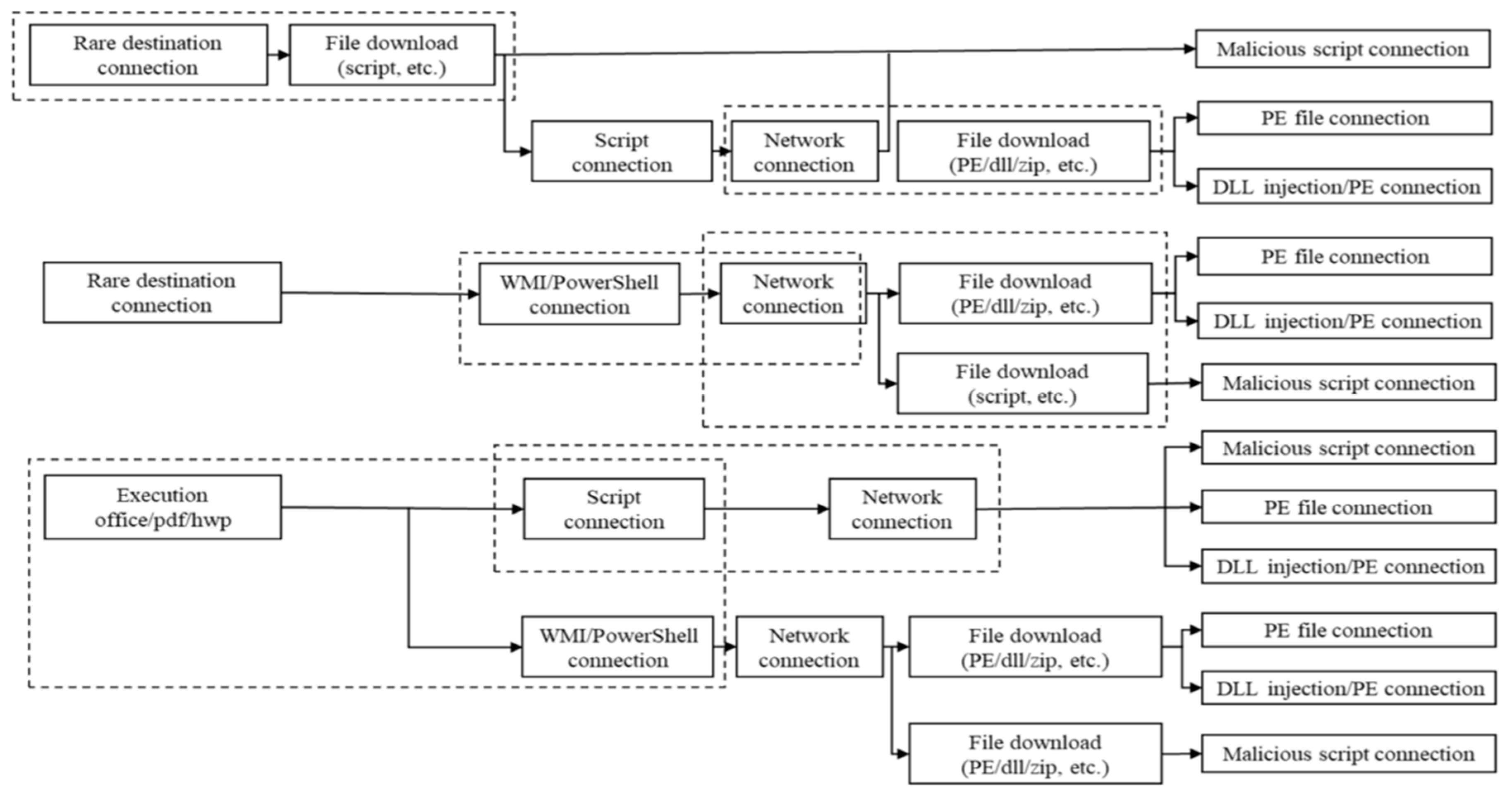
3.3.1. Attack Scenario
- Create malicious executable file using web connection, malicious link, or email attachment.
- The malicious executable file periodically connects to command and control (C&C) server and receives attacker commands.
- Various malicious behaviors are performed such as scanning, access to internal main server, receiving additional malicious files, and leaking information to the outside.
- Users open Chrome and download files that they think are safe.
- The executed file starts PowerShell, deletes the local backup data, and then encrypts all data on the disk.
- Script-based coin mining takes place within the web browser through scripts embedded in the web page.
- The computing power possessed by the web page visitor is used to exploit cryptocurrency mining attacks throughout the web page.
- The user visits a specific site using a web browser.
- Visiting this site loads a flash to exploit the vulnerability. Flash can use PowerShell to execute certain commands.
- PowerShell connects to the C&C server to download and execute malicious scripts.
- The user opens a Microsoft Word document.
- Inside a Word document is a macro that executes VBScript.
- When the macro runs, the Word process reaches the C&C server specified by the attacker and downloads the DLL.
- The DLL is loaded and allocates memory so that the DLL can be inserted into the running process.
3.3.2. Single Event Rules
- Network connection occurs to a rare destination from a PC that has never had access records in the past.
- A network connection occurs on an IP address that has no connection history in the same group.
- A network connection occurs to a rare destination at an abnormal time (e.g., 10 p.m. to 6 a.m. weekend).
- Network connections occur to rare destinations at irregular intervals.
- Create a portable executable (PE), zip, script, or dll file at an unusual time, path, or interval.
- Create a PE, zip, script, or dll file of the capacity you did not download.
- Create a file whose process is a PE, zip, script, or dll.
- An internal user performs a document open, file open, file delete, or file move at an abnormal time.
- Run a process such as PowerShell or WMI that a user has not used in the past.
- Download Script and execute process like wscript.exe or cscript.exe.
3.3.3. Complex Event Rules
4. Experimental Results and Analysis
4.1. Dataset
4.2. Anomaly Event Analysis Results
4.2.1. LOF Based Anomaly Detection Results
4.2.2. AutoEncoder Based Anomaly Detection Results
4.3. Attack Profile Analysis Results
5. Discussion
6. Conclusions
Author Contributions
Funding
Conflicts of Interest
Appendix A


References
- Statista. Internet of Things (IoT) Connected Devices Installed Base Worldwide from 2015 to 2025. Available online: https://www.statista.com/statistics/471264/iot-number-of-connected-devices-worldwide/ (accessed on 1 June 2020).
- TÜV Rheinland. Cybersecurity Trends in 2020; TÜV Rheinland: Cologne, Germany, 2020. [Google Scholar]
- Trend Micro. The New Norm: Trend Micro SecurityPredictions for 2020; Trend Micro: Tokyo, Japan, 2019. [Google Scholar]
- Pajouh, H.H.; Javidan, R.; Khayami, R.; Dehghantanha, A.; Choo, K.-K.R.; Ali, D. A Two-Layer Dimension Reduction and Two-Tier Classification Model for Anomaly-Based Intrusion Detection in IoT Backbone Networks. IEEE Trans. Emerg. Top. Comput. 2016, 7, 314–323. [Google Scholar] [CrossRef]
- Li, T.; Jiang, Y.; Zeng, C.; Xia, B.; Liu, Z.; Zhou, W.; Zhu, X.; Wang, W.; Zhang, L.; Wu, J. FLAP: An end-to-end event log analysis platform for system management. In Proceedings of the 23rd ACM SIGKDD International Conference on Knowledge Discovery and Data Mining, Halifax, NS, Canada, 23–27 August 2017; pp. 1547–1556. [Google Scholar]
- Zaman, M.; Siddiqui, T.; Amin, M.R.; Hossain, M.S. Malware detection in Android by network traffic analysis. In Proceedings of the 2015 International Conference on Networking Systems and Security (NSysS), Dhaka, Bengal, 5–7 January 2015; IEEE: New York, NY, USA, 2015; pp. 1–5. [Google Scholar]
- Isohara, T.; Takemori, K.; Kubota, A. Kernel-based behavior analysis for android malware detection. In Proceedings of the 2011 Seventh International Conference on Computational Intelligence and Security, Washington, DC, USA, 3–4 December 2011; IEEE: New York, NY, USA, 2011; pp. 1011–1015. [Google Scholar]
- Sun, J.; Jeng, T.; Chen, C.; Huang, H.; Chou, K. MD-Miner: Behavior-based tracking of network traffic for malware-control domain detection. In Proceedings of the 2017 IEEE Third International Conference on Big Data Computing Service and Applications (BigDataService), San Francisco, CA, USA, 6–7 April 2017; IEEE: New York, NY, USA, 2017; pp. 96–105. [Google Scholar]
- Malhotra, P.; Vig, L.; Shroff, G.; Agarwal, P. Long Short Term Memory Networks for Anomaly Detection in Time Series, Proceedings; Presses Universitaires de Louvain: Louvain, Belgium, 2015; p. 89. [Google Scholar]
- Toledano, M.; Cohen, I.; Ben-Simhon, Y.; Tadeski, I. Real-time anomaly detection system for time series at scale. In Proceedings of the KDD 2017 Workshop on Anomaly Detection in Finance, Halifax, NS, Canada, 14 August 2017; pp. 56–65. [Google Scholar]
- He, S.; Zhu, J.; He, P.; Lyu, M.R. Experience report: System log analysis for anomaly detection. In Proceedings of the 2016 IEEE 27th International Symposium on Software Reliability Engineering (ISSRE), Ottwa, ON, Canada, 23–27 October 2016; IEEE: New York, NY, USA, 2016; pp. 207–218. [Google Scholar]
- Gutierrez, R.J.; Boehmke, B.C.; Bauer, K.W.; Saie, C.M.; Bihl, T.J. anomalyDetection: Implementation of augmented network log anomaly detection procedures. R. J. 2017, 9, 354–365. [Google Scholar] [CrossRef]
- Garg, S.; Kaur, K.; Kumar, N.; Kaddoum, G.; Zomaya, A.Y.; Ranjan, R. A Hybrid Deep Learning-Based Model for Anomaly Detection in Cloud Datacenter Networks. IEEE Trans. Netw. Serv. Manag. 2019, 16, 924–935. [Google Scholar] [CrossRef]
- Ahmed, M.; Mahmood, A.; Hu, J. A survey of network anomaly detection techniques. J. Netw. Comput. Appl. 2016, 60, 19–31. [Google Scholar] [CrossRef]
- Alhawi, O.M.K.; Baldwin, J.; Dehghantanha, A. Leveraging Machine Learning Techniques for Windows Ransomware Network Traffic Detection. In Malicious Attack Propagation and Source Identification; Springer: Berlin/Heidelberg, Germany, 2018; pp. 93–106. [Google Scholar]
- Jabez, J.; Muthukumar, B. Intrusion Detection System (IDS): Anomaly Detection Using Outlier Detection Approach. Procedia Comput. Sci. 2015, 48, 338–346. [Google Scholar] [CrossRef]
- Aljawarneh, S.; Aldwairi, M.; Yassein, M.B.; Yasin, M.B. Anomaly-based intrusion detection system through feature selection analysis and building hybrid efficient model. J. Comput. Sci. 2018, 25, 152–160. [Google Scholar] [CrossRef]
- KDD Cup 1999 Data. Available online: http://kdd.ics.uci.edu/databases/kddcup99/kddcup99.html (accessed on 12 June 2020).
- Sharafaldin, I.; Lashkari, A.H.; Ghorbani, A.A. Toward Generating a New Intrusion Detection Dataset and Intrusion Traffic Characterization; ICISSP: Funchal, Portugal, 2018; pp. 108–116. [Google Scholar]
- Wang, K.; Stolfo, S.J. Anomalous Payload-Based Network Intrusion Detection, International Workshop on Recent Advances in Intrusion Detection; Springer: Berlin/Heidelberg, Germany, 2004; pp. 203–222. [Google Scholar]
- Lin, W.-C.; Ke, S.-W.; Tsai, C.-F. CANN: An intrusion detection system based on combining cluster centers and nearest neighbors. Knowl. Based Syst. 2015, 78, 13–21. [Google Scholar] [CrossRef]
- Shipmon, D.T.; Gurevitch, J.M.; Piselli, P.M.; Edwards, S.T. Time series anomaly detection; detection of anomalous drops with limited features and sparse examples in noisy highly periodic data. arXiv 2017, arXiv:1708.03665. [Google Scholar]
- Yun, J.-S.; Jang, J.-W.; Kim, H.K. Andro-profiler: Anti-malware system based on behavior profiling of mobile malware. J. Korea Inst. Inf. Secur. Cryptol. 2014, 24, 145–154. [Google Scholar] [CrossRef]
- Liu, W.; Ren, P.; Liu, K.; Duan, H. Behavior-based malware analysis and detection. In Proceedings of the 2011 First International Workshop on Complexity and Data Mining, Washington, DC, USA, 24–28 September 2011; IEEE: New York, NY, USA, 2011; pp. 39–42. [Google Scholar]
- Bontemps, L.; McDermott, J.; Le-Khac, N. Collective Anomaly Detection Based on Long Short-Term Memory Recurrent Neural Networks. In Proceedings of the International Conference on Future Data and Security Engineering, Can Tho City, Vietnam, 23–25 November 2016; Springer: Berlin/Heidelberg, Germany, 2016; pp. 141–152. [Google Scholar]
- Ahmed, M.; Mahmood, A.N. Network traffic analysis based on collective anomaly detection. In Proceedings of the 2014 9th IEEE Conference on Industrial Electronics and Applications, Hangzhou, China, 9–11 June 2014; IEEE: New York, NY, USA, 23 October 2014; pp. 1141–1146. [Google Scholar]
- Amer, M.; Goldstein, M. Nearest-neighbor and clustering based anomaly detection algorithms for rapidminer. In Proceedings of the 3rd RepidMiner Community Meeting and Conference (RCOMM 2012), Budapest, Hungary, 29 August 2012. [Google Scholar]
- Chen, J.; Sathe, S. Outlier detection with autoencoder ensembles. In Proceedings of the 2017 SIAM International Conference on Data Mining, Houston, TX, USA, 27–29 April 2017; Society for Industrial and Applied Mathematics: Philadelphia, PA, USA, 2017; pp. 90–98. [Google Scholar]
- Zhou, C.; Paffenroth, R.C. Anomaly detection with robust deep autoencoders. In Proceedings of the 23rd ACM SIGKDD International Conference on Knowledge Discovery and Data Mining, Halifax, NS, Canada, 13–17 August 2017; pp. 665–674. [Google Scholar]
- Hybrid Analysis. Available online: https://www.hybrid-analysis.com/?lang=es (accessed on 15 April 2020).
- Anejo-Okopi, J.; Akindigh, T.M.; Markus, N.; Adeniyi, D.S.; Abba, O.J.; Ebonyi, A.O.; Ejeliogu, E.; Audu, O.; Lar, P.; Zumbes, H.J.; et al. Hepatitis B Virus Total Core Antibodies among HIV-1 Infected Hepatitis B Surface Antigen Negative Patients Attending a Tertiary Health Facility in North-central Nigeria. Br. J. Med. Med. Res. 2016, 18, 1–7. [Google Scholar] [CrossRef]










| Classifier | TP | FP | Correctly Classified Instance | Incorrectly Classified Instance |
|---|---|---|---|---|
| Naïve Bayes | 0.903 | 0.102 | 90.2876 | 9.7124 |
| J48 | 0.997 | 0.003 | 99.74 | 0.26 |
| Random Tree | 0.997 | 0.003 | 99.747 | 0.253 |
| Proposed Model | 0.997 | 0.003 | 99.81 | 0.25 |
| Detection Classification | Number of Threat Models | Classification of Detection Threats |
|---|---|---|
| Anomalous Connection | 17 | 1GB Outbound, Active RDP Tunnel, Active SSH Tunnel Etc. |
| Anomalous File | 12 | Incoming RAR File, Masqueraded File Transfer, Outgoing RAR File Etc. |
| Anomalous Server Activity | 15 | Data Transfer—DC to Client, DC External Activity, Domain Controller DynDNS SSL or HTTP Etc. |
| Attack | 2 | Attack and Recon Tools, Exploit Kit, GoNext redirection |
| Compliance | 42 | Bitcoin Activity, External SNMP, External Windows Communications Etc. |
| Compromise | 26 | Beaconing to Rare Destination, Connection to Sinkhole, CryptoLocker Etc. |
| Device | 17 | Address Scan, External DNS Domain Pointing at Local IP address, New User Etc. |
| Experimental | 66 | Excessive HTTP Errors, Heartbleed SSL Success, International Domain Name Etc. |
| System | 16 | Christmas Tree Attack, CMS Detection, DNS Server Change Etc. |
| Unusual Activity | 14 | Unusual Activity, Unusual Activity from New Device, Unusual External Activity, Unusual External Connections |
| User | 7 | Bruteforcing, Kerberos Bruteforce, Multiple New Credentials on Device Etc. |
| Used Field | Method of Preprocessing | Input Example |
|---|---|---|
| Process Name | SHA256 (2-g (ProcessName)) mod 15 | chrome.exe |
| IP address | MinMaxScaling (IP address) | 192.168.0.1 |
| Destination IP | MinMaxScaling (octet.split (Dst IP)) | 127.0.0.1 |
| Event Time | SHA256 (2-g (EventTime)) mod 2 | 1564519160346 |
| File Name | SHA256 (2-g (FileName)) mod 15 | CHROME_PATCH.PACKED.7Z |
| Event Type | If (EventType = file): feature = 0 else if (EventType = module): feature = 1 else if (EventType = process): feature = 2 | file |
| Event sub Type | If (subtype = fileCreate): feature = 0 else if (subtype = docOpen): feature = 1 else if (subtype = moduleLoad): feature = 2 else if (subtype = childProcessCreate): feature = 3 | file create |
| Network Behavior Features | System Behavior Features | ||||
|---|---|---|---|---|---|
| Used Field | Method of Preprocessing | Input Example | Used Field | Method of Preprocessing | Input Example |
| Destination IP | SHA256 (2-g (IP)) mod 10 | 127.0.0.1 | Process Type | If (ProcessType = Normal): feature = 1 else if (ProcessType = Shell): feature = 2 else if (ProcessType = Word): feature = 3 | POWERPNT.EXE |
| MinMaxScaling (IP.A_Class, IP.B_Class) | 127.0 | Event Type | If (EventType = file): feature = 1 else if (EventType = module): feature = 2 else if (EventType = process): feature = 3 | file | |
| File Type | If (FileType = PE): feature = 1 else if (FileType = Script): feature = 2 else if (FileType = Zip): feature = 3 | PE | |||
| Process Path | SHA256 (2-g (ProcessPath)) mod 10 | C:\Program Files (x86)\Microsoft Office\Office15\POWERPNT.EXE | |||
| Event Time | If (EventTime = Moday): feature = 1 else if (EventTime = Tuesday): feature = 2 else if (EventTime = Sunday): feature = 7 | 1564519160346 | |||
| If (EventTime = Weekday): feature = 1 else if (EventTime = Weekend): feature = 2 | |||||
| If (EventTime = 0~3 time): feature = 0 else if (EventTime = 3~6 time): feature = 1 else if (EventTime = 21~24time): feature = 8 | |||||
| Dataset | Collection | Training | Test | ||
|---|---|---|---|---|---|
| Dataset-1 | Self-collection | Collection period | Event Count | Collection period | Event Count |
| 11 July 2019–29 July 2019 | 664,928 | 30 July 2019–3 August 2019 | 98,872 | ||
| Dataset-2 | Genians | Collection period | Event Count | Collection period | Event Count |
| 1 May 2019–31 May 2019 | 2,201,780 | 1 December 2019–25 December 2019 | 67,364 | ||
| Process Name (EventType) | Anomaly Score | Suspicious Indicators in Hybrid Analysis |
|---|---|---|
| InvColPC.exe (Process) | 1.0% |
|
| cleanmgr.exe (File) | 0.998997% |
|
| HxTsr.exe (Module) | 0.998945% |
|
| dismhost.exe (Module) | 0.998945% |
|
| HimTrayIcon.exe (Module) | 0.998889% |
|
| Process Name (EventType) | Anomaly Score | Suspicious Indicators in Hybrid Analysis |
|---|---|---|
| TouchpointAnalyticsClientService.exe (Process) | 1.0% |
|
| HPSupportSolutionsFrameworkService.exe (Module) | 1.0% |
|
| FlashUtil32_32_0_0_303_Plugin.exe (Network) | 1.0% |
|
| IntelSoftwareAssetManagerService.exe (Network) | 0.999997% |
|
| 3.5.5_45395.exe (Network) | 0.999984% |
|
| Dataset | Time | IP Address | Process Name | Complex Event Rules (Attack Profile) | Threat Level (Hybrid) | A/V Detection (Virustotal) |
|---|---|---|---|---|---|---|
| dataset-1 | 2 August 2019 08:54:56 | 210.125.*.* | InvColPC.exe | Anomaly system behavior and consistent threshold anomalies in the same process | Malicious | 2/71 |
| 31 July 2019 09:36:55 | 210.125.*.* | cleanmgr.exe | Anomaly system behavior and consistent threshold anomalies in the same process | - | 0/71 | |
| 2 August 2019 20:42:59 | 210.125.*.* | HimTrayIcon.exe | Anomaly system behavior and consistent threshold anomalies in the same process | Ambiguous | 6/54 | |
| dataset-2 | 14 December 2019 20:59:29 | 172.29.*.* | TouchpointAnalyticsClientService.exe | Anomaly system behavior and consistent threshold anomalies in the same process | - | 0/71 |
| 15 December 2019 04:04:10 | 172.29.*.* | HPSupportSolutionsFrameworkService.exe | Anomaly system behavior and consistent threshold anomalies in the same process | Suspicious | 0/65 | |
| 14 December 2019 22:28:06 | 172.30.*.* | FlashUtil32_32_0_0_303_Plugin.exe | Sequential occurrence of suspicious file creation and anomaly network behavior in the same process | Malicious | 0/71 | |
| 14 December 2019 16:11:17 | 172.29.*.* | IntelSoftwareAssetManagerService.exe | Sequential occurrence of suspicious file creation and anomaly network behavior in the same process | Malicious | 0/71 | |
| 22 December 2019 01:03:20 | 172.30.*.* | 3.5.5_45395.exe | Sequential occurrence of anomaly network behavior and suspicious file creation in the same process | Malicious | 10/73 |
| Dataset (Proposed Model) | Total Time (s) | Analysis Per Second (Event) |
|---|---|---|
| Dataset-1 (LOF) | 612.93 | 166 |
| Dataset-2 (Autoencoder) | 118.38 | 571 |
| Period | Suspicious Process Detection Results | Allowlist Filtering Count | Number of Suspicious Processes under Review | A/V (VT) Results | Allowlist Count |
|---|---|---|---|---|---|
| 1–15 March 2020 | 155 | 0 | 155 | 6 | 149 |
| 16–31 March 2020 | 173 | 106 | 67 | 3 | 213 |
| 1–15 April 2020 | 148 | 90 | 58 | 4 | 267 |
| 16–30 April 2020 | 108 | 87 | 21 | 1 | 287 |
© 2020 by the authors. Licensee MDPI, Basel, Switzerland. This article is an open access article distributed under the terms and conditions of the Creative Commons Attribution (CC BY) license (http://creativecommons.org/licenses/by/4.0/).
Share and Cite
Kim, S.; Hwang, C.; Lee, T. Anomaly Based Unknown Intrusion Detection in Endpoint Environments. Electronics 2020, 9, 1022. https://doi.org/10.3390/electronics9061022
Kim S, Hwang C, Lee T. Anomaly Based Unknown Intrusion Detection in Endpoint Environments. Electronics. 2020; 9(6):1022. https://doi.org/10.3390/electronics9061022
Chicago/Turabian StyleKim, Sujeong, Chanwoong Hwang, and Taejin Lee. 2020. "Anomaly Based Unknown Intrusion Detection in Endpoint Environments" Electronics 9, no. 6: 1022. https://doi.org/10.3390/electronics9061022
APA StyleKim, S., Hwang, C., & Lee, T. (2020). Anomaly Based Unknown Intrusion Detection in Endpoint Environments. Electronics, 9(6), 1022. https://doi.org/10.3390/electronics9061022

