Effects of Back-Gate Bias on Subthreshold Swing of Tunnel Field-Effect Transistor
Abstract
:1. Introduction
2. Simulation Conditions
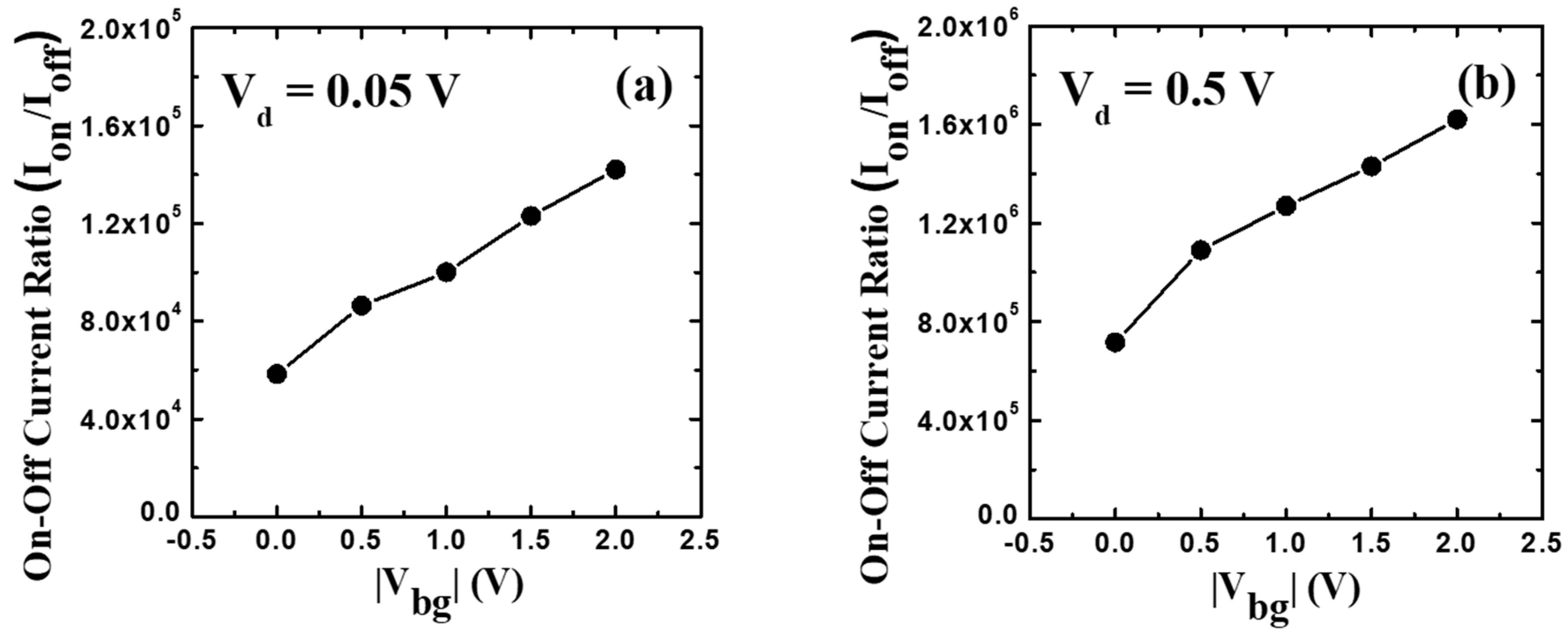
3. Results and Discussions
4. Conclusions
Author Contributions
Funding
Conflicts of Interest
References
- Hoefflinger, B. ITRS: The International Technology Roadmap for Semiconductors. In Chips 2020; Springer: Berlin, Germany, 2011; pp. 161–174. [Google Scholar]
- Crupi, G.; Schreurs, D.M.M.-P.; Caddemi, A. Effects of Gate-Length Scaling on Microwave MOSFET Performance. Electronics 2017, 6, 62. [Google Scholar] [CrossRef]
- Crupi, G.; Schreurs, D.M.-P.; Raskin, J.-P.; Caddemi, A. A comprehensive review on microwave FinFET modeling for progressing beyond the state of art. Solid-State Electron. 2013, 80, 81–95. [Google Scholar] [CrossRef]
- Hu, C.; Patel, P.; Bowonder, A.; Jeon, K.; Kim, S.H.; Loh, W.Y.; Kang, C.Y.; Oh, J.; Majhi, P.; Javey, A.; et al. Prospect of tunneling green transistor for 0.1V CMOS. In Proceedings of the 2010 International Electron Devices Meeting, San Francisco, CA, USA, 6–8 December 2010. [Google Scholar] [CrossRef]
- Choi, W.Y.; Park, B.-G.; Lee, J.D.; Liu, T.-J.K. Tunneling Field-Effect Transistors (TFETs) With Subthreshold Swing (SS) Less Than 60 mV/dec. IEEE Electron Device Lett. 2007, 28, 743–745. [Google Scholar] [CrossRef]
- Kim, S.W.; Kim, J.H.; Liu, T.-J.K.; Choi, W.Y.; Park, B.-G. Demonstration of L-Shaped Tunnel Field-Effect Transistors. IEEE Trans. Electron Devices 2016, 63, 1774–1778. [Google Scholar] [CrossRef]
- Krishnamohan, T.; Kim, D.; Raghunathan, S.; Saraswat, K. Double-Gate Strained-Ge Heterostructure Tunneling FET (TFET) With record high drive currents and ≪60mV/dec subthreshold slope. In Proceedings of the 2008 IEEE International Electron Devices Meeting, San Francisco, CA, USA, 15–17 December 2008. [Google Scholar] [CrossRef]
- Kim, M.; Wakabayashi, Y.; Nakane, R.; Yokoyama, M.; Takenaka, M.; Takagi, S. High Ion/Ioff Ge-source ultrathin body strained-SOI tunnel FETs. In Proceedings of the 2014 IEEE International Electron Devices Meeting, San Francisco, CA, USA, 15–17 December 2014. [Google Scholar] [CrossRef]
- Kim, S.W.; Choi, W.Y. Hump Effects of Germanium/Silicon Heterojunction Tunnel Field-Effect Transistors. IEEE Trans. Electron Devices 2016, 63, 2583–2588. [Google Scholar] [CrossRef]
- Guo, A.; Matheu, P.; Liu, T.-J.K. SOI TFET ION/IOFF enhancement via back biasing. IEEE Trans. Electron Devices 2011, 58, 3283–3285. [Google Scholar] [CrossRef]
- Kao, K.-H.; Verhulst, A.S.; Vandenberghe, W.G.; Soree, B.; Groeseneken, G.; De Meyer, K. Direct and Indirect Band-to-Band Tunneling in Germanium-Based TFETs. IEEE Trans. Electron Devices 2011, 59, 292–301. [Google Scholar] [CrossRef]
- Synopsys, Inc. Sentaurus Device User Guide; Synopsys, Inc.: Mountain View. Available online: http://www.sentaurus.dsod.pl/manuals/data/sdevice_ug.pdf (accessed on 26 November 2019).
- Lee, W.; Choi, W. Influence of Inversion Layer on Tunneling Field-Effect Transistors. IEEE Electron Device Lett. 2011, 32, 1191–1193. [Google Scholar] [CrossRef]
- Wong, H.-S.; White, M.H.; Krutsick, T.J.; Booth, R.V. Modeling of transconductance degradation and extraction of threshold voltage in thin oxide MOSFET’s. Solid-State Electron. 1987, 30, 953–968. [Google Scholar] [CrossRef]





| Parameter | Description | Unit | Value |
|---|---|---|---|
| Lgate | gate length | nm | 50 |
| Tox | equivalent oxide thicknesses of top- and back-gate oxides | nm | 1 |
| Xj | junction depth | nm | 10 |
| TB | body thickness | nm | 50 |
| NS | source doping concentration | /cm3 | 1020 |
| ND | drain doping concentration | /cm3 | 1020 |
| NB | body doping concentration | /cm3 | 1017 |
© 2019 by the authors. Licensee MDPI, Basel, Switzerland. This article is an open access article distributed under the terms and conditions of the Creative Commons Attribution (CC BY) license (http://creativecommons.org/licenses/by/4.0/).
Share and Cite
Lee, J.; Kim, G.; Kim, S. Effects of Back-Gate Bias on Subthreshold Swing of Tunnel Field-Effect Transistor. Electronics 2019, 8, 1415. https://doi.org/10.3390/electronics8121415
Lee J, Kim G, Kim S. Effects of Back-Gate Bias on Subthreshold Swing of Tunnel Field-Effect Transistor. Electronics. 2019; 8(12):1415. https://doi.org/10.3390/electronics8121415
Chicago/Turabian StyleLee, Jaehong, Garam Kim, and Sangwan Kim. 2019. "Effects of Back-Gate Bias on Subthreshold Swing of Tunnel Field-Effect Transistor" Electronics 8, no. 12: 1415. https://doi.org/10.3390/electronics8121415
APA StyleLee, J., Kim, G., & Kim, S. (2019). Effects of Back-Gate Bias on Subthreshold Swing of Tunnel Field-Effect Transistor. Electronics, 8(12), 1415. https://doi.org/10.3390/electronics8121415

