Design, Fabrication, and Electromagnetic Characterization of a Feed Horn of the Linear-Polarized Multi-Beam Cryogenic S-Band Receiver for the Sardinia Radio Telescope
Abstract
1. Introduction
2. General Description of the Sardinia Radio Telescope and Its New Under-Development S-Band Cryogenic Receiver
2.1. Technical Features of the Sardinia Radio Telescope
2.2. The New Under-Development Cryogenic S-Band Receiver for the Sardinia Radio Telescope
- Circular feed horn: The circular feed horn is the most common system in the SRT receivers and ensures efficient performance [54,55]. The description of the feed is the subject of this paper, and its design, fabrication, and electromagnetic characterization will be discussed in the following sections.
 - Cryogenic front-end section: This block is fundamental for modern radio astronomical receivers because it contributes to improving the sensitivity of the system [56,57]. The cryogenic system allows cooling of a part of the receiver, called the Dewar or cryostat, thanks to a vacuum system and a cryo-cooler [58,59]. Into the Dewar, the cryogenic low-noise amplifiers (LNAs) and the ortho-mode transducer (OMT), which is useful for separating two orthogonally polarized microwave signal paths (i.e., horizontal and vertical channels), are installed. In particular, the LNA model used is the TSI2010 from TTI [60], which has a noise temperature of approximately 5 K (at the physical temperature of about 20 K) and a gain of about 27 dB within the band of interest (3–4.5 GHz) [59]. Such a low-noise temperature of the cryogenic LNA is essential to establish a robust system, with an overall receiver temperature estimated at around 11 K, as reported in [59].
 - Down conversion section (for each horizontal and vertical polarization channel): This is used to shift the radio frequency band of 3–4.5 GHz to a frequency window of 0.3–1.8 GHz, which falls within the baseband of the SRT (i.e., 0.1–2.1 GHz). The down conversion chain consists of a band-pass filter (3–4.5 GHz), an isolator, an LNA (model AFS4020006000910P4-R by Miteq [61]), an attenuator (of approximately 3 dB), a mixer (model TBR0058LA1R by Miteq [61]), a low-pass filter with a cut-off frequency of 2.1 GHz, and an additional amplification stage (model ZFL-2500VHB+ by MiniCircuit [62]). The down conversion section has a medium gain of approximately 53 dB, as reported in [59]. Further components detail and the down conversion chain characterization (i.e., gain conversion and spurious measurements) are reported in [59].
 - Noise generator section: This is used for the receiver calibration for all channels of the receiver, thanks to the injection of a noise source.
 
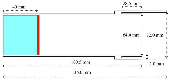
3. Design and Fabrication of the Prototype of Circular Feed Horn for the S-Band Receiver
4. Electromagnetic Characterization of the S-Band Feed Horn: Radiation Pattern Measurements in Anechoic Chamber
4.1. Near-Field Measurements
4.2. Far-Field Measurements
4.3. Phase Center Position
5. Conclusions and Future Work
Author Contributions
Funding
Data Availability Statement
Conflicts of Interest
Abbreviations
| SRT | Sardinia Radio Telescope | 
| BWG | Beam Waveguide | 
| U.M. | Under Maintenance | 
| U.C. | Under Construction | 
| U.D. | Under Development | 
| DUT | Device Under Test | 
References
- Burke, B.F. An Introduction to Radio Astronomy, 4th ed.; Cambridge University Press: Cambridge, UK, 2001; pp. 3–15. [Google Scholar]
 - Wilson, T.L.; Rohlfs, K.; Huttemeister, S. Tools of Radio Astronomy, 5th ed.; Springer-Verlag: Berlin, Heidelberg, 2009. [Google Scholar]
 - 521-984-IEEE Standard Letter Designations for Radar-Frequency Bands. Available online: https://ieeexplore.ieee.org/document/29086 (accessed on 20 February 2025).
 - Liu, J.; Yan, Z.; Shen, Z.-Q.; Huang, Z.-P.; Zhao, R.-S.; Wu, Y.-J.; Yuan, J.-P.; Wu, X.-J. New Timing Measurement Results of 16 Pulsars. Publ. Astron. Soc. Jpn. 2020, 72, 96. [Google Scholar] [CrossRef]
 - Wang, P.F.; Han, J.L.; Zhang, J.H.; Li, J.Q.; Wang, C.; Han, J.; Wang, T.; Gao, X.Y. Jiamusi pulsar observations. II. Scintillations of ten pulsars. Astron. Astrophys. 2018, 618, A186. [Google Scholar] [CrossRef]
 - Schonfeld, S.J.; White, S.M.; Henney, C.J.; Arge, C.N.; McAteer, R.T.J. Coronal Sources of the Solar F10.7 Radio Flux. Astrophys. J. 2015, 808, 29. [Google Scholar] [CrossRef]
 - Solar Observing. National Radio Astronomy Observatory. Available online: https://science.nrao.edu/facilities/vla/docs/manuals/oss/performance/solar-observing (accessed on 20 February 2025).
 - Carretti, E.; Haverkorn, M.; Staveley-Smith, L.; Bernardi, G.; Gaensler, B.M.; Kesteven, M.J.; Poppi, S.; Brown, S.; Crocker, R.M.; Purcell, C.; et al. S-band Polarization All-Sky Survey (S-PASS): Survey Description and Maps. Mon. Not. R. Astron. Soc. 2019, 486, 1097–1110. Available online: https://academic.oup.com/mnras/article/489/2/2330/5561417 (accessed on 20 February 2025).
 - Prayag, V.; Beeharry, G.K.; Vydelingum, N.; Inggs, M. RFI in Mauritius. In Proceedings of the 2016 Radio Frequency Interference (RFI), Socorro, NM, USA, 17–20 October 2016. [Google Scholar] [CrossRef]
 - Sitompul, P.P.; Manik, T.; Batubara, M.; Suhandi, B. Radio Frequency Interference Measurements for a Radio Astronomy Observatory Site in Indonesia. Aerospace 2021, 8, 51. [Google Scholar] [CrossRef]
 - Peng, B.; Sun, J.M.; Zhang, H.I.; Piao, T.Y.; Li, J.Q.; Lei, L.; Luo, T.; Li, D.H.; Zheng, Y.J.; Nan, R. RFI test observations at a candidate SKA site in China. Exp. Astron. 2004, 17, 423–430. [Google Scholar] [CrossRef]
 - Ford, J.M.; Buch, K.D. RFI mitigation techniques in radio astronomy. In Proceedings of the 2014 IEEE Geoscience and Remote Sensing Symposium, Quebec City, QC, Canada, 13–18 July 2014. [Google Scholar] [CrossRef]
 - Khan, I.; Raut, A.; Sureshkumar, S. Design of Switchable Hairpin Band Pass Filters for Low Frequency Radio Astronomy 2019. In Proceedings of the IEEE MTT-S International Microwave and RF Conference (IMARC), Mumbai, India, 13–15 December 2019. [Google Scholar] [CrossRef]
 - Fridman, P.A.; Baan, W.A. RFI mitigation methods in radio astronomy. Astron. Astrophys. 2001, 1, 327–344. [Google Scholar] [CrossRef]
 - Cohen, J.; Spoelstra, T.; Amborsini, R.; van Driel, W. CRAF Handbook for Radio Astronomy, 3rd ed.; European Science Foundation: Strasbourg, France, 2005; pp. 141–145. [Google Scholar]
 - Barnes, D.G.; Briggs, F.H.; Calabretta, M.R. Post-correlation ripple removal and radio frequency interference rejection for Parkes Telescope survey data. Radio Sci. 2005, 40, RS5S13. [Google Scholar] [CrossRef]
 - Arecibo Observatory. Available online: https://arecibo.space.swri.edu/ (accessed on 20 February 2025).
 - Venditti, F.C.F.; Marshall, S.E.; Devogele, M.; Zambrano-Marin, L.F.; McGilvray, A. The Arecibo Observatory′s legacy and future radar capabilities. Acta Astronaut. 2023, 210, 610–615. [Google Scholar] [CrossRef]
 - Green Bank Observatory website. GBT Receivers & Frequency Ranges. Available online: https://greenbankobservatory.org/portal/gbt/instruments/ (accessed on 20 February 2025).
 - Prestage, R.M.; Constantikes, K.T.; Hunter, T.R.; King, L.J.; Lacasse, R.J.; Lockman, F.J.; Norrod, R.D. The Green Bank Telescope. Proc. IEEE 2009, 97, 1382–1390. [Google Scholar] [CrossRef]
 - Lynch, R.; White, S.; Simone, B.; Ransom, S.; Marganian, P.; Egan, D.; Creager, R.; Sizemore, D.; Jensen, L.; Symmes, A. The Green Bank Telescope 0.7-4 GHz Ultra-wideband Receiver. Bull. Am. Astron. Soc. 2023, 55, 2. [Google Scholar]
 - Australia Telescope National Facility—Welcome to the CSIRO Parkes Observatory. Available online: https://www.parkes.atnf.csiro.au/ (accessed on 20 February 2025).
 - Hobbs, G.; Manchester, R.N.; Dunning, A.; Jameson, A.; Roberts, P.; George, D.; Green, J.A.; Tuthill, J.; Toomey, L.; Kaczmarek, J.F.; et al. An ultra-wide bandwidth (704 to 4032 MHz) receiver for the Parkes radio telescope. Publ. Astron. Soc. Aust. 2020, 37, e012. [Google Scholar] [CrossRef]
 - Max Planck Institute for Radio Astronomy—Radio Telescope Effelsberg. Available online: https://www.mpifr-bonn.mpg.de/en/effelsberg (accessed on 13 March 2025).
 - Effelsberg 9 cm (3.2 GHz, Primary Focus) Receiver. Available online: https://www3.mpifr-bonn.mpg.de/div/electronic/content/receivers/9cm.html (accessed on 13 March 2025).
 - SRT–Sardinia Radio Telescope. Available online: https://srt-documentation.readthedocs.io/en/latest/index.html (accessed on 20 February 2025).
 - OAC–Astronomical Observatory of Cagliari. Available online: https://www.oa-cagliari.inaf.it/index.php?set_language=1 (accessed on 20 February 2025).
 - Science with SRT–Sardinia Radio Telescope. Available online: https://srt-documentation.readthedocs.io/en/latest/antenna.html#user-guide-and-observing-modes (accessed on 20 February 2025).
 - Bartkiewicz, A.; Sanna, A.; Szymczak, M.; Moscadelli, L.; van Langevelde, H.J.; Wolak, P.; Kobak, A.; Durjasz, M. Proper motion study of the 6.7 GHz methanol maser rings. I. A sample of sources with little variation. Astron. Astrophys. 2024, 686, A275. [Google Scholar] [CrossRef]
 - Perrodin, D.; Burgay, M.; Corongiu, A.; Pilia, M.; Possenti, A.; Iacolina, M.N.; Egron, E.; Ridolfi, A.; Tiburzi, C.; Casu, S.; et al. Pulsar science at the Sardinia radio telescope. In Proceedings of the International Astronomical Union, Macclesfield, UK, 4–8 September 2017. [Google Scholar]
 - Egron, E.; Pellizzoni, A.; Giroletti, M.; Righini, S.; Stagni, M.; Orlati, A.; Migoni, C. Single-dish and VLBI observations of CygnusX-3 during the 2016 giant flare episode. Mon. Not. Roy. Astron. Soc. 2017, 471, 2703–2714. [Google Scholar] [CrossRef]
 - Pilia, M.; Burgay, M.A.; Possenti, A.N.; Ridolfi, A.L.; Gajjar, V.; Corongiu, A.L.; Perrodin, D.E.; Bernardi, G.I.; Naldi, G.; Pupillo, G.; et al. The lowest-frequency fast radio bursts: Sardinia radio telescope detection of the periodic FRB 180,916 at 328 MHz. Astrophys. J. 2020, 896, L40. [Google Scholar] [CrossRef]
 - Njeri, A.; Beswick, R.J.; Radcliffe, J.F.; Thomson, A.P.; Wrigley, N.; Muxlow, T.W.B.; Garrett, M.A.; Deane, R.P.; Moldon, J.; Norris, R.P.; et al. SPARCS-North Wide-field VLBI Survey: Exploring the resolved μJy extragalactic radio source population with EVN + e-MERLIN. Mon. Not. R. Astron. Soc. 2023, 519, 1732–1744. [Google Scholar] [CrossRef]
 - European VLBI Network. Capabilities—Frequency Coverage and Real-Time (e-EVN) Capabilities. Available online: https://www.evlbi.org/capabilities (accessed on 20 February 2025).
 - Schirru, L.; Pisanu, T.; Podda, A. The Ad Hoc Back-End of the BIRALET Radar to Measure Slant-Range and Doppler Shift of Resident Space Objects. Electronics 2021, 10, 577. [Google Scholar] [CrossRef]
 - Italian Space Agency–ASI. Available online: https://www.asi.it/ (accessed on 20 February 2025).
 - Valente, G.; Pelorossi, F.; Serra, G.; Urru, E.; Saba, A.; Iacolina, M.N. The Optical Design of the Sardinia Deep Space Antenna for Telemetry, Tracking, and Command. IEEE Access 2024, 12, 141653–141670. [Google Scholar] [CrossRef]
 - Navarrini, A.; Valente, G.; Marongiu, P.; Ladu, A.; Gaudiomonte, F. Optical design of S-band multifeed for the Sardinia Radio Telescope primary focus. In Proceedings of the 2017 IEEE MTT-S International Conference on Numerical Electromagnetic and Multiphysics Modeling and Optimization for RF, Microwave, and Terahertz Applications (NEMO), Seville, Spain, 17–19 May 2017. [Google Scholar] [CrossRef]
 - Pisanu, T.; Valente, G.; Marongiu, P.; Maxia, P.; Ortu, P.; Navarrini, A. Status of the multibeam S band receiver for the Sardinia Radio Telescope. In Proceedings of the 2022 3rd URSI Atlantic and Asia Pacific Radio Science Meeting (AT-AP-RASC), Gran Canaria, Spain, 30 May–4 June 2022. [Google Scholar] [CrossRef]
 - Prandoni, I.; Murgia, M.; Tarchi, A.; Burgay, M.; Castangia, P.; Egron, E.; Govoni, F.; Pellizzoni, A.; Ricci, R.; Righini, S.; et al. The Sardinia Radio Telescope, From a technological project to a radio observatory. Astron. Astrophys. 2017, 608, 26. [Google Scholar] [CrossRef]
 - Sardinia Radio Telescope Documentation—Welcome to SRT’s Documentation! Available online: https://srt-documentation.readthedocs.io/en/latest/index.html (accessed on 20 February 2025).
 - Mouroulis, P.; Macdonald, J. Geometrical Optics and Optical Design (Oxford Series on Optical and Imaging Sciences), 1st ed.; Oxford University Press: Oxford, UK, 1997. [Google Scholar]
 - Bolli, P.; Olmi, L.; Roda, J.; Zacchiroli, G. A novel application of the active surface of the shaped Sardinia radio telescope for primary-focus operations. IEEE Antennas Wirel. Propag. Lett. 2014, 13, 1713–1716. [Google Scholar] [CrossRef]
 - Orfei, A.; Carbonaro, L.; Cattani, A.; Cremonini, A.; Cresci, L.; Fiocchi, F. A Multi-Feed Receiver in the 18 to 26. 5 GHz Band for Radio Astronomy. IEEE Antennas Propag. Mag. 2010, 52, 62–72. [Google Scholar] [CrossRef]
 - Peverini, O.A.; Tascone, R.; Virone, G.; Addamo, G.; Olivieri, A.; Orta, R. C-band dual-polarization receiver for the Sardinia Radio-Telescope. In Proceedings of the 2009 International Conference on Electromagnetics in Advanced Applications, Turin, Italy, 14–18 September 2009. [Google Scholar] [CrossRef]
 - Ladu, A.; Schirru, L.; Gaudiomonte, F.; Marongiu, P.; Angius, G.; Perini, F.; Vargiu, G.P. Upgrading of the L-P Band Cryogenic Receiver of the Sardinia Radio Telescope: A Feasibility Study. Sensors 2022, 22, 4261. [Google Scholar] [CrossRef] [PubMed]
 - Govoni, F.; Bolli, P.; Buffa, F.; Caito, L.; Carretti, E.; Comoretto, G.; Fierro, D.; Melis, A.; Murgia, M.; Navarrini, A.; et al. The high-frequency upgrade of the Sardinia Radio Telescope. In Proceedings of the 2021 XXXIVth General Assembly and Scientific Symposium of the International Union of Radio Science (URSI GASS), Rome, Italy, 28 August–4 September 2021. [Google Scholar] [CrossRef]
 - Orfei, A.; Cresci, L.; Nesti, R.; Panella, D.; Roda, J.; Mariotti, S. Il Feed System per il Ricevitore Multibeam nella Banda 33–50 GHz (Q-Band); INAF Technical Reports—Rapporti Tecnici; INAF: Rome, Italy, 2024; Volume 311, Available online: http://hdl.handle.net/20.500.12386/35175 (accessed on 20 February 2025).
 - Navarrini, A.; Olmi, L.; Nesti, R.; Ortu, P.; Marongiu, P.; Orlati, A. Feasibility Study of a W-Band Multibeam Heterodyne Receiver for the Gregorian Focus of the Sardinia Radio Telescope. IEEE Access 2022, 10, 26369–26403. [Google Scholar] [CrossRef]
 - Paiella, A.; Cacciotti, F.; Isopi, G.; Barbavara, E.; Battistelli, E.S.; De Bernardis, P.; Capalbo, V.; Carbone, A.; Carretti, E.; Ciccalotti, E.; et al. The MISTRAL Instrument and the Characterization of Its Detector Array. J. Low Temp. Phys. 2024, 217, 436–445. [Google Scholar] [CrossRef]
 - Bolli, P.; Han, S.-T.; Choi, J.; Orfei, A.; Porceddu, I.; Byun, D.-Y. Tri-band receivers for the INAF radio telescopes: From procurement to acceptance tests. In Proceedings of the 2023 XXXVth General Assembly and Scientific Symposium of the International Union of Radio Science (URSI GASS), Sapporo, Japan, 19–26 August 2023. [Google Scholar] [CrossRef]
 - Sardinia Radio Telescope Documentation–Receivers. Available online: https://srt-documentation.readthedocs.io/en/latest/antenna.html#receivers (accessed on 20 February 2025).
 - Valente, G.; Pisanu, T.; Navarrini, A.; Marongiu, P.; Orfei, A.; Mariotti, S.; Nesti, R.; Roda, J.; Cattani, A.; Bolli, P.; et al. The Coaxial L-P Cryogenic Receiver of the Sardinia Radio Telescope. IEEE Access 2022, 10, 2631–2645. [Google Scholar] [CrossRef]
 - Balanis, C.A. Antenna Theory: Analysis and Design; Wiley: Hoboken, NJ, USA, 2016. [Google Scholar]
 - Rudge, A.W.; Milne, K.; Olver, A.D.; Knight, P. Microwave Horns and Feeds; IET: London, UK, 1984. [Google Scholar]
 - Beherens, G.; Campbell, W.; Williams, D.; White, S. Guidelines for the design of cryogenic systems. In National Radio Astronomy Observatory–Technical reports; Electronics Division Internal Report n. 306; National Radio Astronomy Observatory: Green Bank, WV, USA, 1997. [Google Scholar]
 - Weisend, J.G., II (Ed.) Handbook of Cryogenic Engineering; Taylor & Francis: Philadelphia, PA, USA, 1998. [Google Scholar]
 - CTI-Cryogenics. Installation, Operation and Servicing Instructions. Model 350C Cryodyne Cryocooler. Available online: http://docs.eao.hawaii.edu/JCMT/a/024_helium_compressors/06/CTI%20350CwithSC_Compressor-1985.pdf (accessed on 20 February 2025).
 - Valente, G.; Marongiu, P.; Navarrini, A.; Saba, A.; Montisci, G.; Ladu, A.; Pisanu, T.; Pili, M.; Dessi, S.; Uccheddu, A.; et al. The 7-beam S-band cryogenic receiver for the SRT primary focus: Project status. In Proceedings of the SPIE Astronomical Telescopes + Instrumentation–Millimeter, Submillimeter, and Far-Infrared Detectors and Instrumentation for Astronomy VIII, Edinburgh, UK, 26 June–1 July 2016; p. 991422. [Google Scholar] [CrossRef]
 - TTI–Welcome to TTI Europe. Electronic Component Distribution. Available online: https://www.ttieurope.com/content/ttieurope/en.html (accessed on 20 February 2025).
 - Narda-Miteq. Available online: https://www.nardamiteq.com/ (accessed on 20 February 2025).
 - Mini-Circuits. Available online: https://www.minicircuits.com/?srsltid=AfmBOorMSl_wtvlhnSydtZYQwC-u88kjMsxbLcDWLKPDw9L5OEiVBgrW (accessed on 20 February 2025).
 - R&S®SMB100A Microwave Signal Generator. Available online: https://www.rohde-schwarz.com/it/prodotti/misura-e-collaudo/generatori-di-segnali-analogici/rs-smb100a-microwave-signal-generator_63493-9379.html (accessed on 20 February 2025).
 - Styrodur. Sicuro. Forte. Available online: https://www.styrodur-italia.it/ (accessed on 20 February 2025).
 - Professional Plastics–Overview of Kapton HN Polymide Film. Available online: https://www.professionalplastics.com/KAPTONFILMPOLYIMIDE?XLT_TO=en (accessed on 20 February 2025).
 - CST Studio Suite. Electromagnetic Field Simulation Software. Available online: https://www.3ds.com/products/simulia/cst-studio-suite (accessed on 20 February 2025).
 - Ansys HFSS. Best-in-Class 3D High Frequency Structure Simulation Software. Available online: https://www.ansys.com/it-it/products/electronics/ansys-hfss (accessed on 20 February 2025).
 - Radiall. SMA. Available online: https://www.radiall.com/products/rf-coaxial-connectors/screw-on-connectors/sma.html (accessed on 20 February 2025).
 - Arcetri Astrophysical Observatory. Available online: https://www.arcetri.inaf.it/en/ (accessed on 20 February 2025).
 - Anritsu VNA 37277C. Available online: https://dl.cdn-anritsu.com/en-us/test-measurement/files/Manuals/Operation-Manual/10410-00261.pdf (accessed on 20 February 2025).
 - Fielg Regions. Far Field (Fraunhofer) Region. Available online: https://www.antenna-theory.com/basics/fieldRegions.php (accessed on 20 February 2025).
 - Rao, K.; Shafai, L. Phase Center Calculations of Reflector Antenna Feeds. IEEE Trans. Antennas Propag. 1984, 32, 740–742. [Google Scholar] [CrossRef]
 























| f/D Ratio  | Maximum Frequency | Minimum Frequency | Focus | 
|---|---|---|---|
| 0.33 | 20 GHz | 300 MHz | Primary Focus F1 | 
| 2.34 | 116 GHz | 7.5 GHz | Gregorian Focus F2 | 
| 1.38 | 35 GHz | 1.4 GHz | BWG I, F3 | 
| 2.81 | 35 GHz | 1.4 GHz | BWG II, F4 | 
| Frequency [GHz] | Z-Position [mm] (HFSS) | Z-Position [mm] (CST)  | Z-Position [mm] (LSE)  | Z-Position [mm] (LSE-AM)  | 
|---|---|---|---|---|
| 3 | 2.30 | 1.06 | −0.03 | 0.03 | 
| 3.375 | −1.10 | −1.58 | −3.90 | −5.30 | 
| 3.75 | 0.25 | 1.20 | −0.50 | 0.15 | 
| 4.125 | 2.2 | 1.16 | −1.27 | −0.84 | 
| 4.5 | −0.49 | −0.55 | 0.26 | 0.6 | 
Disclaimer/Publisher’s Note: The statements, opinions and data contained in all publications are solely those of the individual author(s) and contributor(s) and not of MDPI and/or the editor(s). MDPI and/or the editor(s) disclaim responsibility for any injury to people or property resulting from any ideas, methods, instructions or products referred to in the content.  | 
© 2025 by the authors. Licensee MDPI, Basel, Switzerland. This article is an open access article distributed under the terms and conditions of the Creative Commons Attribution (CC BY) license (https://creativecommons.org/licenses/by/4.0/).
Share and Cite
Pisanu, T.; Maxia, P.; Navarrini, A.; Valente, G.; Nesti, R.; Schirru, L.; Marongiu, P.; Ortu, P.; Ladu, A.; Gaudiomonte, F.; et al. Design, Fabrication, and Electromagnetic Characterization of a Feed Horn of the Linear-Polarized Multi-Beam Cryogenic S-Band Receiver for the Sardinia Radio Telescope. Electronics 2025, 14, 2301. https://doi.org/10.3390/electronics14112301
Pisanu T, Maxia P, Navarrini A, Valente G, Nesti R, Schirru L, Marongiu P, Ortu P, Ladu A, Gaudiomonte F, et al. Design, Fabrication, and Electromagnetic Characterization of a Feed Horn of the Linear-Polarized Multi-Beam Cryogenic S-Band Receiver for the Sardinia Radio Telescope. Electronics. 2025; 14(11):2301. https://doi.org/10.3390/electronics14112301
Chicago/Turabian StylePisanu, Tonino, Paolo Maxia, Alessandro Navarrini, Giuseppe Valente, Renzo Nesti, Luca Schirru, Pasqualino Marongiu, Pierluigi Ortu, Adelaide Ladu, Francesco Gaudiomonte, and et al. 2025. "Design, Fabrication, and Electromagnetic Characterization of a Feed Horn of the Linear-Polarized Multi-Beam Cryogenic S-Band Receiver for the Sardinia Radio Telescope" Electronics 14, no. 11: 2301. https://doi.org/10.3390/electronics14112301
APA StylePisanu, T., Maxia, P., Navarrini, A., Valente, G., Nesti, R., Schirru, L., Marongiu, P., Ortu, P., Ladu, A., Gaudiomonte, F., Pilia, S., Caocci, R., Di Ninni, P., Cresci, L., & Sonnini, A. (2025). Design, Fabrication, and Electromagnetic Characterization of a Feed Horn of the Linear-Polarized Multi-Beam Cryogenic S-Band Receiver for the Sardinia Radio Telescope. Electronics, 14(11), 2301. https://doi.org/10.3390/electronics14112301
        
