High-Precision Main Shaft Displacement Measurement for Wind Turbines Using an Optimized Position-Sensitive Detector
Abstract
1. Introduction
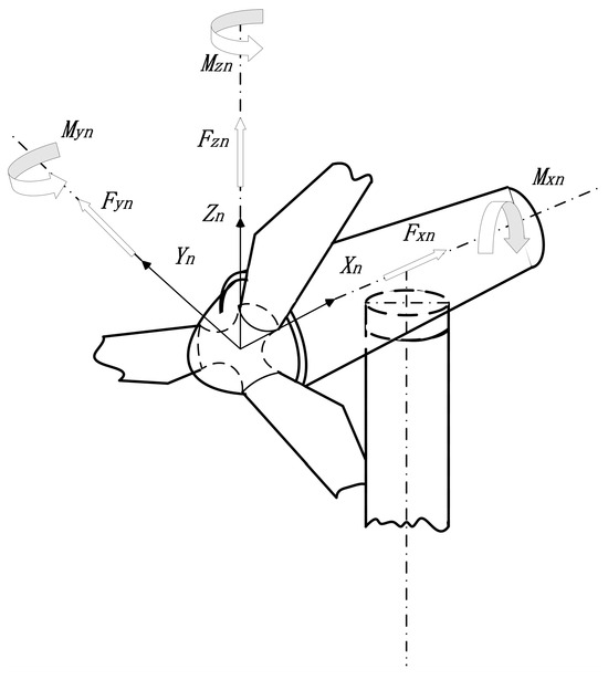
2. The Measurement Principle of Wind Turbine Main Shaft Displacement
2.1. Working Principle
2.2. Overall System Structure
3. Factors Affecting PSD Measurement Error
4. SSA-BP Neural Network Error Correction Method
4.1. BP Neural Network
4.2. Sparrow Search Algorithm (SSA)
4.3. SSA-BP Neural Network
4.4. Algorithm Validation and Analysis
5. Experiment Design and Analysis
5.1. Experimental Model Design and Construction
5.2. System Stability Testing
5.3. Displacement Measurement Experiment
5.4. Model Generalization Validation
6. Conclusions
Author Contributions
Funding
Data Availability Statement
Conflicts of Interest
References
- Oh, S.Y.; Joung, C.; Lee, S.; Shim, Y.-B.; Lee, D.; Cho, G.-E.; Jang, J.; Lee, I.Y.; Park, Y.-B. Condition-based maintenance of wind turbine structures: A state-of-the-art review. Renew. Sustain. Energy Rev. 2024, 204, 114799. [Google Scholar] [CrossRef]
- Zhang, Z.Q.; Yin, Z.J.; Han, T.; Tan, A.C.C. Fracture analysis of wind turbine main shaft. Eng. Fail. Anal. 2013, 34, 129–139. [Google Scholar] [CrossRef]
- Yang, W.X.; Tavner, P.J.; Crabtree, C.J.; Feng, Y.; Qiu, Y. Wind turbine condition monitoring: Technical and commercial challenges. Wind Energy 2014, 17, 673–693. [Google Scholar] [CrossRef]
- Rafsanjani, H.M.; Sørensen, J.D. Reliability Analysis of Fatigue Failure of Cast Components for Wind Turbines. Energies 2015, 8, 2908–2923. [Google Scholar] [CrossRef]
- Wang, R.M.; Han, T.; Wang, W.R.; Xue, Y.; Fu, D.Y. Fracture analysis and improvement of the main shaft of wind turbine based on finite element method. Adv. Mech. Eng. 2018, 10, 1687814018769003. [Google Scholar] [CrossRef]
- Asian, S.; Ertek, G.; Haksoz, C.; Pakter, S.; Ulun, S. Wind Turbine Accidents: A Data Mining Study. IEEE Syst. J. 2017, 11, 1567–1578. [Google Scholar] [CrossRef]
- Cheng, J.; He, C.F.; Lyu, Y.; Zheng, Y.; Xie, L.Y. Method for evaluation of surface crack size of wind turbine main shaft by using ultrasonic diffracted waves. Smart Mater. Struct. 2020, 29, 075009. [Google Scholar] [CrossRef]
- Jin, X.; Ju, W.B.; Zhang, Z.L.; Guo, L.X.; Yang, X.G. System safety analysis of large wind turbines. Renew. Sustain. Energy Rev. 2016, 56, 1293–1307. [Google Scholar] [CrossRef]
- Noor-A-Rahim, M.; Khyam, M.O.; Li, X.; Pesch, D. Sensor Fusion and State Estimation of IoT Enabled Wind Energy Conversion System. Sensors 2019, 19, 1566. [Google Scholar] [CrossRef]
- Salameh, J.P.; Cauet, S.; Etien, E.; Sakout, A.; Rambault, L. Gearbox condition monitoring in wind turbines: A review. Mech. Syst. Signal Process. 2018, 111, 251–264. [Google Scholar] [CrossRef]
- Márquez, F.P.G.; Chacón, A.M.P. A review of non-destructive testing on wind turbines blades. Renew. Energy 2020, 161, 998–1010. [Google Scholar] [CrossRef]
- Gryllias, K.; Qi, J.Y.; Mauricio, A.; Liu, C.Y. Condition Monitoring of Wind Turbine Drivetrain Bearings. J. Eng. Gas Turbines Power-Trans. Asme 2024, 146, 071001. [Google Scholar] [CrossRef]
- de Azevedo, H.D.M.; de Arruda, P.H.C.; Araújo, A.M.; Bouchonneau, N.; Rohatgi, J.S.; de Souza, R.M.C. Vibration monitoring, fault detection, and bearings replacement of a real wind turbine. J. Braz. Soc. Mech. Sci. Eng. 2017, 39, 3837–3848. [Google Scholar] [CrossRef]
- Cheng, J.; He, C.; Lyu, Y.; Zheng, Y.; Xie, L.; Wu, L. Ultrasonic inspection of the surface crack for the main shaft of a wind turbine from the end face. NDT E Int. 2020, 114, 102283. [Google Scholar] [CrossRef]
- Jiang, Z.; Huang, X.; Zhu, H.; Jiang, R.; Du, S. A new method for contact characteristic analysis of the tapered roller bearing in wind turbine main shaft. Eng. Fail. Anal. 2022, 141, 106729. [Google Scholar] [CrossRef]
- Selvaraj, Y.; Selvaraj, C. Proactive maintenance of small wind turbines using IoT and machine learning models. Int. J. Green Energy 2022, 19, 463–475. [Google Scholar] [CrossRef]
- Hu, C.; Wang, X.J.; Song, B. High-performance position-sensitive detector based on the lateral photoelectrical effect of two-dimensional materials. Light-Sci. Appl. 2020, 9, 88. [Google Scholar] [CrossRef] [PubMed]
- Zhang, P.C.; Liu, J.; Yang, H.M.; Yu, L. Position Measurement of Laser Center by Using 2-D PSD and Fixed-Axis Rotating Device. IEEE Access 2019, 7, 140319–140327. [Google Scholar] [CrossRef]
- Geng, L.; Cao, G.; Shang, C.; Ding, H. Absolute Photoelectric Encoder Based on Position-Sensitive Detector Sensor. Electronics 2024, 13, 1446. [Google Scholar] [CrossRef]
- Li, J.; Tao, W.; Zhao, H. A Laser Triangulation Displacement Sensor Based on a Cylindrical Annular Reflector. Photonics 2023, 10, 1139. [Google Scholar] [CrossRef]
- Hošek, J.; Linduška, P. Simple Modification of a Commercial Laser Triangulation Sensor for Distance Measurement of Slot and Bore Side Surfaces. Sensors 2021, 21, 6911. [Google Scholar] [CrossRef] [PubMed]
- Lü, Q.N.; Ge, B.Z.; Yao, W.D.; Zhang, Y.M. A method for measuring the thickness of transparent oil film on water surface using laser trigonometry. Opt. Lasers Eng. 2011, 49, 13–15. [Google Scholar] [CrossRef]
- Siddiqui, M.O.; Feja, P.R.; Borowski, P.; Kyling, H.; Nejad, A.R.; Wensk, J. Wind turbine nacelle testing: State-of-the-art and development trends. Renew. Sustain. Energy Rev. 2023, 188, 113767. [Google Scholar] [CrossRef]
- Salic, T.; Charpentier, J.F.; Benbouzid, M.; Le Boulluec, M. Control Strategies for Floating Offshore Wind Turbine: Challenges and Trends. Electronics 2019, 8, 1185. [Google Scholar] [CrossRef]
- Lonescu, L.; Pontius, T. The wind turbine main shaft with one end bearing floating and the other end bearing fixed. J. Electr. Eng. 2010, 3, 50–53. [Google Scholar]
- Cheng, Y.B.; Luo, P.H.; Shen, B.; Wang, Y.H.; Li, Y.R.; Li, S.H. Analysis of Long-Distance Geometric Error Measurement and Uncertainty Based on PSD Laser Collimation Principle. Photonics 2024, 11, 538. [Google Scholar] [CrossRef]
- Han, S.; Xu, J.; Yan, M.; Liu, Z. Using multiple linear regression and BP neural network to predict critical meteorological conditions of expressway bridge pavement icing. PLoS ONE 2022, 17, e0263539. [Google Scholar] [CrossRef]
- Tang, X.P.; Liu, H.J.; Feng, D.X.; Zhang, W.J.; Chang, J.; Li, L.; Yang, L. Prediction of field winter wheat yield using fewer parameters at middle growth stage by linear regression and the BP neural network method. Eur. J. Agron. 2022, 141, 126621. [Google Scholar] [CrossRef]
- Lu, Y.; Li, Z.; Zhao, X.; Lv, S.; Wang, X.; Wang, K.; Ni, H. Recognition of Rice Sheath Blight Based on a Backpropagation Neural Network. Electronics 2021, 10, 2907. [Google Scholar] [CrossRef]
- Parisi, G.I.; Kemker, R.; Part, J.L.; Kanan, C.; Wermter, S. Continual lifelong learning with neural networks: A review. Neural Netw. Rev. 2019, 113, 54–71. [Google Scholar] [CrossRef] [PubMed]
- Zhu, H.L.; Wang, Y.S. Intelligent Prediction of Prestressed Steel Structure Construction Safety Based on BP Neural Network. Appl. Sci. 2022, 12, 1442. [Google Scholar] [CrossRef]
- Li, X.Y.; Yuan, C.H.; Shan, B.N. System Identification of Neural Signal Transmission Based on Backpropagation Neural Network. Math. Probl. Eng. 2020, 2020, 9652678. [Google Scholar] [CrossRef]
- Song, X.D.; Yang, W. Research on the Sound Quality Evaluation Method Based on Artificial Neural Network. Sci. Program. 2022, 2022, 8686785. [Google Scholar] [CrossRef]
- Wang, D.; Lu, H.C.; Yang, M.H. Online Object Tracking With Sparse Prototypes. IEEE Trans. Image Process. 2013, 22, 314–325. [Google Scholar] [CrossRef]
- Oh, S.H.; Lee, Y. Sensitivity analysis of single hidden-layer neural networks with threshold functions. IEEE Trans. Neural Netw. 1995, 6, 1005–1007. [Google Scholar] [CrossRef] [PubMed]
- Piche, S.W. The selection of weight accuracies for Madalines. IEEE Trans. Neural Netw. 1995, 6, 432–445. [Google Scholar] [CrossRef]
- Xue, J.K.; Shen, B. A survey on sparrow search algorithms and their applications. Int. J. Syst. Sci. 2024, 55, 814–832. [Google Scholar] [CrossRef]
- Zhang, J.; Zhu, X.; Li, J. Intelligent Path Planning with an Improved Sparrow Search Algorithm for Workshop UAV Inspection. Sensors 2024, 24, 1104. [Google Scholar] [CrossRef] [PubMed]













| Model | MSE | MAE | R2 |
|---|---|---|---|
| BP | 0.0347 | 0.1863 | 0.96485 |
| PSO-BP | 0.0156 | 0.1249 | 0.98345 |
| SSA-BP | 0.0123 | 0.1109 | 0.99975 |
| BP | 0.0212 | 0.1456 | 0.96357 |
| PSO-BP | 0.0195 | 0.1396 | 0.98454 |
| SSA-BP | 0.0086 | 0.0927 | 0.99987 |
| Spot Position/mm | ΔX/mm |
|---|---|
| 1 | ±0.024 |
| 5 | ±0.020 |
| 9 | ±0.019 |
| 13 | ±0.021 |
| 17 | ±0.025 |
Disclaimer/Publisher’s Note: The statements, opinions and data contained in all publications are solely those of the individual author(s) and contributor(s) and not of MDPI and/or the editor(s). MDPI and/or the editor(s) disclaim responsibility for any injury to people or property resulting from any ideas, methods, instructions or products referred to in the content. |
© 2024 by the authors. Licensee MDPI, Basel, Switzerland. This article is an open access article distributed under the terms and conditions of the Creative Commons Attribution (CC BY) license (https://creativecommons.org/licenses/by/4.0/).
Share and Cite
Zhang, W.; Wang, L.; Li, G.; Zheng, H.; Pang, C. High-Precision Main Shaft Displacement Measurement for Wind Turbines Using an Optimized Position-Sensitive Detector. Electronics 2024, 13, 5055. https://doi.org/10.3390/electronics13245055
Zhang W, Wang L, Li G, Zheng H, Pang C. High-Precision Main Shaft Displacement Measurement for Wind Turbines Using an Optimized Position-Sensitive Detector. Electronics. 2024; 13(24):5055. https://doi.org/10.3390/electronics13245055
Chicago/Turabian StyleZhang, Weitong, Lingyun Wang, Guangxi Li, Huicheng Zheng, and Chengwei Pang. 2024. "High-Precision Main Shaft Displacement Measurement for Wind Turbines Using an Optimized Position-Sensitive Detector" Electronics 13, no. 24: 5055. https://doi.org/10.3390/electronics13245055
APA StyleZhang, W., Wang, L., Li, G., Zheng, H., & Pang, C. (2024). High-Precision Main Shaft Displacement Measurement for Wind Turbines Using an Optimized Position-Sensitive Detector. Electronics, 13(24), 5055. https://doi.org/10.3390/electronics13245055

