Design and Implementation of an Efficient Hardware Coprocessor IP Core for Multi-axis Servo Control Based on Universal SoC
Abstract
1. Introduction
2. Background Research
2.1. Mathematical Model of Permanent Magnet Synchronous Motor
2.2. Vector Control
2.3. Basic Architecture of Universal SoC
3. Implementation Process
3.1. Coprocessor IP Core Design
3.1.1. Method 1: Data Normalization Processing Method
3.1.2. Method 2: Design Method for the Multiplication Calculation Circuit
3.1.3. Method 3: Design Method of PI Control Unit
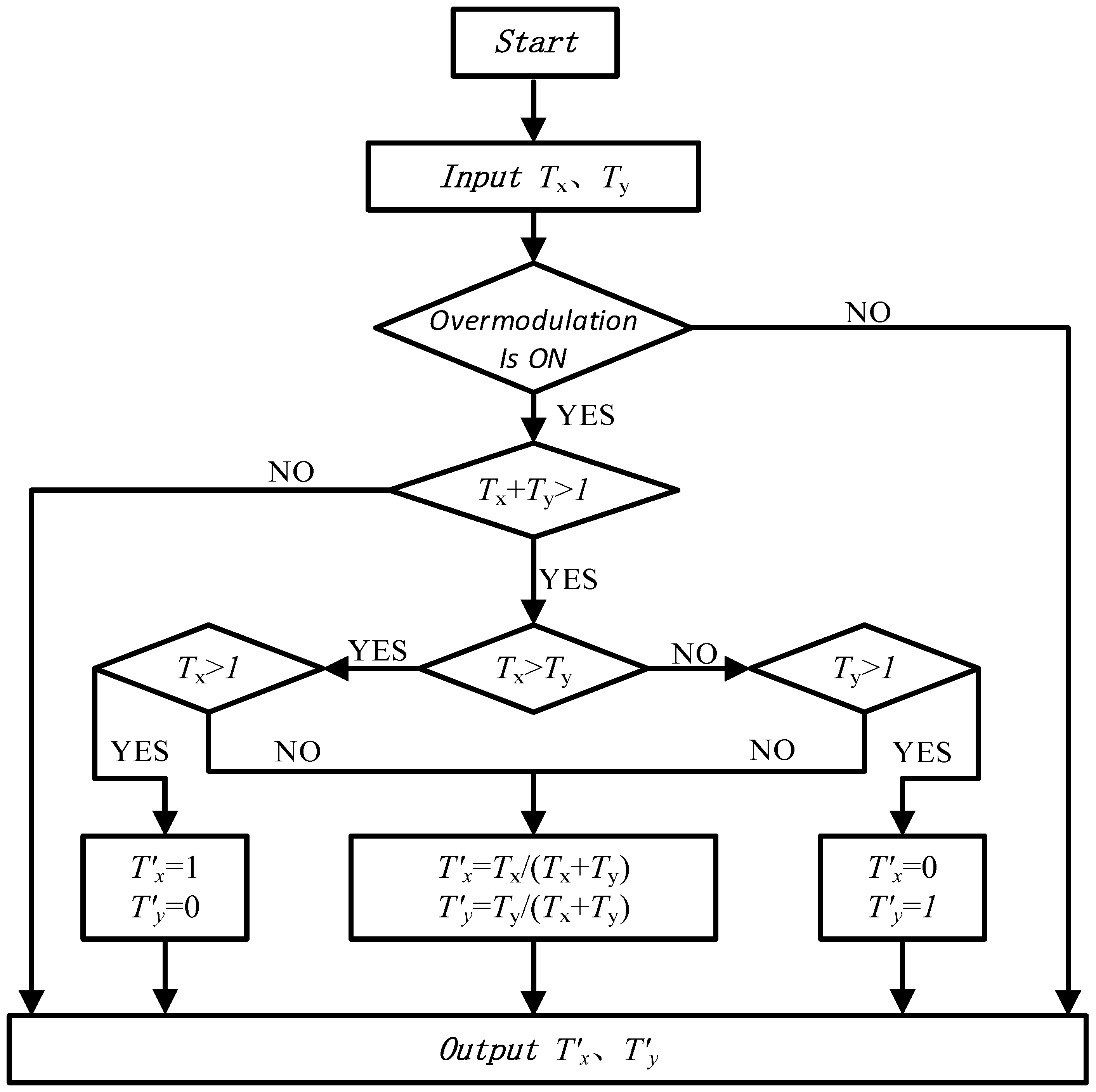
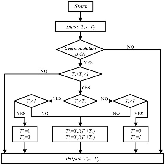
3.1.4. Method 4: SVPWM Overmodulation Design Method
3.2. SoC Integration Method of IP
3.3. Hardware–Software Coordination Scheme of IP
4. Experiment and Experimental Results Analysis
4.1. Establishment and Implementation of Experiments
4.2. Resource Consumption
4.3. Functional Verification and Performance Analysis
4.3.1. Functional Experiment of Single-Axis Servo Control
4.3.2. Multi-Axis Servo Control Performance Experiment
4.3.3. Comparison of Time Consumption with Pure Software Computing
4.4. ASIC Implementation Results
5. Conclusions
Author Contributions
Funding
Data Availability Statement
Conflicts of Interest
References
- Mishra, I.; Tripathi, R.N.; Hanamoto, T. Synchronization and Sampling Time Analysis of Feedback Loop for FPGA-Based PMSM Drive System. Electronics 2020, 9, 1906. [Google Scholar] [CrossRef]
- Mishra, I.; Tripathi, R.; Singh, V.; Hanamoto, T. Step-by-Step Development and Implementation of FS-MPC for a FPGA-Based PMSM Drive System. Electronics 2021, 10, 395. [Google Scholar] [CrossRef]
- Chou, H.H.; Kung, Y.S.; Quynh, N.V.; Cheng, S. Optimized FPGA design, verification and implementation of a neuro-fuzzy controller for PMSM drives. Math. Comput. Simul. 2013, 90, 28–44. [Google Scholar] [CrossRef]
- Banjanovic-Mehmedovic, L.; Mujkic, A.; Babic, N.; Secic, J. Hexapod Robot Navigation Using FPGA Based Controller. In International Conference “New Technologies, Development and Applications”; Springer: Cham, Switzerland, 2019; pp. 42–51. [Google Scholar] [CrossRef]
- Park, J.-H.; Lim, H.-S.; Lee, G.-H.; Lee, H.-H. A Study on the Optimal Control of Voltage Utilization for Improving the Efficiency of PMSM. Electronics 2022, 11, 2095. [Google Scholar] [CrossRef]
- Amornwongpeeti, S.; Ekpanyapong, M.; Chayopitak, N.; Monteiro, J.; Martins, J.; Afonso, J.L. A single chip FPGA-based cross-coupling multi-motor drive system. IEICE Electron. Express 2015, 12, 20150383. [Google Scholar] [CrossRef]
- Ooi, C.P.; Hew, W.P.; Rahim, N.A.; Kuan, L.C. FPGA-based field-oriented control for induction motor speed drive. IEICE Electron. Express 2009, 6, 290–296. [Google Scholar] [CrossRef]
- Boukaka, S.; Teiar, H.; Chaoui, H.; Sicard, P. FPGA implementation of an adaptive fuzzy logic controller for PMSM. In Proceedings of the 7th IET International Conference on Power Electronics, Machines and Drives (PEMD 2014), Manchester, UK, 8–10 April 2014; pp. 1–6. [Google Scholar]
- Ricci, S.; Meacci, V. Simple Torque Control Method for Hybrid Stepper Motors Implemented in FPGA. Electronics 2018, 7, 242. [Google Scholar] [CrossRef]
- Ma, Z.; Zhang, X. FPGA Implementation of Sensorless Sliding Mode Observer With a Novel Rotation Direction Detection for PMSM Drives. IEEE Access 2018, 6, 55528–55536. [Google Scholar] [CrossRef]
- Sirisha, B.; Kumar, P.S. A simplified and generalised SVPWM method including over modulation zone for seven level diode clamped inverter-FPGA implementation. Int. J. Power Electron. 2019, 10, 350–366. [Google Scholar] [CrossRef]
- Shu, Z.; Tang, J.; Guo, Y.; Lian, J. An Efficient SVPWM Algorithm With Low Computational Overhead for Three-Phase Inverters. IEEE Trans. Power Electron. 2007, 22, 1797–1805. [Google Scholar] [CrossRef]
- Hu, H.; Yao, W.; Lu, Z. Design and Implementation of Three-Level Space Vector PWM IP Core for FPGAs. IEEE Trans. Power Electron. 2007, 22, 2234–2244. [Google Scholar] [CrossRef]
- Di Benedetto, L.; Donisi, A.; Licciardo, G.D.; Liguori, R.; Piccirilli, E.; Lanzotti, E.; Rubino, A. Implementation of Hardware Architecture for SVPWM With Arbitrary Parameters. IEEE Access 2022, 10, 32381–32393. [Google Scholar] [CrossRef]
- Tsai, M.-F.; Tseng, C.-S.; Cheng, P.-J. Implementation of an FPGA-Based Current Control and SVPWM ASIC with Asymmetric Five-Segment Switching Scheme for AC Motor Drives. Energies 2021, 14, 1462. [Google Scholar] [CrossRef]
- Yilmaz, A.R.; Erkmen, B. FPGA-Based Space Vector PWM and Closed Loop Controllers Design for the Z Source Inverter. IEEE Access 2019, 7, 130865–130873. [Google Scholar] [CrossRef]
- Xie, Q.; Qiu, J. Current-Loop Bandwidth Extension for PMSM Servo System Based on SiC Inverter and FPGA. In Proceedings of the 2021 IEEE 4th Student Conference on Electric Machines and Systems (SCEMS), Huzhou, China, 1–3 December 2021; pp. 1–4. [Google Scholar] [CrossRef]
- Marufuzzaman, M.; Reaz, M.; Rahman, M.S.; Ali, M. FPGA implementation of an intelligent current dq PI controller for FOC PMSM drive. In Proceedings of the 2010 International Conference on Computer Applications and Industrial Electronics, Taichung, Taiwan, 15–17 June 2011. [Google Scholar]
- Rogers, P.; Kavasseri, R.; Smith, S.C. An FPGA-in-the-loop approach for HDL motor controller verification. In Proceedings of the 2017 International Conference on ReConFigurable Computing and FPGAs (ReConFig), Cancun, Mexico, 4–6 December 2017. [Google Scholar]
- Tufekci, B.; Onal, B.; Dere, H.; Ugurdag, H.F. Efficient FPGA Implementation of Field Oriented Control for 3-Phase Machine Drives. In Proceedings of the 2020 IEEE East-West Design & Test Symposium (EWDTS), Varna, Bulgaria, 4–7 September 2020; pp. 1–5. [Google Scholar] [CrossRef]
- Liu, Y.; Li, T.; Zhou, Z.; Xu, P. Design and implementation of an ASIC-based four-axis position servo system. In Proceedings of the 2008 International Conference on Electrical Machines and Systems, Wuhan, China, 17–20 October 2008. [Google Scholar]
- Pengfei, L.; Yuping, H.; Yanbo, W.; Qing, Z.; Zelin, Y. Design of Multi-axis Motion Control and Drive System Based on Internet. In Proceedings of the 2019 22nd International Conference on Electrical Machines and Systems (ICEMS), Harbin, China, 11–14 August 2019; pp. 1–6. [Google Scholar]
- Jin, F.; Wei, Q.; Hua, B.; Lu, D.; Bing, C. Using one FPGA to control two high-switching-frequency PMSM drive systems through a novel time-division multiplexing method. In Proceedings of the 2018 IEEE Applied Power Electronics Conference and Exposition (APEC), San Antonio, TX, USA, 4–8 March 2018. [Google Scholar]
- Lai, C.-K.; Chien, W.-N.; Tsao, Y.-T. An FPGA-Based Multiple-Axis Velocity Controller and Stepping Motors Drives Design. MATEC Web Conf. 2016, 71, 05002. [Google Scholar] [CrossRef]
- Gu, Q.; Li, Y.; Niu, P.; Sun, J. Optimized Design of SoC-based Control System for Multi-axis Drive. Elektron. Ir Elektrotechnika 2014, 20, 15–22. [Google Scholar] [CrossRef]
- Sun, Y.; Ming, Y.; Chen, Y.; He, W.; Xu, D. An SoC-based platform for integrated multi-axis motion control and motor drive. In Proceedings of the 2018 International Power Electronics Conference (IPEC-Niigata 2018-ECCE Asia), Niigata, Japan, 20–24 May 2018. [Google Scholar]
- Wu, W.; Su, D.; Yuan, B.; Li, Y. Intelligent Security Monitoring System Based on RISC-V SoC. Electronics 2021, 10, 1366. [Google Scholar] [CrossRef]
- Romero, J.; Cuevas, N.; Roa, E. Energy Efficient Peripheral System Buses for Low-Area Low-Power SoCApplications IEEET-ransactions on Circuits Systems, I.I. Express Briefs 2020, 67, 866–870. [Google Scholar]
- Mei, K.; Zhang, B.; Ge, C. A hierarchical and parallel SoC architecture for vision procesor. IEICE Electron. Express 2009, 6, 1380–1386. [Google Scholar] [CrossRef]
- Zheng, X.; Hu, X.; Zhang, J.; Yang, J.; Cai, S.; Xiong, X. An Efficient and Low-Power Design of the SM3 Hash Algorithm for IoT. Electronics 2019, 8, 1033. [Google Scholar] [CrossRef]
- Sahu, N.; Kumar, A.; Kandari, R. Design and Verification of APB IP Core using Different Verification Methodologies. In Proceedings of the 2022 International Conference on Breakthrough in Heuristics And Reciprocation of Advanced Technologies (BHARAT), Visakhapatnam, India, 7–8 April 2022; pp. 150–154. [Google Scholar]
- Aravind, M.; Bhattacharya, T. FPGA based Synchronized Sinusoidal Pulse Width Modulation with smooth transition into overmodulation and six step modes of operation for three phase AC motor drives. In Proceedings of the 2012 IEEE International Conference on Power Electronics, Drives and Energy Systems (PEDES), Bengaluru, India, 16–19 December 2012; pp. 1–6. [Google Scholar] [CrossRef]
- Jing, R.; Zhang, G.; Wang, G.; Bi, G.; Ding, D.; Xu, D. An Overmodulation Strategy Based on Voltage Vector Space Division for High-Speed Surface-Mounted PMSM Drives. IEEE Trans. Power Electron. 2022, 37, 15370–15381. [Google Scholar] [CrossRef]





















| Tx + Ty > 1 | Tx + Ty ≤ 1 | |||
|---|---|---|---|---|
| Tx ≥ Ty & Tx ≥ 1 | Ty ≥ Tx & Ty ≥ 1 | Tx < 1 & Ty < 1 | ||
| Dividend a1 | a1 = 1 | a1 = 0 | a1 = Tx | a1 = Tx |
| Divisor b1 | b1 = 1 | b1 = Tx | b1 = Tx + Ty | b1 = 1 |
| Dividend a2 | a2 = 0 | a2 = 1 | a2 = Ty | a2 = Ty |
| Divisor b2 | b2 = Ty | b2 = 1 | b2 = Tx + Ty | b2 = 1 |
| Resource Cost (Resource Percentage) | ||||
|---|---|---|---|---|
| LUT | FLIP-FLOP | RAM | DSP | |
| Coprocessor × 1 | 7074 (6.97%) | 6600 (13.17%) | 0 (0%) | 13 (61.9%) |
| PWM × 4 | 7316 (7.21%) | 4128 (8.24%) | 0 (0%) | 0 (0%) |
| Timer × 6 | 10,284 (10.13%) | 5820 (11.62%) | 0 (0%) | 0 (0%) |
| ADC × 2 | 1524 (1.50%) | 936 (1.87%) | 0 (0%) | 0 (0%) |
| CPU × 1 | 42,296 (41.66%) | 13,674 (27.29%) | 0 (0%) | 8 (38.1%) |
| DMA × 2 | 12,530 (12.34%) | 10,022 (20.00%) | 0 (0%) | 0 (0%) |
| AHB MATRIX × 1 | 2108 (2.08%) | 269 (0.54%) | 0 (0%) | 0 (0%) |
| Bus bridge × 2 | 1888 (1.86%) | 104 (0.21%) | 0 (0%) | 0 (0%) |
| GPIO × 6 | 3612 (3.56%) | 4482 (8.95%) | 0 (0%) | 0 (0%) |
| Other IP | 12,898 (12.70%) | 4067 (8.12%) | 33 (100%) | 0 (0%) |
| SoC | 101,530 (100%) | 50,102 (100%) | 33 (100%) | 21 (100%) |
| Number of Motors | Pure Software Solution (us) | Software and Hardware Cooperation Scheme (us) |
|---|---|---|
| 1 | 64.72 | 1.80 |
| 2 | 132.48 | 1.90 |
| 3 | 198.15 | 1.99 |
| 4 | 262.88 | 2.09 |
| 5 | 326.80 | 2.19 |
| 6 | 330.12 | 2.28 |
Disclaimer/Publisher’s Note: The statements, opinions and data contained in all publications are solely those of the individual author(s) and contributor(s) and not of MDPI and/or the editor(s). MDPI and/or the editor(s) disclaim responsibility for any injury to people or property resulting from any ideas, methods, instructions or products referred to in the content. |
© 2023 by the authors. Licensee MDPI, Basel, Switzerland. This article is an open access article distributed under the terms and conditions of the Creative Commons Attribution (CC BY) license (https://creativecommons.org/licenses/by/4.0/).
Share and Cite
Xin, J.; Cha, M.; Shi, L.; Jiang, X.; Long, C.; Lin, Q.; Li, H.; Wang, F.; Wang, P. Design and Implementation of an Efficient Hardware Coprocessor IP Core for Multi-axis Servo Control Based on Universal SoC. Electronics 2023, 12, 452. https://doi.org/10.3390/electronics12020452
Xin J, Cha M, Shi L, Jiang X, Long C, Lin Q, Li H, Wang F, Wang P. Design and Implementation of an Efficient Hardware Coprocessor IP Core for Multi-axis Servo Control Based on Universal SoC. Electronics. 2023; 12(2):452. https://doi.org/10.3390/electronics12020452
Chicago/Turabian StyleXin, Jitong, Meiyi Cha, Luojia Shi, Xiaoliang Jiang, Chunyu Long, Qichun Lin, Hairong Li, Fangcong Wang, and Peng Wang. 2023. "Design and Implementation of an Efficient Hardware Coprocessor IP Core for Multi-axis Servo Control Based on Universal SoC" Electronics 12, no. 2: 452. https://doi.org/10.3390/electronics12020452
APA StyleXin, J., Cha, M., Shi, L., Jiang, X., Long, C., Lin, Q., Li, H., Wang, F., & Wang, P. (2023). Design and Implementation of an Efficient Hardware Coprocessor IP Core for Multi-axis Servo Control Based on Universal SoC. Electronics, 12(2), 452. https://doi.org/10.3390/electronics12020452
