Abstract
This paper presents the design of the control of the system using a double DD coil structure. The double DD coil is a layered coil structure that consists of two single DD coils, rotated to each other by 90°. A large-signal and small-signal model of the proposed IPT system are designed for control synthesis. The small-signal model is derived from the large-signal using harmonic approximation and the extended describing functions (EDF). For the small-signal model, voltage and current control schemes were proposed for the purpose of wireless battery charging. The robustness of the control is tested on a small-scale IPT system using double DD coils and resistive load. The results are evaluated at different reference voltages, currents, loads and coupling coefficients.
1. Introduction
The interest in wireless energy transfer grows with the availability of battery-powered devices and the development of electric vehicles. Wireless power transfer is a safe alternative to classic wired charging. The most popular method of wireless energy transfer is wireless power transfer using magnetic induction, or inductive wireless power transfer (IPT) []. Inductive power transfer can be used to provide power to battery-powered devices of different sizes and power levels, from smartphones and medical devices to vehicles.
A typical IPT system consists of a transmitter and receiver coil, separated by an air gap, which can range from a couple of millimeters to a couple of decimeters. The system can have one or multiple wireless power transfer coils. The air gap depends on the application. The main disadvantage of the IPT is the lower efficiency of the system due to the small coupling coefficient between the transmitter and the receiver coil. Resonant inductive wireless power transfer was proposed to increase efficiency. The transmitter and the receiver coil resonate at a frequency that can range from a couple of tens of kilohertz to a couple of megahertz []. The megahertz region is especially interesting in the case of wireless power transfer across larger distances. Lower frequencies are paired up with short distances. The standard for electric vehicle charging proposes wireless charging at around 85 kHz []. The standard for low-power electronic device charging, Qi, defines a frequency range from 87 to 205 kHz [].
Other than research on increasing the IPT system efficiency, the focus is also on the development of the new coil structures as a replacement for classic square or circular planar coils. The new coil structures can help improve the system’s robustness and tolerance to misalignment between the transmitter and the receiver coil. One of such topologies is the DD (double D) coil structure, which generates a directional magnetic field and has a better misalignment tolerance compared to the coils that generate a nondirectional magnetic field [,]. A possible evolution of the DD coil structure is the double DD coil structure, which incorporates two DD coils on the same footprint []. The double DD coil has a symmetrical misalignment tolerance and enables higher power density compared to the single DD coil system.
This paper proposes a voltage and current control for the system using a double DD coil structure. The system using a double DD structure was further developed to allow control using phase-shifted PWM modulation. The large and small-signal models were derived from a T model of a simplified IPT system circuit, using harmonic approximation and fundamental harmonic analysis (FHA). The principle is similar to the control design of resonant power converters, such as LLC converters [,]. The development of a single-coil model was also proposed in [,,,,] using the same methods. The control of the proposed system using the double DD coil structure was tested with different linear controllers. Instead of the battery, the resistive load was used. The proposed voltage and current controller can be used for wireless charging of the batteries using coils with a double DD structure. The system configuration enables the system to transfer an additional 100% of power compared to the system using single DD coils when the inverter on the transmitter side is powered with the same DC voltage.
The paper is organized as follows. After the Introduction, Section 2 presents the equivalent circuit of the double DD coil system. The circuit voltage and current loop equations are described further in Section 3. The circuit equations are then used in the large and small-signal model derivations in Section 4, using harmonic approximation and approximation using extended harmonic functions. Section 5 presents the control schemes for the IPT system. The results and testing of the proposed IPT control schemes are presented in Section 6. Section 7 is a discussion of the results presented in Section 6. Finally, Section 8 serves as a Conclusion to the paper.
2. Equivalent Circuit of the Double DD Coil System
The DD coil was first described in []. It consists of two rectangular spiral D coils connected in series. The structure forms a bipolar coil structure with directional magnetic flux [,]. The directional magnetic flux enables better misalignment tolerance compared to the nonpolar coil structure []. However, the DD coil does not have symmetrical misalignment tolerance. It is more tolerant to misalignment in the direction perpendicular to the main magnetic flux. The misalignment in the direction of the magnetic flux is poor, even when compared to the misalignment tolerance of the nonpolar spiral coil usually used in IPT systems. To eliminate this problem, the receiver DD coil is usually paired up with an additional quadrature planar spiral coil, thus forming the DDQ system [].
Another possible evolution of the DD coil is the double DD coil structure, presented in Figure 1 and first described in []. Figure 1a presents the transmitter and receiver coil structures, using double DD coils. Figure 1b presents the fabricated double DD coil structure that can be used as a transmitter or a receiver coil.

Figure 1.
Double DD coil structure. (a) Double DD coil structure on the transmitter and the receiver side, (b) fabricated double DD coil.
The main advantage of the double DD coil structure is the inclusion of two DD coils on a single ferrite material. Each of the coils can separately wirelessly transfer power. The DD1 transmitter coil is magnetically coupled to the DD1 receiver coil via coupling coefficient k1. The DD2 transmitter coil is magnetically coupled to the DD1 receiver coil via coupling coefficient k2. If the coils are perfectly aligned, the coupling coefficients k1 and k2 have nearly the same value. DD1 coils and DD2. If there is no rotation between the transmitter and the receiver coil, the DD1 transmitter coil is not coupled to the DD2 receiver coil and the DD2 transmitter coil is not magnetically coupled to the DD1 receiver coil. The system can therefore independently transfer power using DD1 coils and using DD2 coils.
The double DD coil structure, integrated on a single, square ferrite plate, therefore, acts as a two-coil system. The IPT system using a double DD coil structure can therefore wirelessly transfer power at a higher density. This leads to faster charging times and, in this case, when maximum IPT output power is determined, less stress on the system. Each of the coils and their respective power converters are loaded with only half of the power, thus alleviating the current stress on the system. The converters can therefore be constructed for smaller currents. The system using a double DD coil structure can therefore be compared to the interleaved converter [,].
A system using a double DD coil structure can be considered a multi-coil system. Each of the two DD coils that compose the double DD coil structure can be excited using a separate excitation current. Therefore, there are two possibilities to drive the IPT system using a double DD coil structure. The first possibility is to drive the coil using a single-phase inverter. An IPT system uses a single-phase inverter to drive the double DD coil as described in []. Each of the two-transistor half-bridge legs is used to drive one of the DD coils.
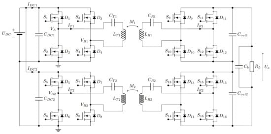
The other converter structure that can be used to drive the double DD coil structure is the converter structure using two single-phase inverters, which was also used in this paper. The system structure is presented in Figure 2. The primary side of the IPT system consists of two high-frequency full-bridge inverters. Each of the inverters drives its separate DD coil with a series compensation capacitor. The first DD coil with inductance LT1 and compensation capacitor CT1 is excited with current IT1, and the second DD coil with inductance LT2 and compensation capacitor CT2 is excited using current IT2. The secondary side of the IPT system consists of two receivers DD coils with inductances LR1 and LR2 and their respective compensation capacitors CR1 and CR2, connected to two synchronous rectifiers. The rectifiers can be used to drive two separate loads or one load RL, as is presented in Figure 2.

Figure 2.
The IPT inverter structure using a double DD coil structure.
In the previously mentioned transmitter and receiver pad configuration, the DD1 transmitter coil is coupled magnetically with coupling coefficient k1 to the DD1 receiver coil, and the DD2 transmitter coil is coupled magnetically with coupling coefficient k2 to the DD2 receiver coil. The coupling coefficient between the DD1 transmitter and DD2 receiver coil is negligible, and the same is true for the coupling coefficient between the DD2 transmitter and DD1 receiver coil. The inverter structure enables power transfer at two different frequencies. The resonant frequency of the first IPT and the second IPT circuit is defined using the following:
where ωs1 is the switching frequency of the first IPT circuit, and ωs2 is the switching frequency of the second IPT circuit. The frequencies ωs1 and ωs2 can be different or the same. In the case of the IPT system described in this paper, both frequencies are the same.
Both high-frequency inverters are powered up by the same DC voltage source with voltage UDC. The main objective of the DD system control is the control of output voltage Uo. As stated before, the IPT system using double DD coils can drive one or two separate loads. In the case of two loads, the rectifiers are not connected in series to the same load. Each of the rectifiers can have a different load. This enables the control of two different output voltages. A system using a double load configuration can be used, for instance, to charge a battery divided into two parts, which could increase the speed of battery charging and reduce the stress on the battery. As is shown in Figure 2, the IPT system described in this paper drives only one load with resistance RL and capacitance Cb. The load represents a battery where the resistance changes based on the charging profile. The output configuration enables a higher output voltage by connecting the rectifiers in series.
The inverter output waveforms are presented in Figure 3. The top graph presents the output waveforms of the first inverter, driving the DD1 transmitter coil. The square voltage of the high-frequency inverter VA1–VB1 is marked with a red line; the first harmonic component of the voltage u1 is marked with a dashed red line, and the input excitation current IT1 is marked with a purple line. The bottom graph presents the output waveforms of the second inverter, driving the DD2 transmitter coil. The square voltage of the second high-frequency inverter VA2–VB2 is marked with a blue line; the first harmonic component of the voltage u2 is marked with a dashed blue line, and the input excitation current IT2 is marked with a green line. The phase shift between the waveforms for each of the DD coils in a double DD coil structure is 90°, thus reducing the voltage ripple on the DC voltage bus of the inverters. An ideal inverter supplies the DC voltage and current. The AC component, or so-called current ripple, is supplied from the DC link capacitor. The smaller DC link capacitor can be used by reducing the DC current ripple.

Figure 3.
High-frequency inverter waveforms for excitation of DD1 and DD2 coils in a double DD transmitter coil structure.
3. IPT System Circuit Analysis
The circuit of the proposed IPT system can be divided into two simplified resonant circuits, one for each of the DD coils. The circuits have the same structure; however, the parameters are different. In the following equations, the element and electrical values are additionally marked with the parameter i. The parameter i is a generic stand-in for the values of the specific resonant circuit. In the case of the DD1 coil resonant circuit, i is 1, and in the case of the DD2 coil resonant circuit, i is 2.
The coupled DD coils that present the center of the resonant structure can be presented using an equivalent T circuit model. The equivalent circuit models are presented in Figure 4. The air transformer, formed by self-inductance LTi and LRi is presented in Figure 4a. The coupling coefficient between the transmitter and the receiver coil is denoted with ki. An equivalent circuit model using a T-model transformer is presented in Figure 4b. The circuit includes new inductances on the primary and secondary sides, marked with L1i and L2i. The coupling coefficient between the transmitter and the receiver coil is included in the value of the mutual inductance parameter LMi.

Figure 4.
Equivalent model of the IPT coil. (a) Loosely coupled air transformer model. (b) Equivalent T model of an air transformer model.
The conversion between the air transformer model and the equivalent T-circuit transformer model can be described by the following equations:
where LMi is the mutual inductance between the transmitter and receiver coils with the self-inductances LTi and LRi. The inductance L1i is the equivalent T-circuit model primary inductance, and L2i is the equivalent T-circuit model secondary inductance. In all equations, i = 1 in the case of the DD1-resonant circuit, and i = 2 in the case of the DD2 resonant circuit.
The T transformer circuit model can be used to replace the air transformer in the IPT inverter structure presented in Figure 2. The resonant circuit can, therefore, be represented using the simplified circuit in Figure 5. The circuit is presented in two parts. The first part is the resonant circuit on the left, and the second part is the rectifier with a filtering capacitor on the right. The resonant circuit is excited using the phase-shifted square voltage uAi. The coils, with their respective compensation capacitors, form a band pass filter with the same resonant frequency as the IPT system. The input current iTi is therefore sinusoidal. The square voltage source uBi represents the output voltage of the rectifier. The amplitude of the square voltage also reflects the load RLi. The rectifier is represented by the current source ireci, which supplies power to the filtering capacitor Cfi and the load RLi. The rectifier current ireci is connected to the receiver coil current iRi.

Figure 5.
Simplified resonant circuit using the equivalent T model.
The circuit in Figure 5 can be described using the voltage loop equations. The primary circuit can be described with the following:
where uAi is the input voltage, generated using the high-frequency inverter, iTi is the primary current, RTi is the resistance of the primary circuit, uCTi is the primary capacitor voltage, L1i is the primary inductance, LMi is the mutual inductance and iRi is the secondary current. The capacitor voltage uCTi can be described with the following:
where CTi is the capacitance of the primary compensation capacitor.
The secondary voltage loop can be described using the following equation:
where RRi is the resistance of the secondary circuit, uCRi is the secondary compensation capacitor voltage, L2i is the secondary inductance, and uBi is the resonant circuit output voltage. The capacitor voltage can be described with the following:
where CRi is the capacitance of the secondary compensation capacitor. The equivalent rectifier circuit with load can be described with the following:
where ireci is the rectifier input current, Cfi is the rectifier filtering capacitor and RLi is the resistance of the rectifier load, and uoi is the output voltage of the rectifier.
The Equations (6) and (8) can be joined into the following two equations, describing the primary and the secondary currents as follows:
where Leq1i, Leq2i and Leqmi are the equivalent inductances, calculated using the following:
where LTi is the transmitter coil self-inductance, LRi is the receiver coil self-inductance and LMi is the mutual inductance between the transmitter and the receiver coil.
The capacitor voltage Equations (7) and (9) can be presented in the form of the following:
The current ireci, used in Equation (10), is a rectified secondary current iRi. Therefore, the connection between the rectifier current ireci can be defined with the following:
Using an absolute secondary current value, the Equation (10) can be rewritten as follows:
The circuit Equations (11), (12), (16), (17) and (19) can be used to derive the small-signal model of the IPT circuit, which can then be used in the synthesis of the voltage regulator. The small-signal model of the circuit can be derived using harmonic approximation. The non-linear, non-sinusoidal signal components can be approximated using extended describing functions (EDF).
4. Derivation of the Small-Signal IPT Model
The small-signal part of the IPT model is derived by linearizing the large-signal IPT model at the chosen operating point, which is set during the design process. The large-signal model is derived from the circuit equations described in the previous section, using harmonic approximation and extended describing functions [,,,].
4.1. Harmonic Approximation
Under the condition of the resonance, the currents and voltages in an IPT circuit are sinusoidal. Therefore, the circuit can be studied using harmonic approximation. The currents and voltages are assumed to be the sum of the sinus and cosine terms, defined with the following:
where x is the electric quantity—either a current or voltage, xs is the amplitude of the sinusoidal component and xc is the amplitude of the cosine component. Some electric quantities have only sine and some only cosine components.
The derivative of Equation (20) is as follows:
where ωs is the angular switching frequency of the inverter. The harmonic approximation is used only to describe the envelope of the sinusoidal current and voltages of the IPT system. Not every voltage or current can be analyzed using harmonic approximation. The square voltages uAi and uBi and the rectified current ireci can be described using the extended describing functions.
4.2. Extended Describing Functions
The high-frequency inverter drives the transmitter coils using square voltage. Only the first harmonic component of the inverter voltage can be used due to the low-pass filter properties of the resonator circuit. The first harmonic component of the inverter voltage can be described using the following:
where UDC is the DC voltage at the input of the inverter, ϕi is the phase shift between the bridge inverter legs and UAi is the amplitude of the first harmonic component of the inverter. Phase shift ϕi can be any value between 0 and 1. Using a phase shift between the bridge inverter legs, the high frequency can change the first harmonic component of the high-frequency inverter without the need to change the voltage UDC at the input of the inverter.
The voltage uBi at the output of the inverter, on the other hand, has sine and cosine components of the secondary current iRi. The first harmonic of the square voltage with the amplitude of uoi can therefore be described using the following:
where uoi is the voltage at the output of the rectifier, iRsi and iRci are the sine and cosine components of the secondary current iRi. The secondary current IRi can be calculated using the following:
The extended describing function of the rectifier can be calculated using the following:
4.3. Large-Signal Circuit Model
Using harmonic approximation and extended describing function, Equations (11), (12), (16), (17) and (19) can be used to drive the large circuit model. Sinusoidal currents and voltages can be approximated using harmonic approximation and square voltage waveforms can be approximated using extended describing functions. The equations can be divided into equations with sine terms, equations with cosine terms and DC terms. The sine terms are the following:
The cosine terms are the following:
Finally, the DC term for describing the full-bridge rectifier can be described with the following:
The large-signal model can be divided into a stationary state and a small-signal model. The model can be converted to a state-space model. The state space variables of the system are as follows:
The state space variables (35) can therefore be described with the following:
where xi is the state space variable, Xi is the stationary state of the state space variable and is the small-signal perturbation of the state-space variable.
Stationary state-space variables can be used to linearize the small-signal model of the IPT system. The equation describing the stationary state can be derived from the large-signal model by equating all variable quantities with zero. The stationary state of the IPT system can be described as follows:
where Bsti is the stationary input vector, Asti is the stationary state matrix and Xsti is the stationary state vector. The stationary vectors and matrix can are defined as follows:
where Ωs is the angular switching frequency and Rei is the equivalent reflected load RLi using a full-bridge rectifier, and can be calculated using the following:
The stationary states are defined by the IPT system parameters, operating frequency and input voltage. The amplitude of the input voltage depends on input voltage UDC, and phase shift between the high-frequency inverter legs as follows:
The secondary current can be calculated using the following:
and the stationary state of the output voltage is calculated using the following:
4.4. Small-Signal Circuit Model
The small-signal model of the circuit is derived from the large-signal model, by using small-signal perturbation of the state space variables. The matrix form of the small-signal model takes the form as follows:
where is the vector of the small-signal state variables, Ai is the small-signal state matrix, Bi is the small-signal input matrix, is the small-signal model output and is the small-signal input vector. The input vector includes three variables—the small-signal perturbation of phase angle , small-signal perturbation of the inverter input voltage UDC and small-signal perturbation of the switching frequency ωs as follows:
The large-signal model defined by Equations (26)–(34) includes nonlinear terms, which need to be linearized at the operating point using the Taylor series. The Taylor expansion of the first harmonic component of the inverter voltage is as follows []:
Unlike the input voltage, the square voltage at the output of the secondary side of the IPT includes sine and cosine components. Therefore, the sine and cosine components are []:
Finally, the absolute value of the rectifier current takes form as follows []:
The next step of small-signal model derivation is to replace the nonlinear terms in the large-signal model with linearized terms. The state and input matrices and output vector; therefore, take the form as follows:
The output Ci matrix is dependent on the controlled output value. In the case of the output voltage control, the Ci matrix takes the form as the vector (54). In the case of the output current control, the Ci matrix taxes form as a vector (55).
where parameters K1,i to K19,i are defined as follows:
5. Control Synthesis
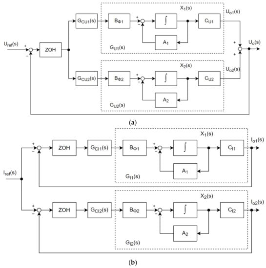
The main objective of the controller is to control the output voltage of the IPT system using a double DD coil structure. The system is configured in a single-load configuration. Therefore, the reference for the output voltage is derived from a single output measurement. From the small-signal model of the converter, it can be concluded that the output voltage of the system can be controlled using three different input variables—phase shift ϕ between the inverter legs, the input voltage UDC and the inverter switching frequency ωs. The full-bridge transistor inverter can be used for voltage control at a fixed input voltage. The first harmonic component of the inverter can be varied using the phase shift between the transistor legs. Therefore, there is no need for frequency or input voltage control. For the synthesis of the control, a previously derived mathematical model was used. The parameters of the model were similar to the parameters of the experimental system, the control was later tested. The figures and diagrams presented in this chapter represent the results obtained from the mathematical model.
The control scheme of the system is presented in Figure 6. Figure 6a presents the voltage control and Figure 6b presents the current control block diagram. The transfer functions GU1(s) and GU2(s) are voltage transfer functions of each resonant circuit, GCU1(s) and GCU2(s) are the voltage controllers and ZOH is the sampling circuit or the zero-order holder circuit. Uref(s) is the voltage reference value. The transfer functions GI1(s) and GI2(s) are the current transfer functions of each resonant circuit, GCI1(s) and GCI2(s) are the current controllers and ZOH is the sampling circuit or the zero-order holder circuit. Iref(s) is the current reference value.
where GZOH(s) is the transfer function of the zero-order holder and Ts is the sampling time of the microcontroller, which measures the output voltage.

Figure 6.
A block diagram of the controlled IPT system using double DD coils. (a) output voltage control, (b) output current control.
Operating Point
The operating point of the inverter is usually determined by the requirements of the system. A small-scale model of the IPT system using double DD coils was built in the case of this paper. Therefore, the parameters were chosen based on the components used in the model. The switching frequency was chosen to be between 80 kHz and 90 kHz, which is the frequency range used in the IPT systems for vehicular applications, according to the standard SAE J2954 []. More specifically, the circuit operates at an 86 kHz switching frequency, above the resonant frequency of the resonant circuit. The system parameters are presented in Table 1.

Table 1.
Double DD coil IPT systems‘ parameters.
The operating point of the system was defined by the input voltage, switching frequency, coupling coefficient and load. The operating point also defines the gain of the IPT circuit. The voltage at the output of the system is defined using the following:
where Uo is the output voltage on the load, Uo1 is the output voltage of the first, DD1 rectifier, and Uo2 is the output voltage of the second, DD2 rectifier. Due to the series connection between the two rectifiers, the current Io1 and Io2, during the current control, must be the same as follows:
The operating point of the IPT system using the double DD coil structure is defined using the parameters presented in Table 2. The operating point is used to calculate the stationary state of the high-frequency inverter. The stationary states are used to calculate the small-signal system matrix. The operating parameters also impact the output voltage of the rectifiers. The results are presented in Figure 7. Figure 7a presents the gain of the DD1 part of the IPT system, and the gain of the DD2 part of the IPT system is presented in Figure 7b. Due to the differences between the DD1 and DD2 parts of the IPT systems, the gain of the parts is also different, which is especially noticeable at the small coupling coefficients and large phase shift angles. At larger coupling coefficients, the DD1 and DD2 parts of the IPT system have almost the same voltage gain.

Table 2.
Operating point of the double DD coil system.

Figure 7.
Gain of the IPT converter under different operating conditions. (a) DD1 part of the IPT system, (b) DD2 part of the IPT system.
The stationary values of voltages and currents can be calculated from the defined operating point using the stationary state matrix. The results are presented in Table 3. Due to the difference between the DD1 and DD2 circuit parameters, the stationary voltages and currents differ from one another. The variation has little to no effect on the dynamic performance of the system.

Table 3.
Operating point of the double DD coil system.
The voltage transfer function of the DD1 and DD2 parts of the IPT system using a double DD coil structure can be described using Equation (80). Index i in GUi stands for 1 in the case of the DD1 part and 2 in the case of the DD2 part. The coefficients of the transfer functions are written in Table 4.

Table 4.
Transfer function coefficients for the DD1 and DD2 voltage transfer functions.
The current transfer function of the DD1 and DD2 parts of the IPT system using a double DD coil structure can be described using Equation (77). Index i in GIi stands for 1 in the case of the DD1 part and 2 in the case of the DD2 part. The coefficients of the transfer functions are written in Table 5.

Table 5.
Transfer function coefficients for the DD1 and DD2 current transfer functions.
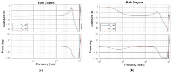
A Bode plot of the open-loop circuit is presented in Figure 8. Figure 8a presents the bode plot of the voltage transfer function, and Figure 8b presents the bode plot of the current transfer function. The line represents the response of the DD1 part of the system, and the red line represents the DD2 part of the system. Due to the different parameters presented in Table 4 and Table 5, the response of the DD1 part of the system differs from the response of the DD2 part of the system.

Figure 8.
Open loop bode plot of the IPT system using double DD coils. (a) voltage transfer function, (b) current transfer function.
Due to the similarity in parameters, both the DD1 and DD2 parts of the IPT system behave nearly the same. For the sake of simplicity, both the DD1 and DD2 parts of the system have the same voltage controller parameters. Three different controllers were tested for the output voltage system control. The first one was a proportional P controller with Equation (82). The second one was an integral I controller with Equation (83). The third and last one was a proportional-integral PI controller, described with Equation (84).
The closed-loop response of the system using three different voltage controllers is presented in Figure 9. Similar to the open-loop response, the blue line marks the closed-loop response of the DD1 part GU1(s) and the orange line marks the closed-loop response of the DD2 part GU2(s). Because both parts of the IPT system with a double DD coil structure use the same controller, the responses are almost identical, with a small variation due to the variation of the system parameters. Figure 9a presents the closed-loop response of the DD1 and DD2 parts with the proportional P controller, Figure 9b presents the closed-loop response of the DD1 and DD2 parts with the integral I controller and Figure 9c presents the closed-loop response of the DD1 and DD2 parts with the proportional-integral PI controller. In all three cases, the controller for the system was designed with minimal output voltage overshoot.

Figure 9.
Closed-loop Bode plot of the IPT system using double DD coils and a voltage controller. (a) P controller, (b) I controller, (c) PI controller.
In the case of the PI controller, the phase margin of the DD1 part of the IPT system was 74° and the gain margin of the system was 62.9 dB. The phase margin of the DD2 part of the IPT system was 74.5°and the gain margin was 70.4 dB.
In the case of the I controller, the phase margin of the DD1 part of the IPT system was 37° and the gain margin of the system was 75 dB. The phase margin of the DD2 part of the IPT system was 36.8°and the gain margin was 71.6 dB.
Due to the similarity in parameters of the current transfer function, both the DD1 and DD2 parts of the IPT system behave nearly the same. For the sake of simplicity, both the DD1 and DD2 parts of the system have the same current controller parameters, as was the case with IPT system voltage control. Two different controllers were tested. The first one was a proportional P controller with Equation (85). The second one was an integral I controller with Equation (86).
The closed-loop response of the system using two different current controllers is presented in Figure 10. Similar to the open-loop response, the blue line marks the closed-loop response of the DD1 part GI1(s) and the orange line marks the closed-loop response of the DD2 part GI2(s). Because both parts of the IPT system with a double DD coil structure use the same controller, the responses are almost identical, with a small variation due to the variation of the system parameters. Figure 10a presents the closed-loop response of the DD1 and DD2 parts with the proportional P controller, and Figure 10b presents the closed-loop response of the DD1 and DD2 parts with the integral PI controller.

Figure 10.
Closed-loop Bode plot of the IPT system using double DD coils and a current controller. (a) P controller, (b) PI controller.
6. The System Control Results
This section presents the results of the double DD coil structure IPT control using the previously described controller. The results include the reference voltage tracking, reference tracking under different loading conditions and the impact of the coupling coefficient change on the measurement of the output voltage. All of the following figures in this chapter present the results of the controlled values at the output of the experimental system, used to evaluate the proposed control scheme.
The results of the system control using only the phase shift angle of the inverter are presented in Figure 11. Figure 11a presents the impact of the phase shift ϕ1 on the voltage output of the first rectifier, and Figure 10b presents the impact of the phase shift ϕ2 on the output voltage of the second rectifier. The blue line represents the phase angle, and the red line represents the output voltage at the end of one of the rectifiers. The output voltage lags the reference change due to a slower communication speed between the control application and the system. The output voltage is also non-linearly dependent on the phase shift between the inverter legs.

Figure 11.
System step response to change of phase shift. (a) DD1 part of the IPT system, (b) DD2 part of the IPT system.
The voltage control results are presented in Figure 12a–c. Figure 12a presents the response of the system with a proportional P controller. The reference signal is marked with the blue line, and the output voltage is marked with the red line. Figure 12b presents the response of the system with the integral I controller. The reference signal is marked with the blue line and the output voltage is marked with the red line. Lastly, Figure 12c presents the response of the system using a PI controller. The reference signal is marked with the blue line and the output voltage is marked with the red line.

Figure 12.
Output voltage control: (a) using P controller, (b) using I controller, (c) using PI controller.
The reference voltage was changed using the control interface via a virtual COM port. Therefore, the system exhibits a small delay between the reference change and the change of the output voltage. The output voltage reference was changed in steps, from 4 V to a maximum of 36 V. The maximum possible voltage at the output of the IPT system was 40 V.
The performance of the different controller structures is presented in Table 6. The biggest difference was between the P and the other two controllers. The P controller had a rise time similar to the I and PI controllers but did not eliminate the static error. The static error of the system, controlled by the P controller, was 3.17 V. An integral part of the controller eliminates the static error between the reference and the measured voltage values. Rise time is dependent on the operating point of the inverter, due to the nonlinearity of the system. At nominal load, the rise and fall times were around 110 ms, which is larger compared to the step voltage change in reference [], where the rise and fall times were around 16 ms. The control of the IPT system was designed with the highest possible rise time without voltage overshoot.

Table 6.
Performance evaluation of different controllers, when changing the reference value Uref from 16 V to 36 V.
Figure 13 presents the IPT system response at different loading conditions. The step voltage change was performed with three different loads. The blue line represents the voltage reference, the red line represents the output voltage when the rectifier load was 5.35 Ω, the yellow line represents the output voltage at 10.7 Ω load and the purple line represents the output voltage at 21.4 Ω load.

Figure 13.
Output voltage control with different rectifier loads.
The difference between the responses is mainly in the rise times. Additionally, at loads with smaller resistances, the maximum output voltage of the system decreased. The IPT system had the fastest step response at higher load resistance and slower at lower load resistance. Similar to the previous case, the static error between the reference voltage and the measurement voltage was eliminated using the integral controller. The rise time in the case of a 5.35 Ω load was 45 ms, at 10.7 Ω was 33 ms and at 21.4 Ω was 22 ms. The control evaluation is presented in Table 7.

Table 7.
Performance evaluation of IPT system under different loading, when changing the reference value Uref from 4 V to 8 V.
The impact of the coupling coefficient change on the output voltage is presented in Figure 14. Figure 14a presents voltage control in the case of horizontal misalignment and movement, and Figure 14b presents voltage control in the case of distance change. Due to the change in coupling coefficient, the gain of the circuit also changes, which is also reflected in the output voltage. The controller enables voltage correction.

Figure 14.
Closed-loop controller response to change in mutual inductance. (a) Horizontal movement and misalignment, (b) vertical movement between 15 mm and 30 mm.
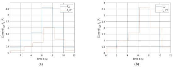
The step response of the system with a current controller is presented in Figure 15. Figure 15a presents the step response of the system with the P-current controller, and Figure 15b presents the response of the system with the PI controller. In the case of the P controller, the system had faster response times than in the case of the PI controller. On the other hand, the P controller had a large static error. The performance and evaluation of the two different controllers are presented in Table 8 when the reference signal was changed from 1.6 A to 3.6 A. There is a slight delay between the change in reference and the change in the output signal due to the communication delay between the IPT system and the control application.

Figure 15.
Closed-loop controller response to change in mutual inductance. (a) Horizontal movement and misalignment, (b) vertical movement between 15 mm and 30 mm.

Table 8.
Performance evaluation of different controllers, when changing the reference value Iref from 1.6 A to 3.6 A.
The results of the change in the output resistance are presented in Figure 16. The system was using the PI controller. The blue line presents the reference current, the orange line presents the output current, and the yellow signal presents the input DC current. The input DC current signifies the load change. When the current increases, the load is reduced; when the current decreases, the load is increased. To reduce the value of the load, the resistor at the end of the converter was short-circuited. Due to the change in the load, the current also changes. This results in overshoots and undershoots present on the orange line. The PI controller quickly regulates the output current and eliminates the static error. The maximum and minimum values of the undershoots and overshoots were less than 0.5 A. The short circuit presents the most drastic change in the output load. In the case of the battery charging, when the resistance of the battery is changing slowly, there would not be overshoots. Therefore, the PI current controller can be used to control the system using double DD coils.

Figure 16.
Output voltage control with different rectifier loads.
7. Discussion
All control tests were performed with a controller that had constant parameters. Due to the nonlinearity of the IPT system using a double DD coil structure, the step responses to reference value change had different rise and fall times, which is especially noticeable in Figure 10. To ensure a constant rise and fall time, the parameters of the controller should be non-linear and dependent on the operating point at which the system operates. Some of the operating conditions can be measured, for instance, the phase-shift of the high-frequency inverter and input voltage. On the other hand, the coupling coefficient between the transmitter and the receiver coil is not that easy to measure. The coupling coefficient could be determined by additional measurements or state observers. By determining the operating point, the gain of the controller could be adjusted to ensure similar performance.
A difference in step response performance is also evident from the comparison of the IPT systems with different loads. In the case of lower output resistance, the output voltage was also lower. Therefore, the system requires a larger phase-shift change compared to the phase-shift required for the same voltage increase in the case of the load with a larger value. Therefore, the load is also one of the factors determining the operating point of the IPT system.
In the case that the double DD transfer pads are perfectly aligned, the coupling coefficient between the transmitter DD1 and receiver DD1 coil is the same as the coupling coefficient between the transmitter DD2 and receiver DD2 coil. If that is the case, the controller for the DD1 part of the IPT system can be the same as the controller for the DD2 part. This simplifies the controller design.
In the future, a different controller can be implemented on the system to ensure constant rise and fall times, regardless of the operating point the system is in. The main advantage of the system using a double DD coil structure is that it allows a higher power density of the wireless power transfer compared to the conventional, single-core wireless power transfer. Additionally, the current through one transmitter and a receiver coil can be distributed between two transmitters and receiver coil. The IPT system can also be used as a redundant system. In case one of the separated DD parts fails, the other part can still transfer the energy, with a lower power transfer capability. The main limitation of the proposed modeling and control schemes is that the DD1 transmitter and DD2 receiver and DD2 transmitter and DD1 receiver coil must be uncoupled. This means that the rotation between the transmitter’s double DD coil and the receiver DD coil must be zero. If the rotation is not zero, the system cannot be decomposed into DD1 and DD2 resonant structures. This would increase the complexity of the control.
8. Conclusions
This paper presents the control of an IPT system using a double DD coil structure. The DD coil structure enables wireless power transfer using two separate DD coils and can be considered as an IPT system with two separate transmitter and receiver coils in the case that there is no rotation between the transmitter and receiver coil. The IPT system using a double DD coil structure can, therefore, be and was analyzed as two separate IPT systems with a single transmitter and a single receiver coil. At the output, the proposed IPT system can generate two different voltages, which can be used to drive a single or double load. In the case of this paper, the rectifiers were connected in series, which was used to drive a single load. The small-signal model was derived from a large signal model using harmonic approximation and extended describing functions. The large-signal model was linearized at the operating point, which was determined by the parameters of the small-scale testing system. The designed control was verified with measurements on the IPT test system, with different reference voltages, different loads and different coupling coefficients.
Author Contributions
N.P. developed, analyzed and practically implemented the proposed control of the system using double coils, M.T. supervised the development of the system and helped with the writing of the paper, J.D. helped with the circuit design and programming. All authors have read and agreed to the published version of the manuscript.
Funding
Research was funded by the Slovenian Research Agency (ARRS) (Research Core Funding No. P2-0028).
Data Availability Statement
Data are contained within the article at hand.
Conflicts of Interest
The authors declare no conflict of interest.
References
- Zhang, Z.; Pang, H.; Georgiadis, A.; Cecati, C. Wireless Power Transfer—An Overview. IEEE Trans. Ind. Electron. 2018, 66, 1044–1058. [Google Scholar] [CrossRef]
- Shevchenko, V.; Husev, O.; Strzelecki, R.; Pakhaliuk, B.; Poliakov, N.; Strzelecka, N. Compensation Topologies in IPT Systems: Standards, Requirements, Classification, Analysis, Comparison and Application. IEEE Access 2019, 7, 120559–120580. [Google Scholar] [CrossRef]
- SAE International J2954 Taskforce about Wireless Power Transfer for Light-Duty Plug-in/Electric Vehicles and Alignment Methodology. Available online: https://www.sae.org/standards/content/j2954_202010/ (accessed on 28 January 2022).
- Wireless Power Consortium Qi Specifications Introduction. Available online: https://www.wirelesspowerconsortium.com/knowledge-base/specifications/download-the-qi-specifications.html (accessed on 28 January 2022).
- Budhia, M.; Boys, J.T.; Covic, G.A.; Huang, C. Development of a Single-Sided Flux Magnetic Coupler for Electric Vehicle IPT Charging Systems. IEEE Trans. Ind. Electron. 2013, 60, 318–328. [Google Scholar] [CrossRef]
- Budhia, M.; Covic, G.; Boys, J. A new IPT magnetic coupler for electric vehicle charging systems. In Proceedings of the IECON 2010—36th Annual Conference on IEEE Industrial Electronics Society, Glendale, AZ, USA, 7–10 November 2010; pp. 2487–2492. [Google Scholar]
- Prosen, N.; Domajnko, J.; Milanovič, M. Wireless Power Transfer Using Double DD Coils. Electronics 2021, 10, 2528. [Google Scholar] [CrossRef]
- Cittanti, D.; Gregorio, M.; Armando, E.; Bojoi, R. Digital Multi-Loop Control of an LLC Resonant Converter for Electric Vehicle DC Fast Charging. In Proceedings of the 2020 IEEE Energy Conversion Congress and Exposition (ECCE), Detroit, MI, USA, 11–15 October 2020. [Google Scholar] [CrossRef]
- Fang, Z.; Wang, J.; Duan, S.; Xiao, L.; Hu, G.; Liu, Q. Rectifier Current Control for an LLC Resonant Converter Based on a Simplified Linearized Model. Energies 2018, 11, 579. [Google Scholar] [CrossRef] [Green Version]
- Li, H.; Wang, K.; Huang, L.; Chen, W.; Yang, X. Dynamic Modeling Based on Coupled Modes for Wireless Power Transfer Systems. IEEE Trans. Power Electron. 2015, 30, 6245–6253. [Google Scholar] [CrossRef]
- Zahid, Z.U.; Dalala, Z.; Lai, J.-S.J. Small-signal modeling of series-series compensated induction power transfer system. In Proceedings of the 2014 IEEE Applied Power Electronics Conference and Exposition—APEC, Fort Worth, TX, USA, 16–20 March 2014. [Google Scholar] [CrossRef]
- Zahid, Z.U.; Dalala, Z.M.; Cong, Z.; Rui, C.; Faraci, W.E.; Lai, J.-S.J.; Anderson, D. Modeling and Control of Series–Series Compensated Inductive Power Transfer System. IEEE J. Emerg. Sel. Top. Power Electron. 2015, 3, 111–123. [Google Scholar] [CrossRef]
- Aditya, K.; Williamson, S. Linearization and Control of Series-Series Compensated Inductive Power Transfer System Based on Extended Describing Function Concept. Energies 2016, 9, 962. [Google Scholar] [CrossRef] [Green Version]
- Lassioui, A.; EL Fadil, H.; Rachid, A.; Bouanou, T.; Giri, F. Adaptive Output Feedback Nonlinear Control of a Wireless Power Transfer Charger for Battery Electric Vehicle. J. Control. Autom. Electr. Syst. 2021, 32, 492–506. [Google Scholar] [CrossRef]
- Li, Y.; Hu, J.; Tianren, L.; Li, X.; Chen, F.; He, Z.; Mai, R.K. A New Coil Structure and Its Optimization Design with Constant Output Voltage and Constant Output Current for Electric Vehicle Dynamic Wireless Charging. IEEE Trans. Ind. Inform. 2019, 15, 5244–5256. [Google Scholar] [CrossRef]
- Song, K.; Yang, G.; Guo, Y.; Lan, Y.; Dong, S.; Jiang, J.; Zhu, C. Design of DD Coil with High Misalignment Tolerance and Low EMF Emissions for Wireless Electric Vehicle Charging Systems. IEEE Trans. Power Electron. 2020, 35, 9034–9045. [Google Scholar] [CrossRef]
- Chang, Y.; Cheng, H.; Yen, H.; Chang, C.; Huang, W. An Interleaved DC/DC Converter with Soft-switching Characteristic and high Step-up Ratio. Appl. Sci. 2020, 10, 2167. [Google Scholar] [CrossRef] [Green Version]
- Hegazy, O.; Mierlo, J.V.; Lataire, P. Analysis, Modeling, and Implementation of a Multidevice Interleaved DC/DC Converter for Fuel Cell Hybrid Electric Vehicles. IEEE Trans. Power Electron. 2012, 27, 4445–4458. [Google Scholar] [CrossRef]
Publisher’s Note: MDPI stays neutral with regard to jurisdictional claims in published maps and institutional affiliations. |
© 2022 by the authors. Licensee MDPI, Basel, Switzerland. This article is an open access article distributed under the terms and conditions of the Creative Commons Attribution (CC BY) license (https://creativecommons.org/licenses/by/4.0/).