A Novel Zero Watermarking Based on DT-CWT and Quaternion for HDR Image
Abstract
1. Introduction
- A novel robust DT-CWT-, QFFT-, and QSVD-based zero-watermarking method for the HDR image is presented.
- Since the contour of the HDR image has not changed much after TM operation, DT-CWT is used to extract the contour information.
- Three color channels of the HDR image are considered as a whole to be transformed by using QFFT and QSVD for extracting robust image features.
2. Preliminary
2.1. Dual Tree Complex Wavelet Transform (DT-CWT)
2.2. Quaternion Fast Fourier Transform (QFFT)
2.3. Quaternion Singular Value Decomposition (QSVD)
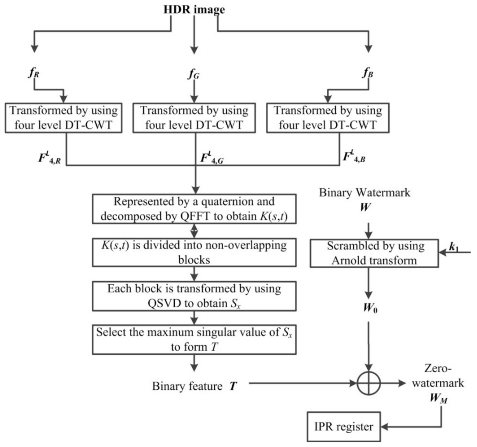
3. Proposed HDR Image Zero Watermarking
3.1. Construction of Zero Watermark
3.2. Verification of Zero Watermark
4. Experimental Results and Discussions
4.1. Zero-Watermark Uniqueness
4.2. Robustness of Zero Watermarking
4.2.1. Robustness on TM Attack
4.2.2. Robustness on Common Image Processing
4.3. Robustness Comparisons
5. Conclusions
Author Contributions
Funding
Institutional Review Board Statement
Informed Consent Statement
Acknowledgments
Conflicts of Interest
References
- Liu, Z.; Lin, W.; Li, X.; Rao, Q.; Jiang, T.; Han, M.; Liu, S. ADNet: Attention-guided deformable convolutional network for high dynamic range imaging. In Proceedings of the IEEE/CVF Conference on Computer Vision and Pattern Recognition, Nashville, TN, USA, 19–25 June 2021; pp. 463–470. [Google Scholar]
- Zhang, J.; Newman, J.P.; Wang, X.; Thakur, C.S.; Rattray, J.; Etienne-Cummings, R.; Wilson, M.A. A closed-loop, all-electronic pixel-wise adaptive imaging system for high dynamic range videography. IEEE Trans. Circuits Syst. I Regul. Pap. 2020, 67, 1803–1814. [Google Scholar] [CrossRef]
- Woo, S.M.; Ryu, J.H.; Kim, J.O. Ghost-Free Deep High-Dynamic-Range Imaging Using Focus Pixels for Complex Motion Scenes. IEEE Trans. Image Process. 2021, 30, 5001–5016. [Google Scholar] [CrossRef] [PubMed]
- Pan, Z.; Yu, M.; Jiang, G.; Xu, H.; Peng, Z.; Chen, F. Multi-exposure high dynamic range imaging with informative content enhanced network. Neurocomputing 2020, 386, 147–164. [Google Scholar] [CrossRef]
- Huang, Y.; Qiu, S.; Wang, C.; Li, C. Learning Representations for High-Dynamic-Range Image Color Transfer in a Self-Supervised Way. IEEE Trans. Multimed. 2020, 23, 176–188. [Google Scholar] [CrossRef]
- Fares, K.; Amine, K.; Salah, E. A robust blind color image watermarking based on Fourier transform domain. Optik 2020, 208, 164562. [Google Scholar] [CrossRef]
- Hsu, L.Y.; Hu, H.T. Blind watermarking for color images using EMMQ based on QDFT. Expert Syst. Appl. 2020, 149, 113225. [Google Scholar] [CrossRef]
- Hu, H.T.; Hsu, L.Y.; Chou, H.H. An improved SVD-based blind color image watermarking algorithm with mixed modulation incorporated. Inf. Sci. 2020, 519, 161–182. [Google Scholar] [CrossRef]
- Ali, M.; Ahn, C.; Pant, M.; Kumar, S.; Singh, M.; Saini, D. An optimized digital watermarking scheme based on invariant DC coefficients in spatial domain. Electronics 2020, 9, 1428. [Google Scholar] [CrossRef]
- Wen, Q.; Sun, T.; Wang, S. Concept and application of zero-watermark. Acta Electron. Sin. 2003, 31, 214–216. [Google Scholar]
- Zhou, Y.; Jin, W. A novel image zero-watermarking scheme based on DWT-SVD. In Proceedings of the 2011 International Conference on Multimedia Technology, Hangzhou, China, 26–28 July 2011; pp. 2873–2876. [Google Scholar]
- Rao, Y.R.; Nagabhooshanam, E. A novel image zero-watermarking scheme based on DWT-BN-SVD. In Proceedings of the International Conference on Information Communication and Embedded Systems (ICICES2014), Chennai, India, 27–28 February 2014; pp. 1–6. [Google Scholar]
- Gao, G.; Jiang, G. Bessel-Fourier moment-based robust image zero-watermarking. Multimed. Tools Appl. 2015, 74, 841–858. [Google Scholar] [CrossRef]
- Han, S.C.; Zhang, Z.N. A novel zero-watermark algorithm based on LU decomposition in NSST domain. In Proceedings of the 2012 IEEE 11th International Conference on Signal Processing, Beijing, China, 21–25 October 2012; Volume 3, pp. 1592–1596. [Google Scholar]
- Zhu, C.W.; Li, Y.Y.; Chi, W.D.; Gao, S.; Fan, D. Zero-watermarking Algorithm for Color Image in Contourlet Domain Based on Schur Decomposition. Inf. Technol. Informatiz. 2019, 2, 89–93. [Google Scholar]
- Zheng, Q.; Liu, N.; Cao, B.; Wang, F.; Yang, Y. Zero-watermarking algorithm in transform domain based on RGB channel and voting strategy. J. Inf. Process. Syst. 2020, 16, 1391–1406. [Google Scholar]
- Wang, C.P.; Wang, X.Y.; Xia, Z.Q.; Zhang, C.; Chen, X.J. Geometrically resilient color image zero-watermarking algorithm based on quaternion exponent moments. J. Vis. Commun. Image Represent. 2016, 41, 247–259. [Google Scholar] [CrossRef]
- Yang, H.Y.; Qi, S.R.; Niu, P.P.; Wang, X.Y. Color image zero-watermarking based on fast quaternion generic polar complex exponential transform. Signal Process. Image Commun. 2020, 82, 115747. [Google Scholar] [CrossRef]
- Jiang, F.; Gao, T. A robust zero-watermarking algorithm for color image based on tensor mode expansion. Multimed. Tools Appl. 2020, 79, 7599–7614. [Google Scholar] [CrossRef]
- Jia, Y.; Zhang, W. Efficient and adaptive tone mapping algorithm based on guided image filter. Int. J. Pattern Recognit. Artif. Intell. 2020, 34, 2054012. [Google Scholar] [CrossRef]
- Mohammadi, P.; Pourazad, M.T.; Nasiopoulos, P. A Perception-based Inverse Tone Mapping Operator for High Dynamic Range Video Applications. IEEE Trans. Circuits Syst. Video Technol. 2020, 31, 1711–1723. [Google Scholar] [CrossRef]
- Guerrini, F.; Okuda, M.; Adami, N.; Leonardi, R. High dynamic range image watermarking robust against tone-mapping operators. IEEE Trans. Inf. Forensics Secur. 2011, 6, 283–295. [Google Scholar] [CrossRef][Green Version]
- Solachidis, V.; Maiorana, E.; Campisi, P. HDR image multi-bit watermarking using bilateral-filtering-based masking. In Image Processing: Algorithms and Systems XI; International Society for Optics and Photonics: Bellingham, WA, USA, 2013; Volume 8655, p. 865505. [Google Scholar]
- Bai, Y.; Jiang, G.; Yu, M.; Peng, Z.; Chen, F. Towards a tone mapping-robust watermarking algorithm for high dynamic range image based on spatial activity. Signal Process. Image Commun. 2018, 65, 187–200. [Google Scholar] [CrossRef]
- Luo, T.; Jiang, G.; Yu, M.; Xu, H.; Gao, W. Robust high dynamic range color image watermarking method based on feature map extraction. Signal Process. 2019, 155, 83–95. [Google Scholar] [CrossRef]
- Rana, A.; Singh, P.; Valenzise, G.; Dufaux, F.; Komodakis, N.; Smolic, A. Deep tone mapping operator for high dynamic range images. IEEE Trans. Image Process. 2019, 29, 1285–1298. [Google Scholar] [CrossRef]
- Huan, W.; Li, S.; Qian, Z.; Zhang, X. Exploring Stable Coefficients on Joint Sub-bands for Robust Video Watermarking in DT CWT Domain. IEEE Trans. Circuits Syst. Video Technol. 2021. [Google Scholar] [CrossRef]
- Ell, T.A.; Sangwine, S.J. Hypercomplex Fourier transforms of color images. IEEE Trans. Image Process. 2006, 16, 22–35. [Google Scholar] [CrossRef]
- Sangwine, S.J.; Le Bihan, N. Quaternion singular value decomposition based on bidiagonalization to a real or complex matrix using quaternion Householder transformations. Appl. Math. Comput. 2006, 182, 727–738. [Google Scholar] [CrossRef]
- Wang, C.P.; Wang, X.Y.; Chen, X.J.; Zhang, C. Robust zero-watermarking algorithm based on polar complex exponential transform and logistic mapping. Multimed. Tools Appl. 2017, 76, 26355–26376. [Google Scholar] [CrossRef]








| Image | Rend08 | Apartment | Rend09 | Rend10 | Rend13 | AtriumNight | Bottles | Rend01 |
|---|---|---|---|---|---|---|---|---|
| Rend08 | 100.00 | 51.42 | 50.63 | 53.85 | 51.76 | 50.64 | 52.16 | 54.21 |
| Apartment | 51.42 | 100.00 | 56.43 | 54.91 | 57.61 | 54.26 | 50.10 | 54.59 |
| Rend09 | 50.63 | 56.43 | 100.00 | 52.70 | 54.46 | 52.35 | 54.04 | 54.32 |
| Rend10 | 53.85 | 54.91 | 52.70 | 100.00 | 53.00 | 52.16 | 54.04 | 49.56 |
| Rend13 | 51.76 | 57.61 | 54.46 | 53.00 | 100.00 | 50.26 | 53.89 | 55.02 |
| AtriumNight | 50.64 | 54.26 | 52.35 | 52.16 | 50.26 | 100.00 | 54.30 | 52.41 |
| Bottles | 52.16 | 50.10 | 54.04 | 54.04 | 53.89 | 54.30 | 100.00 | 53.52 |
| Rend01 | 54.21 | 54.59 | 54.32 | 49.56 | 55.02 | 52.41 | 53.52 | 100.00 |
| Rend08 | Apartment | Rend09 | Rend10 | Rend13 | AtriumNight | Bottles | Rend01 | |
|---|---|---|---|---|---|---|---|---|
| Krawczyk | 8.64 | 13.67 | 1.39 | 10.81 | 0.08 | 2.37 | 9.50 | 2.00 |
| Gamma | 8.18 | 13.33 | 3.08 | 4.59 | 5.96 | 5.37 | 6.32 | 3.05 |
| Ashikhmin | 6.86 | 7.93 | 6.84 | 10.82 | 7.42 | 8.54 | 11.04 | 6.13 |
| Logarithmic | 1.51 | 1.81 | 1.10 | 2.34 | 3.05 | 2.22 | 1.73 | 0.12 |
| Mertens | 10.18 | 13.38 | 4.13 | 9.21 | 8.42 | 7.79 | 10.42 | 6.45 |
| WardGlobal | 0.00 | 0.00 | 0.83 | 1.68 | 2.32 | 1.56 | 0.00 | 0.00 |
| WardHistAdj | 3.22 | 3.64 | 4.52 | 4.00 | 5.30 | 5.86 | 5.30 | 4.27 |
| LischinskiTMO | 2.03 | 7.13 | 1.98 | 3.27 | 4.88 | 3.15 | 4.96 | 0.07 |
| ReinhardDevlin | 3.20 | 6.32 | 4.39 | 9.18 | 6.64 | 6.74 | 7.25 | 3.25 |
| Raman | 6.18 | 7.76 | 3.13 | 5.20 | 6.52 | 5.79 | 9.57 | 4.79 |
| Drago | 3.83 | 5.57 | 2.78 | 4.88 | 5.62 | 5.66 | 6.23 | 2.78 |
| TumblinRushmeier | 2.76 | 3.15 | 2.29 | 5.54 | 4.61 | 4.05 | 4.66 | 3.39 |
| Ferwerda | 0.02 | 0.22 | 0.12 | 0.27 | 0.09 | 0.12 | 0.71 | 0.00 |
| Durand | 14.94 | 16.39 | 17.60 | 20.27 | 19.51 | 16.28 | 15.43 | 17.65 |
| Fattal | 10.67 | 10.91 | 11.04 | 18.48 | 12.48 | 9.91 | 11.79 | 18.16 |
| Average | 5.48 | 7.41 | 4.34 | 7.36 | 6.59 | 5.69 | 6.99 | 4.18 |
| Number | Common Attacks | Number | Common Attacks |
|---|---|---|---|
| CIA1 | ‘Salt & Pepper’ (0.001) | CIA7 | Poisson noise |
| CIA2 | Median filter (3 × 3) | CIA8 | Image sharpen (0.5) |
| CIA3 | Median filter (5 × 5) | CIA9 | Average filter (4 × 4) |
| CIA4 | Scaling (4) | CIA10 | Imrotate (2) |
| CIA5 | Scaling (1/4) | CIA11 | Gaussian noise |
| CIA6 | Gaussian low-pass filter (3 × 3) | CIA12 | Imadjust |
| Rend08 | Apartment | Rend09 | Rend10 | Rend13 | AtriumNight | Bottles | Rend01 | |
|---|---|---|---|---|---|---|---|---|
| CIA1 | 5.40 | 10.79 | 3.74 | 8.42 | 8.67 | 5.30 | 7.13 | 10.87 |
| CIA2 | 0.56 | 0.76 | 0.85 | 2.86 | 0.32 | 2.12 | 0.61 | 1.59 |
| CIA3 | 1.73 | 1.59 | 1.81 | 3.66 | 0.90 | 4.22 | 1.90 | 4.52 |
| CIA4 | 0.02 | 0.00 | 0.00 | 0.02 | 0.02 | 0.00 | 0.00 | 0.02 |
| CIA5 | 0.02 | 0.00 | 0.00 | 0.04 | 0.05 | 0.00 | 0.00 | 0.07 |
| CIA6 | 0.49 | 0.12 | 0.12 | 0.46 | 0.51 | 0.12 | 0.22 | 0.29 |
| CIA7 | 6.01 | 10.30 | 1.37 | 2.12 | 4.20 | 2.49 | 2.37 | 0.34 |
| CIA8 | 6.08 | 10.60 | 1.59 | 2.51 | 4.37 | 2.83 | 2.42 | 0.56 |
| CIA9 | 0.90 | 0.44 | 0.46 | 1.34 | 1.20 | 0.34 | 0.98 | 2.27 |
| CIA10 | 15.65 | 14.23 | 10.72 | 15.97 | 9.06 | 11.24 | 17.87 | 18.53 |
| CIA11 | 2.59 | 2.37 | 1.71 | 2.86 | 2.39 | 2.39 | 2.81 | 4.27 |
| CIA12 | 5.98 | 10.30 | 1.37 | 2.12 | 4.20 | 6.15 | 2.36 | 0.34 |
| Average | 4.86 | 5.83 | 2.67 | 4.43 | 2.99 | 4.31 | 4.32 | 3.87 |
| Attack Type | Jiang’s [19] | Bai’s [24] | Proposed |
|---|---|---|---|
| BER | BER | BER | |
| Krawczyk | 11.35 | 11.04 | 6.80 |
| Gamma | 12.29 | 12.34 | 6.23 |
| Ashikhmin | 16.49 | 6.97 | 8.19 |
| Logarithmic | 11.32 | 6.87 | 1.73 |
| Mertens | 16.55 | 6.15 | 8.74 |
| WardGlobal | 0.53 | 5.60 | 0.80 |
| WardHistAdj | 12.90 | 7.07 | 4.51 |
| LischinskiTMO | 12.87 | 5.38 | 3.43 |
| ReinhardDevlin | 14.80 | 11.99 | 5.87 |
| Raman | 17.65 | 9.64 | 6.11 |
| Drago | 12.84 | 6.85 | 4.66 |
| TumblinRushmeier | 12.15 | 8.09 | 3.80 |
| Ferwerda | 0.61 | 5.92 | 0.19 |
| Durand | 23.79 | 6.66 | 17.25 |
| Fattal | 16.74 | 13.89 | 12.93 |
| Average | 11.35 | 8.29 | 6.08 |
Publisher’s Note: MDPI stays neutral with regard to jurisdictional claims in published maps and institutional affiliations. |
© 2021 by the authors. Licensee MDPI, Basel, Switzerland. This article is an open access article distributed under the terms and conditions of the Creative Commons Attribution (CC BY) license (https://creativecommons.org/licenses/by/4.0/).
Share and Cite
Huang, J.; Shi, S.; He, Z.; Luo, T. A Novel Zero Watermarking Based on DT-CWT and Quaternion for HDR Image. Electronics 2021, 10, 2385. https://doi.org/10.3390/electronics10192385
Huang J, Shi S, He Z, Luo T. A Novel Zero Watermarking Based on DT-CWT and Quaternion for HDR Image. Electronics. 2021; 10(19):2385. https://doi.org/10.3390/electronics10192385
Chicago/Turabian StyleHuang, Jiangtao, Shanshan Shi, Zhouyan He, and Ting Luo. 2021. "A Novel Zero Watermarking Based on DT-CWT and Quaternion for HDR Image" Electronics 10, no. 19: 2385. https://doi.org/10.3390/electronics10192385
APA StyleHuang, J., Shi, S., He, Z., & Luo, T. (2021). A Novel Zero Watermarking Based on DT-CWT and Quaternion for HDR Image. Electronics, 10(19), 2385. https://doi.org/10.3390/electronics10192385

