Visualization of Commercial Coating Penetration into Fagus crenata Blume Wood Using a Non-Destructive X-ray Microtomography
Abstract
1. Introduction
2. Materials and Methods
2.1. Veneer Preparation
2.2. Coating Preparation and Application
2.3. Coating Thickness Measurement
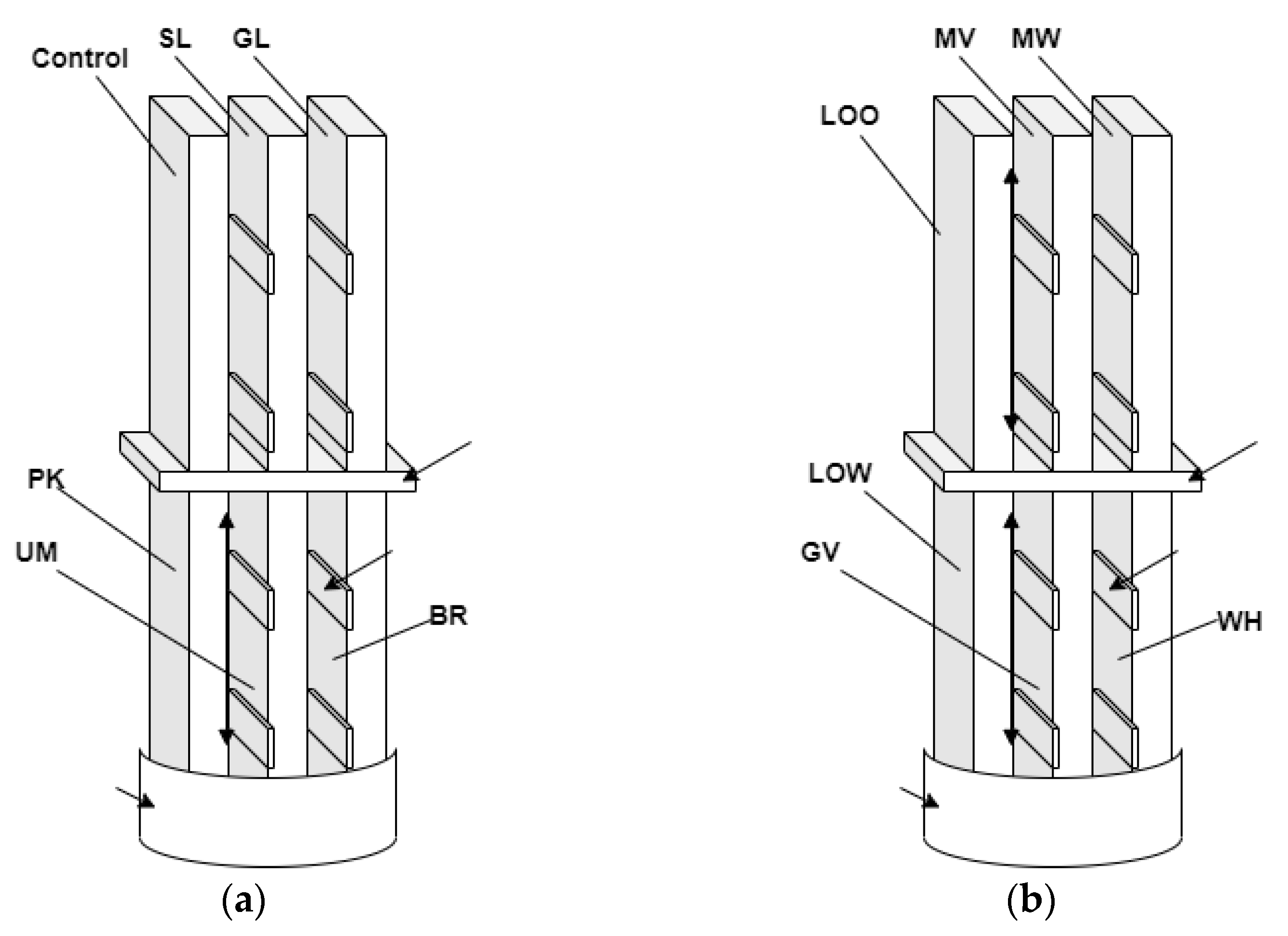
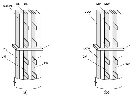
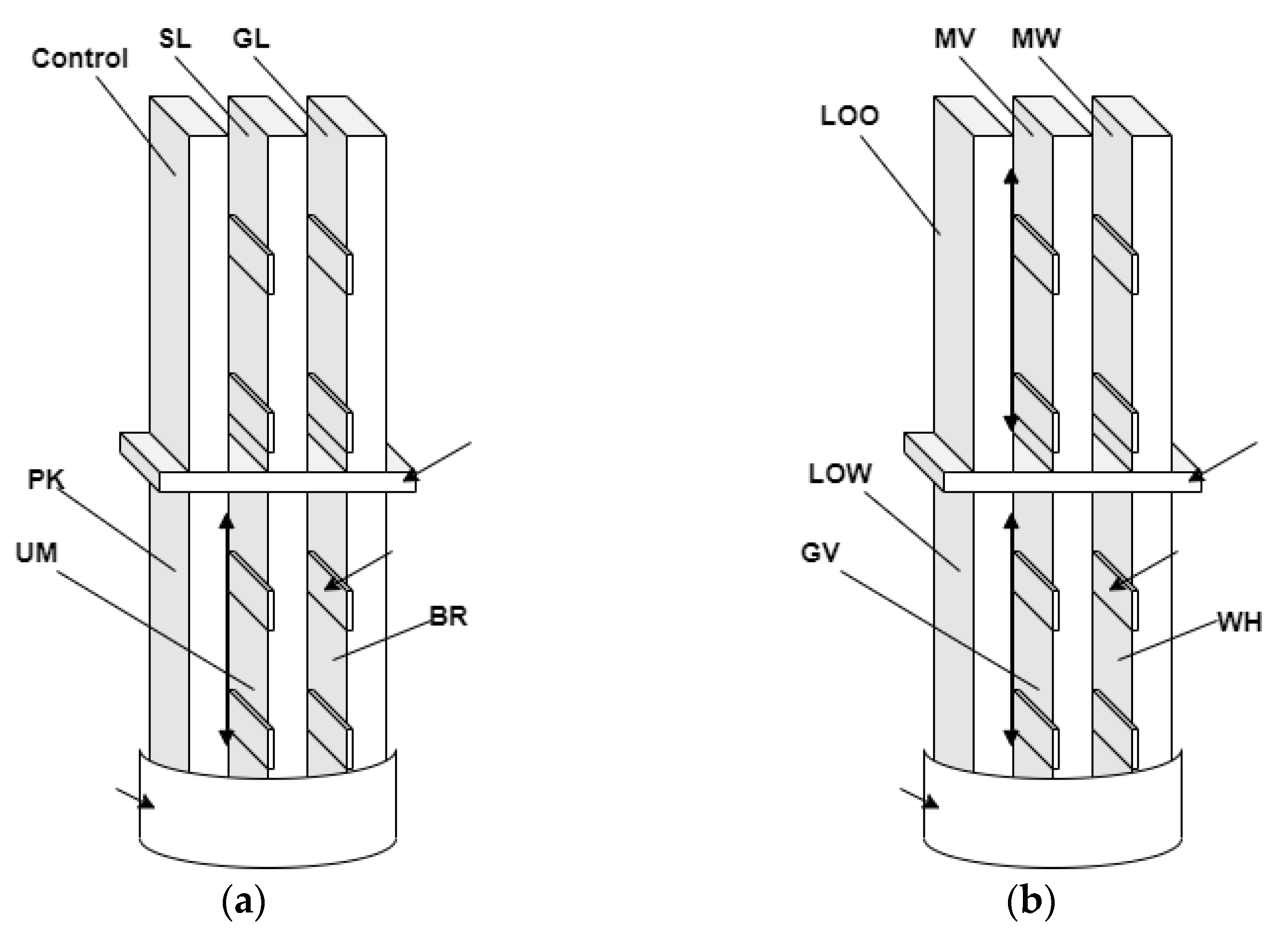
2.4. Micro X-ray Microtomography Samples Preparation
2.5. X-ray Microtomography
2.6. Visualization Analysis
3. Results
3.1. Coating Thickness
3.2. Visualization Result and Plot Profile
3.3. 3D Color Rendering for Coating Penetrations
4. Discussion
5. Conclusions
Author Contributions
Funding
Institutional Review Board Statement
Informed Consent Statement
Data Availability Statement
Conflicts of Interest
References
- Evans, P.D.; Haase, J.D.; Shakri, A.; Seman, B.M.; Kiguchi, M. The search for durable exterior clear coatings for wood. Coatings 2015, 5, 830–864. [Google Scholar] [CrossRef]
- Gibbons, M.J.; Nikafshar, S.; Saravi, T.; Ohno, K.; Chandra, S.; Nejad, M. Analysis of a wide range of commercial exterior wood coatings. Coatings 2020, 10, 1013. [Google Scholar] [CrossRef]
- Kong, L.; Xu, D.; He, Z.; Wang, F.; Gui, S.; Fan, J.; Pan, X.; Dai, X.; Dong, X.; Liu, B.; et al. Nanocellulose-reinforced polyurethane for waterborne wood coating. Molecules 2019, 24, 3151. [Google Scholar] [CrossRef] [PubMed]
- Šimůnková, K.; Oberhofnerová, E.; Reinprecht, L.; Pánek, M.; Podlena, M.; Štěrbová, I. Durability of selected transparent and semi-transparent coatings on Siberian and European larch during artificialweathering. Coatings 2019, 9, 39. [Google Scholar] [CrossRef]
- Shukla, S.; Pandey, K.K.; Kishan Kumar, V.S. Chemical and application properties of some solvent and water based coatings on wooden substrate. Drv. Ind. 2019, 70, 107–114. [Google Scholar] [CrossRef]
- Wu, Z.; Deng, X.; Luo, Z.; Zhang, B.; Xi, X.; Yu, L.; Li, L. Improvements in fire resistance, decay resistance, anti-mold property and bonding performance in plywood treated with manganese chloride, phosphoric acid, boric acid and ammonium chloride. Coatings 2021, 11, 399. [Google Scholar] [CrossRef]
- Tateishi, M.; Kumagai, T.; Suyama, Y.; Hiura, T. Differences in transpiration characteristics of Japanese beech trees, Fagus crenata, in Japan. Tree Physiol. 2010, 30, 748–760. [Google Scholar] [CrossRef][Green Version]
- Takahashi, A.; Nakayama, Y. Fagus crenata Blume. In Wood Science Series, 3rd ed.; Kaiseisha Press: Otsu City, Japan, 2015; p. 79. [Google Scholar]
- Clark, G.L.; Fitch, K.R. Chemical effects of X-rays upon some aromatic colors and dyes. Radiological 1931, 17, 285–293. [Google Scholar] [CrossRef]
- Wang, Q.P.; Liu, X.E.; Zhang, G.L. Rapidly detection for moso bamboo density under different moisture condition based on X-CT technology. Spectrosc. Spectr. Anal. 2016, 36, 1899–1903. [Google Scholar]
- Kinoshita, K.; Tsubota, M.; Ikemoto, E. Chapter 9: Paint selection and painting process (Part 2)-wood. Color Mater. 1996, 69, 327–342. [Google Scholar]
- Oishi, A.; Tanaka, T. Development of a nondestructive imaging method for morphological characterization of adhesive bondlines in wood-based materials using X-ray micro-computed tomography. J. Jpn. Soc. Adhes. 2020, 57, 145–151. [Google Scholar]
- Mader, A.; Schirò, A.; Brischetto, M.; Pizzo, B. Interactions and penetration of polymers and nanolatexes into wood: An overview. Prog. Org. Coat. 2011, 71, 123–135. [Google Scholar] [CrossRef]
- Bessières, J.; Maurin, V.; George, B.; Molina, S.; Masson, E.; Merlin, A. Wood-coating layer studies by X-ray imaging. Wood Sci. Technol. 2013, 47, 853–867. [Google Scholar] [CrossRef]
- Van den Bulcke, J.; Boone, M.; Van Acker, J.; Van Hoorebeke, L. High-resolution X-ray imaging and analysis of coatings on and in wood. J. Coat. Technol. Res. 2010, 7, 271–277. [Google Scholar] [CrossRef]
- Karahara, I.; Yamauchi, D.; Kentaro, U.; Muneyuki, Y. Three dimensional imaging of plant tissues using X-ray micro-computed tomography. Plant Morphol. 2015, 27, 21–26. [Google Scholar] [CrossRef]















| Material Name | Manufacturer | Color | Ingredients That Might Affect X-ray Interaction | Percentage (%) | Chemical Formula | Coating Base | Application |
|---|---|---|---|---|---|---|---|
| Aspen Lacquer Spray | Asahipen | Brown (BR) | Titanium Dioxide | 0.1–1 | TiO2 | Spray | |
| Gold (GL) | Brass (Copper/Zinc) | 1.0–5.0 | Cu/Zn | ||||
| Matte White (MW) | Amorphous Silica | 1.0–5.0 | SiO2 | ||||
| Titanium Dioxide | 1.0–10 | TiO2 | |||||
| Pink (PK) | Titanium Dioxide | 1.0–10 | TiO2 | ||||
| Silver (SL) | Aluminum | 1.0–5.0 | Al | ||||
| Ultra Marine (UM) | Ferric Hydrated Iron Oxide | 1.0–5.0 | Fe(OH)O | ||||
| Phthalocyanine Blue | 0.1–1.0 | C32H16CuN8 | |||||
| Titanium Dioxide | 1.0–10 | TiO2 | |||||
| White (WH) | Titanium Dioxide | 1.0–10 | TiO2 | ||||
| Outdoor xylem protective paint WOOD oil-based | Asahipen | Light Oak (LOO) | Amorphous Silica | 0.1–1 | SiO2 | Oil-based | Brush |
| Ferric Hydrated Iron Oxide | 1.0–5.0 | Fe(OH)O | |||||
| Cobalt 2-Ethylhexanoate | 0.1–1 | [CH3(CH2)3CH(C2H5)CO2]2Co | |||||
| Outdoor xylem protective paint WOOD water-based | Asahipen | Light Oak (LOW) | Amorphous Silica | 0.1–1 | SiO2 | Water-based | Brush |
| Ferric Hydrated Iron Oxide | 1.0–5.0 | Fe(OH)O | |||||
| Titanium Dioxide | 0.1–1 | TiO2 | |||||
| Water-soluble glossy varnish spray | Washin Paint | Transparent (GV) | - | - | - | Water-based | Spray |
| Water-soluble Matte varnish spray | Washin Paint | Transparent (MV) | Silica Amorphous, fused | 1.0–5.0 | SiO2 | Water-based | Spray |
| No | Sample Color | Initial Weight (g) | Initial Thickness (mm) | 1st Coat | 2nd Coat | Coating Thickness (mm) | ||||
|---|---|---|---|---|---|---|---|---|---|---|
| Wet Weight (g) | Dry Weight (g) | Dry Thickness (mm) | Wet Weight (g) | Dry Weight (g) | Dry Thickness (mm) | |||||
| 1 | Brown (BR) | 6.129 | 1.002 | 7.569 | 6.73 | 1..007 | 8..073 | 6..875 | 1.019 | 0.017 |
| 2 | Gold (GL) | 6.239 | 0.998 | 7.804 | 6.929 | 1.009 | 8.236 | 7.361 | 1.033 | 0.035 |
| 3 | Matte white (MW) | 7.056 | 0.995 | 8.556 | 7.772 | 1.018 | 9.127 | 8.354 | 1.032 | 0.037 |
| 4 | Pink (PK) | 7.393 | 1.019 | 8.703 | 8.066 | 1.022 | 9.401 | 8.412 | 1.034 | 0.015 |
| 5 | Silver (SL) | 6.779 | 1.028 | 8.199 | 7.248 | 1.037 | 8.643 | 7.494 | 1.054 | 0.026 |
| 6 | Ultramarine (UM) | 7.175 | 1.03 | 8.495 | 7.719 | 1.043 | 9.134 | 8.082 | 1.071 | 0.041 |
| 7 | White (WH) | 6.932 | 0.985 | 8.282 | 7.842 | 0.995 | 9.212 | 8.254 | 1.02 | 0.035 |
| 8 | Light Oak (LOO) | 7.174 | 0.98 | 8.604 | 7.685 | 0.997 | 9.06 | 8.148 | 1.011 | 0.031 |
| 9 | Light Oak (LOW) | 6.383 | 0.958 | 7.813 | 6.935 | 0.987 | 8.36 | 7.272 | 1.001 | 0.043 |
| 10 | Varnish Glossy (GV) | 6.666 | 0.96 | 8.111 | 7.368 | 0.973 | 8.713 | 7.667 | 0.984 | 0.024 |
| 11 | Varnish Matte (MV) | 6.899 | 1.002 | 8.329 | 7.718 | 1.031 | 9.073 | 8.028 | 1.052 | 0.050 |
Publisher’s Note: MDPI stays neutral with regard to jurisdictional claims in published maps and institutional affiliations. |
© 2021 by the authors. Licensee MDPI, Basel, Switzerland. This article is an open access article distributed under the terms and conditions of the Creative Commons Attribution (CC BY) license (https://creativecommons.org/licenses/by/4.0/).
Share and Cite
Ekaputri, T.S.; Apsari, A.N.; Tanaka, T. Visualization of Commercial Coating Penetration into Fagus crenata Blume Wood Using a Non-Destructive X-ray Microtomography. Coatings 2021, 11, 927. https://doi.org/10.3390/coatings11080927
Ekaputri TS, Apsari AN, Tanaka T. Visualization of Commercial Coating Penetration into Fagus crenata Blume Wood Using a Non-Destructive X-ray Microtomography. Coatings. 2021; 11(8):927. https://doi.org/10.3390/coatings11080927
Chicago/Turabian StyleEkaputri, Tyana Solichah, Ayuni Nur Apsari, and Takashi Tanaka. 2021. "Visualization of Commercial Coating Penetration into Fagus crenata Blume Wood Using a Non-Destructive X-ray Microtomography" Coatings 11, no. 8: 927. https://doi.org/10.3390/coatings11080927
APA StyleEkaputri, T. S., Apsari, A. N., & Tanaka, T. (2021). Visualization of Commercial Coating Penetration into Fagus crenata Blume Wood Using a Non-Destructive X-ray Microtomography. Coatings, 11(8), 927. https://doi.org/10.3390/coatings11080927

