Next Article in Journal
Design of a Sensor–Actuator Integrated Flexible Pectoral Fin for Bioinspired Manta Robots
Previous Article in Journal
A Study on the Response of Monopile Foundations for Offshore Wind Turbines Using Numerical Analysis Methods
Previous Article in Special Issue
Design and Parametric Sensitivity Analysis of a Steel-Concrete Hybrid Semi-Submersible Foundation Supporting a 15 MW Wind Turbine
 
 
Font Type:
Arial Georgia Verdana
Font Size:
Aa Aa Aa
Line Spacing:
Column Width:
Background:
Article

A Time-Domain Methodology for Nominal Stress-Based Fatigue Assessment of Semi-Submersible Floating Wind Turbine Hulls at Different Offshore Sites

1
Key Laboratory of Far-Shore Wind Power Technology of Zhejiang Province, Hangzhou 311122, China
2
PowerChina HuaDong Engineering Corporation Limited, Hangzhou 311122, China
3
College of Engineering, Ocean University of China, Qingdao 266100, China
4
State Key Laboratory of Coastal and Offshore Engineering, Ocean University of China, Qingdao 266100, China
5
Department of Marine Technology, Norwegian University of Science and Technology (NTNU), 7491 Trondheim, Norway
6
Faculty of Maritime and Transportation, Ningbo University, Ningbo 315211, China
7
School of Naval Architecture, Ocean and Civil Engineering, Shanghai Jiao Tong University, Shanghai 200240, China
8
State Key Laboratory of Ocean Engineering, Shanghai Jiao Tong University, Shanghai 200240, China
*
Author to whom correspondence should be addressed.
J. Mar. Sci. Eng. 2026, 14(8), 692; https://doi.org/10.3390/jmse14080692
Submission received: 12 February 2026 / Revised: 30 March 2026 / Accepted: 3 April 2026 / Published: 8 April 2026
(This article belongs to the Special Issue Breakthrough Research in Marine Structures)

Abstract

This paper deals with a time-domain methodology for nominal stress-based, screening-level fatigue assessment of semi-submersible FWT hulls, using a 10-MW semi-submersible FWT as a case study. A comprehensive procedure is outlined for both short- and long-term fatigue analysis, emphasizing the influence of wind and wave loads, as well as the probability distributions of environmental conditions. A fully coupled dynamic analysis of the FWT, employing a multibody floater, is conducted to compute internal global loads and time-domain nominal stresses on the hull structure. Short-term fatigue damage is evaluated across various wind-wave directions, environmental conditions, and random wind and wave samples, identifying critical loading scenarios. For long-term assessment, 10,182 one-hour time-domain simulations are conducted across three wind-wave directions for five offshore sites in the North Sea and one site in the China Sea. Fatigue damage at different locations of the hull structure is estimated for each offshore site, with results discussed in the context of screening-level nominal fatigue assessment and identification of fatigue-critical regions. The insights gained from this study form a basis for validating simplified and computationally efficient fatigue analysis procedures in an accompanying paper. Additionally, the findings support the design optimization of hull structures. Limitations of the present study are identified, pointing to future research directions aimed at mitigating fatigue risks.

Graphical Abstract

1. Introduction

Offshore wind development is moving quickly into deeper water, where fixed-bottom foundations are no longer practical. Floating wind turbines (FWTs) offer a feasible solution for harnessing wind energy in such areas. Among the various floating turbine concepts, semi-submersible platforms are widely recognized for their versatility. They are suitable for water depths ranging from 50 to 200 m and have been adopted in many studies and projects, e.g., [1,2,3]. This paper focuses on semi-submersible designs, which should satisfy both safety and serviceability over their design lifetime, requiring thorough ultimate and fatigue assessments. However, achieving structural integrity in large semi-submersible hulls presents significant challenges, particularly in obtaining accurate floater stresses.
Recent research has established a relatively mature framework for the fully coupled aero-hydro-servo-elastic analysis of floating wind turbines. Otter et al. [4] reviewed the main modeling techniques for floating offshore wind turbines. A recent study by Rui et al. [5] on the dynamic analysis of a 15 MW IEA floating wind turbine with embedded chain–seabed interaction provided a useful example of coupled response analysis. Meanwhile, large international validation efforts, such as OC5 Phase II and OC6 Phase IV, have shown that current numerical tools can provide reliable predictions of global loads and motions for floating wind systems [6,7]. However, for large semi-submersible floaters, the output of such analyses is still mainly limited to global motions and interface loads at blades, tower, and mooring lines, while it is difficult to obtain directly the internal sectional loads of hulls. To address this issue, several methods have been explored. Wang et al. [8] employed a stress analysis approach by simultaneously applying the time-varying hydrodynamic pressures on the wetted hull surface, motion-induced gravity and inertial loads, and boundary loads from the tower base and mooring lines to the floater finite element model. Additionally, Luan et al. [9] employed a multibody floater approach in numerical studies of a 5 MW semi-submersible platform, in which the floater was divided into several substructures connected by beams. In this method, hydrostatic, hydrodynamic, gravity, and inertial loads are applied separately to each substructure, enabling the calculation of cross-sectional loads in coupled dynamic analysis. It should be noted that, for statically indeterminate structures, the stiffness of the beams connecting the rigid bodies must be properly calibrated to obtain reliable internal forces and moments. Ma et al. [10,11] developed a multi-segment semi-submersible floater model and used FBG-based strain measurements to inversely calculate sectional internal loads, which enables the observation of global motions and cross-sectional loads simultaneously.
However, there is currently a lack of effective methods for assessing fatigue damage in FWT hulls. FWTs are subjected to a complex combination of wind and wave loads, involving strong interactions among aerodynamic loads, hydrodynamic loads, floater motions, structural flexibility, and the control system. The interactions result in highly nonlinear load effects, making the frequency-domain method particularly challenging for fatigue assessment. Although frequency-domain analysis has seen progress in the recent studies, such as those by Hegseth et al. [12] and Chen et al. [13], the method has not yet reached the maturity of time-domain approaches and is not currently implemented in commercial software tools. Particular challenges in developing frequency-domain methods are related to the linearization of aerodynamic loads and the proper consideration of the coupling effect of wind- and wave-induced loads and responses. To date, several studies have employed time-domain approaches for the fatigue analysis of offshore wind turbines (OWTs), but most have focused on bottom-fixed configurations [14,15,16]. For FWTs, the coupling mechanisms associated with floater motion are substantially different, and the corresponding fatigue response characteristics are therefore also different. Existing fatigue studies on FWTs have addressed different aspects of this problem. Kvittem and Moan [17] proposed a time-domain fatigue analysis procedure for a semi-submersible FWT at a single offshore site, with emphasis on the choice of simulation duration, number of random realizations, and environmental bin sizes. More recent studies have further examined related topics such as time-domain fatigue reliability analysis and the influence of structural flexibility, second-order hydrodynamics, and wave-induced high-frequency response on fatigue damage [18,19,20,21]. These studies have improved the understanding of factors that may affect fatigue predictions. However, they are mostly focused on specific modeling assumptions, individual influencing factors, or particular fatigue evaluation strategies. For large semi-submersible hulls, there is still limited work on a practical procedure that can consistently link fully coupled response analysis, sectional load extraction, nominal stress evaluation, and long-term fatigue comparison across offshore sites.
Motivated by the background and challenges outlined above, this study proposes a systematic time-domain nominal stress fatigue assessment methodology for semi-submersible FWT hulls for several offshore sites. A 10-MW semi-submersible hull, featuring four columns and three pontoons, is used as a case study to demonstrate the analysis. The environmental conditions are based on data from six offshore sites, including five in the Northern North Sea and one in the South China Sea, selected to represent different joint wind-wave probability distributions. A systematic methodology is developed, encompassing global coupled dynamic analysis, nominal stress evaluation at selected hull sections, and both short- and long-term fatigue assessments. The primary focus of this study is to provide a screening-level nominal stress fatigue assessment procedure and to enhance the understanding of the impact of wind and wave loads, as well as the probability distributions of environmental conditions, on fatigue assessment. Furthermore, the results also provide a basis for the development of simplified and computationally efficient fatigue analysis procedures, as documented in another study by the authors [22].
The main methodological innovations of the present study are as follows: (1) a method is developed to obtain sectional forces from a fully coupled multibody analysis and convert them into nominal stresses for hull fatigue assessment; and (2) an analysis procedure is established to combine this stress evaluation with joint environmental distributions and short- and long-term fatigue assessment for offshore-site comparison. This study provides insight into fatigue damage distribution characteristics across the hull areas and different offshore sites, which serves as a basis for design optimization to reduce the material usage.
This paper is organized as follows: Section 2 introduces the 10-MW semi-submersible FWT model used in this study. Section 3 outlines the general methodology for fatigue analysis, while Section 4 illustrates the procedure for estimating long-term fatigue damage. Section 5 provides an overview of the environmental conditions and load cases considered, and Section 6 presents the results of both the short-term and long-term fatigue analyses. Finally, Section 7 concludes the study and offers recommendations for future research.

2. The 10-MW Semi-Submersible Wind Turbine

In the analysis of this work, the wind turbine model (rotor, nacelle, and tower) was adopted from the OOSTAR floating wind turbine (FWT) concept developed in the LIFES + 50 project [23] by Dr.techn. Olav Olsen AS, Lysaker, Norway. The controller and tower properties have been modified from the land-based DTU 10-MW reference wind turbine to avoid the negative damping and tower resonance, respectively. A four-column semi-submersible steel hull layout is adapted, as shown in Figure 1, which refers to the design by Luan et al. [24]. The central and outer columns are connected by pontoons at the lower part, while beams and braces are not considered. The semi-submersible hull was designed using steel—while the OOSTAR has a reinforced concrete hull. The global design of the hull structure was conducted by Li et al. [18], where the global dimensions of the hull were determined based on design checks for intact stability, serviceability, and dynamic motion performance. The main dimensions of the turbine and the floater are listed in Table 1 and Table 2, respectively. More details can be found in the references [24,25,26].

3. General Methodology for Fatigue Analysis of Hulls

3.1. Fatigue Assessment Method

Fatigue cracks in steel structures are initiated and propagated due to cyclic variation in stress, especially tensile stress across the initial weld defect. In welded structures, the main driving mechanism is the stress range. Possible compressive stresses across the defect do not drive the crack. This is taken into account by considering an effective stress range. For base material, the mean stress also is important. Normally, the fatigue assessment of plated structures can be made based on the nominal stress or the hot-spot stress approaches. In this study, the former approach is adopted.
The nominal stress method is a fatigue assessment approach based on nominal stress, which is typically taken as the normal stress perpendicular to the weld. This method does not include the stress concentration caused by the geometry of the weld, as such effects are included in the SN curve. However, stress concentration due to “global” geometrical changes, need to be considered in the stress analysis. This method relies on the SN curve, which refers to the number of cycles to failure for different stress ranges.
In the nominal stress approach, SN-curves should in principle be defined for each specific welded joint. However, due to the similarity between certain joints, some joints with the same or similar characteristics can be grouped into the same category, and a unified SN curve can be defined for that category of joints. The SN-curves are typically formulated by:
N = a 1 S m 1 S > S 1 a 2 S m 2 S < S 1
where the point of intersection between the two equations is (N1, S1), with N 1 = a 1 S 1 m 1 = a 2 S 1 m 2 . Data for a 1 , a 2 , m 1 , and m 2 are given in the standard of DNV-RP-C203 [27].
In DNV-RP-C203, different S–N curves such as C, D, and E are assigned to different welded details when the fatigue assessment is based on nominal stress. For the same nominal stress range and the same protection condition, the fatigue strength decreases from C to D to E. In this study, the D-curve with cathodic protection is used for the nominal-stress fatigue assessment of the welded details in the pontoon structure. The criteria for selecting characteristic S–N curves are provided in DNV ST-0119 [28]. With no protection, implying free corrosion, both a thickness reduction and a reduced capacity of the SN-curve apply. In case coating is applied and no maintenance of the protection is made, a period of free corrosion, i.e., thickness reduction compensated with corrosion allowance (increased plate thickness) and an SN-curve for free corrosion, apply. An alternative to this approach will be to plan for component replacements (of secondary structural components) after “excessive” corrosion.
External welded joints in floating wind turbines are exposed to seawater and will have cathodic protection. Internal tanks with seawater ballast are also included in this category. The atmosphere inside the columns and tower might be considered “dry” enough that the SN-curves for joints in air apply.

3.2. Design Criteria for Fatigue

Design criteria are given in standards for design such as the suite of IEC standards for wind turbines or standards issued by classification societies, such as DNV. IEC 61400-3-2 [29] is the relevant standard for floating wind turbines. However, fatigue requirements are referred to the ISO standards 1990-4-1 and partly to IEC 61400-3-1 [30] (for fixed turbines). However, the ISO standard focuses on frequency-domain analysis, while time-domain analysis is generally needed for wind turbines. Moreover, start-up/shut-down of the rotor represents particular load cases for wind turbines. There is limited information about fatigue acceptance criteria in IEC 61400-3-2 [29] for FWTs. In this study, the criteria given in DNV ST-0119 [28] for floating wind turbine structures are therefore used.
The fatigue damage at each support structure node is evaluated using an SN curve approach. More details of the SN curve data are provided in DNV-RP-C203 [27]. The service life of the FWT system is chosen to be 20 years, and the fatigue design criterion is expressed as:
D ≤ 1.0/DFF
where the accept criterion is specified by the design fatigue factor, DFF which is the nominal factor on fatigue life relative to the service life.
The DFF depends on:
  • The uncertainties in the estimate of the fatigue damage.
  • Whether it is an internal or external structural component.
  • Consequence of fatigue failure, i.e., whether it is connected to the main shell of the floater or secondary structure.
  • Possible inspection (or monitoring) plans—normally formulated as accessible for inspection or not during operation.
The minimum requirements for DFF are suggested in Tables 5–7 in DNV ST-0119 [28], and the typical values are 1 and 2, depending on different structural elements, components, and areas.

4. Procedure for Long-Term Fatigue Damage Estimate of Hulls

A practical analysis procedure is proposed and applied to estimate long-term fatigue damage in the semi-submersible hull of the 10-MW FWT, which includes (1) global load effect analysis, (2) determination of sectional forces and moments, followed by nominal stress calculation and selection of evaluation points, (3) short-term fatigue damage analysis, and (4) long-term fatigue damage analysis. To improve the readability of the methodology, an overview of the complete analysis procedure is shown in Figure 2. The figure summarizes the main steps of the study, from environmental input and coupled time-domain analysis to sectional load extraction, nominal stress calculation, and fatigue damage assessment.
The first step involves performing a global analysis of the FWT to calculate the coupled dynamics in terms of internal forces and moments of the hull under simultaneous wind and waves. This coupled analysis requires a novel modeling approach that goes beyond the traditional method of treating the floater as a rigid body with a focus on global motions. Wang and Moan [31] adopted the multibody method for modeling semi-submersible floaters using the software SIMA (version 4.6). The principle of this approach is to discretize a single rigid body into a multibody substructure, as illustrated in Figure 3. Instead of integrating hydrodynamic load at one reference point of the floater in traditional method, the novel approach distributes the external environmental loads and inertial loads for each substructure of the floater. This allows for the calculation of internal loads between adjacent substructures. More information on the modeling approach is given in [31].
To validate the present stress reconstruction method, a comparison has been carried out between the sectional forces and moments obtained from the SIMA multibody model and those obtained from a finite element model for a representative load case in cross-section 3. The results are shown in Figure 4. In the FE-based analysis, the distributed hydrodynamic pressure caused by wave excitation and platform motion, together with the tower load, mooring loads, and inertia loads, is applied to the structural model. The comparison shows very good agreement between the two approaches. Since the present study is based on nominal stress, and the nominal stress is calculated directly from the sectional forces and moments, this comparison supports the rationality of the nominal stress estimation. It should be noted that this validation is intended for the sectional loads and the resulting nominal stresses, not for local hot-spot stresses at welded details.
In the second step, the sectional forces and moments are first obtained from the coupled analysis, and the nominal stress in the time domain is calculated based on the global loading of the structure from the coupled analysis. This study specifically focuses on the floater stress and fatigue damage in the pontoon part. Figure 5 shows a sketch of the cross-section of the pontoon part in the semi-submersible hull, including the coordinate system used to calculate the distributed stress at various locations.
Stresses at eight points of a cross-section are studied. The normal stress for a specific point is calculated using the following expression according to the Euler–Bernoulli theory:
σ i = F x A ± M y W y ± M z W z
where σ i represents the normal stress of the ith point on a cross-section, respectively. F x , F y , F z , M x , M y , and M z represent the cross-sectional forces and moments, which are output from SIMA in the local coordinate system of the pontoon. Additionally, W y and W z denote cross-section modulus to the y and z axes, respectively. A is the area of the cross-section.
It should be noted that extended beam theories should be applied to determine the stress in a wide cross-section relative to the span length due to shear lag, or a high beam relative to the span length due to shear deformation. Moreover, for fatigue assessment, critical hot-spots should be identified, and stress concentration factors (SCFs) are then used to convert the nominal stress, including effects from weld geometry, into hot-spot stress. These SCFs can be obtained either from empirical formulas for standard joint types or through locally refined finite element analysis around critical regions. More detailed information is provided in Section 7.
In the third step, one-hour short-term fatigue damage is calculated. After computing the time history of stress at different points, the number of stress cycles associated with the stress range are further computed using the rainflow counting method. In the pontoons, various types of welded joints are present. In the following fatigue analysis, the SN curve D with cathodic protection from DNV-RP-C203 [20] is used. The relationship between the stress range and number of cycles is then expressed by formula (4).
l o g N = l o g a m l o g ( σ ( t t r e f ) k )
where N is the number of cycles, t is the thickness, and ∆σ is the stress range. t r e f is the reference plate thickness for the SN-curves in DNV-RP-C203 [20]. The parameters for this SN-curve are given in Table 3. Moreover, the stress concentration factor is taken to be 1. The parameter k is a correction coefficient to reflect the effect of plate thickness, which is typically between 0 and 0.25.
According to Miner’s linear cumulative damage hypothesis, the total damage D in one hour is the sum of the cycles n i at each stress range s i divided by the fatigue life N( s i ):
D 1 h = i n i N ( s i )
Finally, the long-term fatigue damage is estimated based on fatigue damage, D (Uw, Hs, Tp, θi), for each short-term condition and summed up for all conditions, which takes the probability of different wind and wave directions into account:
Dtot = Σθi ΣUw,Hs,Tp D1h(Uw, Hs, Tp, θi) p(Uw, Hs, Tp, θi)
where Dtot is the total fatigue damage in the service life (20 years). D (Uw, Hs, Tp, θi) is the fatigue damage for a short-term condition; p (Uw, Hs, Tp, θi) is the probability of that condition, and i denotes the wind/wave direction.

5. Environmental Conditions and Load Cases

Five offshore sites from the Northern North Sea and one from the South China Sea have been chosen for the fatigue assessment of the 10-MW semi-submersible hull. The six offshore sites are used to represent different joint wind-wave environments, so that the effect of site conditions on long-term nominal fatigue damage can be compared for the same floating wind turbine design. In the North Sea, Sites 1, 3, 5, 14, and 15 are considered, and detailed information about the offshore sites are provided by Li et al. [32]. Environmental data for China Sea are from an industrial project. All load cases and probabilities for fatigue assessment are determined based on the joint distributions of environmental data of the six offshore sites. The joint distribution of mean wind speed at the hub height (Uw), significant wave height (Hs), and wave spectral peak period (Tp) is expressed as below:
f U w , H s , T p ( u , h , t ) f U w ( u ) f H s | U w ( h | u ) f T p | H s ( t | h )
where f U w u , f H s | U w h u , and f T p | H s ( t | h ) represent the marginal distribution of U w , a conditional distribution of H s given U w , and a conditional distribution of T p given H s . For all the six offshore sites, the types of distributions for modeling f U w u , f H s | U w h u , and f T p | H s ( t | h ) are the same.
f U w u is modeled by a two-parameter Weibull distribution, as below:
f U w ( u ) = α U β U u β U α U 1 e x p u β U α U
where α U and β U are the shape and scale parameters, respectively.
Meanwhile, f H s | U w h u is expressed by a two-parameter Weibull distribution, as below:
f H s | U w ( h | u ) = α H C β H C ( h β H C ) α H C 1 e x p [ ( h β H C ) α H C ]
where the α U and β U are fitted with the relationship of mean wind speed to improve the accuracy, which are shown as below:
α H C = a 1 + a 2 u a 3
β H C = b 1 + b 2 u b 3
where a 1 , a 2 , a 3 , b 1 , b 2 , and b 3 are the parameters estimated from raw data by nonlinear curve fitting of different offshore sites.
In addition, f T p | H s ( t | h ) is fitted as a lognormal distribution, as below:
f T p | H s ( t | h ) = 1 2 π σ L T C t e x p 1 2 l n ( t ) μ L T C σ L T C 2
where μ L T C and σ L T C are the mean value and standard deviation of l n ( t ) , which are calculated by:
μ L T C = c 1 + c 2 h c 3
σ L T C = d 1 + d 2 e x p ( d 3 h )
where c 1 , c 2 , c 3 , d 1 , d 2 , and d 3 are the parameters estimated from raw data by nonlinear curve fitting of different offshore sites.
The parameters used in the joint distributions of f U w u , f H s | U w h u , and f T p | H s ( t | h ) for the six offshore sites are presented in Table 4.
In principle the mean direction of waves and wind can differ, i.e., with a misalignment in directions. Specifically, the wave conditions at the site may include wind-driven waves as well as swell, which are waves generated at another location and propagated to the site. This can lead to a misalignment between the local mean wind direction and the mean direction of the swell. In a previous study by Wang et al. [8], the effect of wind and wave misalignment on the nominal stress of the 10-MW semi-submersible floater was investigated. The results indicated that assuming wind-wave alignment yields conservative estimates of structural load effects, while reducing the computational time without much loss of accuracy.
In this work, it is assumed that the mean wave and wind directions are the same in a given short-term condition. Four wind and wave directions: 0°, 90°, 180°, 270°, as shown in Figure 6, are considered for the fatigue analysis of the pontoon structures. Since the floater layout is symmetrical along the 0° direction, similar fatigue damage is estimated for the 90° and 270° directions. Therefore, only 90° is considered when calculating fatigue damage in those two directions.
Due to the symmetry of the structure, the load conditions considered are representative for the load conditions for all the three pontoons.
The 20-year long-term fatigue damage of the floater structure is estimated based on the short-term fatigue damage and the probability of occurrence of the environmental condition. In principle, the long-term fatigue damage should be assessed based on all models of behavior such as parked, operating, faulted, start-up and shut-down based on international design standards such as DNV-ST-0119 [28] and IEC 61400-3-2 [29]. There is a transient response in the start-up and shut-down in the real operation of a FWT, as quantified by Luan and Moan. Previous work by Luan and Moan [33] showed that such transients may noticeably increase fatigue damage, and that their importance for long-term fatigue depends on the frequency of these events. In the present study, these transient conditions, as well as faulted conditions, are not included, and only normal operating and parked conditions are considered. The short-term fatigue damage is estimated based on one-hour time-domain global analysis of the FWT. The load cases for short-term fatigue damage are considered as below based on the environmental data in the offshore site:
  • Uw: [0, 34] with bin size of 2 m/s;
  • Hs: [0, 15] with bin size of 1 m;
  • Tp: [4, 30] with bin size of 1 s;
As shown in Table 1, mean wind speed (Uw) ranging from 4 m/s to 25 m/s corresponds to normal operating conditions, while the remaining cases are in the parked conditions. Then, the load cases with a probability lower than 10−4 are neglected, to achieve a balance between computational cost and accuracy of results. The load cases neglected in this study have only a minimal effect on long-term fatigue damage. This is evident from Figure 12 below, which shows load cases with low probability contribute minimally to long-term fatigue damage. After filtering, the number of load cases in a wind/wave direction and total probabilities of the load cases in the six offshore sites are listed in Table 5. Since three wind/wave directions: 0°, 90° (and 270°), and 180°, are involved in the simulation, resulting in a total of three times as many one-hour simulations as number of load cases. The total number of one-hour simulations applied in this study is 10,182.
Turbulent wind and irregular waves are used simultaneously in the numerical analysis. Each simulation is conducted for 4000 s, with time steps of 0.005 s for generating the irregular waves and 0.025 s for the turbulent wind fields. The first 400 s are discarded to mitigate the transient effects induced by the wind turbine’s start-up in the numerical analysis. A sensitivity study of the number of random wind and wave samples with respect to fatigue damage is performed for load cases of rated (Uw = 11 m/s), cut-out (Uw = 25 m/s), and parked (Uw = 29 m/s) conditions, considering 10 random samples. One sample is used for the other simulations. It is noted that the uncertainty in long-term fatigue analysis will be less than that in a single short-term analysis, as the combination of a wide range of short-term conditions leads to a cancelation of random variations. Sampling studies have been made (e.g., Haid et al. [34] and Zwick and Muskulus [35]).

6. Results and Discussion

In this section, the detailed results of the short- and long-term fatigue analyses for the 10-MW semi-submersible FWT hull are presented and discussed. The analysis highlights the impact of wind and wave loads, as well as the probability distributions of environmental conditions, on fatigue assessment. The short-term fatigue analysis results are broadly applicable to various offshore locations, as they are independent of the probability distributions of environmental conditions. In addition, long-term fatigue damage of the floater in different sites of North Sea and China Sea are estimated.

6.1. Comparison of Short-Term Stress Characteristics and Fatigue Damage for Different Wind and Wave Directions

This section presents comparisons of short-term fatigue damage to the hull for different wind and wave directions. Four representative load cases that cover below-rated, rated, above-rated, and parked wind conditions are considered. For each wind condition, the most probable wave conditions in terms of Hs and Tp are used. One-hour fatigue damage in three cross-sections of the hull is studied, with critical locations at points 6 and 8 in each cross-section serving as reference points for the results. In contrast, points 3 and 7 exhibit minimal fatigue damage. This can be explained by the fact that the bending moment My, which dominates the normal stress in the cross-sections, has a negligible effect on these two points.
Table 6 displays the four load cases and the corresponding one-hour fatigue damage to the hull at 0°, 90°, and 180° wind-wave directions. In general, fatigue damage in the 180° direction is greater than in the 0° direction, while damage in the 90° direction is notably smallest. Additionally, fatigue damage typically increases from cross-section 1 to cross-section 3, particularly for the 180°direction. Overall, the short-term fatigue damage at point 8 is more critical than at point 6. The variation in fatigue damage across different cross-sections and wind-wave directions is most pronounced in the rated wind condition (Uw = 11 m/s), which will be further analyzed in the following sections.
Figure 7 compares the distributions of stress range-cycles and the contributions of each stress range to one-hour fatigue damage across different wind-wave directions and cross-sections. The distributions of stress range and the number of cycles are developed from the time series of normal stress based on the rainflow counting approach. The one-hour fatigue damage is then calculated based on Formula (5), where the contribution of the ith stress range is determined by the value n i / N ( S i ) . An important observation is that low stress ranges associated with a high number of cycles contribute minimally to fatigue damage, while significant contributions come from large stress ranges that are linked to relatively few cycles. As summarized in Table 6, fatigue damage in the 180° wind-wave direction is significantly greater than in the 0° and 90° directions. This difference is primarily due to the apparently larger stress ranges in the 180° wind-wave direction, which result in the most significant contributions to one-hour fatigue damage, despite the limited number of cycles. Similarly, fatigue damage in cross-section 3 is the highest due to the substantial contributions from larger stress ranges.
Then, Figure 8 compares the normal stress in different wind-wave directions and cross-sections in both the time and frequency domains, aiming to elucidate the phenomenon presented in Figure 7. In the spectra, the low-frequency peak is mainly related to wind-induced low-frequency platform motion, whereas the peak around 0.1 Hz is mainly related to wave excitation. The time-domain results indicate that both the mean values and variations in normal stress differ significantly across various wind-wave directions and cross-sections. However, in fatigue assessments, only the stress variation is relevant, while the mean stress does not influence the fatigue damage in welded joints. The variation time series are more pronounced in the 180° direction compared to the 0° direction, and the variation in the 90° direction is the smallest. Additionally, the stress variation increases from cross-section 1 to cross-section 3. The power spectra of normal stress exhibit similar characteristics for different wind-wave directions and cross-sections. Under rated conditions, low-frequency turbulent wind loads dominate the stress variation, although wave loads contribute simultaneously in the 0° and 180° directions. The contributions of wind loads to the variation in load effects tend to decrease from cross-section 3 to cross-section 1, while the contributions of wave loads increase. In cross-section 3, wind loads dominate the stress variation, whereas both wind and wave loads are important in cross-section 1. Normal stress in cross-section 3 for the 180° direction experiences significantly larger wind and wave loads than in other scenarios, resulting in the most critical fatigue damage.

6.2. Variation in Short-Term Fatigue Damage Due to Wind Loads

This section examines the characteristics of one-hour fatigue damage of the hull under different wind loads. The analysis focuses exclusively on operational conditions, with mean wind speeds ranging from 4 m/s to 25 m/s. Parked conditions are excluded, as wind loads are mitigated by the controller. The wave conditions were held constant so that the impact of wind could be examined independently. A representative sea state, defined by a significant wave height (Hs) of 3.5 m and a peak period (Tp) of 8.5 s, which occurs across all wind speed conditions at the offshore site, was selected for this analysis. Figure 9 presents the variation in one-hour fatigue damage of the hull as a function of mean wind speed for wind directions at 0°, 90°, and 180°, using data from eight points on cross-section 3 for the analysis.
As the mean wind speed increases from cut-in to cut-out, the mean aerodynamic thrust force initially rises, peaking at the rated condition, and then decreases due to the wind turbine’s control mechanisms as the speed approaches cut-out. However, the variations in aerodynamic loading continue to increase from cut-in to cut-out. This is attributed to the increase in wind speed’s standard deviation, as described by the empirical formula in the international standard IEC-61400-3-1 [30].
From cut-in to the rated condition, one-hour fatigue damage increases rapidly due to simultaneous rises in both the mean values and standard deviations of wind loads. A peak is observed under the rated condition, attributed to the significant variation in cross-sectional bending moment My, which is associated with the large floater’s pitch motion caused by the large wind loads [8]. In the range from rated to cut-out, fatigue damage initially decreases, followed by a subsequent increase. This behavior occurs because the mean values of bending moments induced by wind loads decrease while their standard deviations increase within this range. In the 90° direction, fatigue damage generally increases from cut-in to cut-out conditions. This is attributed to the bending moment Mz, which dominates the internal stress of the hull and is independent of the mean aerodynamic thrust force. Overall, one-hour fatigue damage is highly sensitive to variations in mean wind speed, with the most significant fatigue damage occurring around the rated and cut-out conditions.

6.3. Variation in Short-Term Fatigue Damage Due to Wave Loads

This section examines the variation in one-hour fatigue damage caused by wave loads on floating wind turbines (FWTs). The design load cases for FWTs encompass multiple wind speed conditions, and for each wind scenario, various wave conditions, characterized by the combination of Hs and Tp, must be considered. Figure 10 illustrates the variation in one-hour fatigue damage across different Hs and Tp conditions under various wind scenarios. The analysis is demonstrated using point 8 in cross-section 3 of the hull, while similar pattern occurs in other points and cross-sections. Three wind-wave directions 0°, 90°, and 180° are considered in the analysis.
Although the number of wave cases, specifically the combinations of Hs and Tp, differs significantly between the rated and parked conditions, the pattern of fatigue damage distribution across different Hs and Tp remains similar. Significant fatigue damage occurs under conditions of large Hs and relatively small Tp. The one-hour fatigue damage is highly sensitive to variations in both Hs and Tp. It increases straightforwardly with rising Hs, while it tends to increase with Tp for Tp < 8.5 s and decrease for Tp > 8.5 s, particularly under conditions of large Hs in the 0° and 180° directions. The significant variation in fatigue damage across different Tp values is primarily due to the large dynamic response of the bending moment caused by splitting or prying forces. As shown in Figure 10a for Hs = 3.5 m in the 0° and 180° directions, fatigue damage peaks at a Tp of approximately 8.5 s, as Tp varies from 6.5 s to 18.5 s. This peak corresponds to the response amplitude operator (RAO) peak of the cross-sectional bending moment My. A similar phenomenon is observed in the 90° direction and under parked wind conditions. A common observation in both rated and parked conditions is that fatigue damage increases rapidly as Tp approaches the critical value.
Additionally, Figure 10c presents the distribution of one-hour fatigue damage under full long-term wave conditions, encompassing all wind scenarios from cut-in to parked. The observed variation pattern and significant values associated with Hs and Tp are consistent with those found under individual wind conditions, such as rated and parked. This suggests that the distribution characteristics of one-hour fatigue damage related to wave conditions are largely independent of wind loads.

6.4. Influence of Statistical Uncertainty on Short-Term Fatigue Damage

This section analyzes the impact of the number of random wind and wave samples on the one-hour fatigue damage of the hull, considering three representative wind turbine conditions: rated, cut-out, and parked, with the most probable wave conditions considered. For each condition, ten random wind and wave samples are used to generate ten one-hour time series of wind speeds and wave elevations for coupled dynamic analysis of the FWT. Fatigue damage at point 8 in three cross-sections along the 180° direction is examined to illustrate the results. Figure 11 presents the percentage difference in one-hour fatigue damage across the three cross-sections with respect to the random sample numbers. The percentage difference is calculated by Equation (15).
P e r c e n t a g e   d i f f . % = ( f a t i g u e i b a s e l i n e ) b a s e l i n e × 100
where fatigue (i) represents one-hour fatigue damage under the ith sample wind and wave conditions for each wind turbine scenario. Baseline refers to the average one-hour fatigue damage across the ten random wind and wave conditions for each wind turbine scenario.
The results in Figure 11 demonstrate that random wind and wave samples significantly affect the short-term fatigue damage of FWT hulls. In this case, the maximum percentage differences in one-hour fatigue damage are approximately 50%, 18%, and 40% under rated, cut-out, and parked conditions, respectively. The influence varies across different cross-sections, with maximum differences between the three cross-sections reaching about 28%, 12%, and 24% under rated, cut-out, and parked conditions, respectively. It should be noted that the percentage differences across different samples and cross-sections vary depending on the specific wind turbine configurations and sea states. In addition, it is emphasized that the uncertainty in the long-term fatigue damage will be reduced due to cancelation of statistical uncertainty in the contribution of damage from different environmental conditions to the sum of damage.

6.5. Analysis of Full Long-Term Fatigue Damage in North Sea and China Sea

This section presents a comparative long-term fatigue analysis of the FWT hull for the six offshore sites. The aim is to show how the overall fatigue damage changes from one site to another and whether the same structural locations remain critical at different sites. Detailed descriptions of the environmental conditions and simulation load cases are provided in Section 5. The long-term fatigue damage is determined based on short-term fatigue damage and the corresponding occurrence probability of each load case. Figure 12 illustrates the probability of one-hour fatigue damage and 20-year fatigue damage of all the combined wind and wave conditions at Site 14 in North Sea. Fatigue damage at point 8 in cross-section 3 in the 180° direction is used to illustrate the results. The 20-year fatigue damage of each load case is calculated by:
D 20 y e a r ( U w , H s , T p ) = D 1 h ( U w , H s , T p ) P r o b . ( U w , H s , T p ) b i n U 10 b i n H s b i n T p
where b i n U 10 , b i n H s , and b i n T p represent the bin size of mean wind speed at 10 m height, significant wave height, and wave spectra peak period, which are 1.414 m/s, 1 m, and 1 s, respectively.
The environmental conditions with large probability are concentrated in Uw from 5 m/s to 13 m/s, Hs from 1 m to 4 m, and Tp from 7 s to 13 s. In contrast, large short-term fatigue damage occurs for Uw between the rated and cut-out, large Hs, and critical Tp approaching the RAO peaks of internal loads. The distributions of short-term fatigue damage and probability of the full load cases differ completely. The long-term fatigue damage is a product of the previous two terms, considering the volume of the probability, as illustrated in Formula (8). It is shown in Figure 12 that the long-term fatigue damage is more dependent on the probability, while less dependent on the short-term fatigue damage in the North Sea. The large values occur near the load cases at rated Uw, as well as highly probable Hs and Tp.
The 20-year fatigue damage is calculated by the sum of fatigue damage of all load cases. In this study, equal directional probabilities of 25% were assumed for 0°, 90°, 180°, and 270°, since site-specific directional occurrence data were not available. The purpose is to illustrate the methodology. The fatigue damage for each direction is provided in this paper. Once actual directional probabilities are available for a given offshore site, they can be combined with the directional fatigue results obtained here to give a site-specific long-term fatigue estimate. Since the hull structure is symmetrical along with the x-axis, the fatigue damage in 90° and 270° is the same. Therefore, the weighted value of 20-year fatigue damage is estimated by:
D ( w e i g h t e d   a v e r a g e ) = D ( 0 ° ) 0.25 + D ( 90 ° ) 0.5 + D ( 180 ° ) 0.25
Table 7 lists the 20-year fatigue damage for all the points in the three cross-sections of the FWT hull for 0°, 90°, and 180° wind-wave directions, where the Site 14 in North Sea [32] is taken as an example to illustrate the results.
First, the 20-year fatigue damage in the 90° direction is significantly smaller compared to the 0° and 180° directions, with the largest values generally observed in the 180° direction. Second, the 20-year fatigue damage across different points typically increases from cross-section 1 to cross-section 3. This trend is consistent with the findings from short-term in Section 6.1, as the probability distribution for the three directions is uniform. Third, the fatigue damage over the 20-year period is most pronounced at points 1, 2, and 8, which can be attributed to the combined effects of both axial force and bending moment (My) acting in the cross-sections. Similar features are also observed for the other five offshore sites [32], which are not presented here.
Figure 13 illustrates the 20-year weighted average fatigue damage for Point 8 across three cross-sections at six offshore sites. This point is taken as an example, and the trend is consistent for other points. Although the fatigue damage in the 180° direction is notably high, the overall weighted average remains moderate due to the lower fatigue damage observed in the 90° direction. The 20-year fatigue damage in cross-section 3 is approximately 30 times and 9 times higher than that of cross-sections 1 and 2, respectively, based on the average across the four corner points. Among the sites, Site 14 emerges as the most critical location for fatigue assessment in the North Sea, with fatigue damage approximately 2.4 times higher than at Site 1, the least critical offshore site, based on the average of the ratios at the four points. Sites 3, 5, and 15 exhibit moderate levels of fatigue damage in the North Sea. In comparison, the China Sea shows a similar level of fatigue damage to Site 14, which is higher than the fatigue damage at other North Sea sites. Overall, the overall long-term fatigue damage depends strongly on the offshore environment, while the most fatigue-critical structural region remains similar across the six sites.
The analysis is conducted for a structure with predefined dimensions. The scantlings are estimated based on a preliminary Ultimate Limit State (ULS) design check for the most critical section, cross-section 3, based on the most severe environmental conditions at North Sea Site 14. The pontoon dimensions are kept the same in the two other sections. The results indicate that the utilization of cross-section strength varies significantly along the pontoon, suggesting that a more optimal design could be achieved by adjusting the scantlings. The 20-year weighted average fatigue damage in cross-section 3 slightly exceeds a value of 1. Mitigation measures to satisfy the fatigue requirements are discussed in next section. However, it is important to emphasize that this study serves primarily as a comparative, screening-level nominal stress fatigue assessment aimed at demonstrating the methodology, rather than a full local fatigue design verification for the final structural design.

7. Discussion

The nominal-stress results presented above provide a basis for further discussion of the fatigue behavior of the pontoon structure. The discussion below focuses on the engineering interpretation of these results, the factors not explicitly included in the present screening-level assessment, and their possible implications for more detailed fatigue design checks. The methodology is applied in a case study to illustrate the comparative fatigue assessment of a semi-submersible floating wind turbine under different environmental conditions. Final fatigue design checks should be based on hot-spot stresses with appropriate SCFs for the actual welded details.
The dimensions of the hull are determined to fulfill the ULS requirements at Site 14 in the North Sea. The focus herein is on the pontoons.
The fatigue analysis is based on the nominal scantlings resulting from the ULS design check. Moreover, the reference welded joint used in the analysis is assumed to be the SN-curve D and SCF = 1.0. Unidirectional wind and wave from 4 directions are considered to be the default case.
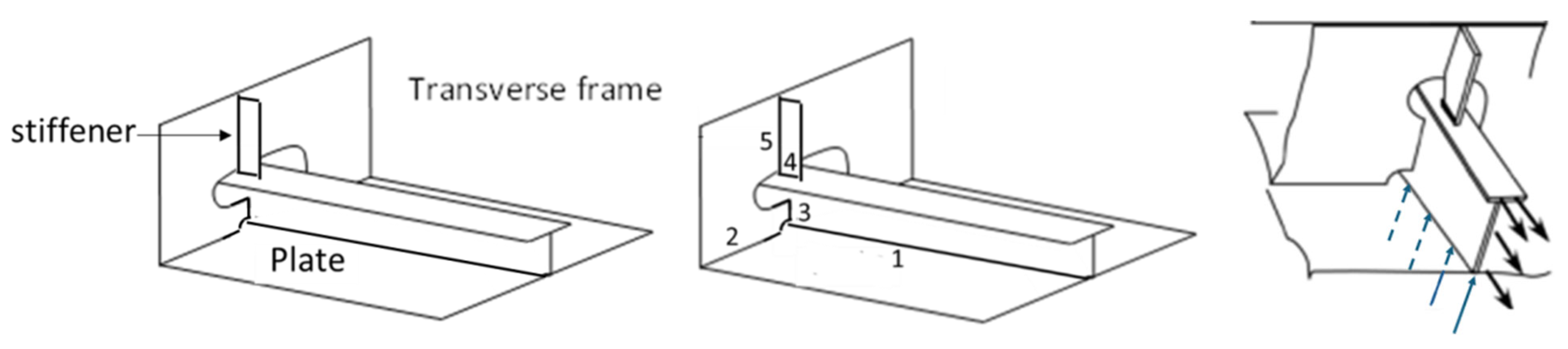
The results show a significant variation in the fatigue damage in the pontoon cross-sections 1 and 2 vs. 3. D-type joints in cross-section 3 do not fulfill fatigue requirements even with a Fatigue Damage Factor (FDF) = 1.0. Moreover, there might be welded joints with an SN-curve of category F and lower. Typical welded joints in the pontoons are:
  • Butt welds joining plate elements (joint category C or less depending on fabrication features)
  • Filet welds at locations 1–5 in Figure 14 (essentially joint category E-W3, depending on stress direction and fabrication features, but also C for joint 1).
The stresses in the pontoon are caused by global behavior of the pontoons (as beams) as well as by lateral pressure that causes bending in the pontoon plates and longitudinal stiffeners. Additionally, a shear transfer occurs in the vertical components that support the longitudinal stiffeners on the transverse frames/bulkheads. The stiffeners are supported by the transverse frame, which may induce additional local stresses in the stiffeners or lugs, etc.
Moreover, there might be stress concentrations above SCF = 1.0 relative to the nominal stress used in the fatigue analysis and the defined stress associated with the SN-curve. In particular, there will be a significant stress concentration at the column–pontoon connection, e.g., for the geometry shown in Figure 15.
In some locations, notably in the column–pontoon connection regions, local strengthening of the design, would be necessary to fulfill the fatigue design requirements. This effort might include using additional plates, increased plate thickness or using cast components, e.g., in re-entrant corners. Cast joints involve base material and an SN-curve C. Moreover, casting allows manufacturing a component with smoother geometry (lower SCF). The SCF is defined as the ratio of stress at the given location (accounting for possible modified plate thickness compared to the nominal dimension used in the fatigue analysis).
It is noted that SN-curves of categories E, F, etc., represent SN curve with an SCF of 1.13 and 1.27, respectively, relative to the D-curve. These SN-curves are bi-linear in log scale with slope 1/m of 1/3 and 1/5, respectively. For an SN-curve with slope 1/m in a log scale, the fatigue damage is proportional to sm, where s is the stress range. Therefore, if a local SCF is applied to the stress range, the corresponding fatigue damage scales approximately with SCFm. Due to the bi-linear feature of the actual SN-curve, the effect of the SCF is between SCF3 and SCF5, depending on the magnitude of s, or, equivalently, whether the fatigue damage is large and small, respectively. For instance, when the damage D = 1.0 (for the SN- D-curve), the dominant contribution of the fatigue damage comes from the segment with m = 3. A quantitative sensitivity study of different S–N classes and SCF values is not included here, since the present paper focuses on a screening-level nominal-stress fatigue assessment. This should be addressed in a more detailed local fatigue assessment.
It is noted that the dynamic pressure is relatively small compared to the static pressure on the pontoons. SCF > 1.0 for joints 3, 5 for local pressure loads and joint 4 under longitudinal axial stress.

8. Conclusions and Recommendations for Future Work

This study presents a time-domain methodology for nominal stress-based fatigue assessment of semi-submersible hulls of floating wind turbines (FWTs), using a 10-MW semi-submersible FWT as a case study. The main objective is to gain new insights into the distribution of fatigue damage across various locations on the hull structure at different offshore sites, thereby supporting the structural design optimization. Another aim is to provide a time-domain analysis procedure for fatigue estimate and establish a foundation for developing simplified approach with improved computational efficiency. The scantlings of the floater are determined based on the Ultimate Limit State design check based on the most severe offshore site in the North Sea—Site 14.
A general fatigue assessment methodology is described, encompassing fatigue mechanisms, the SN-curve approach, design principles, and criteria. A detailed procedure for fatigue analysis is demonstrated through the case study, which includes coupled dynamic analysis of the FWT, internal load calculation for the hull, time-domain stress analysis, short-term fatigue damage estimation, and long-term fatigue damage evaluation. The analysis accounts for full long-term environmental conditions at five offshore sites in the Northern North Sea and one offshore site in the South China Sea, involving 10,182 one-hour time-domain simulations across three wind-wave directions. Detailed analysis of short-term and long-term fatigue damage of the hull is carried out, focusing on the influence of wind and wave loads as well as the probability distribution of load cases. Full long-term fatigue damage at the six offshore sites is comprehensively assessed, with a focus on identifying variations across different cross-sections and offshore sites. The main conclusions of this study are summarized as follows:
  • Both short-term and long-term fatigue damage exhibit higher values when the FWT is subjected to wind and wave loads from the 180° direction. Additionally, fatigue damage tends to increase from the pontoon areas near the side column towards the central column.
  • In short-term fatigue damage, low stress ranges correspond to a high number of cycles but contribute minimally to overall fatigue damage. Conversely, high stress ranges occur with significantly fewer cycles but make a substantial contribution to fatigue damage.
  • Short-term fatigue damage is highly sensitive to variations in mean wind speed, with significant damage occurring at rated and near cut-out conditions.
  • Significant short-term fatigue damage occurs at high significant wave heights and critical peak wave periods, which correspond to the splitting or prying loads on the floater. The distribution pattern of short-term fatigue damage related to wave conditions is largely independent of wind loads.
  • Random wind and wave samples have significant impact on short-term fatigue damage. In this case study, the maximum percentage difference in one-hour fatigue damage reaches approximately 50% when comparing results from one to ten samples throughout conditions ranging from cut-in to parked. However, in long-term fatigue damage assessment, small sample sizes have less impact, as statistical uncertainty is mitigated by the offsetting effects of different environmental conditions.
  • When the pontoon dimensions remain consistent across all cross-sections, cross-section 3 of the 10-MW floater exhibits approximately 30 times and 9 times higher long-term fatigue damage than cross-sections 1 and 2, respectively, when averaging the 0°, 90°, 180°, and 270° wind/wave directions. The results further show that the D-type joints in cross-section 3 do not meet the fatigue requirement even when Fatigue Damage Factor (FDF) = 1.0 is used. This indicates that the column–pontoon connection is the most fatigue-critical region in the present study, and that local strengthening or design improvement may be needed in this area.
  • Among the offshore sites considered, the most critical site gives approximately 2.4 times the long-term fatigue damage of the least critical site in the North Sea. The China Sea also gives a similar 20-year fatigue damage to that of the most critical North Sea site.
In conclusion, the proposed methodology provides an effective screening-level approach for estimating long-term fatigue damage in floating wind turbine hull structures. The study shows a clear variation in cross-section strength utilization along the pontoon, which is useful for future floater optimization through improved material distribution. The 20-year fatigue damage at the pontoon cross-section near the central column exceeds the acceptance criterion, and possible mitigation measures are discussed.
The present study has three main limitations. First, the fatigue assessment is based on global/nominal stresses in the pontoons. Second, the effects of lateral pressure are not explicitly included. Third, local stress concentration at welded details and detailed hot-spot stress conditions are not resolved. The reported fatigue damage should therefore be regarded as nominal reference values.
For final fatigue design checks, future work should extend the present framework in these directions, including explicit consideration of lateral pressure effects, hot-spot stress assessment with realistic SCFs, and more detailed local stress analysis at the pontoon-central column connection, including two-dimensional stress conditions at the hot-spot locations.

Author Contributions

Conceptualization, S.G., S.W., T.M. and Z.G.; methodology, S.W., T.M. and Z.G.; software, S.W.; validation, S.W.; formal analysis, S.G., S.W., T.M. and Z.G.; investigation, S.W., T.M. and Z.G.; resources, S.G.; writing—original draft preparation, S.W. and T.M.; writing—review and editing, S.G., S.W., T.M. and Z.G.; visualization, S.G., S.W., T.M. and Z.G.; supervision, T.M.; project administration, T.M.; funding acquisition, S.G. All authors have read and agreed to the published version of the manuscript.

Funding

This research was funded by the National Natural Science Foundation of China, grant number 52571315; the Open Fund of State Key Laboratory of Coastal and Offshore Engineering, grant number LP2503; and the National Natural Science Foundation of China (NSFC), grant number 52250710156.

Data Availability Statement

The original contributions presented in this study are included in the article. Further inquiries can be directed to the corresponding author.

Conflicts of Interest

Author Shan Gao was employed by the Powerchina Huadong Engineering Corporation Limited. The remaining authors declare that the research was conducted in the absence of any commercial or financial relationships that could be construed as a potential conflict of interest.

References

  1. Wang, J.; Ren, Y.; Shi, W.; Collu, M.; Vengatesan, V.; Li, X. Multi-objective optimization design for a 15 MW semisubmersible floating offshore wind turbine using evolutionary algorithm. Appl. Energy 2025, 377, 124533. [Google Scholar] [CrossRef]
  2. Rappe, V.; Hectors, K.; Ong, M.C.; De Waele, W. An engineering method for structural analysis of semisubmersible floating offshore wind turbine substructures. J. Mar. Sci. Eng. 2025, 13, 1630. [Google Scholar] [CrossRef]
  3. Vittori, F.; Azcona, J.; Eguinoa, I.; Pires, O.; Rodríguez, A.; Morató, Á.; Garrido, C.; Desmond, C. Model tests of a 10 MW semi-submersible floating wind turbine under waves and wind using hybrid method to integrate the rotor thrust and moments. Wind Energy Sci. 2022, 7, 2149–2161. [Google Scholar] [CrossRef]
  4. Otter, A.; Murphy, J.; Pakrashi, V.; Robertson, A.; Desmond, C. A review of modelling techniques for floating offshore wind turbines. Wind Energy 2022, 25, 831–857. [Google Scholar] [CrossRef]
  5. Rui, S.; Zhou, Z.; Jostad, H.P.; Bachynski-Polić, E.; Sævik, S.; Ran, X.; Wang, L.; Guo, Z. Dynamic analysis of 15 MW IEA floating wind turbine with modeling of embedded chain-seabed interaction. Mar. Struct. 2026, 108, 104043. [Google Scholar] [CrossRef]
  6. Robertson, A.N.; Wendt, F.; Jonkman, J.M.; Popko, W.; Dagher, H.; Gueydon, S.; Qvist, J.; Vittori, F.; Azcona, J.; Uzunoglu, E.; et al. OC5 project phase II: Validation of global loads of the DeepCwind floating semisubmersible wind turbine. Energy Procedia 2017, 137, 38–57. [Google Scholar] [CrossRef]
  7. Bergua, R.; Wiley, W.; Robertson, A.; Jonkman, J.; Brun, C.; Pineau, J.-P.; Qian, Q.; Maoshi, W.; Beardsell, A.; Cutler, J.; et al. OC6 project phase IV: Validation of numerical models for novel floating offshore wind support structures. Wind Energy Sci. 2024, 9, 1025–1051. [Google Scholar] [CrossRef]
  8. Wang, S.; Moan, T.; Gao, Z. Methodology for global structural load effect analysis of the semi-submersible hull of floating wind turbines under still water, wind, and wave loads. Mar. Struct. 2023, 91, 103463. [Google Scholar] [CrossRef]
  9. Luan, C.; Gao, Z.; Moan, T. Development and verification of a time-domain approach for determining forces and moments in structural components of floaters with an application to floating wind turbines. Mar. Struct. 2017, 51, 87–109. [Google Scholar] [CrossRef]
  10. Ma, Y.; Chen, P.; Yang, C.; Cheng, Z.; Xiao, L. Development and experimental validation of an FBG-based substructure cross-sectional load measurement approach for a semi-submersible floating wind turbine. Eng. Struct. 2024, 303, 117527. [Google Scholar] [CrossRef]
  11. Ma, Y.; Deng, S.; Wang, S.; Chen, P.; Zhao, W.; Cheng, Z. An experimental study on global motions and structural internal loads of a 5 MW floating wind turbine supported on a multi-segment semi-submersible hull in shallow water. Mar. Struct. 2024, 95, 103582. [Google Scholar] [CrossRef]
  12. Hegseth, J.M.; Bachynski, E.E. A semi-analytical frequency domain model for efficient design evaluation of spar floating wind turbines. Mar. Struct. 2019, 64, 186–210. [Google Scholar] [CrossRef]
  13. Chen, P.; Cheng, Z.; Deng, S.; Hu, Z.; Moan, T. A frequency domain method for fully coupled modelling and dynamic analysis of floating wind turbines. Mar. Struct. 2025, 99, 103715. [Google Scholar] [CrossRef]
  14. Li, B.; Shi, H.; Rong, K.; Geng, W.; Wu, Y. Fatigue life analysis of offshore wind turbine under the combined wind and wave loadings considering full-directional wind inflow. Ocean Eng. 2023, 281, 114719. [Google Scholar] [CrossRef]
  15. Xi, Y.; Li, H.; Sun, L.; Wang, Z. Extreme load extrapolation and long-term fatigue assessment of offshore wind turbine tower based on monitoring data. Ocean Eng. 2024, 300, 117180. [Google Scholar] [CrossRef]
  16. Zhang, X.-L.; Zhang, B.-J.; Wang, D.; Xu, C.-S. Fatigue damage analysis method of offshore wind turbine foundation. Ocean Eng. 2024, 302, 117618. [Google Scholar] [CrossRef]
  17. Kvittem, M.I.; Moan, T. Time domain analysis procedures for fatigue assessment of a semi-submersible wind turbine. Mar. Struct. 2015, 40, 38–59. [Google Scholar] [CrossRef]
  18. Zhu, F.; Yeter, B.; Brennan, F.; Collu, M. Time-domain fatigue reliability analysis for floating offshore wind turbine substructures using coupled nonlinear aero-hydro-servo-elastic simulations. Eng. Struct. 2024, 318, 118759. [Google Scholar] [CrossRef]
  19. Dike, O.P.; Vaziri, V.; Kapitaniak, M. Effect of members and local joints flexibilities on the dynamic and fatigue response of semi-submersible platforms for floating offshore wind turbines. Mar. Struct. 2026, 107, 103993. [Google Scholar] [CrossRef]
  20. Mei, X.; Xiong, M. Effects of second-order hydrodynamics on the dynamic responses and fatigue damage of a 15 MW floating offshore wind turbine. J. Mar. Sci. Eng. 2021, 9, 1232. [Google Scholar] [CrossRef]
  21. Bai, H.; Zhang, M.; Li, W.; Xu, K.; Li, H. Calibration of wave-induced high-frequency dynamic response and its effects on the fatigue damage of floating offshore wind turbine. Ocean Eng. 2024, 309, 118405. [Google Scholar] [CrossRef]
  22. Wang, S.; Moan, T.; Gao, Z.; Gao, S. An efficient approach for time-domain fatigue analysis for semi-submersible hulls of floating wind turbines. Mar. Struct. 2026, 106, 103955. [Google Scholar] [CrossRef]
  23. Pegalajar-Jurado, A.; Bredmose, H.; Borg, M.; Straume, J.G.; Landbø, T.; Andersen, H.S.; Yu, W.; Müller, K.; Lemmer, F. State-of-the-art model for the LIFES50+ OO-Star Wind Floater Semi 10MW floating wind turbine. J. Phys. Conf. Ser. 2018, 1104, 012024. [Google Scholar] [CrossRef]
  24. Luan, C.; Gao, Z.; Moan, T. Design and analysis of a braceless steel 5-MW semi-submersible wind turbine. In Proceedings of the ASME 2016 35th International Conference on Ocean, Offshore and Arctic Engineering (OMAE2016), Busan, Republic of Korea, 19–24 June 2016. [Google Scholar] [CrossRef]
  25. Li, W.; Wang, S.; Moan, T.; Gao, Z.; Gao, S. Global design methodology for semi-submersible hulls of floating wind turbines. Renew. Energy 2024, 225, 120291. [Google Scholar] [CrossRef]
  26. Bak, C.; Zahle, F.; Bitsche, R.; Kim, T.; Yde, A.; Henriksen, L.C.; Hansen, M.H.; Blasques, J.P.A.A.; Gaunaa, M.; Natarajan, A. The DTU 10-MW Reference Wind Turbine. In Danish Wind Power Research 2013; Danish Research Consortium for Wind Energy: Fredericia, Denmark, 2013. [Google Scholar]
  27. DNV-RP-C203; Fatigue Design of Offshore Steel Structures. DNV: Høvik, Norway, 2019; amended 2021.
  28. DNV-ST-0119; Floating Wind Turbine Structures. DNV: Høvik, Norway, 2021.
  29. IEC 61400-3-2; Wind Energy Generation Systems—Part 3-2: Design Requirements for Floating Offshore Wind Turbines. IEC: Geneva, Switzerland, 2019.
  30. IEC 61400-3-1; Wind Energy Generation Systems—Part 3-1: Design Requirements for Fixed Offshore Wind Turbines. IEC: Geneva, Switzerland, 2019.
  31. Wang, S.; Moan, T. Methodology of load effect analysis and ultimate limit state design of semi-submersible hulls of floating wind turbines: With a focus on floater column design. Mar. Struct. 2024, 93, 103526. [Google Scholar] [CrossRef]
  32. Li, L.; Gao, Z.; Moan, T. Joint distribution of environmental condition at five European offshore sites for design of combined wind and wave energy devices. J. Offshore Mech. Arct. Eng. 2015, 137, 031901. [Google Scholar] [CrossRef]
  33. Luan, C.; Moan, T. On short-term fatigue analysis for wind turbine tower of two semi-submersible wind turbines including effect of startup and shutdown processes. J. Offshore Mech. Arct. Eng. 2021, 143, 012003. [Google Scholar] [CrossRef]
  34. Haid, L.; Stewart, G.; Jonkman, J.; Robertson, A.; Lackner, M.; Matha, D. Simulation-length requirements in the loads analysis of offshore floating wind turbines. In Proceedings of the ASME 2013 32nd International Conference on Ocean, Offshore and Arctic Engineering (OMAE2013), Nantes, France, 9–14 June 2013. [Google Scholar] [CrossRef]
  35. Zwick, D.; Muskulus, M. The simulation error caused by input loading variability in offshore wind turbine structural analysis. Wind Energy 2015, 18, 1421–1432. [Google Scholar] [CrossRef]
Figure 1. Sketch of the 10-MW semi-submersible hull. (a) Main view; (b) Top view [24].
Figure 1. Sketch of the 10-MW semi-submersible hull. (a) Main view; (b) Top view [24].
Jmse 14 00692 g001
Figure 2. Flowchart of the time-domain nominal stress-based fatigue assessment procedure.
Figure 2. Flowchart of the time-domain nominal stress-based fatigue assessment procedure.
Jmse 14 00692 g002
Figure 3. A multibody modeling approach of semi-submersible hulls for coupled dynamic analysis under simultaneous wind and wave loads. (a) Fully coupled numerical model; (b) multibody floater model [5].
Figure 3. A multibody modeling approach of semi-submersible hulls for coupled dynamic analysis under simultaneous wind and wave loads. (a) Fully coupled numerical model; (b) multibody floater model [5].
Jmse 14 00692 g003
Figure 4. Comparisons of internal forces and moment in the cross-section 3 in a rated load case between SIMA and WASIM.
Figure 4. Comparisons of internal forces and moment in the cross-section 3 in a rated load case between SIMA and WASIM.
Jmse 14 00692 g004
Figure 5. A sketch of pontoon cross-section of the semi-submersible hull.
Figure 5. A sketch of pontoon cross-section of the semi-submersible hull.
Jmse 14 00692 g005
Figure 6. Sketch of wind and wave directions and three cross-sections of the hull.
Figure 6. Sketch of wind and wave directions and three cross-sections of the hull.
Jmse 14 00692 g006
Figure 7. Comparison of stress range-cycle distribution and the contribution of each stress bin to fatigue damage for (a) different wind-wave directions and (b) different cross-sections in the rated condition (Uw = 11 m/s).
Figure 7. Comparison of stress range-cycle distribution and the contribution of each stress bin to fatigue damage for (a) different wind-wave directions and (b) different cross-sections in the rated condition (Uw = 11 m/s).
Jmse 14 00692 g007aJmse 14 00692 g007b
Figure 8. Comparison of normal stresses in the time and frequency domains for different wind-wave directions and cross-sections under rated condition (Uw = 11 m/s). (a) Comparison between three wind-wave directions. (b) Comparison between three cross-sections.
Figure 8. Comparison of normal stresses in the time and frequency domains for different wind-wave directions and cross-sections under rated condition (Uw = 11 m/s). (a) Comparison between three wind-wave directions. (b) Comparison between three cross-sections.
Jmse 14 00692 g008
Figure 9. Variation in one-hour fatigue damage as a function of mean wind speeds, with Hs = 3.5 m and Tp = 8.5 s, for different wind-wave directions. (a) Direction 0°. (b) Direction 90°. (c) Direction 180°.
Figure 9. Variation in one-hour fatigue damage as a function of mean wind speeds, with Hs = 3.5 m and Tp = 8.5 s, for different wind-wave directions. (a) Direction 0°. (b) Direction 90°. (c) Direction 180°.
Jmse 14 00692 g009
Figure 10. Variation in one-hour fatigue damage with respect to significant wave height (Hs) and peak wave period (Tp) for rated, parked, and all wind load cases (color bar values represent one-hour fatigue damage). (a) Under rated condition (11 m/s). (b) Under parked condition (27 m/s). (c) Under parked condition (27 m/s).
Figure 10. Variation in one-hour fatigue damage with respect to significant wave height (Hs) and peak wave period (Tp) for rated, parked, and all wind load cases (color bar values represent one-hour fatigue damage). (a) Under rated condition (11 m/s). (b) Under parked condition (27 m/s). (c) Under parked condition (27 m/s).
Jmse 14 00692 g010
Figure 11. Variation in one-hour fatigue damage with respect to random wind and wave samples. (a) Rated (11 m/s). (b) Cut-out (25 m/s). (c) Parked (29 m/s).
Figure 11. Variation in one-hour fatigue damage with respect to random wind and wave samples. (a) Rated (11 m/s). (b) Cut-out (25 m/s). (c) Parked (29 m/s).
Jmse 14 00692 g011
Figure 12. Distributions of probability, short-term fatigue damage and long-term fatigue damage of all combined wind and wave conditions in the180° direction at the Site 14 in North Sea.
Figure 12. Distributions of probability, short-term fatigue damage and long-term fatigue damage of all combined wind and wave conditions in the180° direction at the Site 14 in North Sea.
Jmse 14 00692 g012
Figure 13. Twenty-year weighted average fatigue damage for Point 8 across three cross-sections at six offshore sites (the trend for different points is the same).
Figure 13. Twenty-year weighted average fatigue damage for Point 8 across three cross-sections at six offshore sites (the trend for different points is the same).
Jmse 14 00692 g013
Figure 14. Typical welded joints in the pontoons.
Figure 14. Typical welded joints in the pontoons.
Jmse 14 00692 g014
Figure 15. Side column–pontoon connection. (a) Alternative side column–pontoon connections. (b) Sketch of internal structure in (A2).
Figure 15. Side column–pontoon connection. (a) Alternative side column–pontoon connections. (b) Sketch of internal structure in (A2).
Jmse 14 00692 g015
Table 1. Main parameters of the DTU 10-MW reference wind turbine [26].
Table 1. Main parameters of the DTU 10-MW reference wind turbine [26].
ParameterValue
Rated power10-MW
TypeUpwind, three blades
ControlVariable speed, collective pitch
Cut-in, rated, and cut-out wind speed (m/s)4, 11.4, 25
Minimum and maximum rotor speed (rpm)6.0, 9.6
Maximum generator speed (rpm)480
Rotor diameter (m)178.3
Hub height from mean water level (m)119.0
Rotor mass (kg)227,962
Nacelle mass (kg)446,036
Tower mass (kg)1.257 × 106
Note: the tower mass in this table is based on the modified properties for the FWT.
Table 2. Main parameters of the semi-submersible hull [24,25].
Table 2. Main parameters of the semi-submersible hull [24,25].
ParameterValue
Water depth (m)93
Draft (m)22
Displacement (kg)2.335 × 107
Outer column freeboard (m)11
Outer column diameter, length (m)10.5, 26
Top and bottom diameters, length of the round table part in the central column (m)12.05, 16.2, 17.775
Diameter, length of the cylinder part of the central column (m)12.05, 8.225
Pontoon width, height (m)16, 7
Mooring systemThree catenary chain lines
Natural periods in surge, sway, heave, roll, pitch, yaw (s)88.56, 88.56, 24.09, 28.25, 28.25, 69.72
Table 3. D-type SN-curve parameters for the pontoon of the semi-submersible hull.
Table 3. D-type SN-curve parameters for the pontoon of the semi-submersible hull.
N ≤ 106 CyclesN > 106 CyclesStress Range at 106 Cycleskt t r e f
m l o g a m l o g a 83.3681 MPa0.2025 mm25 mm
3.011.7645.015.606
Table 4. Parameters of distributions of f U w u , f H s | U w h u , and f T p | H s ( t | h ) for six offshore sites.
Table 4. Parameters of distributions of f U w u , f H s | U w h u , and f T p | H s ( t | h ) for six offshore sites.
DistributionParameterEquationSite 1Site 3Site 5Site 14Site 15China
f U w u α U (8)2.2622.0022.0502.2092.2992.280
β U (8)7.6357.8667.8599.4098.9207.240
f H s | U w h u a 1 (10)1.8941.6432.0442.1361.7551.210
a 2 (10)0.0120.0930.0340.0130.1841 × 10−5
a 3 (10)1.7411.0001.3751.7091.0004.220
b 1 (11)0.9291.9691.3231.8160.534−0.270
b 2 (11)0.0240.0310.0320.0240.0700.540
b 3 (11)1.8271.6441.7571.7871.4350.830
f T p | H s ( t | h ) c 1 (13)1.9002.0082.0041.8861.587−2.8 × 10−3
c 2 (13)0.4290.3630.3210.3650.2221.960
c 3 (13)0.2720.2950.3320.3120.6740.120
d 1 (14)0.0010.0010.0010.0010.0080.610
d 2 (14)0.2050.0680.1030.1050.227−0.580
d 3 (14)−0.487−0.300−0.285−0.264−0.9560.0052
Table 5. Number of load cases, total probabilities, and number of one-hour simulations of the six offshore sites for fatigue assessment.
Table 5. Number of load cases, total probabilities, and number of one-hour simulations of the six offshore sites for fatigue assessment.
Offshore SiteNum. of Load CasesTotal Prob.Num. of Simulations
Site 15661.001698
Site 36260.981878
Site 56030.981809
Site 147090.972127
Site 154870.971461
China Sea4030.981209
Table 6. One-hour fatigue damage in three cross-sections of the hull in 0°, 90°, and 180° wind-wave directions.
Table 6. One-hour fatigue damage in three cross-sections of the hull in 0°, 90°, and 180° wind-wave directions.
Load Case: Uw = 7 m/s, Hs = 1.5 m, Tp = 9.5 s
Direction90°180°
LocationCross1Cross2Cross3Cross1Cross2Cross3Cross1Cross2Cross3
Point63.78 × 10−98.20 × 10−91.39 × 10−76.70 × 10−106.86 × 10−102.83 × 10−95.88 × 10−92.84 × 10−84.91 × 10−7
Point88.65 × 10−91.88 × 10−82.54 × 10−71.25 × 10−96.01 × 10−101.64 × 10−91.66 × 10−85.70 × 10−86.76 × 10−7
Load case: Uw = 11 m/s, Hs = 2.5 m, Tp = 10.5 s
Direction90°180°
LocationCross1Cross2Cross3Cross1Cross2Cross3Cross1Cross2Cross3
Point64.97 × 10−81.54 × 10−73.55 × 10−61.61 × 10−81.66 × 10−87.38 × 10−81.85 × 10−72.02 × 10−62.55 × 10−5
Point81.06 × 10−73.04 × 10−75.13 × 10−64.76 × 10−82.04 × 10−83.52 × 10−84.01 × 10−73.61 × 10−63.05 × 10−5
Load case: Uw = 25 m/s, Hs = 5.5 m, Tp = 11.5 s
Direction90°180°
LocationCross1Cross2Cross3Cross1Cross2Cross3Cross1Cross2Cross3
Point62.53 × 10−64.01 × 10−62.87 × 10−56.55 × 10−78.24 × 10−72.79 × 10−64.10 × 10−69.03 × 10−68.20 × 10−5
Point85.95 × 10−68.27 × 10−64.69 × 10−55.65 × 10−74.58 × 10−71.41 × 10−68.49 × 10−61.86 × 10−51.18 × 10−4
Load case: Uw = 29 m/s, Hs = 6.5 m, Tp = 12.5 s
Direction90°180°
LocationCross1Cross2Cross3Cross1Cross2Cross3Cross1Cross2Cross3
Point64.29 × 10−64.13 × 10−61.38 × 10−57.52 × 10−71.18 × 10−63.25 × 10−63.59 × 10−64.90 × 10−63.33 × 10−5
Point89.26 × 10−68.91 × 10−62.63 × 10−52.19 × 10−73.61 × 10−71.47 × 10−67.59 × 10−61.06 × 10−55.44 × 10−5
Note: The values marked in red correspond to the one-hour fatigue damage results shown in Figure 7.
Table 7. Twenty-year fatigue damage in three cross-sections of the pontoon (upwind) for 0°, 90°, and 180° wind-wave directions at the Site 14 in the Northern North Sea.
Table 7. Twenty-year fatigue damage in three cross-sections of the pontoon (upwind) for 0°, 90°, and 180° wind-wave directions at the Site 14 in the Northern North Sea.
Dir.90°180°Weighted Average
Loc.CS1CS2CS3CS1CS2CS3CS1CS2CS3CS1CS2CS3
Point10.080.151.290.000.000.020.150.564.540.060.181.47
Point20.110.181.330.010.010.040.180.574.530.080.191.48
Point30.000.000.000.000.000.000.000.000.000.000.000.00
Point40.050.090.870.020.010.040.100.373.470.050.121.10
Point50.040.080.860.000.010.030.070.323.410.030.101.08
Point60.050.090.880.020.020.050.090.323.400.040.111.10
Point70.000.000.000.000.000.000.000.000.000.000.000.00
Point80.110.171.300.010.010.020.190.644.600.080.211.49
Note: CS: Cross-section.
Disclaimer/Publisher’s Note: The statements, opinions and data contained in all publications are solely those of the individual author(s) and contributor(s) and not of MDPI and/or the editor(s). MDPI and/or the editor(s) disclaim responsibility for any injury to people or property resulting from any ideas, methods, instructions or products referred to in the content.

Share and Cite

MDPI and ACS Style

Gao, S.; Wang, S.; Moan, T.; Gao, Z. A Time-Domain Methodology for Nominal Stress-Based Fatigue Assessment of Semi-Submersible Floating Wind Turbine Hulls at Different Offshore Sites. J. Mar. Sci. Eng. 2026, 14, 692. https://doi.org/10.3390/jmse14080692

AMA Style

Gao S, Wang S, Moan T, Gao Z. A Time-Domain Methodology for Nominal Stress-Based Fatigue Assessment of Semi-Submersible Floating Wind Turbine Hulls at Different Offshore Sites. Journal of Marine Science and Engineering. 2026; 14(8):692. https://doi.org/10.3390/jmse14080692

Chicago/Turabian Style

Gao, Shan, Shuaishuai Wang, Torgeir Moan, and Zhen Gao. 2026. "A Time-Domain Methodology for Nominal Stress-Based Fatigue Assessment of Semi-Submersible Floating Wind Turbine Hulls at Different Offshore Sites" Journal of Marine Science and Engineering 14, no. 8: 692. https://doi.org/10.3390/jmse14080692

APA Style

Gao, S., Wang, S., Moan, T., & Gao, Z. (2026). A Time-Domain Methodology for Nominal Stress-Based Fatigue Assessment of Semi-Submersible Floating Wind Turbine Hulls at Different Offshore Sites. Journal of Marine Science and Engineering, 14(8), 692. https://doi.org/10.3390/jmse14080692

Note that from the first issue of 2016, this journal uses article numbers instead of page numbers. See further details here.

Article Metrics

Back to TopTop