Experimental Study on Prediction for Combustion Optimal Control of Oil-Fired Boilers of Ships Using Color Space Image Feature Analysis and Support Vector Machine
Abstract
:1. Introduction
- Analysis and evaluation of the color spectrum of flame images using changes in the combustion equivalence ratio.
- Introduction of a spectrum feature extraction filter utilizing color modulation techniques.
- Comparison of SVM learning rates for flame images based on different color transformation techniques.
- Generalization validation using a new dataset.
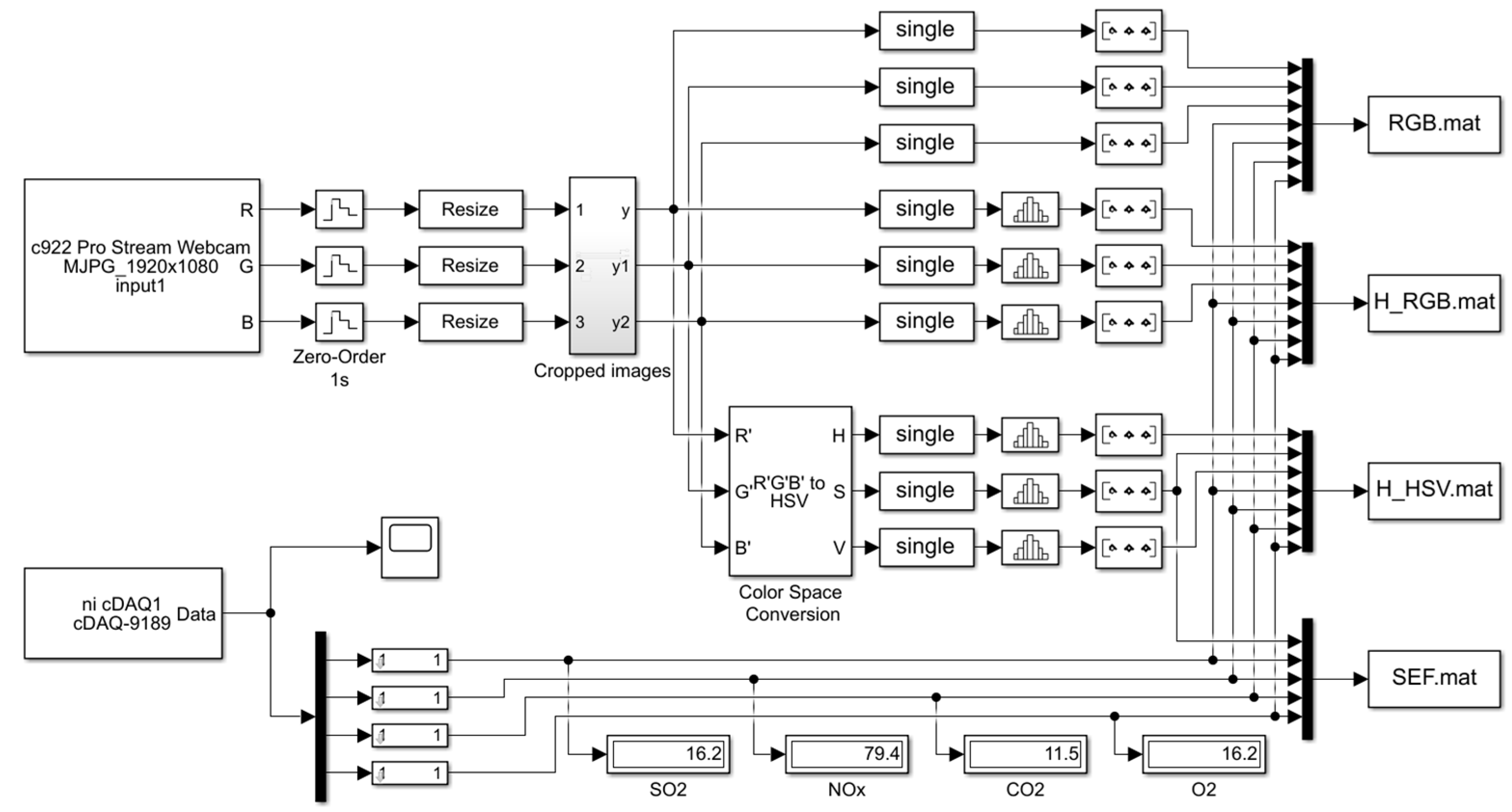
2. Boiler Description and Set-Up of Experiment
2.1. OFB Combustion System
2.2. Data Acquisition System for OFB
2.3. Variations in CER Based on Linkage Control
3. Analysis of Collected Data
3.1. Exhaust Gas Data
3.2. Collection of Flame Images
4. Color Space Conversion of Flame Images
4.1. RGB, YCbCr Space, and HSV Space
4.1.1. RGB
4.1.2. YcbCr
4.1.3. HSV
4.2. Color Space Analysis for Image Feature Extraction
4.3. Saturation Extraction Filter (SEF) for Image Feature Extraction
5. Comparison of Prediction Accuracy and Results
5.1. Constructing the Dataset
5.2. Model of Prediction
5.3. Performance Evaluation
- the number of predicted and actual values;
- = actual values;
- predicted values.
5.4. Training of Prediction Model
5.5. Generalization Verification
6. Conclusions
Author Contributions
Funding
Institutional Review Board Statement
Informed Consent Statement
Data Availability Statement
Acknowledgments
Conflicts of Interest
Nomenclature
| Nitrogen oxides | |
| Sulfur oxides | |
| Sulfur dioxides | |
| Carbon dioxide | |
| Carbon monoxide | |
| Oxygen | |
| Nitrogen | |
| Surfur | |
| Carbon | |
| Nitrogen molecule | |
| Water | |
| R | Red |
| G | Green |
| B | Blue |
| Y | Luminance |
| Cb | Differences between blue and luminance |
| Cr | Differences between red and luminance |
| H | Hue |
| S | Saturion |
| V | Value |
| L1~L6 | Linkage 1~6 |
| The number of predicted and actual values | |
| Actual values | |
| Predicted values | |
| The average of the Actual values | |
| Greek symbols | |
| Mol of air | |
| Mol of Unreacted | |
| The concentration of the exhaust gas | |
| The ratio of moles of to the total moles of combustion products | |
| The theoretical amount of air required | |
| Average | |
| Variance | |
| Index | |
| SCR | Selective catalytic reduction |
| CFB | Coal-fired boiler |
| GFB | Gas-fired boiler |
| OFB | Oil-fired boiler |
| CMOS | Complementary metal-oxide-semiconductor |
| CCD | Charge-coupled device |
| SEF | Saturation extraction filter |
| EGCs | Exhaust gas components |
| SVM | Support vector machine |
| RGB | Red, green, and blue |
| HSV | Hue, saturation, and value |
| F.O. | Fuel oil |
| F.D. | Forced draft |
| CER | Combustion equivalence ratio |
| PCA | Principal component analysis |
| RGB_Origin | Original RGB image data |
| Histo_RGB | Histogramized RGB data |
| Histo_HSV | Histogramized HSV |
| MSE | Mean squared error |
| MAE | Mean absolute error |
| RMSE | Root mean squared error |
| R-squared | |
References
- Seol, S.; Jung, S.; Seong, M.; Lim, J.; Yeo, S.; Jin, H. Estimation of Air Pollutant Emissions from Ships and Their Contributions in Korea. J. Korean Soc. Atmos. Environ. 2021, 37, 324–337. [Google Scholar] [CrossRef]
- Xing, H.; Spence, S.; Chen, H. A comprehensive review on countermeasures for CO2 emissions from ships. Renew. Sustain. Energy Rev. 2020, 134, 110222. [Google Scholar] [CrossRef]
- Ni, P.; Wang, X.; Li, H. A review on regulations, current status, effects and reduction strategies of emissions for marine diesel engines. Fuel 2020, 279, 118477. [Google Scholar] [CrossRef]
- Kilicarslan, A.; Qatu, M. Exhaust Gas Analysis of an Eight Cylinder Gasoline Engine Based on Engine Speed. Energy Procedia 2017, 110, 459–464. [Google Scholar] [CrossRef]
- Di Natale, F.; Carotenuto, C.; Addio, L.D.; Lancia, A.; Antes, T.; Szudyga, M.; Jaworek, A.; Gregory, D.; Jackson, M.; Volpe, P.; et al. New technologies for marine diesel engine emission control. Chem. Eng. Trans. 2013, 32, 361–366. [Google Scholar] [CrossRef]
- Deng, J.; Wang, X.; Wei, Z.; Wang, L.; Wang, C.; Chen, Z. A review of NOx and SOx emission reduction technologies for marine diesel engines and the potential evaluation of liquefied natural gas fuelled vessels. Sci. Total Environ. 2021, 766, 144319. [Google Scholar] [CrossRef]
- Bakalov, I. Constructive solutions to reduce the NOx and SOx in the marine boiler burners. Trans Motauto World 2016, 1, 7–9. [Google Scholar]
- Čampara, L.; Hasanspahić, N.; Vujičić, S. Overview of MARPOL ANNEX VI regulations for prevention of air pollution from marine diesel engines. SHS Web Conf. 2018, 58, 01004. [Google Scholar] [CrossRef]
- McCaffery, C.; Zhu, H.; Karavalakis, G.; Durbin, T.D.; Miller, J.W.; Johnson, K.C. Sources of air pollutants from a Tier 2 ocean-going container vessel: Main engine, auxiliary engine, and auxiliary boiler. Atmos. Environ. 2021, 245, 118023. [Google Scholar] [CrossRef]
- Li, H.; Jia, P.; Wang, X.; Yang, Z.; Wang, J.; Kuang, H. Ship carbon dioxide emission estimation in coastal domestic emission control areas using high spatial-temporal resolution data: A China case. Ocean Coast. Manag. 2023, 232, 106419. [Google Scholar] [CrossRef]
- Kujanpää, L.; Teir, S. Implications of the New EU Maritime Emission Monitoring Regulation on Ship Transportation of CO2. Energy Procedia 2017, 114, 7415–7421. [Google Scholar] [CrossRef]
- Sun, J.; Meng, X.; Qiao, J. Prediction of Oxygen Content Using Weighted PCA and Improved LSTM Network in MSWI Process. IEEE Trans. Instrum. Meas. 2021, 70, 1–12. [Google Scholar] [CrossRef]
- Tan, P.; He, B.; Zhang, C.; Rao, D.; Li, S.; Fang, Q.; Chen, G. Dynamic modeling of NOX emission in a 660 MW coal-fired boiler with long short-term memory. Energy 2019, 176, 429–436. [Google Scholar] [CrossRef]
- Park, M.-H.; Hur, J.-J.; Lee, W.-J. Prediction of oil-fired boiler emissions with ensemble methods considering variable combustion air conditions. J. Clean. Prod. 2022, 375, 134094. [Google Scholar] [CrossRef]
- Bai, X.; Lu, G.; Hossain, M.; Yan, Y.; Liu, S. Multimode Monitoring of Oxy-Gas Combustion Through Flame Imaging, Principal Component Analysis, and Kernel Support Vector Machine. Combust. Sci. Technol. 2017, 189, 776–792. [Google Scholar] [CrossRef]
- Yang, G.; He, Y.; Li, X.; Liu, H.; Lan, T. Gabor-GLCM-based texture feature extraction using flame image to predict the O2 content and NOx. ACS Omega 2022, 7, 3889–3899. [Google Scholar] [CrossRef] [PubMed]
- Sharma, K.G.S.; Bhusnur, S. Data Ensemble Model for Prediction of Oxygen Content in Gas fired Boiler for Efficient Combustion. In Proceedings of the 2023 IEEE International Students’ Conference on Electrical, Electronics and Computer Science (SCEECS), Bhopal, India, 18–19 February 2023; pp. 1–8. [Google Scholar] [CrossRef]
- Han, Z.; Li, J.; Zhang, B.; Hossain, M.; Xu, C. Prediction of combustion state through a semi-supervised learning model and flame imaging. Fuel 2021, 289, 119745. [Google Scholar] [CrossRef]
- Khan, M.Y.; Ranganathan, S.; Agrawal, H.; Welch, W.A.; Laroo, C.; Miller, J.W.; Cocker, D.R., III. Measuring in-use ship emissions with international and U.S. federal methods. J. Air Waste Manag. Assoc. 2013, 63, 284–291. [Google Scholar] [CrossRef]
- Najarnikoo, M.; Targhi, M.Z.; Pasdarshahri, H. Experimental study on the flame stability and color characterization of cylindrical premixed perforated burner of condensing boiler by image processing method. Energy 2019, 189, 116130. [Google Scholar] [CrossRef]
- Han, Z.; Li, J.; Hossain, M.; Qi, Q.; Zhang, B.; Xu, C. An ensemble deep learning model for exhaust emissions prediction of heavy oil-fired boiler combustion. Fuel 2022, 308, 121975. [Google Scholar] [CrossRef]
- Stephen, T. An Introduction to Combustion: Concepts and Applications; McGraw Hill: New York NY, USA, 2000; p. 230. [Google Scholar]
- Gera, D.; Mathur, M.P.; Freeman, M.C.; Robinson, A. Effect of Large Aspect Ratio of Biomass Particles on Carbon Burnout in a Utility Boiler. Energy Fuels 2002, 16, 1523–1532. [Google Scholar] [CrossRef]
- Zhou, H.; Ren, T.; Yang, Y. Impact of OFA on combustion and NOx emissions of a large-scale laboratory furnace fired by a heavy-oil swirl burner. Appl. Therm. Eng. 2015, 90, 994–1006. [Google Scholar] [CrossRef]
- Tóth, P.; Garami, A.; Csordás, B. Image-based deep neural network prediction of the heat output of a step-grate biomass boiler. Appl. Energy 2017, 200, 155–169. [Google Scholar] [CrossRef]
- International Maritime Organization (IMO). SOLAS (Safety of Life at Sea)–Chapter II-2-Construction-Fire Protection, Fire Detection and Fire Extinguishing; Section A.60; International Maritime Organization: London, UK, 2023. [Google Scholar]
- Srigul, W.; Inrawong, P.; Kupimai, M. Plastic classification base on correlation of RGB color. In Proceedings of the 2016 13th International Conference on Electrical Engineering/Electronics, Computer, Telecommunications and Information Technology (ECTI-CON), Chiang Mai, Thailand, 28 June–1 July 2016; pp. 1–5. [Google Scholar]
- binti Zaidi, N.I.; binti Lokman, N.A.A.; bin Daud, M.R.; Achmad, H.; Chia, K.A. Fire recognition using RGB and YCbCr color space. ARPN J. Eng. Appl. Sci. 2015, 10, 9786–9790. [Google Scholar]
- Muhammad, B.; Abu-Bakar, S.A.R. A hybrid skin color detection using HSV and YCgCr color space for face detection. In Proceedings of the 2015 IEEE International Conference on Signal and Image Processing Applications (ICSIPA), Kuala Lumpur, Malaysia, 19–21 October 2015; pp. 95–98. [Google Scholar]
- Kolkur, S.; Kalbande, D.; Shimpi, P.; Bapat, C.; Jatakia, J. Human Skin Detection Using RGB, HSV and YCbCr Color Models. arXiv 2017, arXiv:1708.02694. [Google Scholar]
- Xie, J.; Fang, J.; Liu, C.; Li, X. Deep Learning-Based Spectrum Sensing in Cognitive Radio: A CNN-LSTM Approach. IEEE Commun. Lett. 2020, 24, 2196–2200. [Google Scholar] [CrossRef]
- Nahiduzzaman, M.; Goni, M.O.F.; Anower, M.S.; Islam, M.R.; Ahsan, M.; Haider, J.; Gurusamy, S.; Hassan, R.; Islam, M.R. A novel method for multivariant pneumonia classification based on hybrid CNN-PCA based feature extraction using extreme learning machine with CXR images. IEEE Access 2021, 9, 147512–147526. [Google Scholar] [CrossRef]
- Sahoo, J.P.; Ari, S.; Patra, S.K. Hand Gesture Recognition Using PCA Based Deep CNN Reduced Features and SVM Classifier. In Proceedings of the 2019 IEEE International Symposium on Smart Electronic Systems (iSES) (Formerly iNiS), Rourkela, India, 16–18 December 2019; pp. 221–224. [Google Scholar] [CrossRef]
- Glorot, X.; Bengio, Y. Understanding the difficulty of training deep feedforward neural networks. In Proceedings of the Thirteenth International Conference on Artificial Intelligence and Statistics, JMLR Workshop and Conference Proceedings, Sardinia, Italy, 13–15 May 2010; pp. 249–256. [Google Scholar]
- Hastie, T.; Tibshirani, R.; Friedman, J.H.; Friedman, J.H. The Elements of Statistical Learning: Data Mining, Inference, and Prediction; Springer: New York, NY, USA, 2009. [Google Scholar]
- Zhou, H.; Tang, Q.; Yang, L.; Yan, Y.; Lu, G.; Cen, K. Support vector machine based online coal identification through advanced flame monitoring. Fuel 2014, 117, 944–951. [Google Scholar] [CrossRef]
- Hsu, C.W.; Chang, C.C.; Lin, C.J. A practical guide to support vector classification. 2003, pp. 1396–1400. Available online: http://www.datascienceassn.org/sites/default/files/Practical%20Guide%20to%20Support%20Vector%20Classification.pdf (accessed on 1 October 2023).
- Zeng, W.; Jia, J.; Zheng, Z.; Xie, C.; Guo, L. A comparison study: Support vector machines for binary classification in machine learning. In Proceedings of the 2011 4th International Conference on Biomedical Engineering and Informatics (BMEI), Shanghai, China, 15–17 October 2011; pp. 1621–1625. [Google Scholar] [CrossRef]













| Boiler | Model | Steam production | Working Steam pressure |
| MA03R0202 (Kangrim) | 3000 kg/h | 5.5–7 kg/cm2 | |
| Burner | Model | Atomizing oil pressure | Fuel oil consumption—min/max |
| RP-250M | 25–30 bar | 68.5/205.5 kg/h | |
| FD Fan | Model | Air supply pressure | Air supply Volume—min/max |
| Svend hoyer HMA2 | 0.0275–0.039 bar | 1650–3700 m3/h |
| Linkage | CER | O2 (%) | CO2 (%) | NOX (ppm) | SO2 (ppm) | ||||
|---|---|---|---|---|---|---|---|---|---|
| μ | σ2 | μ | σ2 | μ | σ2 | μ | σ2 | ||
| L1 | 0.899 | 2.00 | 0.0008 | 13.8 | 0.0076 | 94.00 | 0.4215 | 17.58 | 0.0041 |
| L2 | 0.897 | 2.39 | 0.0006 | 13.11 | 0.0078 | 90.99 | 0.4885 | 17.99 | 0.0043 |
| L3 | 0.824 | 3.50 | 0.0008 | 12.69 | 0.0077 | 88.83 | 0.4246 | 16.6 | 0.0033 |
| L4 | 0.739 | 5.21 | 0.0005 | 11.51 | 0.0107 | 80.01 | 0.5142 | 16.04 | 0.0035 |
| L5 | 0.686 | 6.30 | 0.0006 | 10.51 | 0.0079 | 72.15 | 0.5513 | 15.59 | 0.0039 |
| L6 | 0.642 | 7.2 | 0.0006 | 9.81 | 0.0084 | 67.07 | 0.4934 | 14.42 | 0.0039 |
| Linkage Position | CER | Saturation Peak Min | Saturation Peak Max | μ |
|---|---|---|---|---|
| L1 | 0.899 | 8207 | 9464 | 9023.86 |
| L2 | 0.897 | 10,541 | 11,755 | 11,155.64 |
| L3 | 0.824 | 12,519 | 13,972 | 13,185.80 |
| L4 | 0.739 | 14,761 | 15,562 | 15,204.44 |
| L5 | 0.686 | 16,172 | 17,977 | 16,918.22 |
| L6 | 0.642 | 19,249 | 21,882 | 20,339.84 |
| Color Space Conversion | RGB_Origin | Histo_RGB | Histo_HSV | SEF |
|---|---|---|---|---|
| Size of color space | 800(H) × 820(W) × 3 | 256(R) + 256(G) + 256(B) | 256(S) | 256(S) |
| Flame Image data matrix | 300 × 656,000 | 300 × 768 | 300 × 692 | 300 × 256 |
| EGC data matrix | 300 × 4 | |||
| Conbined train dataset matrix | 300 × 656,004 | 300 × 772 | 300 × 696 | 300 × 260 |
| EGC | Image Datasets | R2 | RMSE | MAE |
|---|---|---|---|---|
| RGB_origin | 0.48 | 1.3979 | 1.2325 | |
| Histo_RGB | 0.86 | 0.7165 | 0.5560 | |
| RGB_origin | 0.44 | 1.0754 | 0.9251 | |
| Histo_RGB | 0.79 | 0.6143 | 0.54804 | |
| RGB_origin | 0.46 | 7.3473 | 6.3918 | |
| Histo_RGB | 0.88 | 3.5155 | 2.7705 | |
| RGB_origin | 0.57 | 0.7879 | 0.7276 | |
| Histo_RGB | 0.87 | 0.4361 | 0.3089 |
| EGC | Image Datasets | R2 | RMSE | MAE |
|---|---|---|---|---|
| Histo_HSV | 0.91 | 0.3441 | 0.2458 | |
| SEF | 0.97 | 0.1698 | 0.1213 | |
| Histo_HSV | 0.85 | 0.3765 | 0.2562 | |
| SEF | 0.95 | 0.3265 | 0.2377 | |
| Histo_HSV | 0.90 | 3.1228 | 2.3381 | |
| SEF | 0.94 | 1.7269 | 1.1724 | |
| Histo_HSV | 0.89 | 0.4033 | 0.2872 | |
| SEF | 0.96 | 0.3160 | 0.2135 |
Disclaimer/Publisher’s Note: The statements, opinions and data contained in all publications are solely those of the individual author(s) and contributor(s) and not of MDPI and/or the editor(s). MDPI and/or the editor(s) disclaim responsibility for any injury to people or property resulting from any ideas, methods, instructions or products referred to in the content. |
© 2023 by the authors. Licensee MDPI, Basel, Switzerland. This article is an open access article distributed under the terms and conditions of the Creative Commons Attribution (CC BY) license (https://creativecommons.org/licenses/by/4.0/).
Share and Cite
Lee, C.-M.; Jung, B.-G.; Choi, J.-H. Experimental Study on Prediction for Combustion Optimal Control of Oil-Fired Boilers of Ships Using Color Space Image Feature Analysis and Support Vector Machine. J. Mar. Sci. Eng. 2023, 11, 1993. https://doi.org/10.3390/jmse11101993
Lee C-M, Jung B-G, Choi J-H. Experimental Study on Prediction for Combustion Optimal Control of Oil-Fired Boilers of Ships Using Color Space Image Feature Analysis and Support Vector Machine. Journal of Marine Science and Engineering. 2023; 11(10):1993. https://doi.org/10.3390/jmse11101993
Chicago/Turabian StyleLee, Chang-Min, Byung-Gun Jung, and Jae-Hyuk Choi. 2023. "Experimental Study on Prediction for Combustion Optimal Control of Oil-Fired Boilers of Ships Using Color Space Image Feature Analysis and Support Vector Machine" Journal of Marine Science and Engineering 11, no. 10: 1993. https://doi.org/10.3390/jmse11101993
APA StyleLee, C.-M., Jung, B.-G., & Choi, J.-H. (2023). Experimental Study on Prediction for Combustion Optimal Control of Oil-Fired Boilers of Ships Using Color Space Image Feature Analysis and Support Vector Machine. Journal of Marine Science and Engineering, 11(10), 1993. https://doi.org/10.3390/jmse11101993

