Modeling the Discharge Rate of a Screw Conveyor Considering Hopper–Conveyor Coupling Parameters
Abstract
1. Introduction
2. Materials and Methods
2.1. Theoretical Background
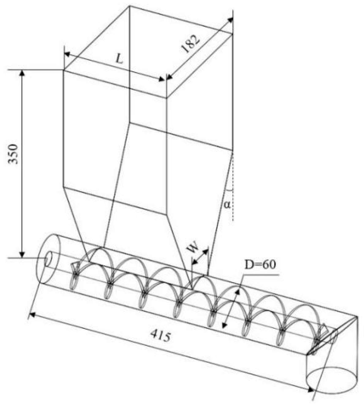
2.1.1. Hopper Flow Rate Modeling
2.1.2. Screw Conveyor Flow Rate Modeling
2.1.3. Flow Rate Comparison
2.2. Simulation Condition
2.3. Experimental Scheme
2.4. CCD (Center Composite Design) Experiment Methods
3. Results
3.1. Flow Pattern and Velocity Distribution
3.2. Normal Contact Force Distribution
3.3. Material Filling Coefficient
3.4. Experimental Results and Flow Rate Modeling
3.5. Flow Rate Model Validation
4. Discussion
5. Conclusions
- (1)
- The discharge rate of the screw feeder consisting of a wedge-shaped hopper and a screw conveyor is mainly determined by the screw conveyor. Among the coupling parameters of the screw feeder, the hopper discharge opening width, hopper offset distance, and hopper semi-apex angle have no significant effect on the filling coefficient of the pellet feed in the screw, while the hopper inclination angle and the hopper discharge opening length have a significant effect on the filling coefficient.
- (2)
- A flow rate model considering hopper–conveyor coupling parameters was constructed. The maximum prediction errors were 6.8% and 5.0% compared with the simulation and the actual discharging. Meanwhile, the model could accurately reflect the flow rate varying trends due to the change in the coupling parameters.
Supplementary Materials
Author Contributions
Funding
Institutional Review Board Statement
Data Availability Statement
Conflicts of Interest
References
- Beverloo, W.A.; Leniger, H.A.; Van de Velde, J. The flow of granular solids through orifices. Chem. Eng. Sci. 1961, 15, 260–269. [Google Scholar] [CrossRef]
- Brown, R. Minimum energy theorem for flow of dry granules through apertures. Nature 1961, 191, 458–461. [Google Scholar] [CrossRef]
- Brown, R.L.J. Kinematics of the flow of dry powders and bulk solids. Rheol. Acta 1965, 4, 153–165. [Google Scholar] [CrossRef]
- Myers, M.; Sellers, M. Chemical Engineering Tripos, Part 2, Research Project Reopening; University of Cambridge: Cambridge, UK, 1978. [Google Scholar]
- Lu, H.; Zhong, J.; Cao, G.P.; Liu, H.F. Gravitational discharge of fine dry powders with asperities from a conical hopper. AIChE J. 2018, 64, 427–436. [Google Scholar] [CrossRef]
- Zheng, Q.J.; Xia, B.S.; Pan, R.H.; Yu, A.B. Prediction of mass discharge rate in conical hoppers using elastoplastic model. Powder Technol. 2017, 307, 63–72. [Google Scholar] [CrossRef]
- Wang, Y.; Jia, F.; Zhang, J.; Han, Y.; Chen, P.; Li, A.; Fei, J.; Feng, W.; Hao, X.; Shen, S. Model construction method of discharge rate of eccentric silo. Powder Technol. 2022, 405, 117555. [Google Scholar] [CrossRef]
- Kumar, R.; Gopireddy, S.R.; Jana, A.K.; Patel, C.M. Study of the discharge behavior of Rosin-Rammler particle-size distributions from hopper by discrete element method: A systematic analysis of mass flow rate, segregation and velocity profiles. Powder Technol. 2020, 360, 818–834. [Google Scholar] [CrossRef]
- Sun, D.; Lu, H.; Cao, J.; Wu, Y.; Guo, X.; Gong, X. Flow mechanisms and solid flow rate prediction of powders discharged from hoppers with an insert. Powder Technol. 2020, 367, 277–284. [Google Scholar] [CrossRef]
- Horabik, J.; Parafiniuk, P.; Wiącek, J.; Kobyłka, R.; Molenda, M.; Stasiak, M. DEM modelling of the influence of initial stress state on the discharge rate of spherical particles from a model silo. Powder Technol. 2022, 403, 117402. [Google Scholar] [CrossRef]
- Xu, X.; Li, F.; Li, Y.; Sheng, C.; Meng, J. Design and test of quantitative variable pitch spiral structure. Trans. Chin. Soc. Agric. Mach. 2019, 50, 89–97. [Google Scholar]
- Zareiforoush, H.; Komarizadeh, M.H.; Alizadeh, M.R.; Masoomi, M.; Tavakoli, H. Performance evaluation of screw augers in paddy grains handling. Int. Agrophys. 2010, 24, 369–389. [Google Scholar]
- Bates, L. Entrainment Patterns of Screw Hopper Dischargers. ASME J. Eng. Ind. 1969, 1, 295–302. [Google Scholar] [CrossRef]
- Haaker, G.; van Poppelen, M.P.; Jongejan, M.P.; Bekhuis, J.H. A method to optimize scew-feeders geometriy for equable draw-down performance. Powder Handl. Process. 1994, 6, 209–214. [Google Scholar]
- Roberts, A.W. The influence of granular vortex motion on the volumetric performance of enclosed screw conveyors. Powder Technol. 1999, 104, 56–67. [Google Scholar] [CrossRef]
- Yu, Y.; Arnold, P.C. The influence of screw feeders on bin flow patterns. Powder Technol. 1996, 88, 81–87. [Google Scholar] [CrossRef]
- Li, A.; Jia, F.; Han, Y.; Chen, P.; Zhang, J.; Wang, Y.; Fei, J.; Shen, S.; Hao, X.; Feng, W. Effect of the rotational speeds of the screw conveyor and milling roller on the behaviour of grain flows in the connected chamber of a vertical “conveying-milling” rice mill. Biosyst. Eng. 2022, 224, 161–182. [Google Scholar] [CrossRef]
- Roberts, A.W.; Willis, A.H. Performance of Grain Augers. Proc. Inst. Mech. Eng. 1962, 176, 165–194. [Google Scholar] [CrossRef]
- Bolat, B.; Temiztaş, B.A.; Sezer, E. Investigation of the effects of radial clearance on the screw conveyor performances for different inclinations. Particuology 2024, 9, 72–80. [Google Scholar] [CrossRef]
- Ghosh, B.N. Conveyance of wet parchment coffee beans by an auger. J. Agric. Eng. Res. 1967, 12, 274–280. [Google Scholar] [CrossRef]
- Uematu, T.; Nakamura, S. A Study of the Screw Conveyor. Bull. JSME 1960, 3, 449–455. [Google Scholar] [CrossRef][Green Version]
- Li, H.; Wang, J.; Wang, S.; Ling, B. Performance evaluation of the double screw conveyor in radio frequency systems: Heating uniformity and quality of granular food. Innov. Food Sci. Emerg. 2022, 77, 102990. [Google Scholar] [CrossRef]
- Wang, S.; Li, H.; Tian, R.; Wang, R.; Wang, X.; Sun, Q.; Fan, J. Numerical simulation of particle flow behavior in a screw conveyor using the discrete element method. Particuology 2019, 43, 137–148. [Google Scholar] [CrossRef]
- Yuan, J.; Li, M.; Ye, F.; Zhou, Z. Dynamic characteristic analysis of vertical screw conveyor in variable screw section condition. Sci. Prog. 2020, 103, 0036850420951056. [Google Scholar] [CrossRef] [PubMed]
- Owen, P.J.; Cleary, P.W. Prediction of screw conveyor performance using the Discrete Element Method (DEM). Powder Technol. 2009, 193, 274–288. [Google Scholar] [CrossRef]
- Orefice, L.; Khinast, J. DEM study of granular transopening in partially filled horizontal screw conveyors. Powder Technol. 2017, 305, 347–356. [Google Scholar] [CrossRef]
- Hui, H.; Bai, L.; De, W.; Zhang, J.; Li, J. Desian and Experiment of Discharging Performance of Feeder for Nursery. Trans. Chin. Soc. Agric. Mach. 2018, 10, 154–162. [Google Scholar]
- Zhu, S.; Zhang, H. Fundamentals of Mechanical Design; Chongqing University Press: Chongqing, China, 2023. [Google Scholar]
- Huang, T.; Qian, H.; Li, Z.; Zuo, T.; Wu, B. Promoting Pellet Feed Flow in a Screw Feeder with an Agitator. Ind. Eng. Chem. Res. 2023, 62, 6273–6284. [Google Scholar] [CrossRef]
- Cundall, P.A.; Strack, O.D.L. A discrete numerical model for granular assemblies. Geotechnique 1979, 29, 47–65. [Google Scholar] [CrossRef]
- Brown, R.L. Profile of flow of granules through apertures. Trans. Inst. Chem. Engrs. 1960, 38, 243–256. [Google Scholar]
- Ucgul, M.; Fielke, J.M.; Saunders, C. Three-dimensional discrete element modelling (DEM) of tillage: Accounting for soil cohesion and adhesion. Biosyst. Eng. 2015, 129, 298–306. [Google Scholar] [CrossRef]
- Hafez, A.; Liu, Q.; Finkbeiner, T.; Alouhali, R.A.; Moellendick, T.E.; Santamarina, J.C. The effect of particle shape on discharge and clogging. Sci. Rep. 2021, 1, 3309. [Google Scholar] [CrossRef]
- Sun, H.; Ma, H.; Zhao, Y. DEM investigation on conveying of non-spherical particles in a screw conveyor. Particuology 2022, 65, 17–31. [Google Scholar] [CrossRef]









| Parameters | Value | Source |
|---|---|---|
| Poisson ratio | 0.26 | Measured |
| Particle density (kg m−3) | 1037 | Measured |
| Particle dimensions L × R (mm) | 7.5 × 2.1 | Measured |
| Particle model | Sphero cylinder | Selected |
| Particle Young’s modulus (Pa) | 9.9 × 107 | Measured |
| Steel Poisson rate | 0.3 | [31] |
| Steel density (kg m−3) | 7865 | |
| Steel Young’s modulus (Pa) | 7.9 × 1010 | |
| Particle–particle sliding friction coefficient | 0.82 | Measured |
| Particle–particle restitution coefficient | 0.65 | Measured |
| Particle–steel restitution coefficient | 0.62 | Measured |
| Particle–particle rolling friction coefficient | 0.08 | Measured |
| Particle–steel sliding friction coefficient | 0.62 | Measured |
| Particle–steel rolling friction coefficient | 0.02 | Measured |
| Level | Inclination Angle (degree) | Offset Distance (mm) | Discharge Opening Width (mm) | Semi-Apex Angle (degree) | Discharge Opening Length (mm) |
|---|---|---|---|---|---|
| 1 | 0 | 0 | 30 | 25 | 50 |
| 2 | 15 | 2 | 35 | 40 | 100 |
| 3 | 30 | 4 | 40 | 55 | 150 |
| 4 | 45 | 6 | 45 | 70 | 200 |
| 5 | 60 | 8 | 50 | 85 | 250 |
| Level | Discharge Opening Length (mm) | Inclination Angle (Degree) |
|---|---|---|
| −1.414 | 50 | 0 |
| −1 | 79.29 | 8.79 |
| 0 | 150 | 30 |
| 1 | 220.71 | 51.21 |
| 1.414 | 250 | 60 |
| Factors | Source of Variance | Sum of Squares | Mean of Squares | F-Value | p-Value |
|---|---|---|---|---|---|
| Inclination angle | Inter-class variance | 0.00249 | 0.000622 | 7.0953 | 0.0021 |
| Between-class variance | 0.00131 | 0.0000876 | |||
| Offset distance | Inter-class variance | 0.0000617 | 0.0000154 | 0.2024 | 0.9331 |
| Between-class variance | 0.00114 | 0.0000763 | |||
| Discharge opening width | Inter-class variance | 0.000063 | 0.0000157 | 0.1703 | 0.9502 |
| Between-class variance | 0.00139 | 0.0000924 | |||
| Semi-apex angle | Inter-class variance | 0.000155 | 0.0000387 | 0.6562 | 0.6316 |
| Between-class variance | 0.000884 | 0.0000589 | |||
| Discharge opening length | Inter-class variance | 0.00779 | 0.00195 | 34.7076 | 0.0000 |
| Between-class variance | 0.000842 | 0.0000561 |
| Level | Discharge Opening Length (mm) | Inclination Angle (degree) | Filling Coefficient |
|---|---|---|---|
| 1 | 79.2893 | 8.7868 | 0.585361 |
| 2 | 220.711 | 8.7868 | 0.609171 |
| 3 | 79.2893 | 51.2132 | 0.535104 |
| 4 | 220.711 | 51.2132 | 0.598109 |
| 5 | 50 | 30 | 0.548144 |
| 6 | 250 | 30 | 0.624044 |
| 7 | 150 | 0 | 0.595142 |
| 8 | 150 | 60 | 0.561056 |
| 9 | 150 | 30 | 0.584116 |
| 10 | 150 | 30 | 0.59386 |
| 11 | 150 | 30 | 0.587706 |
| 12 | 150 | 30 | 0.594885 |
| 13 | 150 | 30 | 0.590142 |
| Index | Source of Variance | Square Sum | Degrees of Freedom | Mean Square | F-Value | p-Value |
|---|---|---|---|---|---|---|
| Filling coefficient | Model | 0.0069 | 5 | 0.0014 | 62.89 | <0.0001 |
| Discharge opening length | 0.0047 | 1 | 0.0047 | 215.9 | <0.0001 | |
| Inclination angle | 0.0015 | 1 | 0.0015 | 68.71 | <0.0001 | |
| L θ | 0.0004 | 1 | 0.0004 | 17.6 | 0.0041 | |
| L2 | 0 | 1 | 0 | 1.36 | 0.2821 | |
| θ2 | 0.0003 | 1 | 0.0003 | 11.71 | 0.0111 | |
| Residual | 0.0002 | 7 | 0 | |||
| Lack of fit | 0.0001 | 3 | 0 | 1.26 | 0.4004 | |
| Pure error | 0.0001 | 4 | 0 | |||
| Total | 0.007 | 12 |
| Index | Source of Variance | Square Sum | Degrees of Freedom | Mean Square | F-Value | p-Value |
|---|---|---|---|---|---|---|
| Filling coefficient | Model | 0.0068 | 4 | 0.0017 | 74.92 | <0.0001 |
| Discharge opening length | 0.0047 | 1 | 0.0047 | 206.66 | <0.0001 | |
| Inclination angle | 0.0015 | 1 | 0.0015 | 65.76 | <0.0001 | |
| L θ | 0.0004 | 1 | 0.0004 | 16.84 | 0.0034 | |
| L2 | 0.0002 | 1 | 0.0002 | 10.41 | 0.0121 | |
| θ2 | 0.0002 | 8 | 0 | |||
| Residual | 0.0001 | 4 | 0 | 1.32 | 0.3968 | |
| Lack of fit | 0.0001 | 4 | 0 | |||
| Pure error | 0.007 | 12 | ||||
| Total | 0.0068 | 4 | 0.0017 | 74.92 | <0.0001 |
Disclaimer/Publisher’s Note: The statements, opinions and data contained in all publications are solely those of the individual author(s) and contributor(s) and not of MDPI and/or the editor(s). MDPI and/or the editor(s) disclaim responsibility for any injury to people or property resulting from any ideas, methods, instructions or products referred to in the content. |
© 2024 by the authors. Licensee MDPI, Basel, Switzerland. This article is an open access article distributed under the terms and conditions of the Creative Commons Attribution (CC BY) license (https://creativecommons.org/licenses/by/4.0/).
Share and Cite
Chen, P.; Huang, T.; Wu, B.; Qian, H.; Xie, F.; Liu, B.; Liu, D.; Li, X. Modeling the Discharge Rate of a Screw Conveyor Considering Hopper–Conveyor Coupling Parameters. Agriculture 2024, 14, 1203. https://doi.org/10.3390/agriculture14071203
Chen P, Huang T, Wu B, Qian H, Xie F, Liu B, Liu D, Li X. Modeling the Discharge Rate of a Screw Conveyor Considering Hopper–Conveyor Coupling Parameters. Agriculture. 2024; 14(7):1203. https://doi.org/10.3390/agriculture14071203
Chicago/Turabian StyleChen, Peng, Tianci Huang, Bei Wu, Huaiyuan Qian, Fangping Xie, Baohua Liu, Dawei Liu, and Xu Li. 2024. "Modeling the Discharge Rate of a Screw Conveyor Considering Hopper–Conveyor Coupling Parameters" Agriculture 14, no. 7: 1203. https://doi.org/10.3390/agriculture14071203
APA StyleChen, P., Huang, T., Wu, B., Qian, H., Xie, F., Liu, B., Liu, D., & Li, X. (2024). Modeling the Discharge Rate of a Screw Conveyor Considering Hopper–Conveyor Coupling Parameters. Agriculture, 14(7), 1203. https://doi.org/10.3390/agriculture14071203

