Design and Experiment of Oblique Stubble-Cutting Side-Throwing Anti-Blocking Device for No-Tillage Seeder
Abstract
1. Introduction
2. Materials and Methods
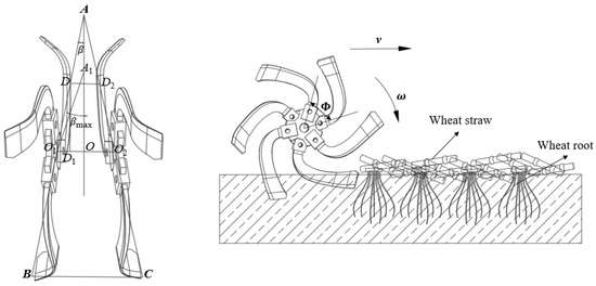
2.1. Machine Structure and Working Principle of the Device
2.2. Design of Structural Parameters of Anti-Blocking Device
2.2.1. Velocity Analysis
2.2.2. Motion Inclination Angle
2.3. Kinematics Analysis
2.3.1. Kinematics Analysis of Cutting Stubble of Oblique Stubble-Cutting Side-Throwing Anti-Blocking Device
2.3.2. Kinematics Analysis of Throwing Stubble of Oblique Stubble-Cutting Side-Throwing Anti-Blocking Device
3. Simulation Experimental Design
3.1. Simulation Model Establishment
3.2. Simulation Experimental Scheme
3.3. Experimental Indexes
3.3.1. Straw Clearance Rate and Stubble-Breaking Rate
3.3.2. Operation Power Consumption
3.4. Test Results and Analysis
4. Field Trial
4.1. Trial Conditions
4.2. Trial Contents and Methods
4.2.1. Machine Passing Capacity
4.2.2. Straw Clearance Rate and Stubble-Breaking Rate in Seedling Belt
4.2.3. Operation Power Consumption Output Calculation
4.3. Trial Results and Analysis
4.3.1. The Results of Machine Passing Capacity
4.3.2. Field Trial Results of Straw Clearance Rate and Stubble-Breaking Rate in Seedling Belt
4.3.3. Operation Power Consumption Calculation Result
5. Conclusions
Author Contributions
Funding
Institutional Review Board Statement
Data Availability Statement
Acknowledgments
Conflicts of Interest
References
- Qi, Z.J.; Song, F.; Zhang, Z.X.; Liu, M.; Yin, Z.H.; Li, A. Effects of conservation tillage on soil hydrothermal effect and maize yield in cold black soil. Trans. Chin. Soc. Agric. Mach. 2022, 53, 380–389. [Google Scholar]
- Geng, Y.L.; Wan, X.L.; Zhong, X.K.; Zhang, X.C.; Chen, K.; Wei, Z.C.; Lu, Q.X.; Chen, X.P.; Wei, M.T. Design and Optimization of a Soil-Covering Device for a Corn No-Till Planter. Agriculture 2022, 12, 1218. [Google Scholar] [CrossRef]
- He, J.; Li, H.W.; Chen, H.T.; Lu, C.Y.; Wang, Q.J. Research progress of conservation tillage technology and machine. Trans. CSAE 2018, 49, 1–19. [Google Scholar]
- Kazmierczak, R.B.; Agnellos, A.E.B.; Balarezo, F.N.G.; Giovani, E.K. Mechanical Intervention in Compacted No-Till Soil in Southern Brazil: Soil Physical Quality and Maize Yield. Agronomy 2022, 12, 2281. [Google Scholar] [CrossRef]
- Cao, X.P.; Wang, Q.J.; Xu, D.J.; Huang, S.H.; Wang, X.H.; Wang, L.B. Design and Analysis of Pneumatic Downforce Regulating Device for No-Till Corn Planter. Agriculture 2022, 12, 1513. [Google Scholar] [CrossRef]
- Wang, Y.; Yang, S.; Sun, J.; Liu, Z.G.; He, X.M.; Qiao, J.Y. Effects of Tillage and Sowing Methods on Soil Physical Properties and Corn Plant Characters. Agriculture 2023, 13, 600. [Google Scholar] [CrossRef]
- Cao, X.P.; Wang, Q.J.; Li, H.W.; He, J.; Lu, C.Y.; Yu, C.C. Design and Experiment of Active Rotary Row Type Straw Cleaning Device. Trans. CSAE 2021, 37, 26–34. [Google Scholar]
- Zhao, H.B.; He, J.; Zheng, Z.Q.; Zhang, Z.G.; Liu, W.Z. Research on anti-blocking device for side throwing straw between rows of strip-type minimum-no-tillage planter. Trans. CSAM 2020, 51, 24–34. [Google Scholar]
- Emin, M.B.; Yasemin, V.; Ali, A. Determination of Performance of No-Till Seeder and Stubble Cutting Prototype. Agriculture 2023, 13, 289. [Google Scholar] [CrossRef]
- Yao, W.Y.; Zhao, D.B.; Miao, H.Q.; Cui, P.D.; Wei, M.J.; Diao, P.S. Design and test of shallow rotary stubble cleaning oblique anti-blocking device for no-tillage planter. Trans. CSAM 2022, 53, 42–52. [Google Scholar]
- Wang, G.L.; Wang, X.Z.; Sang, Z.Z. Preliminary Study on Oblique Rotary Tilling. Trans. CSAM 1998, S1, 21–25. [Google Scholar]
- Jiang, J.L.; Gao, H.W. Study on corn stubble treatment device of no-tillage planter seeding belt. Trans. CSAE 2004, 2, 129–131. [Google Scholar]
- Yao, W.Y. Study on Active Anti-Blocking Technology of Maize No-Tillage Sowing in Wheat-Maize Rotation Area. Ph.D. Thesis, Shandong University of Technology, Shandong, China, 2023. [Google Scholar]
- Xue, R.X. Peanut small ridge double row close planting film mulching high yield cultivation techniques. Agric. Technol. Serv. 2016, 33, 58. [Google Scholar]
- Wang, J.Y.; Zhao, S.H.; Yang, Z.J.; Gao, L.L.; Yang, Y.Q. Design and Experiment of Driven Stubble Breaker for Maize Strip Less Tillage. Trans. CSAM 2021, 52, 51–61. [Google Scholar]
- Tong, J.; Ji, W.F.; Jia, H.L.; Chen, D.H.; Yang, X.W. Design and Tests of Biomimetic Blades for Soil-rototilling and Stubble-breaking. J. Bionic Eng. 2015, 12, 495–503. [Google Scholar] [CrossRef]
- Li, X.; Zhang, Y.P.; He, H.J.; Wang, B.; Zhou, H.; Geng, D.Y.; Zhang, Y.Z. Design and Experiment of Row Cleaner with Staggered Disc Teeth for No-Till Planter. Agriculture 2023, 13, 1373. [Google Scholar] [CrossRef]
- Guo, C.C. Study on Parameter Optimization of Cross-Groove Opener Based on Root-Soil Composite Discrete Element Model. Master’s Thesis, Northwest A&F University, Xianyang, China, 2021. [Google Scholar]
- Guo, W.J. Study on the Mechanical Properties and Dynamic Law of Wheat Growth. Ph.D. Thesis, Gansu Agricultural University, Gansu, China, 2008. [Google Scholar]
- Zhong, G.Y.; Li, H.W.; He, J.; Wang, Q.J.; Lu, C.Y.; Wang, C.; Tong, Z.W.; Cui, D.D.; He, D. Design and Test of Single-Disc Opener for No-Till Planter Based on Support Cutting. Agriculture 2023, 13, 1635. [Google Scholar] [CrossRef]
- Zhao, S.H.; Wang, J.Y.; Yang, C.; Chen, J.Q.; Yang, Y.Q. Design and experiment of conservation tillage stubble crushing knife. Trans. CSAM 2019, 50, 57–68. [Google Scholar]
- Zhu, H.B.; Wu, X.; Qian, C.; Bai, L.Z.; Ma, S.A.; Zhao, H.R.; Zhang, X.; Li, H. Design and Experimental Study of a Bi-Directional Rotating Stubble-Cutting No-Tillage Planter. Agriculture 2022, 12, 1637. [Google Scholar] [CrossRef]
- Huang, Y.X.; Gao, P.Y.; Zhang, Q.K.; Shen, H.; Zhu, R.X.; Shi, J.T. Design and experiment of no-tillage planter stubble guide grass combined grass-soil separation device. Trans. CSAM 2020, 51, 67–78. [Google Scholar]
- Gu, F.W.; Hu, Z.C.; Chen, Y.Q.; Wu, F. Development of peanut no-tillage seeder for wheat stubble whole straw mulching under the idea of clean area sowing. Trans. CSAE 2016, 32, 15–23. [Google Scholar]
- Li, P. Analysis of high yield planting technology and application promotion of peanut. New Agric. 2020, 5, 8–9. [Google Scholar]
- Xu, H.B.; Hu, Z.C.; Zhang, P.; Gu, F.W.; Wu, F.; Song, W.L.; Wang, C.C. Optimization and Experiment of Straw Back-Throwing Device of No-Tillage Drill Using Multi-Objective QPSO Algorithm. Agriculture 2021, 11, 986. [Google Scholar] [CrossRef]
- Xue, C.; Chen, Q.L.; Liu, C.; Wang, W.W. A method for optimising the parameters of connecting parts of a corn no-till planter. Biosyst. Eng. 2024, 245, 177–189. [Google Scholar] [CrossRef]
- Liu, L.; Wang, X.L.; Zhang, X.C.; Cheng, X.P.; Wei, Z.C.; Zhou, H.; Zhao, K.L. The impact of ‘T’-shaped furrow opener of no-tillage seeder on straw and soil based on discrete element method. Comput. Electron. Agric. 2023, 213, 108278. [Google Scholar] [CrossRef]
- Hou, S.Y.; Ji, Z.C.; Xue, D.H.; Wang, X.; Feng, B.J.; Chen, H.T. Improved design and experiment of straw cleaning device adapted to no-tillage sowing monomer. Trans. CSAM 2023, 54, 111–122. [Google Scholar]
- Mak, J.; Chen, Y.; Sadek, M.A. Determining parameters of a discrete element model for soil-tool interaction. Soil Tillage Res. 2012, 118, 117–122. [Google Scholar] [CrossRef]
- Li, Y.X.; Lu, C.Y.; Li, H.W.; He, J.; Wang, Q.J.; Huang, S.H.; Gao, Z.; Yuan, P.P.; Wei, X.Y.; Zhan, H.M. Design and Experiment of Spiral Discharge Anti-Blocking and Row-Sorting Device of Wheat No-Till Planter. Agriculture 2022, 12, 468. [Google Scholar] [CrossRef]
- Shi, Y.Y.; Jiang, Y.; Wang, X.C.; Thuy, N.T.D.; Yu, H.M. A mechanical model of single wheat straw with failure characteristics based on discrete element method. Biosyst. Eng. 2023, 230, 1–15. [Google Scholar] [CrossRef]
- Cao, X.P.; Wang, Q.J.; Li, H.W.; He, J.; Lu, C.Y. Study on the combined stubble clearing device of side cutter and stubble tooth disc of corn no-tillage planter. Trans. CSAM 2021, 52, 36–44. [Google Scholar]
- Zhang, Q.Y.; Fang, H.M.; Xu, G.W.; Niu, M.M.; Li, J.Y. Experimental and Numerical Analysis of Straw Motion under the Action of an Anti-Blocking Mechanism for a No-Till Maize Planter. Agriculture 2024, 14, 1001. [Google Scholar] [CrossRef]
- GB/T 20865-2017; No (Less) Tillage and Fertilization Seeder. China National Standardization Administration Committee/China Standard Press: Beijing, China, 2017.












| Code | Experimental Factors | ||
|---|---|---|---|
| Motion Inclination Angle | Bending Angle | Advance Velocity | |
| β/° | δ/° | v/(km/h) | |
| −1 | 10 | 50 | 6 |
| 0 | 20 | 60 | 8 |
| 1 | 30 | 70 | 10 |
| Experimental Serial Number | Experimental Factors | Experimental Indexes | ||||
|---|---|---|---|---|---|---|
| A | B | C | Straw Clearance Rate y1/% | Stubble-Breaking Rate y2/% | Operation Power Consumption y3/kW | |
| 1 | −1 | −1 | 0 | 93.59 | 95.18 | 4.16 |
| 2 | 1 | −1 | 0 | 95.84 | 96.52 | 3.52 |
| 3 | −1 | 1 | 0 | 88.93 | 92.96 | 3.86 |
| 4 | 1 | 1 | 0 | 92.52 | 94.44 | 3.87 |
| 5 | −1 | 0 | −1 | 89.64 | 95.04 | 3.98 |
| 6 | 1 | 0 | −1 | 90.58 | 96.12 | 3.5 |
| 7 | −1 | 0 | 1 | 90.54 | 94.22 | 4.45 |
| 8 | 1 | 0 | 1 | 91.96 | 96.22 | 3.78 |
| 9 | 0 | −1 | −1 | 92.06 | 97.60 | 3.72 |
| 10 | 0 | 1 | −1 | 90.19 | 94.93 | 3.44 |
| 11 | 0 | −1 | 1 | 94.97 | 96.33 | 3.87 |
| 12 | 0 | 1 | 1 | 89.72 | 95.32 | 3.32 |
| 13 | 0 | 0 | 0 | 93.78 | 97.08 | 1.69 |
| 14 | 0 | 0 | 92.76 | 96.64 | 1.87 | |
| 15 | 0 | 0 | 0 | 93.95 | 96.83 | 1.78 |
| 16 | 0 | 0 | 0 | 93.81 | 96.83 | 1.78 |
| 17 | 0 | 0 | 0 | 93.15 | 97.10 | 1.98 |
| Indexes | Source of Variance | Sum of Square | df | Mean Square | F-Value | p-Value |
|---|---|---|---|---|---|---|
| Straw clearance rate | Model | 62.54 | 9 | 6.95 | 18.31 | 0.0005 ** |
| A | 8.41 | 1 | 8.41 | 0.0672 | 0.0022 ** | |
| B | 28.50 | 1 | 28.50 | 8.89 | <0.0001 ** | |
| C | 2.78 | 1 | 2.78 | 1289.87 | 0.0302 * | |
| AB | 0.4489 | 1 | 0.4489 | 7.56 | 0.3128 | |
| AC | 0.0576 | 1 | 0.0576 | 0.3026 | 0.7084 | |
| BC | 2.86 | 1 | 2.86 | 4.84 | 0.0288 * | |
| A2 | 3.51 | 1 | 3.51 | 1.94 | 0.0189 * | |
| B2 | 0.0855 | 1 | 0.0855 | 46.89 | 0.6495 | |
| C2 | 15.16 | 1 | 15.16 | 0.0057 | 0.0004 ** | |
| Residual error | 2.66 | 7 | 0.3794 | |||
| Lack of fit | 1.61 | 3 | 0.5365 | 2.05 | 0.2495 | |
| Error | 1.05 | 4 | 0.2616 | |||
| Summation | 65.20 | 16 | ||||
| Stubble-breaking rate | Model | 24.59 | 9 | 2.73 | 91.33 | <0.0001 ** |
| A | 4.35 | 1 | 4.35 | 145.44 | <0.0001 ** | |
| B | 7.91 | 1 | 7.91 | 266.07 | <0.0001 ** | |
| C | 0.32 | 1 | 0.32 | 10.70 | 0.0137 * | |
| AB | 0.0049 | 1 | 0.0049 | 0.1638 | 0.6978 | |
| AC | 0.2116 | 1 | 0.2116 | 7.07 | 0.0325 * | |
| BC | 0.6889 | 1 | 0.6889 | 23.03 | 0.0020 ** | |
| A2 | 8.05 | 1 | 8.05 | 269.19 | <0.0001 ** | |
| B2 | 2.29 | 1 | 2.29 | 76.65 | <0.0001 ** | |
| C2 | 0.0538 | 1 | 0.0538 | 1.80 | 0.2219 | |
| Residual error | 0.2094 | 7 | 0.0299 | |||
| Lack of fit | 0.0597 | 3 | 0.0199 | 0.5317 | 0.6846 | |
| Error | 0.1497 | 4 | 0.0374 | |||
| Summation | 24.80 | 16 | ||||
| Operation power consumption | Mode | 14.62 | 9 | 1.62 | 46.69 | <0.0001 ** |
| A | 0.3961 | 1 | 0.3961 | 11.38 | 0.0119 * | |
| B | 0.0761 | 1 | 0.0761 | 2.19 | 0.1829 | |
| C | 0.0761 | 1 | 0.0761 | 2.19 | 0.1829 | |
| AB | 0.1056 | 1 | 0.1056 | 3.04 | 0.1250 | |
| AC | 0.0090 | 1 | 0.0090 | 0.2593 | 0.6262 | |
| BC | 0.0182 | 1 | 0.0182 | 0.5237 | 0.4927 | |
| A2 | 5.93 | 1 | 5.93 | 170.26 | <0.0001 ** | |
| B2 | 3.02 | 1 | 3.02 | 86.65 | <0.0001 ** | |
| C2 | 3.57 | 1 | 3.57 | 102.69 | <0.0001 ** | |
| Residual error | 0.2436 | 7 | 0.0348 | |||
| Lack of fit | 0.1954 | 3 | 0.0651 | 5.41 | 0.0684 | |
| Error | 0.0482 | 4 | 0.0121 | |||
| Summation | 14.87 | 16 |
| Parameter | Numerical Value | |
|---|---|---|
| Ground straw | Crushing length/mm | 80~100 |
| Cutting height/mm | 90~120 | |
| Cover rate/(kg/m2) | 0.78 | |
| Moisture content/% | 12.5 | |
| 0~100 mm Pedosphere | Firmness/MPa | 2.1 |
| Moisture content/% | 17.5 | |
| Volumetric weight/(g/cm3) | 1.56 |
| Stroke 1 | Stroke 2 | Stroke 3 | |
|---|---|---|---|
| Blocking condition | Not blocked | Not blocked | Not blocked |
| Type | Serial Number | W kg/Num. | W1 kg/Num. | Clearance Rate and Breaking Rate | Average Value |
|---|---|---|---|---|---|
| Straw quality | 1 | 0.095 | 0.0094 | 90.12% | 91.04% |
| 2 | 0.098 | 0.0074 | 92.44% | ||
| 3 | 0.102 | 0.0059 | 94.20% | ||
| 4 | 0.098 | 0.0089 | 90.87% | ||
| 5 | 0.095 | 0.0103 | 89.20% | ||
| 6 | 0.091 | 0.0104 | 88.56% | ||
| 7 | 0.102 | 0.0075 | 92.66% | ||
| 8 | 0.105 | 0.0094 | 91.06% | ||
| 9 | 0.112 | 0.0109 | 90.25% | ||
| Complete stubble number | 1 | 91 | 5 | 94.12% | 92.98% |
| 2 | 92 | 5 | 94.32% | ||
| 3 | 92 | 6 | 93.44% | ||
| 4 | 96 | 5 | 94.89% | ||
| 5 | 96 | 8 | 92.04% | ||
| 6 | 95 | 7 | 92.90% | ||
| 7 | 93 | 7 | 92.18% | ||
| 8 | 94 | 8 | 91.34% | ||
| 9 | 93 | 8 | 91.56% |
| Stroke 1 | Stroke 2 | Stroke 3 | Average Value | |
|---|---|---|---|---|
| Torque/N·m | 31.40 | 30.91 | 31.89 | 31.40 |
| Power consumption/kW | 1.92 | 1.89 | 1.95 | 1.92 |
Disclaimer/Publisher’s Note: The statements, opinions and data contained in all publications are solely those of the individual author(s) and contributor(s) and not of MDPI and/or the editor(s). MDPI and/or the editor(s) disclaim responsibility for any injury to people or property resulting from any ideas, methods, instructions or products referred to in the content. |
© 2024 by the authors. Licensee MDPI, Basel, Switzerland. This article is an open access article distributed under the terms and conditions of the Creative Commons Attribution (CC BY) license (https://creativecommons.org/licenses/by/4.0/).
Share and Cite
Zhu, A.; Xu, C.; Liu, Y.; Wang, J.; Tan, X. Design and Experiment of Oblique Stubble-Cutting Side-Throwing Anti-Blocking Device for No-Tillage Seeder. Agriculture 2024, 14, 2250. https://doi.org/10.3390/agriculture14122250
Zhu A, Xu C, Liu Y, Wang J, Tan X. Design and Experiment of Oblique Stubble-Cutting Side-Throwing Anti-Blocking Device for No-Tillage Seeder. Agriculture. 2024; 14(12):2250. https://doi.org/10.3390/agriculture14122250
Chicago/Turabian StyleZhu, Awei, Chengtao Xu, Yanfen Liu, Jiasheng Wang, and Xiaodong Tan. 2024. "Design and Experiment of Oblique Stubble-Cutting Side-Throwing Anti-Blocking Device for No-Tillage Seeder" Agriculture 14, no. 12: 2250. https://doi.org/10.3390/agriculture14122250
APA StyleZhu, A., Xu, C., Liu, Y., Wang, J., & Tan, X. (2024). Design and Experiment of Oblique Stubble-Cutting Side-Throwing Anti-Blocking Device for No-Tillage Seeder. Agriculture, 14(12), 2250. https://doi.org/10.3390/agriculture14122250
