Numerical Simulation of the Flow Field Stabilization of a Pressure-Regulating Device
Abstract
1. Introduction
2. Materials and Methods
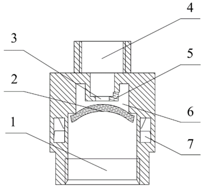
2.1. Structural Design and Working Principle
2.2. Selection of Key Structural Parameters
Key Structural Hydraulic Parameters
2.3. Design and Method of Hydraulic Performance Tests
2.4. Design and Methos of the Numerical Simulation Experiment
2.4.1. 3D Physical Model
2.4.2. Turbulence Model
- (1)
- continuity equation:
- (2)
- momentum equation:
- (3)
- turbulent kinetic energy equation:
- (4)
- turbulent dissipation rate equation:
- (5)
- turbulent viscosity equation:
2.4.3. Structure Setup
2.4.4. Meshing
2.4.5. Boundary Condition Setting
2.4.6. Simulation Reliability Verification
3. Results
3.1. Characterization of the Overall Flow Field of the Pressure-Regulating Device
3.1.1. Pressure Distribution
3.1.2. Flow Rate Distribution
3.2. Characterization of Elastic Diaphragm Deformation
3.3. Side Channel Flow Characteristics
3.3.1. Parameters of the Numerical Simulation Model
3.3.2. Selection of Monitoring Points for the Side Channel Simulation
3.3.3. Side Channel Pressure Field and Its Distribution Characteristics
3.3.4. Side Channel Velocity Field and Its Distribution Characteristics
4. Discussion
5. Conclusions
- (1)
- Numerical simulations of the pressure-regulating device reveal that the device has essentially identical pressure and flow rate distributions at different moments. The deformation of the elastic membrane significantly impacts the implementation of pressure regulation and flow stabilization mechanisms. When the degree of deformation of the elastic membrane increased, the main pressure regulation and flow stabilization mechanism of the pressure-regulating device gradually shifted from the side channel and compensation chamber to the side channel and auxiliary channel.
- (2)
- The optimized model 5 had better pressure distribution and flow rate distribution than the other models under different pressure conditions, which indicates that improving the side channel baffles, secondary channel heights, and secondary channel angle can effectively improve the performance of the pressure-regulating device in regulating and stabilizing the flow.
Author Contributions
Funding
Institutional Review Board Statement
Data Availability Statement
Conflicts of Interest
References
- Hui, X.; Chen, J.Y.; Zhang, L.; Fu, B.; Ren, N. Droplet Diameter Distribution for Sprinkler Irrigation Under Different Layouts of Standpipe on Sloping Land. Water Sav. Irrig. 2018, 7, 25–30. [Google Scholar]
- Wang, S.X.; Li, N.; Wang, C.J.; Wang, J.; Liang, X.; Qiu, X. Research Status and Prospect of Water and Fertilizer Integration Technology for High Efficiency Water Saving Irrigation of Maize in China. Water Sav. Irrig. 2023, 8, 121–128. [Google Scholar]
- Wang, J. Experimental Study and Numerical Simulation of Hydraulic Characteristics of Pressure Compensating Emitter. Master’s Thesis, Northwest A&F University, Xianyang, China, 2013. [Google Scholar]
- Wang, L.P.; Wei, Z.Y.; Deng, T.; Tang, Y. Step-by-step CFD design method of pressure compensating emitter. Trans. Chin. Soc. Agric. Eng. 2012, 28, 86–92. [Google Scholar]
- Zhou, X.; Wei, Z.Y.; Yuan, W.J.; Wang, L.P. Fluid-structure interaction analysis method for pressure compensating emitter. Trans. Chin. Soc. Agric. Eng. 2013, 29, 30–36. [Google Scholar]
- Chu, H.L.; Wei, Z.Y.; Yuan, W.J.; Zhou, X.; Ma, S.L. Fluid-Structure Interaction Simulation and Visualization Experiments for Pressure-compensating Emitters. J. Mech. Eng. 2015, 51, 170–177. [Google Scholar] [CrossRef]
- Wang, X.L.; An, S.X.; Shang, Z.Q. Optimal Design and Testing of Pressure-compensated Drip Irrigation Emitter. J. Irrig. Drain. 2018, 37, 65–70. [Google Scholar]
- Xu, Y.; Su, Y.P.; Yang, P.L.; Ren, S. Influence of elastic diaphragm on hydraulic performance of pipe-type pressure compensating emitter and simulation of internal fluid structure interaction. J. Drain. Irrig. Mach. Eng. 2020, 38, 743–750. [Google Scholar]
- Chen, X.L.; Wei, Z.Y.; He, K. An estimation of the discharge exponent of a drip irrigation emitter by response surface methodology and machine learning. Water 2022, 14, 1034. [Google Scholar] [CrossRef]
- Hou, J.L.; Zhang, E.P.; Sun, Y.T.; Zhang, L.; Zhou, K. Structural optimization and performance analysis of button pressure-compensating emitters. Trans. Chin. Soc. Agric. Eng. 2022, 38, 100–108. [Google Scholar] [CrossRef]
- Wang, F.J. Computational Fluid Dynamics Analysis—Principles and Applications of CFD Software; Tsinghua University Press: Beijing, China, 2004. [Google Scholar]
- Lee, B.S.; Rivin, E.I. Finite Element Analysis of Load-Deflection and Creep Characteristics of Compressed Rubber Components for Vibration Control Devices. J. Mech. Des. 1996, 118, 328–336. [Google Scholar] [CrossRef]
- Zhao, Y. Structural Design and Performance Study of Pressure Regulating Device for Sprinkler Irrigation System in Hilly Areas. Master’s Thesis, Jiangsu University, Zhenjiang, China, 2024. [Google Scholar]
- Hou, P.; Li, S.Q.; Liu, Z.Y.; Zhou, H.; Tahir, M.; Wu, R.; Liu, W.; Li, Y. Water temperature effects on hydraulic performance of pressure-compensating emitter in a drip irrigation system. Irrig. Drain. 2020, 70, 332–341. [Google Scholar] [CrossRef]
- Delghandi, M.; Behzad, M.; Broomandnasab, S.; Saeedinia, M. Study on effects of temperature changes on emitters outflow of drip irrigation. Res. Crops 2011, 12, 600–606. [Google Scholar]
- Ml-hafedh, A.V.O.M.; Daghari, H.; Maalej, M. Analysis of several discharge rate spacing-duration combinations in drip irrigation system. Agric. Water Manag. 2001, 52, 33–52. [Google Scholar] [CrossRef]
- Aliasghar, M.; Maryam, M. Influence of wind and bed slope on water and soil moisture distribution in solid-set sprinkler systems. Irrig. Drain. 2008, 57, 175–185. [Google Scholar] [CrossRef]
- Zhang, L.; Fu, B.Y.; Ren, N.Y.; Huang, Y. Effect of Pulsating Pressure on Water Distribution and Application Uniformity for Sprinkler Irrigation on Sloping Land. Water 2019, 11, 913. [Google Scholar] [CrossRef]

















| Model | Elastic Diaphragm Thickness/mm | Compensation Chamber Height/mm | Channel Baffle Angle/° | Secondary Channel Height/mm | Secondary Channel Angle/° |
|---|---|---|---|---|---|
| 1 | 1 | 6 | 0 | 3 | 0 |
| 2 | 1 | 6 | 0 | 4 | 45 |
| 3 | 1 | 6 | 40 | 3 | 90 |
| 4 | 1 | 6 | 40 | 4 | 45 |
| 5 | 1 | 6 | 80 | 5 | 45 |
| 6 | 1 | 6 | 80 | 5 | 90 |
Disclaimer/Publisher’s Note: The statements, opinions and data contained in all publications are solely those of the individual author(s) and contributor(s) and not of MDPI and/or the editor(s). MDPI and/or the editor(s) disclaim responsibility for any injury to people or property resulting from any ideas, methods, instructions or products referred to in the content. |
© 2024 by the authors. Licensee MDPI, Basel, Switzerland. This article is an open access article distributed under the terms and conditions of the Creative Commons Attribution (CC BY) license (https://creativecommons.org/licenses/by/4.0/).
Share and Cite
Chen, C.; Zhao, Y.; Liu, J.; Zhao, Y.; Hussain, Z.; Xie, R. Numerical Simulation of the Flow Field Stabilization of a Pressure-Regulating Device. Agriculture 2024, 14, 1873. https://doi.org/10.3390/agriculture14111873
Chen C, Zhao Y, Liu J, Zhao Y, Hussain Z, Xie R. Numerical Simulation of the Flow Field Stabilization of a Pressure-Regulating Device. Agriculture. 2024; 14(11):1873. https://doi.org/10.3390/agriculture14111873
Chicago/Turabian StyleChen, Chao, Yanyan Zhao, Junping Liu, Yuxia Zhao, Zawar Hussain, and Rongjun Xie. 2024. "Numerical Simulation of the Flow Field Stabilization of a Pressure-Regulating Device" Agriculture 14, no. 11: 1873. https://doi.org/10.3390/agriculture14111873
APA StyleChen, C., Zhao, Y., Liu, J., Zhao, Y., Hussain, Z., & Xie, R. (2024). Numerical Simulation of the Flow Field Stabilization of a Pressure-Regulating Device. Agriculture, 14(11), 1873. https://doi.org/10.3390/agriculture14111873

