IoAT Enabled Smart Farming: Urdu Language-Based Solution for Low-Literate Farmers
Abstract
:1. Introduction
1.1. Rationale
1.2. Objectives and Hypotheses
- Investigated traditional techniques and systems with different agricultural interfaces to find a research gap.
- Design and develop an interface in an easy-to-use format and Urdu for low-literate farmers to facilitate their awareness and guidelines in their native language.
- Design and develop a mechanism for measuring soil fertility of specific land to recommend suitable crops according to soil fertility using fuzzy logic.
- Provide crops cultivation schedule, crop harvest schedule, automated irrigation process, and watering guidelines to farmers.
- Facilitate farmers concerning guidelines for weeds and their eradication, pest attacks, and awareness of best pesticides, crop diseases, and suitable fertilizers.
2. Materials and Methods
Proposed System Design and Architecture
3. Results and Discussion
3.1. System Components and Expected Outcomes
3.1.1. Soil Nutrient Analysis
- Soluble metals, especially Manganese and Aluminum, may be toxic.
- The population of organisms and their activities accountable for transforming N, P, and S to plant-available forms may be reduced.
- Deficiency of Calcium. The soil’s cation exchange capacity (CEC) is low.
- Symbiotic N fixation in legume crops is significantly impaired. The symbiotic association entails a narrower range of soil reactions than does the growth of plants not relying on ‘N’ fixation.
- Acidic soil with less organic matter is poorly aggregated and has poor tilt.
- The availability of mineral elements in soil may be affected. Association between soil pH and nutrient availability to plants can be depicted in Figure 3. The wider the blue bar, the greater the nutrient availability. For example, for a pH range of 5.5–7.5, the availability of P is highest and drops below 5.5. If the soil pH is 6, an amount of P applied to it will be more available than if the same amount is used in soil with a pH less than 5.5. Soil with high pH (>7.4) reduces several nutrients such as Fe, Mn, Zn, and P, which is not economical for growing agronomic crops.
3.1.2. Crops Recommendation
| Algorithm 1: A Fuzzy Logic System |
|
3.1.3. Land Preparation and Cultivation
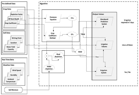
3.1.4. Irrigation
3.1.5. Crops Disease Prevention and Cure
3.1.6. Pest and Weed Control
3.1.7. Fertilizing
3.1.8. Harvesting and Storing
3.2. Discussion
4. Conclusion
Author Contributions
Funding
Institutional Review Board Statement
Informed Consent Statement
Data Availability Statement
Acknowledgments
Conflicts of Interest
References
- Zaman, S.B.; Ishaq, M.; Niazi, M.A. Contribution of Agriculture Sector in Economic Growth of Pakistan: An Empirical Analysis. J. Appl. Econ. Bus. Stud. 2021, 5, 103–120. [Google Scholar] [CrossRef]
- Jatoi, F.Z. Agriculture in Pakistan and it’s impact on Economic growth. SSRN Electron. J. 2020. [Google Scholar] [CrossRef]
- 02-Agriculture.pdf. Available online: https://www.finance.gov.pk/survey/chapters_21/02-Agriculture.pdf (accessed on 18 July 2022).
- Khan, Z.A.; Koondhar, M.A.; Khan, I.; Ali, U.; Tianjun, L. Dynamic linkage between industrialization, energy consumption, carbon emission, and agricultural products export of Pakistan: An ARDL approach. Environ. Sci. Pollut. Res. Int. 2021, 28, 43698–43710. [Google Scholar] [CrossRef] [PubMed]
- Saqib, S.E.; Arifullah, A.; Yaseen, M. Managing farm-centric risks in agricultural production at the flood-prone locations of Khyber Pakhtunkhwa, Pakistan. Nat. Hazards 2021, 107, 853–871. [Google Scholar] [CrossRef]
- Yaseen, M.; Shahzad, M.S.; Khan, F.U.; Luqman, M.; Saleem, U.; Nasir, S. Public Sector Advisory Services for Rice Productivity: A Case Study of Farmers’ Awareness in Tehsil Shakargarh of Pakistan. Sarhad J. Agric. 2021, 38, 229–237. [Google Scholar] [CrossRef]
- Sansa-Otim, J.; Nsabagwa, M.; Mwesigwa, A.; Faith, B.; Owoseni, M.; Osuolale, O.; Mboma, D.; Khemis, B.; Albino, P.; Ansah, S.O.; et al. An Assessment of the Effectiveness of Weather Information Dissemination among Farmers and Policy Makers. Sustainability 2022, 14, 3870. [Google Scholar] [CrossRef]
- Salik, M.H.; Tanwir, F.; Saboor, A.; Akram, M.B.; Anjum, F.; Mehdi, M.; Ashraf, I.; Naazer, M.A.; Suleman, M.; Latif, M.; et al. Role of Radio Communication and Adoption of Modern Agricultural Technology: A Study of Farmers in District Jhang, Punjab-Pakistan. Pak. J. Agric. Sci. 2021, 58, 731–738. [Google Scholar] [CrossRef]
- Alant, B.P.; Bakare, O.O. A case study of the relationship between smallholder farmers’ ICT literacy levels and demographic data w.r.t. their use and adoption of ICT for weather forecasting. Heliyon 2021, 7, e06403. [Google Scholar] [CrossRef]
- Javaid, N. Integration of context awareness in Internet of Agricultural Things. ICT Express 2021. [Google Scholar] [CrossRef]
- Ayim, C.; Kassahun, A.; Addison, C.; Tekinerdogan, B. Adoption of ICT innovations in the agriculture sector in Africa: A review of the literature. Agric. Food Secur. 2022, 11, 22. [Google Scholar] [CrossRef]
- Jha, K.; Doshi, A.; Patel, P.; Shah, M. A comprehensive review on automation in agriculture using artificial intelligence. Artif. Intell. Agric. 2019, 2, 1–12. [Google Scholar] [CrossRef]
- Bannerjee, G.; Sarkar, U.; Das, S.; Ghosh, I. Artificial Intelligence in Agriculture: A Literature Survey. Int. J. Sci. Res. Comput. Sci. Appl. Manag. Stud. 2018, 7, 1–6. [Google Scholar]
- Agesa, B.; Onyango, C.; Kathumo, V.; Onwonga, R.; Karuku, G. Climate Change Effects on Crop Production in Kenya: Farmer Perceptions and Adaptation Strategies. Afr. J. Food Agric. Nutr. Dev. 2019, 19, 14010–14042. [Google Scholar] [CrossRef]
- Ngoune Liliane, T.; Shelton Charles, M. Factors Affecting Yield of Crops. Agron. Clim. Change Food Secur. 2020. [Google Scholar] [CrossRef]
- Ahmad, D.; Afzal, M. Impact of climate change on pastoralists’ resilience and sustainable mitigation in Punjab, Pakistan. Environ. Dev. Sustain. 2021, 23, 11406–11426. [Google Scholar] [CrossRef]
- Fahad, S.; Wang, J. Climate change, vulnerability, and its impacts in rural Pakistan: A review. Environ. Sci. Pollut. Res. 2019, 27, 1334–1338. [Google Scholar] [CrossRef]
- Subeesh, A.; Mehta, C.R. Automation and digitization of agriculture using artificial intelligence and internet of things. Artif. Intell. Agric. 2021, 5, 278–291. [Google Scholar] [CrossRef]
- Kumar, S.; Singh, R.; Venkatesh, A.S.; Udayabhanu, G.; Singh, T.B.N. Assessment of Potentially Toxic Elements Contamination on the Fertile Agricultural Soils Within Fluoride-Affected Areas of Jamui District, Indo-Gangetic Alluvial Plains, India. Water Air Soil Pollut. 2022, 233, 39. [Google Scholar] [CrossRef]
- Zambito Marsala, R.; Capri, E.; Russo, E.; Bisagni, M.; Colla, R.; Lucini, L.; Gallo, A.; Suciu, N.A. First evaluation of pesticides occurrence in groundwater of Tidone Valley, an area with intensive viticulture. Sci. Total Environ. 2020, 736, 139730. [Google Scholar] [CrossRef]
- Gupta, A.; Singh, U.B.; Sahu, P.K.; Paul, S.; Kumar, A.; Malviya, D.; Singh, S.; Kuppusamy, P.; Singh, P.; Paul, D.; et al. Linking Soil Microbial Diversity to Modern Agriculture Practices: A Review. Int. J. Environ. Res. Public Health 2022, 19, 3141. [Google Scholar] [CrossRef]
- Kopittke, P.M.; Menzies, N.W.; Wang, P.; McKenna, B.A.; Lombi, E. Soil and the intensification of agriculture for global food security. Environ. Int. 2019, 132, 105078. [Google Scholar] [CrossRef] [PubMed]
- Khan, N.A.; Gao, Q.; Iqbal, M.A.; Abid, M. Modeling food growers’ perceptions and behavior towards environmental changes and its induced risks: Evidence from Pakistan. Environ. Sci. Pollut. Res. 2020, 27, 20292–20308. [Google Scholar] [CrossRef] [PubMed]
- Ullah, W.; Nafees, M.; Khurshid, M.; Nihei, T. Assessing farmers’ perspectives on climate change for effective farm-level adaptation measures in Khyber Pakhtunkhwa, Pakistan. Environ. Monit. Assess. 2019, 191, 547. [Google Scholar] [CrossRef] [PubMed]
- Zhang, M.; Wang, N.; Chen, L. Sensing Technologies and Automation for Precision Agriculture. In Women in Precision Agriculture; Springer: Cham, Germany, 2021; pp. 35–54. [Google Scholar] [CrossRef]
- Blasch, J.; van der Kroon, B.; van Beukering, P.; Munster, R.; Fabiani, S.; Nino, P.; Vanino, S. Farmer preferences for adopting precision farming technologies: A case study from Italy. Eur. Rev. Agric. Econ. 2020, 49, 33–81. [Google Scholar] [CrossRef]
- Gonçalves, P.; Pedreiras, P.; Monteiro, A. Recent Advances in Smart Farming. Animals 2022, 12, 705. [Google Scholar] [CrossRef] [PubMed]
- De Alwis, S.; Hou, Z.; Zhang, Y.; Na, M.H.; Ofoghi, B.; Sajjanhar, A. A survey on smart farming data, applications and techniques. Comput. Ind. 2022, 138, 103624. [Google Scholar] [CrossRef]
- Bhat, S.A.; Huang, N.-F. Big Data and AI Revolution in Precision Agriculture: Survey and Challenges. IEEE Access 2021, 9, 110209–110222. [Google Scholar] [CrossRef]
- Ullo, S.L.; Sinha, G.R. Advances in IoT and Smart Sensors for Remote Sensing and Agriculture Applications. Remote Sens. 2021, 13, 2585. [Google Scholar] [CrossRef]
- Gao, F. Remote Sensing for Agriculture. In Springer Remote Sensing/Photogrammetry; Springer: Cham, Germany, 2021; pp. 7–24. [Google Scholar] [CrossRef]
- Waleed, M.; Um, T.-W.; Kamal, T.; Usman, S.M. Classification of Agriculture Farm Machinery Using Machine Learning and Internet of Things. Symmetry 2021, 13, 403. [Google Scholar] [CrossRef]
- Qazi, S.; Khawaja, B.A.; Farooq, Q.U. IoT-Equipped and AI-Enabled Next Generation Smart Agriculture: A Critical Review, Current Challenges and Future Trends. IEEE Access 2022, 10, 21219–21235. [Google Scholar] [CrossRef]
- Tao, W.; Zhao, L.; Wang, G.; Liang, R. Review of the internet of things communication technologies in smart agriculture and challenges. Comput. Electron. Agric. 2021, 189, 106352. [Google Scholar] [CrossRef]
- Mehmood, M.Z.; Ahmed, M.; Afzal, O.; Aslam, M.A.; Zoq-ul-Arfeen, R.; Qadir, G.; Komal, S.; Shahid, M.A.; Awan, A.A.; Awale, M.A.; et al. Internet of Things (IoT) and Sensors Technologies in Smart Agriculture: Applications, Opportunities, and Current Trends. Build. Clim. Resil. Agric. 2021, 339–364. [Google Scholar] [CrossRef]
- Hassan, S.I.; Alam, M.M.; Illahi, U.; Al Ghamdi, M.A.; Almotiri, S.H.; Su’ud, M.M. A Systematic Review on Monitoring and Advanced Control Strategies in Smart Agriculture. IEEE Access 2021, 9, 32517–32548. [Google Scholar] [CrossRef]
- Khan, N.A.; Qijie, G.; Ali, S.; Shahbaz, B.; Shah, A.A. Farmers’ use of mobile phone for accessing agricultural information in Pakistan: Ciência Rural 2019, 49. Ciência Rural 2019, 49. [Google Scholar] [CrossRef] [Green Version]
- Khan, N.; Siddiqui, B.N.; Khan, N.; Khan, F.; Ullah, N.; Ihtisham, M.; Ullah, R.; Ismail, S.; Muhammad, S. Analyzing mobile phone usage in agricultural modernization and rural development. Int. J. Agric. Ext. 2020, 8, 139–147. [Google Scholar] [CrossRef]
- Chhachhar, A.R.; Chen, C.; Jin, J. Mobile Phone Impact on Agriculture and Price Information among Farmers. Indian J. Sci. Technol. 2016, 9. [Google Scholar] [CrossRef]
- Aldosari, F.; Al Shunaifi, M.S.; Ullah, M.A.; Muddassir, M.; Noor, M.A. Farmers’ perceptions regarding the use of Information and Communication Technology (ICT) in Khyber Pakhtunkhwa, Northern Pakistan. J. Saudi Soc. Agric. Sci. 2019, 18, 211–217. [Google Scholar] [CrossRef]
- Farooq, U. Revolutionising Pakistan Agriculture by Increasing the Use of Knowledge, Science and Technology and ICT. In Building Knowledge-Based Economy in Pakistan: Learning from Best Practices; Islamabad Policy Research Institute: Islamabad, Pakistan, 2016; pp. 112–143. ISBN 978-969-8721-49-7. [Google Scholar]
- Lee, I.; Lee, K. The Internet of Things (IoT): Applications, investments, and challenges for enterprises. Bus. Horiz. 2015, 58, 431–440. [Google Scholar] [CrossRef]
- Medhi, I.; Patnaik, S.; Brunskill, E.; Gautama, S.N.N.; Thies, W.; Toyama, K. Designing mobile interfaces for novice and low-literacy users. ACM Trans. Comput. Hum. Interact. 2011, 18, 1–28. [Google Scholar] [CrossRef]
- Ujakpa, M.M.; Kristof, A.; Domingos, A.; Hashiyana, V.; Suresh, N.; Osakwe, J.O.; Iyawa, G. Farmers’ Use of Mobile Devices in Developing Countries. In Proceedings of the 2021 IST-Africa Conference (IST-Africa), South Africa, 10–14 May 2021; pp. 1–7. [Google Scholar]
- Idrees, F.; Qadir, J.; Mehmood, H.; Hassan, S.U.; Batool, A. Urdu Language based Information Dissemination System for Low-Literate Farmers; ACM: New York, NY, USA, 2019. [Google Scholar]
- Smart Agriculture on Computers and Handheld Devices. Int. J. Adv. Trends Comput. Sci. Eng. 2021, 10, 1177–1182. [CrossRef]
- Sharma, U.; Chetri, P.; Minocha, S.; Roy, A.; Holker, T.; Patt, A.; Joerin, J. Do phone-based short message services improve the uptake of agri-met advice by farmers? A case study in Haryana, India. Clim. Risk Manag. 2021, 33, 100321. [Google Scholar] [CrossRef]
- Chengalur-Smith, I.; Potnis, D.; Mishra, G. Developing voice-based information sharing services to bridge the information divide in marginalized communities: A study of farmers using IBM’s spoken web in rural India. Int. J. Inf. Manag. 2021, 57, 102283. [Google Scholar] [CrossRef]
- Mubin, O.; Tubb, J.; Novoa, M.; Naseem, M.; Razaq, S. Understanding the Needs of Pakistani Farmers and the Prospects of an ICT Intervention; ACM: New York, NY, USA, 2015. [Google Scholar]
- Qasim, M.; Zia, H.B.; Athar, A.; Habib, T.; Raza, A.A. Personalized weather information for low-literate farmers using multimodal dialog systems. Int. J. Speech Technol. 2021, 24, 455–471. [Google Scholar] [CrossRef]
- Srivastava, A.; Kapania, S.; Tuli, A.; Singh, P. Actionable UI Design Guidelines for Smartphone Applications Inclusive of Low-Literate Users. Proc. ACM Hum. Comput. Interact. 2021, 5, 1–30. [Google Scholar] [CrossRef]
- Sheikh, J.A.; Cheema, S.M.; Ali, M.; Amjad, Z.; Tariq, J.Z.; Naz, A. IoT and AI in Precision Agriculture: Designing Smart System to Support Illiterate Farmers. Adv. Intell. Syst. Comput. 2020, 1213, 490–496. [Google Scholar] [CrossRef]
- Munir, M.S.; Bajwa, I.S.; Cheema, S.M. An intelligent and secure smart watering system using fuzzy logic and blockchain. Comput. Electr. Eng. 2019, 77, 109–119. [Google Scholar] [CrossRef]
- Cheema, S.M.; Khalid, M.; Rehman, A.; Sarwar, N. Plant Irrigation and Recommender System–IoT Based Digital Solution for Home Garden. Commun. Comput. Inf. Sci. 2019, 932, 513–525. [Google Scholar] [CrossRef]
- Chatterjee, S.; Dey, N.; Sen, S. Soil moisture quantity prediction using optimized neural supported model for sustainable agricultural applications. Sustain. Comput. Inform. Syst. 2020, 28, 100279. [Google Scholar] [CrossRef]
- Ghorbani, M.A.; Deo, R.C.; Karimi, V.; Kashani, M.H.; Ghorbani, S. Design and implementation of a hybrid MLP-GSA model with multi-layer perceptron-gravitational search algorithm for monthly lake water level forecasting. Stoch. Environ. Res. Risk Assess. 2018, 33, 125–147. [Google Scholar] [CrossRef]
- Morais, R.; Silva, N.; Mendes, J.; Adão, T.; Pádua, L.; López-Riquelme, J.A.; Pavón-Pulido, N.; Sousa, J.J.; Peres, E. mySense: A comprehensive data management environment to improve precision agriculture practices. Comput. Electron. Agric. 2019, 162, 882–894. [Google Scholar] [CrossRef]
- Dewi, C.; Chen, R.-C. Decision Making Based on IoT Data Collection for Precision Agriculture. Intell. Inf. Database Syst. Recent Dev. 2019, 830, 31–42. [Google Scholar] [CrossRef]
- Yang, Z.; Ding, Y.; Hao, K.; Cai, X. An adaptive immune algorithm for service-oriented agricultural Internet of Things. Neurocomputing 2019, 344, 3–12. [Google Scholar] [CrossRef]
- Kale, A.P.; Sonavane, S.P. IoT based Smart Farming: Feature subset selection for optimized high-dimensional data using improved GA based approach for ELM. Comput. Electron. Agric. 2019, 161, 225–232. [Google Scholar] [CrossRef]
- White, S. Evaluation of Articles Written about Agriculture and Comprehension of Agriculture Literacy. Master’s Thesis, Tarleton State University, Stephenville, TX, USA, 2021. [Google Scholar]
- Jan, S.; Maqsood, I.; Ahmad, I.; Ashraf, M.; Khan, F.; Imran, M. A Systematic Feasibility Analysis of User Interfaces for Illiterate Users. Proc. Pak. Acad. Sci. 2019, 56, 75–91. [Google Scholar]
- Hussain, A.; Akhtar, W.; Jabbar, A. Risk management for small farmers in Pakistan: A review. Pak. J. Agric. Sci. 2022, 59, 247–259. [Google Scholar] [CrossRef]
- Cuendet, S.; Medhi, I.; Bali, K.; Cutrell, E. VideoKheti: Making Video Content Accessible to Low-Literate and Novice Users. In Proceedings of the SIGCHI Conference on Human Factors in Computing Systems, Association for Computing Machinery, New York, NY, USA, 27 April 2013; pp. 2833–2842. [Google Scholar]
- Chaudhry, S.; Muhammad, A.; Shah, A.A.; Batoo, F. Human-Computer User Interface Design for Semi-literate and Illiterate Users. Lahore Garrison Univ. Res. J. Comput. Sci. Inf. Technol. 2021, 5, 62–77. [Google Scholar] [CrossRef]
- Hassan, G.; Ashraf, I.; Ul Hassan, N.; Ali, M.; Khalid, I.; Ashraf, E.; Raza, H.; Husnain, R.T.; Zia, S.-R.; Asghar, S. Information deficiency among farmers regarding vegetable production practices in peri-urban areas of the Punjab-Pakistan. Int. J. Agric. Ext. 2021, 9, 19–28. [Google Scholar] [CrossRef]
- Ahmad, A.; Shahid, M.; Khalid, S.; Zaffar, H.; Naqvi, T.; Pervez, A.; Bilal, M.; Ali, M.A.; Abbas, G.; Nasim, W. Residues of endosulfan in cotton growing area of Vehari, Pakistan: An assessment of knowledge and awareness of pesticide use and health risks. Environ. Sci. Pollut. Res. 2018, 26, 20079–20091. [Google Scholar] [CrossRef]
- Khuhro, S.N.; Junejo, I.A.; Hullio, M.H.; Hassan, M.F.; Maitlo, S.A.; Shaikh, M.A. Knowledge Attitude Practice Regarding Pesticide Application among Vegetable Growers of Dadu Canal Irrigated Areas of Northern Sindh Pakistan. Pak. J. Agric. Res. 2020, 33, 331. [Google Scholar] [CrossRef]
- Khan, F.Z.A.; Manzoor, S.A.; Gul, H.T.; Ali, M.; Bashir, M.A.; Akmal, M.; Haseeb, M.; Imran, M.U.; Taqi, M.; Manzoor, S.A.; et al. Drivers of farmers’ intention to adopt integrated pest management: A case study of vegetable farmers in Pakistan. Ecosphere 2021, 12, e03812. [Google Scholar] [CrossRef]
- Bagheri, A.; Emami, N.; Damalas, C.A. Farmers’ behavior in reading and using risk information displayed on pesticide labels: A test with the theory of planned behavior. Pest Manag. Sci. 2021, 77, 2903–2913. [Google Scholar] [CrossRef] [PubMed]
- Riaz, W.; Durrani, H.; Shahid, S.; Raza, A.A. Ict intervention for agriculture development: Designing an ivr system for farmers in pakistan. In Proceedings of the Ninth International Conference on Information and Communication Technologies and Development, New York, NY, USA, 16 November 2017; pp. 1–5. [Google Scholar]
- Nakutis, Z.; Deksnys, V.; Jaruevicius, I.; Marcinkevicius, E.; Ronkainen, A.; Soumi, P.; Nikander, J.; Blaszczyk, T.; Andersen, B. Remote Agriculture Automation Using Wireless Link and IoT Gateway Infrastructure. In Proceedings of the 26th International Workshop on Database and Expert Systems Applications (DEXA), IEEE, Valencia, Spain, 1–4 September 2015. [Google Scholar]
- Brun-Laguna, K.; Diedrichs, A.L.; Chaar, J.E.; Dujovne, D.; Taffernaberry, J.C.; Mercado, G.; Watteyne, T. A Demo of the PEACH IoT-Based Frost Event Prediction System for Precision Agriculture. In Proceedings of the 13th Annual IEEE International Conference on Sensing, Communication, and Networking (SECON), IEEE, London, UK, 27–30 June 2016. [Google Scholar]
- Swain, M.; Hashmi, M.F.; Singh, R.; Hashmi, A.W. A cost-effective LoRa-based customized device for agriculture field monitoring and precision farming on IoT platform. Int. J. Commun. Syst. 2020, 34, e4632. [Google Scholar] [CrossRef]
- Gaikwad, S.V.; Vibhute, A.D.; Kale, K.V.; Mehrotra, S.C. An innovative IoT based system for precision farming. Comput. Electron. Agric. 2021, 187, 106291. [Google Scholar] [CrossRef]
- Available online: https://aquaagro.smartcube.pk/ (accessed on 18 July 2022).
- Singh, P.P.; Pandey, P.; Singh, D.; Singh, S.; Khan, M.S.; Semwal, M. ‘Mentha Mitra’—An android app based advisory digital tool for menthol mint farmers. Ind. Crops Prod. 2020, 144, 112047. [Google Scholar] [CrossRef]
- Ayaz, M.; Ammad-Uddin, M.; Sharif, Z.; Mansour, A.; Aggoune, E.-H.M. Internet-of-Things (IoT)-Based Smart Agriculture: Toward Making the Fields Talk. IEEE Access 2019, 7, 129551–129583. [Google Scholar] [CrossRef]
- Dholu, M.; Ghodinde, K.A. Internet of Things (IoT) for Precision Agriculture Application. In Proceedings of the 2018 2nd International Conference on Trends in Electronics and Informatics (ICOEI), IEEE, Tirunelveli, India, 11–12 May 2018. [Google Scholar]
- Shahzadi, R.; Ferzund, J.; Tausif, M.; Asif, M. Internet of Things based Expert System for Smart Agriculture. Int. J. Adv. Comput. Sci. Appl. 2016, 7, 341–350. [Google Scholar] [CrossRef]
- Farooq, M.S.; Riaz, S.; Abid, A.; Abid, K.; Naeem, M.A. A Survey on the Role of IoT in Agriculture for the Implementation of Smart Farming. IEEE Access 2019, 7, 156237–156271. [Google Scholar] [CrossRef]
- Reghunadhan, R. Big Data, Climate Smart Agriculture and India–Africa Relations: A Social Science Perspective. In IoT and Analytics for Agriculture; Pattnaik, P.K., Kumar, R., Pal, S., Panda, S.N., Eds.; Springer: Singapore, 2020; pp. 113–137. ISBN 978-981-13-9177-4. [Google Scholar]
- Roopaei, M.; Rad, P.; Choo, K.-K.R. Cloud of Things in Smart Agriculture: Intelligent Irrigation Monitoring by Thermal Imaging. IEEE Cloud Comput. 2017, 4, 10–15. [Google Scholar] [CrossRef]
- The National Artificial Intelligence Research and Development Strategic Plan: 2019 Update. Available online: https://www.nitrd.gov/pubs/National-AI-RD-Strategy-2019.pdf (accessed on 1 August 2022).
- U.S. LEADERSHIP IN AI: A Plan for Federal Engagement in Developing Technical Standards and Related Tools. Available online: https://www.nist.gov/system/files/documents/2019/08/10/ai_standards_fedengagement_plan_9aug2019.pdf (accessed on 15 January 2020).
- Artificial Intelligence in Agriculture. Available online: https://www.mindtree.com/sites/default/files/2018-04/Artificial%20Intelligence%20in%20Agriculture.pdf (accessed on 1 August 2022).
- García, L.; Parra, L.; Jimenez, J.M.; Lloret, J.; Lorenz, P. IoT-Based Smart Irrigation Systems: An Overview on the Recent Trends on Sensors and IoT Systems for Irrigation in Precision Agriculture. Sensors (Basel) 2020, 20, 1042. [Google Scholar] [CrossRef] [Green Version]
- Torres-Sanchez, R.; Navarro-Hellin, H.; Guillamon-Frutos, A.; San-Segundo, R.; Ruiz-Abellón, M.C.; Domingo-Miguel, R. A Decision Support System for Irrigation Management: Analysis and Implementation of Different Learning Techniques. Water 2020, 12, 548. [Google Scholar] [CrossRef] [Green Version]
- Jiménez, A.-F.; Cárdenas, P.-F.; Jiménez, F. Intelligent IoT-multiagent precision irrigation approach for improving water use efficiency in irrigation systems at farm and district scales. Comput. Electron. Agric. 2022, 192, 106635. [Google Scholar] [CrossRef]
- Zia, H.; Rehman, A.; Harris, N.R.; Fatima, S.; Khurram, M. An Experimental Comparison of IoT-Based and Traditional Irrigation Scheduling on a Flood-Irrigated Subtropical Lemon Farm. Sensors (Basel) 2021, 21, 4175. [Google Scholar] [CrossRef]
- Toseef, M.; Khan, M.J. An intelligent mobile application for diagnosis of crop diseases in Pakistan using fuzzy inference system. Comput. Electron. Agric. 2018, 153, 1–11. [Google Scholar] [CrossRef]
- Athirah, R.N.; Norasma, C.Y.N.; Ismail, M.R. Development of an android application for smart farming in crop management. In IOP Conference Series: Earth and Environmental Science; IOP Publishing: Bristol, UK, 2020; Volume 540, p. 012074. [Google Scholar]
- Kumar, T.U.; Periasamy, A. IoT Based Smart Farming (E-FARM)’S. Int. J. Recent Adv. Multidiscip. Top. 2021, 2, 85–87. [Google Scholar]
- Nabati, J.; Nezami, A.; Neamatollahi, E.; Akbari, M. An integrated approach land suitability for agroecological zoning based on fuzzy inference system and GIS. Environ. Dev. Sustain. 2022. [Google Scholar] [CrossRef]
- Orojloo, M.; Hashemy Shahdany, S.M.; Roozbahani, A. Developing an integrated risk management framework for agricultural water conveyance and distribution systems within fuzzy decision making approaches. Sci. Total Environ. 2018, 627, 1363–1376. [Google Scholar] [CrossRef]
- Li, M.; Sui, R.; Meng, Y.; Yan, H. A real-time fuzzy decision support system for alfalfa irrigation. Comput. Electron. Agric. 2019, 163, 104870. [Google Scholar] [CrossRef]
- Benyezza, H.; Bouhedda, M.; Rebouh, S. Zoning irrigation smart system based on fuzzy control technology and IoT for water and energy saving. J. Clean. Prod. 2021, 302, 127001. [Google Scholar] [CrossRef]
- Bhat, S.K.; Kumar, S.S.; Krishnakumar, K.; Shaju, S.; Kumar, G.P. Enhancing Effectivity of Automated irrigation SYSTEM Using Fuzzy Logic; AIP Publishing: Sausalito, CA, USA, 2021. [Google Scholar]
- Rajeswari, A.M.; Anushiya, A.S.; Fathima, K.S.A.; Priya, S.S.; Mathumithaa, N. Fuzzy Decision Support System for Recommendation of Crop Cultivation based on Soil Type. In Proceedings of the 4th International Conference on Trends in Electronics and Informatics (ICOEI) (48184), IEEE, Tirunelveli, India, 15–17 June2020. [Google Scholar]
- Banerjee, G.; Sarkar, U.; Ghosh, I. A Fuzzy Logic-Based Crop Recommendation System. Adv. Intell. Syst. Comput. 2020, 1225, 57–69. [Google Scholar] [CrossRef]
- Joss, B.N.; Hall, R.J.; Sidders, D.M.; Keddy, T.J. Fuzzy-logic modeling of land suitability for hybrid poplar across the Prairie Provinces of Canada. Environ. Monit. Assess. 2007, 141, 79–96. [Google Scholar] [CrossRef]
- Zhang, L.; Cao, B.; Bai, C.; Li, G.; Mao, M. Predicting suitable cultivation regions of medicinal plants with Maxent modeling and fuzzy logics: A case study of Scutellaria baicalensis in China. Environ. Earth Sci. 2016, 75, 361. [Google Scholar] [CrossRef]
- Wickramasinghe, C.P.; Lakshitha, P.L.N.; Hemapriya, H.P.H.S.; Jayakody, A.; Ranasinghe, P.G.N.S. Smart Crop and Fertilizer Prediction System. In Proceedings of the 2019 International Conference on Advancements in Computing (ICAC), IEEE, Malabe, Sri Lanka, 5–7 December 2019. [Google Scholar]
- Martinez-Ojeda, C.O.; Amado, T.M.; Dela Cruz, J.C. In Field Proximal Soil Sensing For Real Time Crop Recommendation Using Fuzzy Logic Model. In Proceedings of the 2019 International Symposium on Multimedia and Communication Technology (ISMAC), IEEE, Quezon City, Philippines, 19–21 August 2019. [Google Scholar]
- Fernando, P., Jr.; Lacatan, L. Microcontroller-Based Soil Nutrients Analyzer for Plant Applicability using Adaptive Neuro-Fuzzy Inference System; Mattingley Publishing Co., Inc.: Oakland, CA, USA, 2020. [Google Scholar]
- Kapse, S.; Kale, S.; Bhongade, S.; Sangamnerkar, S.; Gotmare, Y. IOT Enable Soil Testing & NPK Nutrient Detection. A J. Compos. Theory 2020, 13, 310–318. [Google Scholar]
- Fernández, F.G.; Hoeft, R.G. Managing Soil pH and Crop Nutrients. Ill. Agron. Handb. 2009, 24, 91–112. [Google Scholar]
- Akande, S.; Chukwuweike, M.E.; Olaoluwa, S.S. Development of a Mechatronics System for Measuring Soil pH and approximating NPK Value. In Proceedings of the International Conference on Industrial Engineering and Operations Management, Monterrey, Mexico, 3–5 November 2021. [Google Scholar]
- Devapal, D. Smart agro farm solar powered soil and weather monitoring system for farmers. Mater. Today Proc. 2020, 24, 1843–1854. [Google Scholar] [CrossRef]
- File:Soil pH effect on nutrient availability.svg-Wikimedia Commons. Available online: https://commons.wikimedia.org/wiki/File:Soil_pH_effect_on_nutrient_availability.svg (accessed on 19 May 2021).
- Gadap Weather—7, 10 & 14 Day Weather Forecast—Sindh, PK. Available online: https://www.worldweatheronline.com/gadap-weather/sindh/pk.aspx (accessed on 19 May 2021).
- Allen, R.; Pereira, L.; Raes, D.; Smith, M. Chapter 08—ETc under soil water stress conditions. In Crop Evapotranspiration-Guidelines for Computing Crop Water Requirements-FAO Irrigation and Drainage Paper 56; 1998; Volume 56. [Google Scholar]
- Meteorology and Evaporation Function Modules for Python—Meteorology and Evaporation Function Modules 1.0.1 Documentation. Available online: http://python.hydrology-amsterdam.nl/moduledoc/index.html (accessed on 19 July 2022).
- Richards, M. PyETo—Pyeto 0.2 Documentation. Available online: https://pyeto.readthedocs.io/en/latest/# (accessed on 19 July 2022).












| pH Level | Range Values |
|---|---|
| <3.5 | Ultra-Acidic |
| 3.6–3.9 | Extremely Acidic |
| 4–5.5 | Strong acidic |
| 5.6–6 | Medium acidic |
| 6.1–6.5 | Slightly acidic |
| 6.6–7 | Very Slightly acidic |
| 7.1–7.5 | Very Slightly alkaline |
| 7.6–8 | Slightly alkaline |
| 8.1–8.5 | Medium alkaline |
| 8.6–10 | Strongly alkaline |
| pH Range | Nitrogen (N) | Phosphorus (P) | Potassium (K) |
|---|---|---|---|
| 0–3.9 | 0% | 0% | 0% |
| 4–4.5 | 2% | 5% | 2% |
| 4.5–5 | 50% | 20% | 35% |
| 5–5.5 | 100% | 35% | 50% |
| 5.5–6 | 100% | 45% | 70% |
| 6–6.5 | 100% | 55% | 100% |
| 6.5–7.0 | 100% | 100% | 100% |
| 7 | 100% | 100% | 100% |
| 7–7.5 | 100% | 100% | 100% |
| 7.5–8 | 100% | 70% | 2% |
| 8–8.5 | 75% | 20% | 2% |
| 8.5–9 | 65% | 100% | 100% |
| 9–9.5 | 50% | 100% | 100% |
| 9.5–10 | 2% | 100% | 100% |
| Water Consumption (Farm A) | Water Consumption (Farm B) | Water Saving (L) | Water Saving (%) |
|---|---|---|---|
| 48,569 | 22,779 | 25,790 | 53 |
| Study | Smart Solution | Interface for Semi-literate | Medium (Language) | Proposed Features and Guidelines | ||||||||
|---|---|---|---|---|---|---|---|---|---|---|---|---|
| Soil Analysis | Crop Cultivation | Land Preparation | Irrigation | Crop Disease | Pest and Weed Control | Fertilizer | Harvest | Weather Forecast | ||||
| [45] | Yes | Urdu | No | No | No | No | No | No | No | No | Yes | |
| [53] | Yes | No | English | No | No | No | Yes | No | No | No | No | No |
| [54] | Yes | No | English | No | Yes | No | Yes | No | No | No | No | No |
| [111] | Yes | No | Urdu | No | No | No | No | Yes | No | No | No | No |
| [50] | No | Yes | N/A | No | No | No | No | No | No | No | No | Yes |
| [71] | No | Yes | N/A | No | No | No | No | No | Yes | Yes | No | Yes |
| [77] | Yes | No | Hindi, English | No | No | No | No | Yes | Yes | Yes | No | No |
| [109] | Yes | No | English | Yes | Yes | No | Yes | No | No | No | No | Yes |
| [92] | Yes | No | Malay | No | Yes | No | No | Yes | Yes | No | No | Yes |
| [93] | Yes | No | English | Yes | No | No | Yes | Yes | No | Yes | No | No |
| Proposed Solution | Yes | Yes | Urdu | Yes | Yes | Yes | Yes | Yes | Yes | Yes | Yes | Yes |
Publisher’s Note: MDPI stays neutral with regard to jurisdictional claims in published maps and institutional affiliations. |
© 2022 by the authors. Licensee MDPI, Basel, Switzerland. This article is an open access article distributed under the terms and conditions of the Creative Commons Attribution (CC BY) license (https://creativecommons.org/licenses/by/4.0/).
Share and Cite
Cheema, S.M.; Ali, M.; Pires, I.M.; Gonçalves, N.J.; Naqvi, M.H.; Hassan, M. IoAT Enabled Smart Farming: Urdu Language-Based Solution for Low-Literate Farmers. Agriculture 2022, 12, 1277. https://doi.org/10.3390/agriculture12081277
Cheema SM, Ali M, Pires IM, Gonçalves NJ, Naqvi MH, Hassan M. IoAT Enabled Smart Farming: Urdu Language-Based Solution for Low-Literate Farmers. Agriculture. 2022; 12(8):1277. https://doi.org/10.3390/agriculture12081277
Chicago/Turabian StyleCheema, Sehrish Munawar, Muhammad Ali, Ivan Miguel Pires, Norberto Jorge Gonçalves, Mustahsan Hammad Naqvi, and Maleeha Hassan. 2022. "IoAT Enabled Smart Farming: Urdu Language-Based Solution for Low-Literate Farmers" Agriculture 12, no. 8: 1277. https://doi.org/10.3390/agriculture12081277
APA StyleCheema, S. M., Ali, M., Pires, I. M., Gonçalves, N. J., Naqvi, M. H., & Hassan, M. (2022). IoAT Enabled Smart Farming: Urdu Language-Based Solution for Low-Literate Farmers. Agriculture, 12(8), 1277. https://doi.org/10.3390/agriculture12081277

