The Third Mobile Window Syndrome: A Clinical Spectrum of Different Anatomical Locations—Characterization, Therapeutic Response, and Implications in the Development of Endolymphatic Hydrops
Abstract
1. Introduction
2. Materials and Methods
2.1. Study Design
2.2. Patient Selection
2.3. Examination and Complementary Tests
- Audiological evaluation: Findings were reported in terms of pure tone average (PTA), including pre- and post-treatment PTA and gain, measured in decibels at 500, 1000, 2000, 4000, and 6000 Hz (AC 40, Interacoustics AS, Assens, Denmark). The degree of hearing loss was classified according to the criteria of the Bureau International d’Audiophonologie (BIAP) [10].
- Vestibular evaluation: vHIT was used to analyze the gain of the vestibulo–ocular reflex, considering values below 0.8 as abnormal and evaluating the presence of corrective saccades in each of the three semicircular canals in both ears [11]. For VEMP, both cervical (cVEMP) and ocular (oVEMP) tests were conducted. An abnormal vestibular function was defined as a VEMP response in both ears with an interaural asymmetry ratio (IAAR %) exceeding 40%. Asymmetry ratios were analyzed for air-conducted stimulation at 0.5 kHz, 1 kHz, and 4 kHz, with the acoustic stimulus intensity set at 97 dB normalized [12].
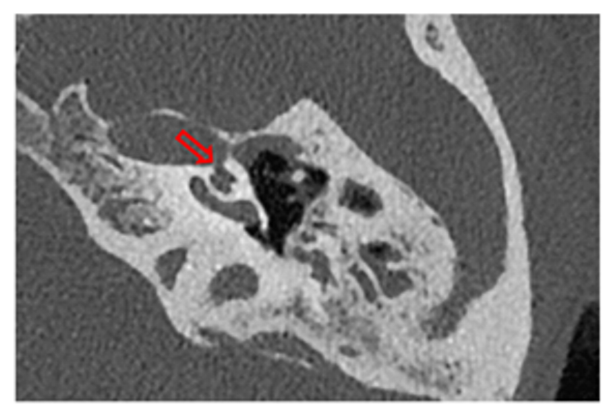
- Imaging studies: Thin-section helical CT scans (SOMATOM CT Scanner Dual Source and Single Source, Siemens Healthineers, Erlangen, Germany) with a slice thickness of 0.4 mm were employed to determine the dehiscences. To avoid selection bias and ensure rigorous criteria, only patients who presented at least one objective auditory fluctuation in pure-tone audiometry and/or those with a minimum of two episodes of spontaneous vertigo lasting longer than 20 min were selected for this test. These symptoms were used as they are considered reliable indicators of potential underlying pathologies that justify the use of advanced imaging techniques [1,8]. If these criteria were met, a 3T MRI (MAGNETOM Skyra, Siemens, Erlangen, Germany) was performed using a T2-FLAIR sequence for four hours after intravenous gadolinium administration to assess the presence of cochlear and vestibular EH.
2.4. Follow-Up
2.5. Medical Treatment
2.6. Surgical Treatment
2.7. Statistical Analysis
3. Results
3.1. Population
3.2. Diagnosis and Associated Symptoms
3.3. Treatment
3.4. Follow-Up with Different Treatment Protocols
3.5. Relationship to Possible Development of Radiologically EH
4. Discussion
Limitations
5. Conclusions
Author Contributions
Funding
Institutional Review Board Statement
Informed Consent Statement
Data Availability Statement
Conflicts of Interest
References
- Lopez-Escamez, J.A.; Carey, J.; Chung, W.-H.; Goebel, J.A.; Magnusson, M.; Mandala, M.; Newman-Toker, D.E.; Strupp, M.; Suzuki, M.; Trabalzini, F.; et al. Diagnostic criteria for Meniere’s disease. J. Vestib. Res. 2015, 25, 1–7. [Google Scholar] [CrossRef] [PubMed]
- Minor, L.B.; Solomon, D.; Zinreich, J.S.; Zee, D.S. Sound- and/or pressure-induced vertigo due to bone dehiscence of the superior semicircular canal. Arch. Otolaryngol. Head Neck Surg. 1998, 124, 249–258. [Google Scholar] [CrossRef] [PubMed]
- Ward, B.K.; van de Berg, R.; van Rompaey, V.; Bisdorff, A.; Hullar, T.E.; Welgampola, M.S.; Carey, J.P. Superior semicircular canal dehiscence syndrome: Diagnostic criteria consensus document of the committee for the classification of vestibular disorders of the Bárány Society. J. Vestib. Res. 2021, 31, 131–141. [Google Scholar] [CrossRef] [PubMed]
- Garaycochea, O.; Domínguez, P.D.; Manrique, M.; Manrique-Huarte, R. Cochlear-Internal Canal and Cochlear-Facial Dehiscence: A Novel Entity. J. Int. Adv. Otol. 2018, 14, 334–336. [Google Scholar] [CrossRef]
- Koroulakis, D.J.; Reilly, B.K.; Whitehead, M.T. Cochlear-facial dehiscence in a pediatric patient. Pediatr. Radiol. 2020, 50, 750–752. [Google Scholar] [CrossRef]
- Van Damme, J.P.; Heylen, G.; Gilain, C.; Garin, P. Pulsatile tinnitus associated with dehiscent internal carotid artery: An irremediable condition? Auris Nasus Larynx 2017, 44, 612–615. [Google Scholar] [CrossRef]
- Merchant, S.N.; Rosowski, J.J. Conductive hearing loss caused by third-window lesions of the inner ear. Otol. Neurotol. 2008, 29, 282–289. [Google Scholar] [CrossRef]
- Ho, M.-L.; Moonis, G.; Halpin, C.; Curtin, H. Spectrum of third window abnormalities: Semicircular canal dehiscence and beyond. Am. J. Neuroradiol. 2017, 38, 2–9. [Google Scholar] [CrossRef] [PubMed]
- General Assembly of the World Medical Association. World Medical Association Declaration of Helsinki: Ethical principles for medical research involving human subjects. J. Am. Coll. Dent. 2014, 81, 14–18. [Google Scholar]
- International Bureau for Audiophonology. Rec_02-1_en Audiometric Classification of Hearing Impairments [Internet]. Available online: https://www.biap.org/es/recommandations/recommendations/tc-02-classification/213-rec-02-1-en-audiometric-classification-of-hearing-impairments/file (accessed on 20 November 2024).
- Halmagyi, G.M.; Chen, L.; MacDougall, H.G.; Weber, K.P.; McGarvie, L.A.; Curthoys, I.S. The video head impulse test. Front Neurol. 2017, 8, 258. [Google Scholar] [CrossRef]
- Zuniga, M.G.; Janky, K.L.; Nguyen, K.D.; Welgampola, M.S.; Carey, J.P. Ocular versus cervical VEMPs in the diagnosis of superior semicircular canal dehiscence syndrome. Otol. Neurotol. 2013, 34, 121–126. [Google Scholar] [CrossRef] [PubMed]
- Yew, A.; Zarinkhou, G.; Spasic, M.; Trang, A.; Gopen, Q.; Yang, I. Characteristics and Management of Superior Semicircular Canal Dehiscence. J. Neurol. Surg. Part B Skull Base 2012, 73, 365–370. [Google Scholar] [CrossRef] [PubMed]
- Reynard, P.; Idriss, S.; Ltaief-Boudrigua, A.; Bertholon, P.; Pirvan, A.; Truy, E.; Thai-Van, H.; Ionescu, E.C. Proposal for a Unitary Anatomo-Clinical and Radiological Classification of Third Mobile Window Abnormalities. Front. Neurol. 2022, 12, 792545. [Google Scholar] [CrossRef]
- Jackler, R.K.; Luxfor, W.M.; House, W.F. Congenital malformations of the inner ear: A classification based on embryogenesis. Laryngoscope 1987, 97, 2–14. [Google Scholar] [CrossRef]
- Khan, A.M.; Levine, S.R.; Nadol, J.B., Jr. The widely patent cochleovestibular communication of Edward Cock is a distinct inner ear malformation: Implications for cochlear implantation. Ann. Otol. Rhinol. Laryngol. 2006, 115, 595–606. [Google Scholar] [CrossRef] [PubMed]
- Wackym, P.A.; Balaban, C.D.; Zhang, P.; Siker, D.A.; Hundal, J.S. Third Window Syndrome: Surgical Management of Cochlea-Facial Nerve Dehiscence. Front. Neurol. 2019, 10, 1281. [Google Scholar] [CrossRef]
- Larem, A.; Al, A.; Adham, A. Perilymphatic Fistula; Springer: Berlin/Heidelberg, Germany, 2020; pp. 147–151. [Google Scholar]
- Dasgupta, S.; Ratnayake, S.; Crunkhorn, R.; Iqbal, J.; Strachan, L.; Avula, S. Audiovestibular Quantification in Rare Third Window Disorders in Children. Front. Neurol. 2020, 11, 954. [Google Scholar] [CrossRef] [PubMed]
- Noij, K.S.; Rauch, S.D. Vestibular Evoked Myogenic Potential (VEMP) Testing for Diagnosis of Superior Semicircular Canal Dehiscence. Front. Neurol. 2020, 11, 695. [Google Scholar] [CrossRef]
- Tran, E.D.; Swanson, A.; Sharon, J.D.; Vaisbuch, Y.; Blevins, N.H.; Fitzgerald, M.B.; Steenerson, K.K. Ocular Vestibular-Evoked Myogenic Potential Amplitudes Elicited at 4 kHz Optimize Detection of Superior Semicircular Canal Dehiscence. Front. Neurol. 2020, 11, 879. [Google Scholar] [CrossRef]
- Curthoys, I.S.; Burgess, A.M.; Manzari, L.; Pastras, C.J. A Single Fast Test for Semicircular Canal Dehiscence-oVEMP n10 to 4000 Hz-Depends on Stimulus Rise Time. Audiol. Res. 2022, 12, 457–465. [Google Scholar] [CrossRef] [PubMed]
- Hermann, M.; Coelho, D.H. Perilymph Fistula Presenting With Contralateral Symptoms. Otol. Neurotol. 2014, 35, 301–304. [Google Scholar] [CrossRef] [PubMed]
- Lin, K.; Lahey, R.; Beckley, R.; Bojrab, D.; Wilkerson, B.; Johnson, E.; Babu, S.; Hong, R.S. Validating the Utility of High Frequency Ocular Vestibular Evoked Myogenic Potential Testing in the Diagnosis of Superior Semicircular Canal Dehiscence. Otol. Neurotol. 2019, 40, 1353–1358. [Google Scholar] [CrossRef] [PubMed]
- Minor, L.B. Clinical manifestations of superior semicircular canal dehiscence. Laryngoscope 2005, 115, 1717–1727. [Google Scholar] [CrossRef]
- Gürkov, R.; Flatz, W.; Louza, J.; Strupp, M.; Krause, E. In vivo visualization of endolyphatic hydrops in patients with Meniere’s disease: Correlation with audiovestibular function. Eur. Arch. Oto-Rhino-Laryngology 2011, 268, 1743–1748. [Google Scholar] [CrossRef]
- Huang, Y.; Tang, R.; Xu, N.; Ding, H.; Pu, W.; Xie, J.; Yang, Z.; Liu, Y.; Gong, S.; Wang, Z.; et al. Association Between Vestibular Aqueduct Morphology and Meniere’s Disease. Laryngoscope 2024, 134, 3349–3354. [Google Scholar] [CrossRef]
- Ahmad, J.G.; Lin, K.F. Ménière’s disease is a disorder of the inner ear. Curr. Opin. Otolaryngol. Head Neck Surg. 2023, 31, 320–324. [Google Scholar] [CrossRef]
- Ziylan, F.; Kinaci, A.; Beynon, A.J.; Kunst, H.P.M. A Comparison of Surgical Treatments for Superior Semicircular Canal Dehiscence: A Systematic Review. Otol. Neurotol. 2017, 38, 1–10. [Google Scholar] [CrossRef]
- Gioacchini, F.M.; Alicandri-Ciufelli, M.; Kaleci, S.; Scarpa, A.; Cassandro, E.; Re, M. Outcomes and complications in superior semicircular canal dehiscence surgery: A systematic review. Laryngoscope 2015, 126, 1218–1224. [Google Scholar] [CrossRef]
- Eberhard, K.E.; Chari, D.A.; Nakajima, H.H.; Klokker, M.; Cayé-Thomasen, P.; Lee, D.J. Current Trends, Controversies, and Future Directions in the Evaluation and Management of Superior Canal Dehiscence Syndrome. Front. Neurol. 2021, 12, 638574. [Google Scholar] [CrossRef]
- Nakashima, T.; Naganawa, S.; Pyykkö, I.; Gibson, W.P.; Sone, M.; Nakata, S.; Teranishi, M. Grading of endolymphatic hydrops using magnetic resonance imaging. Acta Oto-Laryngologica 2009, 129, 5–8. [Google Scholar] [CrossRef] [PubMed]
- Noyalet, L.; Ilgen, L.; Bürklein, M.; Shehata-Dieler, W.; Taeger, J.; Hagen, R.; Neun, T.; Zabler, S.; Althoff, D.; Rak, K. Vestibular Aqueduct Morphology and Meniere’s Disease—Development of the “Vestibular Aqueduct Score” by 3D Analysis. Front. Surg. 2022, 9, 747517. Available online: https://www.ncbi.nlm.nih.gov/pmc/articles/PMC8854222/ (accessed on 20 November 2024). [CrossRef] [PubMed]
- Mainnemarre, J.; Hautefort, C.; Toupet, M.; Guichard, J.-P.; Houdart, E.; Attyé, A.; Eliezer, M. The vestibular aqueduct ossification on temporal bone CT: An old sign revisited to rule out the presence of endolymphatic hydrops in Menière’s disease patients. Eur. Radiol. 2020, 30, 6331–6338. [Google Scholar] [CrossRef]
- Grosser, D.; Willenborg, K.; Dellani, P.; Avallone, E.; Götz, F.; Böthig, D.; Warnecke, A.; Lanfermann, H.; Lenarz, T.; Giesemann, A. Vestibular aqueduct size correlates with the degree of cochlear hydrops in patients with and without Menière’s disease. Otol. Neurotol. 2021, 42, e1532–e1536. [Google Scholar] [CrossRef] [PubMed]
- Basura, G.J.; Adams, M.E.; Monfared, A.; Schwartz, S.R.; Antonelli, P.J.; Burkard, R.; Bush, M.L.; Bykowski, J.; Colandrea, M.; Derebery, J.; et al. Clinical practice guideline: Ménière’s disease. Otolaryngol. Head Neck Surg. 2020, 162 (Suppl. S2), S1–S55. [Google Scholar] [CrossRef] [PubMed]
- Li, X.; Wu, Q.; Sha, Y.; Dai, C.; Zhang, R. Gadolinium-enhanced MRI reveals dynamic development of endolymphatic hydrops in Ménière’s disease. Braz. J. Otorhinolaryngol. 2020, 86, 165–173. [Google Scholar] [CrossRef] [PubMed]






| Demographic Description | |||
|---|---|---|---|
| Age at Diagnosis | 52.2 ± 7.64 (6–78) years | ||
| Gender | 54 (62.76%) female/32 (37.21%) male | ||
| Disease Evolution | 3.83 ± 1.12 years (6 months–5.6 years) | ||
| Ear | 8 (9.30%) bilateral | 36 (41.86%) right side | 42 (48.83%) left side |
| Diagnosis | n | % | Symptoms | PTA (dB) | vHIT Altered | VEMPs Altered | EH | Other | |
|---|---|---|---|---|---|---|---|---|---|
Third window syndrome ![]() | Type I (SSCD) | 76 | 88.37% | Unsteadiness: 34.88% Hearing loss: 32.56% Fullness/tinnitus: 22.09% Vertigo attack: 19.76% Autophony: 16.27% Tullio/Hennebert: 9.30% Falls: 5.81% | 28 dB | Yes (n = 24) | Yes (n = 55) | Yes (n = 6) | Increased oVEMP amplitude at 4 kHz |
| Perilymphatic fistula | 2 | 2.32% | 105 dB | Yes (n = 2) | Yes (n = 2) | No | + Fistula sign with Siegel’s speculum | ||
| Enlarged vestibular acueduct | 2 | 2.32% | 95 dB | Yes (n = 2) | Yes (n = 2) | No | Non syndromic association | ||
![]() Other otic capsule dehiscences | Type II Cochleo–carotid and PSC–jugular vein | 2 | 2.32% | Hearing loss: 100% Autophony: 66.67% Unsteadiness: 50% Vertigo attack: 33.33% Fullness/tinnitus: 16.67% Tullio/Hennebert: 16.67% Falls: 16.67% | 52 dB | No | No | Yes (n = 1) | Type B timpanogram with absent stapedial reflex |
| Type III Cochleo–facial and Cochleo-ICA | 2 | 2.32% | 103 dB | Yes (n = 1) | Yes (n = 1) | Yes (n = 1) | Gusher during cochlear implant | ||
| Double dehiscences (Cochleo–ICA + Cochleo–facial) and SSCD + jugular vein-EVA | 2 | 2.32% | 59 dB | Yes (n = 1) | Yes (n = 1) | Yes (n = 2) | Gusher during cochlear implant | ||
| Symptom/Measure | Pretreatment | 3 Month Post | 6 Month Post | RRR (1–6 Months) or Gain | CI 95% |
|---|---|---|---|---|---|
| Unsteadiness | 38 (44.19%) | 23 (26.74%) | 9 (10.47%) | 76.30% | [62.80–89.83%] |
| Hearing loss | 35 (40.17%) | 25 (29.07%) | 12 (13.95%) | 65.97% | [49.33–81.44%] |
| Fullness/tinnitus | 24 (27.91%) | 18 (20.93%) | 16 (18.60%) | 33.29% | [14.47–52.19%] |
| Vertigo attack | 20 (23.26%) | 9 (10.47%) | 5 (5.81%) | 75.03% | [56.02–93.98%] |
| Autophony | 17 (19.77%) | 14 (16.28%) | 12 (13.95%) | 88.24% | [72.92–100.00%] |
| Tullio/Hennebert | 10 (11.63%) | 4 (4.65%) | 4 (4.65%) | 60.14% | [29.64–90.36%] |
| Falls | 6 (6.98%) | 1 (1.16%) | 1 (1.16%) | 83.33% | [53.51–100.00%] |
| PTA (dB) | 36.49 | 28.74 | 25.85 | 10.64 dB | - |
| VEMPs altered (n) | 59 (68.60%) | 57 (66.27%) | 45 (52.32%) | 23.73% | [12.87–34.58%] |
| vHIT altered (n) | 26 (30.23%) | 25 (29.07%) | 21 (24.41%) | 19.23%% | [4.08–34.38%] |
| Treatment/Symptoms | Active Surveillance (n = 34) | Acetazolamide (n = 23) | Vasodilator Treatment (n = 19) | Surgery (n = 10) | ||||
|---|---|---|---|---|---|---|---|---|
| Unsteadiness | p = 0.355 | p = 0.018 * | p = 0.033 * | p = 0.001 * | ||||
| Hearing loss | p = 0.099 | p = 0.283 | p = 0.082 | p = 0.003 * | ||||
| Fullness/tinnitus | p = 0.721 | p = 0.009 * | p = 0.316 | p = 0.001 * | ||||
| Vertigo | p = 0.084 | p = 0.001 * | p = 0.082 | p = 0.001 * | ||||
| Autophony | p = 0.422 | p = 0.282 | p = 0.336 | p = 0.331 | ||||
| Tulio/Hennebert sign | p = 0.744 | p = 0.188 | p = 0.689 | P = 0.028 * | ||||
| Falls | p = 0.071 | p = 0.052 | p = 0.065 | p = 0.038 * | ||||
| PTA | p = 0.165 | p = 0.001 * | p = 0.144 | p = 0.015 * | ||||
| Vestibular tests | vHIT | p = 0.366 | vHIT | p = 0.098 | vHIT | p = 0.152 | vHIT | p = 0.082 |
| VEMPS | p = 0.525 | VEMPS | p = 0.005 * | VEMPS | p = 0.033 * | VEMPS | p = 0.008 * | |
Disclaimer/Publisher’s Note: The statements, opinions and data contained in all publications are solely those of the individual author(s) and contributor(s) and not of MDPI and/or the editor(s). MDPI and/or the editor(s) disclaim responsibility for any injury to people or property resulting from any ideas, methods, instructions or products referred to in the content. |
© 2024 by the authors. Licensee MDPI, Basel, Switzerland. This article is an open access article distributed under the terms and conditions of the Creative Commons Attribution (CC BY) license (https://creativecommons.org/licenses/by/4.0/).
Share and Cite
Lorente-Piera, J.; Manrique-Huarte, R.; Pérez Fernández, N.; Calavia Gil, D.; Jiménez Vázquez, M.; Domínguez, P.; Manrique, M. The Third Mobile Window Syndrome: A Clinical Spectrum of Different Anatomical Locations—Characterization, Therapeutic Response, and Implications in the Development of Endolymphatic Hydrops. J. Clin. Med. 2024, 13, 7232. https://doi.org/10.3390/jcm13237232
Lorente-Piera J, Manrique-Huarte R, Pérez Fernández N, Calavia Gil D, Jiménez Vázquez M, Domínguez P, Manrique M. The Third Mobile Window Syndrome: A Clinical Spectrum of Different Anatomical Locations—Characterization, Therapeutic Response, and Implications in the Development of Endolymphatic Hydrops. Journal of Clinical Medicine. 2024; 13(23):7232. https://doi.org/10.3390/jcm13237232
Chicago/Turabian StyleLorente-Piera, Joan, Raquel Manrique-Huarte, Nicolás Pérez Fernández, Diego Calavia Gil, Marcos Jiménez Vázquez, Pablo Domínguez, and Manuel Manrique. 2024. "The Third Mobile Window Syndrome: A Clinical Spectrum of Different Anatomical Locations—Characterization, Therapeutic Response, and Implications in the Development of Endolymphatic Hydrops" Journal of Clinical Medicine 13, no. 23: 7232. https://doi.org/10.3390/jcm13237232
APA StyleLorente-Piera, J., Manrique-Huarte, R., Pérez Fernández, N., Calavia Gil, D., Jiménez Vázquez, M., Domínguez, P., & Manrique, M. (2024). The Third Mobile Window Syndrome: A Clinical Spectrum of Different Anatomical Locations—Characterization, Therapeutic Response, and Implications in the Development of Endolymphatic Hydrops. Journal of Clinical Medicine, 13(23), 7232. https://doi.org/10.3390/jcm13237232



