Safety of COVID-19 Vaccines among People with History of Allergy: A European Active Surveillance Study
Abstract
1. Background
2. Methods
2.1. Study Design and Study Population
2.2. Data Collection and Processing
2.3. Data Analysis
3. Results
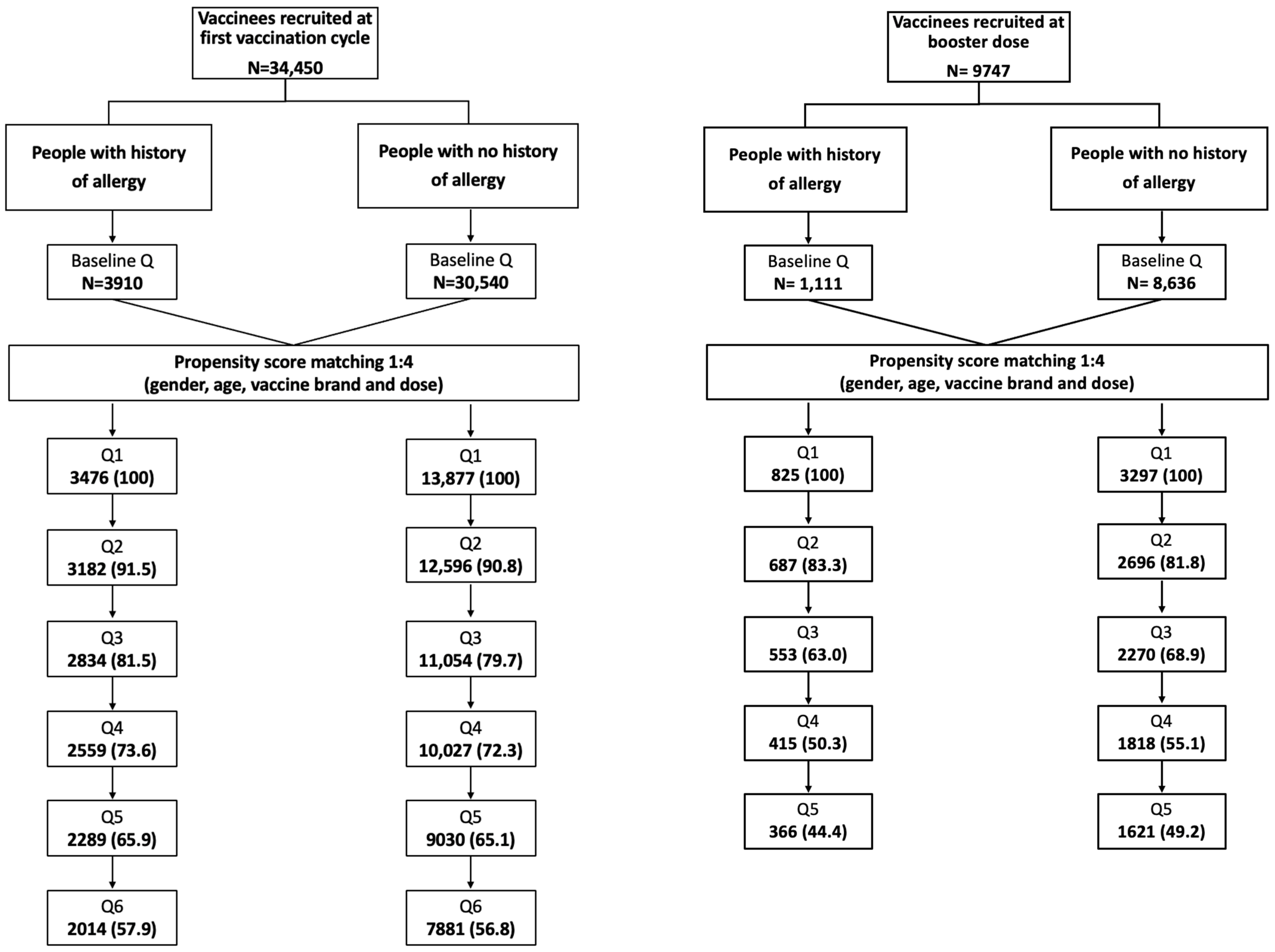
3.1. Baseline Characteristics of Recruited Vaccinees
3.2. Analysis of Frequency of Reported ADRs
3.3. Analysis of Time-to-Onset and Time-to-Recovery of the Reported ADRs
4. Discussion
5. Conclusions
Supplementary Materials
Author Contributions
Funding
Institutional Review Board Statement
Informed Consent Statement
Data Availability Statement
Acknowledgments
Conflicts of Interest
References
- Luxi, N.; Giovanazzi, A.; Arcolaci, A.; Bonadonna, P.; Crivellaro, M.A.; Cutroneo, P.M.; Ferrajolo, C.; Furci, F.; Guidolin, L.; Moretti, U.; et al. Allergic Reactions to COVID-19 Vaccines: Risk Factors, Frequency, Mechanisms and Management. BioDrugs 2022, 36, 443–458. [Google Scholar] [CrossRef] [PubMed]
- Borgsteede, S.D.; Geersing, T.H.; Tempels-Pavlica, Ž. Other Excipients than PEG Might Cause Serious Hypersensitivity Reactions in COVID-19 Vaccines. Allergy 2021, 76, 1941–1942. [Google Scholar] [CrossRef] [PubMed]
- Centre for Disease Control and Prevention (CDC) Interim Considerations: Preparing for the Potential Management of Anaphylaxis after COVID-19 Vaccination. Available online: https://www.cdc.gov/vaccines/covid-19/clinical-considerations/managing-anaphylaxis.html (accessed on 23 July 2024).
- Sampath, V.; Rabinowitz, G.; Shah, M.; Jain, S.; Diamant, Z.; Jesenak, M.; Rabin, R.; Vieths, S.; Agache, I.; Akdis, M.; et al. Vaccines and Allergic Reactions: The Past, the Current COVID-19 Pandemic, and Future Perspectives. Allergy 2021, 76, 1640–1660. [Google Scholar] [CrossRef] [PubMed]
- Nilsson, L.; Brockow, K.; Alm, J.; Cardona, V.; Caubet, J.-C.; Gomes, E.; Jenmalm, M.C.; Lau, S.; Netterlid, E.; Schwarze, J.; et al. Vaccination and Allergy: EAACI Position Paper, Practical Aspects. Pediatr. Allergy Immunol. 2017, 28, 628–640. [Google Scholar] [CrossRef] [PubMed]
- Sokolowska, M.; Eiwegger, T.; Ollert, M.; Torres, M.J.; Barber, D.; Del Giacco, S.; Jutel, M.; Nadeau, K.C.; Palomares, O.; Rabin, R.L.; et al. EAACI Statement on the Diagnosis, Management and Prevention of Severe Allergic Reactions to COVID-19 Vaccines. Allergy 2021, 76, 1629–1639. [Google Scholar] [CrossRef] [PubMed]
- clinicaltrials.gov COVID19 SARS Vaccinations: Systemic Allergic Reactions to SARS-CoV-2 Vaccinations (SARS). Available online: https://clinicaltrials.gov/study/NCT04761822 (accessed on 23 July 2024).
- Shimabukuro, T.; Nair, N. Allergic Reactions Including Anaphylaxis After Receipt of the First Dose of Pfizer-BioNTech COVID-19 Vaccine. JAMA 2021, 325, 780. [Google Scholar] [CrossRef]
- Bian, S.; Li, L.; Wang, Z.; Cui, L.; Xu, Y.; Guan, K.; Zhao, B. Allergic Reactions After the Administration of COVID-19 Vaccines. Front. Public Health 2022, 10, 878081. [Google Scholar] [CrossRef]
- Filon, F.L.; Lazzarato, I.; Patriarca, E.; Iavernig, T.; Peratoner, A.; Perri, G.; Ponis, G.; Rocco, G.; Cegolon, L. Allergic Reactions to COVID-19 Vaccination in High-Risk Allergic Patients: The Experience of Trieste University Hospital (North-Eastern Italy). Vaccines 2022, 10, 1616. [Google Scholar] [CrossRef]
- Shavit, R.; Maoz-Segal, R.; Iancovici-Kidon, M.; Offengenden, I.; Haj Yahia, S.; Machnes Maayan, D.; Lifshitz-Tunitsky, Y.; Niznik, S.; Frizinsky, S.; Deutch, M.; et al. Prevalence of Allergic Reactions After Pfizer-BioNTech COVID-19 Vaccination Among Adults With High Allergy Risk. JAMA Netw. Open 2021, 4, e2122255. [Google Scholar] [CrossRef]
- Cao, C.; Qiu, F.; Lou, C.; Fang, L.; Liu, F.; Zhong, J.; Sun, W.; Ding, W.; Yu, X.; Xu, Q.; et al. Safety of Inactivated SARS-CoV-2 Vaccines in Patients with Allergic Diseases. Respir. Res. 2022, 23, 133. [Google Scholar] [CrossRef]
- Kara, A.; Coskun, A.; Temel, F.; Özelci, P.; Topal, S.; Ates, İ. Self-Reported Allergic Adverse Events Following Inactivated SARS-CoV-2 Vaccine (TURKOVACTM) among General and High-Risk Population. Vaccines 2023, 11, 437. [Google Scholar] [CrossRef] [PubMed]
- Ahmadizar, F.; Luxi, N.; Raethke, M.; Schmikli, S.; Riefolo, F.; Saraswati, P.W.; Bucsa, C.; Osman, A.; Liddiard, M.; Maques, F.B.; et al. Safety of COVID-19 Vaccines Among the Paediatric Population: Analysis of the European Surveillance Systems and Pivotal Clinical Trials. Drug Saf. 2023, 46, 575–585. [Google Scholar] [CrossRef] [PubMed]
- Ciccimarra, F.; Luxi, N.; Bellitto, C.; L’Abbate, L.; Raethke, M.; van Hunsel, F.; Lieber, T.; Mulder, E.; Riefolo, F.; Dureau-Pournin, C.; et al. Safety Monitoring of COVID-19 Vaccines in Persons with Prior SARS-CoV-2 Infection: A European Multi-Country Study. Vaccines 2024, 12, 241. [Google Scholar] [CrossRef] [PubMed]
- Bellitto, C.; Luxi, N.; Ciccimarra, F.; L’Abbate, L.; Raethke, M.; van Hunsel, F.; Lieber, T.; Mulder, E.; Riefolo, F.; Villalobos, F.; et al. What Is the Safety of COVID-19 Vaccines in Immunocompromised Patients? Results from the European “COVID Vaccine Monitor” Active Surveillance Study. Drug Saf. 2024, 47, 1011–1023. [Google Scholar] [CrossRef] [PubMed]
- Meddra.org Introductory Guide for Standardised MedDRA Queries (SMQs) Version 24.0. Available online: https://admin.meddra.org/sites/default/files/guidance/file/SMQ_intguide_24_0_English.pdf (accessed on 23 July 2024).
- COUNCIL FOR INTERNATIONAL ORGANIZATIONS OF MEDICAL SCIENCES (CIOMS). Practical Aspects of Signal Detection in Pharmacovigilance: Report of CIOMS Working Group VIII. Available online: https://cioms.ch/publications/product/practical-aspects-of-signal-detection-in-pharmacovigilance-report-of-cioms-working-group-viii/ (accessed on 23 July 2024).
- Luxi, N.; Riefolo, F.; Raethke, M.; van Hunsel, F.; Sturkenboom, M.; Trifirò, G. COVID-19 Vaccine Monitor: Final Study Report for Cohort Event Monitoring of Vaccinated Persons. Zenodo, preprints. [CrossRef]
- Dziedzic, A.; Riad, A.; Attia, S.; Klugar, M.; Tanasiewicz, M. Self-Reported Adverse Events of COVID-19 Vaccines in Polish Healthcare Workers and Medical Students. Cross-Sectional Study and Pooled Analysis of CoVaST Project Results in Central Europe. J. Clin. Med. 2021, 10, 5338. [Google Scholar] [CrossRef] [PubMed]
- Polack, F.P.; Thomas, S.J.; Kitchin, N.; Absalon, J.; Gurtman, A.; Lockhart, S.; Perez, J.L.; Pérez Marc, G.; Moreira, E.D.; Zerbini, C.; et al. Safety and Efficacy of the BNT162b2 MRNA COVID-19 Vaccine. N. Engl. J. Med. 2020, 383, 2603–2615. [Google Scholar] [CrossRef] [PubMed]
- Baden, L.R.; El Sahly, H.M.; Essink, B.; Kotloff, K.; Frey, S.; Novak, R.; Diemert, D.; Spector, S.A.; Rouphael, N.; Creech, C.B.; et al. Efficacy and Safety of the MRNA-1273 SARS-CoV-2 Vaccine. N. Engl. J. Med. 2021, 384, 403–416. [Google Scholar] [CrossRef]
- Falsey, A.R.; Sobieszczyk, M.E.; Hirsch, I.; Sproule, S.; Robb, M.L.; Corey, L.; Neuzil, K.M.; Hahn, W.; Hunt, J.; Mulligan, M.J.; et al. Phase 3 Safety and Efficacy of AZD1222 (ChAdOx1 NCoV-19) COVID-19 Vaccine. N. Engl. J. Med. 2021, 385, 2348–2360. [Google Scholar] [CrossRef]
- Sadoff, J.; Gray, G.; Vandebosch, A.; Cárdenas, V.; Shukarev, G.; Grinsztejn, B.; Goepfert, P.A.; Truyers, C.; Fennema, H.; Spiessens, B.; et al. Safety and Efficacy of Single-Dose Ad26.COV2.S Vaccine against COVID-19. N. Engl. J. Med. 2021, 384, 2187–2201. [Google Scholar] [CrossRef]
- Macy, E.; Pandya, S.; Sheikh, J.; Burnette, A.; Shi, J.M.; Chung, J.; Gin, N.; Crawford, W.; Zhang, J. Population-Based Incidence, Severity, and Risk Factors Associated with Treated Acute-Onset COVID-19 MRNA Vaccination–Associated Hypersensitivity Reactions. J. Allergy Clin. Immunol. Pract. 2022, 10, 827–836. [Google Scholar] [CrossRef]
- Li, L.; Robinson, L.B.; Patel, R.; Landman, A.B.; Fu, X.; Shenoy, E.S.; Hashimoto, D.M.; Banerji, A.; Wickner, P.G.; Samarakoon, U.; et al. Association of Self-Reported High-Risk Allergy History With Allergy Symptoms After COVID-19 Vaccination. JAMA Netw. Open 2021, 4, e2131034. [Google Scholar] [CrossRef] [PubMed]
- Brabete, A.C.; Greaves, L.; Maximos, M.; Huber, E.; Li, A.; Lê, M.-L. A Sex- and Gender-Based Analysis of Adverse Drug Reactions: A Scoping Review of Pharmacovigilance Databases. Pharmaceuticals 2022, 15, 298. [Google Scholar] [CrossRef] [PubMed]
- Rosenblum, H.G.; Gee, J.; Liu, R.; Marquez, P.L.; Zhang, B.; Strid, P.; Abara, W.E.; McNeil, M.M.; Myers, T.R.; Hause, A.M.; et al. Safety of MRNA Vaccines Administered during the Initial 6 Months of the US COVID-19 Vaccination Programme: An Observational Study of Reports to the Vaccine Adverse Event Reporting System and v-Safe. Lancet Infect. Dis. 2022, 22, 802–812. [Google Scholar] [CrossRef] [PubMed]
- Raethke, M.; van Hunsel, F.; Luxi, N.; Lieber, T.; Bellitto, C.; Mulder, E.; Ciccimarra, F.; Riefolo, F.; Thurin, N.H.; Roy, D.; et al. Frequency and Timing of Adverse Reactions to COVID-19 Vaccines; A Multi-Country Cohort Event Monitoring Study. Vaccine 2024, 42, 2357–2369. [Google Scholar] [CrossRef] [PubMed]
- Gold, M.S.; Amarasinghe, A.; Greenhawt, M.; Kelso, J.M.; Kochhar, S.; Yu-Hor Thong, B.; Top, K.A.; Turner, P.J.; Worm, M.; Law, B. Anaphylaxis: Revision of the Brighton Collaboration Case Definition. Vaccine 2023, 41, 2605–2614. [Google Scholar] [CrossRef] [PubMed]
- Dreskin, S.C.; Halsey, N.A.; Kelso, J.M.; Wood, R.A.; Hummell, D.S.; Edwards, K.M.; Caubet, J.-C.; Engler, R.J.M.; Gold, M.S.; Ponvert, C.; et al. International Consensus (ICON): Allergic Reactions to Vaccines. World Allergy Organ. J. 2016, 9, 32. [Google Scholar] [CrossRef] [PubMed]
- Blumenthal, K.G.; Greenhawt, M.; Phillips, E.J.; Agmon-Levin, N.; Golden, D.B.K.; Shaker, M. An Update in COVID-19 Vaccine Reactions in 2023: Progress and Understanding. J. Allergy Clin. Immunol. Pract. 2023, 11, 3305–3318. [Google Scholar] [CrossRef] [PubMed]
- Soria, A.; Labella, M.; Doña, I.; Nicaise-Roland, P.; Chollet-Martin, S.; Autegarden, J.; Castagna, J.; Le Thai, C.; de Chaisemartin, L.; Torres, M.J.; et al. Risk Stratification through Extensive Allergy Work-up in COVID-19-mRNA Vaccine Allergic Reactions. Allergy 2023, 78, 2320–2323. [Google Scholar] [CrossRef] [PubMed]
- Padilla-Flores, T.; Sampieri, A.; Vaca, L. Incidence and management of the main serious adverse events reported after COVID-19 vaccination. Pharmacol Res Perspect 2024, 12, e1224. [Google Scholar] [CrossRef]
- Cabanillas, B.; Novak, N. Allergy to COVID-19 Vaccines: A Current Update. Allergol. Int. 2021, 70, 313–318. [Google Scholar] [CrossRef]
- Jaggers, J.; Samarakoon, U.; Fu, X.; Gonzalez-Estrada, A.; Anvari, S.; Chong, H.J.; Van Meerbeke, S.W.; Petrov, A.A.; Chow, T.G.; Banerji, A.; et al. Anaphylaxis after COVID-19 Vaccination: A Registry-Based Study. J. Allergy Clin. Immunol. Pract. 2022, 10, 3020–3023. [Google Scholar] [CrossRef] [PubMed]
- Blumenthal, K.G.; Robinson, L.B.; Camargo, C.A.; Shenoy, E.S.; Banerji, A.; Landman, A.B.; Wickner, P. Acute Allergic Reactions to MRNA COVID-19 Vaccines. JAMA 2021, 325, 1562. [Google Scholar] [CrossRef] [PubMed]
- Chu, D.K.; Abrams, E.M.; Golden, D.B.K.; Blumenthal, K.G.; Wolfson, A.R.; Stone, C.A.; Krantz, M.S.; Shaker, M.; Greenhawt, M. Risk of Second Allergic Reaction to SARS-CoV-2 Vaccines. JAMA Intern. Med. 2022, 182, 376. [Google Scholar] [CrossRef] [PubMed]
- van Maaren, M.; Rijnenberg, D.; Roovers, T.H.W.M.; van de Ven, A.; Pleijhuis, R.G.; Rustemeyer, T.; van Daele, P.; Rockmann, H.; Rombach, S.M. Letter Identification of Persons Who May Respond Severely to a Hospital-Administered COVID-19 Vaccine: Lessons Learned in the Netherlands during the COVID-19 Pandemic. Authorea. 2023. Available online: https://www.authorea.com/users/672515/articles/671560-letter-identification-of-persons-who-may-respond-severely-to-a-hospital-administered-covid-19-vaccine-lessons-learned-in-the-netherlands-during-the-covid-19-pandemic (accessed on 23 July 2024).
- Robinson, L.B.; Fu, X.; Hashimoto, D.; Wickner, P.; Shenoy, E.S.; Landman, A.B.; Blumenthal, K.G. Incidence of Cutaneous Reactions After Messenger RNA COVID-19 Vaccines. JAMA Dermatol. 2021, 157, 1000. [Google Scholar] [CrossRef] [PubMed]
- Jedlowski, P.M.; Jedlowski, M.F. Morbilliform Rash after Administration of Pfizer-BioNTech COVID-19 MRNA Vaccine. Dermatol. Online J. 2021, 27, 20. [Google Scholar] [CrossRef]
- Wolfson, A.R.; Freeman, E.E.; Blumenthal, K.G. Urticaria 12 Days After COVID-19 MRNA Booster Vaccination. JAMA 2022, 327, 1702. [Google Scholar] [CrossRef] [PubMed]
- Pescosolido, E.; Muller, Y.D.; Sabaté-Brescó, M.; Ferrer, M.; Yerly, D.; Caubet, J.; Lantin, J.; Ribi, C.; Bergmann, M.M. Clinical and Immunological Data from Chronic Urticaria Onset after MRNA SARS-CoV-2 Vaccines. Clin. Exp. Allergy 2022, 52, 1343–1346. [Google Scholar] [CrossRef] [PubMed]
- Purayil, S.; Thalappil, S.; Al-Nesf, M.; Kocaturk, E. Chronic Urticaria and COVID-19 Vaccination: Qatar Data (Preliminary Report of COVAC-CU-International). Qatar Med. J. 2022, 2022, 1–2. [Google Scholar] [CrossRef]
- Judd, A.; Samarakoon, U.; Wolfson, A.R.; Banerji, A.; Freeman, E.E.; Blumenthal, K.G. Urticaria after COVID-19 Vaccination and Vaccine Hesitancy. J. Allergy Clin. Immunol. Pract. 2023, 11, 958–960. [Google Scholar] [CrossRef]
- Blumenthal, K.G.; Freeman, E.E.; Saff, R.R.; Robinson, L.B.; Wolfson, A.R.; Foreman, R.K.; Hashimoto, D.; Banerji, A.; Li, L.; Anvari, S.; et al. Delayed Large Local Reactions to MRNA-1273 Vaccine against SARS-CoV-2. N. Engl. J. Med. 2021, 384, 1273–1277. [Google Scholar] [CrossRef]




| First Vaccination Cycle a | Booster Dose b | |||||
|---|---|---|---|---|---|---|
| People with a History of Allergy N = 3476 * | Matched Controls N = 13,877 ** | p Value | People with a History of Allergy N = 825 | Matched Controls N = 3297 | p Value | |
| Gender, n (%) | ||||||
| female | 2564 (73.8) | 10,231 (73.7) | Matching factor | 596 (72.2) | 2381 (72.2) | Matching factor |
| male | 912 (26.2) | 3646 (26.3) | 229 (27.8) | 916 (27.8) | ||
| Median, years (IQR) | 48 (34–50) | 48 (34–59) | 45 (34–54) | 45 (34–54) | ||
| Age categories, years n (%) | ||||||
| 5–11 | 34 (1.0) | 143 (1) | Matching factor | 1 (0.1) | 5 (0.2) | Matching factor |
| 12–17 | 65 (1.9) | 241 (1.7) | 8 (0.9) | 33 (1.0) | ||
| 18–29 | 491 (14.1) | 1964 (14.2) | 120 (14.5) | 483 (14.6) | ||
| 30–49 | 1256 (36.1) | 4994 (36.0) | 389 (47.2) | 1554 (47.1) | ||
| 50–69 | 1094 (31.5) | 4394 (31.7) | 290 (35.2) | 1151 (34.9) | ||
| ≥70 | 535 (15.4) | 2139 (15.4) | 17 (2.1) | 71 (2.2) | ||
| Premedication use, n (%) | ||||||
| To prevent vaccine-related allergy (i.e., corticosteroids and antihistamines) | 87 (2.5) | - | - | 59 (7.2) | - | - |
| Painkillers/fever reducing drug | 622 (17.9) | 2138 (15.4) | <0.001 | 219 (26.5) | 827 (25.1) | 0.396 |
| Medical history (MedDRA PT), n (%) | ||||||
| Allergy | 3476 (100) | - | - | 825 (100) | - | - |
| Hay fever | 2276 (65.5) | - | - | 391 (47.4) | - | - |
| Allergy to medication | 934 (26.9) | - | - | 377 (45.7) | - | - |
| Dust mite allergy | 1423 (40.9) | - | - | 316 (38.3) | - | - |
| Allergy to animals | 1117 (32.1) | - | - | 202 (24.4) | - | - |
| Food allergy | 775 (22.3) | - | - | 185 (22.4) | - | - |
| Hypersensitivity | 114 (3.3) | - | - | 141 (17.1) | - | - |
| Allergy to insect bites | 370 (10.6) | - | - | 92 (11.1) | - | - |
| Other | 293 (8.4) | - | - | 85 (10.3) | - | - |
| Cardiovascular disorder | 219 (6.3) | 714 (5.1) | 0.007 | 28 (3.4) | 55 (1.7) | 0.003 |
| Diabetes Mellitus | 103 (3.0) | 410 (3) | 1 | 12 (1.4) | 55 (1.7) | 0.759 |
| Hypertension | 443 (12.7) | 1488 (10.7) | <0.001 | 83 (10.1) | 227 (6.9) | 0.003 |
| Immunosuppression | 100 (2.9) | 235 (1.7) | <0.001 | 33 (4.0) | 73 (2.2) | 0.006 |
| Liver disorder | 16 (0.5) | 29 (0.2) | 0.015 | 6 (0.7) | 9 (0.3) | 0.095 |
| Lung disorder | 692 (19.9) | 807 (5.8) | <0.001 | 159 (19.2) | 119 (3.6) | <0.001 |
| Mental disorder | 261 (7.5) | 555 (4) | <0.001 | 43 (5.2) | 118 (3.6) | 0.034 |
| Malignant tumour | 33 (0.9) | 117 (0.8) | 0.615 | 7 (0.8) | 24 (0.7) | 0.657 |
| Nervous system disorder | 47 (1.4) | 161 (1.2) | 0.399 | 10 (1.2) | 20 (0.6) | 0.104 |
| Renal disorder | 41 (1.2) | 98 (0.7) | 0.007 | 2 (0.2) | 15 (0.5) | 0.551 |
| Vaccine manufacturer, n (%) | ||||||
| Comirnaty | 1494 (43.0) | 5976 (43.1) | Matching factor | 428 (51.9) | 1712 (51.9) | Matching factor |
| Jcovden | 344 (9.9) | 1376 (9.9) | - | - | ||
| Novavax | 1 (<0.1) | 1 (<0.1) | 1 (0.1) | 1 (<0.1) | ||
| Spikevax | 538 (15.5) | 2139 (15.4) | 391 (47.4) | 1564 (47.4) | ||
| Vaxzevria | 1089 (31.3) | 4356 (31.4) | 3 (0.4) | 12 (0.4) | ||
| Unknown | 10 (0.3) | 29 (0.2) | 2 (0.2) | 8 (0.2) | ||
| Comirnaty | Jcoven | Spikevax | Vaxzevria | Total | ||||||
|---|---|---|---|---|---|---|---|---|---|---|
| People with a History of Allergy | Matched Control | People with a History of Allergy | Matched Control | People with a History of Allergy | Matched Control | People with a History of Allergy | Matched Control | People with a History of Allergy | Matched Control | |
| Dose, n (%) | ||||||||||
| I | 1494 (43.1) | 5976 (43.2) | 344 (9.9) | 1376 (9.9) | 538 (15.5) | 2139 (15.4) | 1089 (31.4) | 4356 (31.5) | 3465 (100) | 13,847 (100) |
| II | 1146 (51.3) | 4584 (51.3) | - | - | 405 (18.1) | 1614 (18.1) | 685 (30.6) | 2740 (30.7) | 2236 (100) | 8938 (100) |
| Booster | 428 (52.3) | 1712 (52.3) | - | - | 391 (47.7) | 1564 (47.7) | - | - | 819 (100) | 3276 (100) |
| At Least One Serious ADR | ||||||||||||
|---|---|---|---|---|---|---|---|---|---|---|---|---|
| First Dose | Second Dose | Booster Dose | ||||||||||
| People with a History of Allergy | Matched Control | People with a History of Allergy | Matched Control | People with a History of Allergy | Matched Control | |||||||
| Female | Male | Female | Male | Female | Male | Female | Male | Female | Male | Female | Male | |
| Number of participants, n (%) | 2554 (100) | 911 (100) | 10,205 (100) | 3642 (100) | 1621 (100) | 615 (100) | 6478 (100) | 2460 (100) | 592 (100) | 227 (100) | 2368 (100) | 908 (100) |
| COVID-19 vaccines | ||||||||||||
| Comirnaty, n (%) | 1 (<0.1) | 1 (0.1) | 5 (<0.1) | 2 (0.1) | 4 (0.2) | 2 (0.3) | 3 (<0.1) | 1 (<0.1) | 1 (0.2) | 0 (0) | 2 (0.1) | 2 (0.2) |
| Jcovden, n (%) | 1 (<0.1) | 0 (0) | 1 (<0.1) | 0 (0) | - | - | - | - | - | - | - | - |
| Spikevax, n (%) | 1 (<0.1) | 0 (0) | 1 (<0.1) | 1 (<0.1) | 1 (0.1) | 0 (0) | 2 (<0.1) | 0 (0) | 1 (0.2) | 0 (0) | 1 (<0.1) | 0 (0) |
| Vaxzevria, n (%) | 2 (0.1) | 0 (0) | 5 (<0.1) | 0 (0) | 0 (0) | 0 (0) | 4 (0.1) | 0 (0) | - | - | - | - |
| Total, n (%) | 5 (0.2) | 1 (0.1) | 12 (0.1) | 3 (0.1) | 5 (0.3) | 2 (0.3) | 9 (0.1) | 1 (<0.1) | 2 (0.3) | 0 (0) | 3 (0.1) | 2 (0.2) |
| First Dose | ||||||||||||
|---|---|---|---|---|---|---|---|---|---|---|---|---|
| Comirnaty | Jcovden | Spikevax | Vaxzevria | |||||||||
| People with a History of Allergy | Matched Controls | p-Value | People with a History of Allergy | Matched Controls | p-Value | People with a History of Allergy | Matched Controls | p-Value | People with a History of Allergy | Matched Controls | p-Value | |
| Number of vaccinees, n (%) | 1494 | 5976 | Matching factor | 344 | 1376 | Matching factor | 538 | 2139 | Matching factor | 1089 | 4356 | Matching factor |
| Number of vaccinees reporting at least one unsolicited ADR, n (%) | 360 (24.1) | 1002 (16.8) | Matching factor | 207 (60.2) | 690 (50.1) | Matching factor | 170 (31.6) | 529 (24.7) | Matching factor | 718 (65.9) | 2554 (58.6) | Matching factor |
| Allergic-related ADRs (PT), n (%) | ||||||||||||
| Chest discomfort | 0 (0) | 9 (0.2) | 0.219 | 2 (0.6) | 3 (0.2) | 0.262 | 1 (0.2) | 1 (0) | 0.361 | 6 (0.6) | 20 (0.5) | 0.628 |
| Cough | 11 (0.7) | 11 (0.2) | 0.001 | 2 (0.6) | 11 (0.8) | 1.000 | 2 (0.4) | 3 (0.1) | 0.264 | 10 (0.9) | 26 (0.6) | 0.292 |
| Dyspnea | 10 (0.7) | 20 (0.3) | 0.109 | 8 (2.3) | 11 (0.8) | 0.032 | 4 (0.7) | 12 (0.6) | 0.543 | 30 (2.8) | 43 (1.0) | <0.001 |
| Pruritus | 8 (0.5) | 11 (0.2) | 0.033 | 2 (0.6) | 2 (0.1) | 0.180 | 7 (1.3) | 4 (0.2) | 0.002 | 9 (0.8) | 17 (0.4) | 0.081 |
| Rash | 4 (0.3) | 11 (0.2) | 0.518 | 4 (1.2) | 3 (0.2) | 0.033 | 4 (0.7) | 1 (0) | 0.006 | 9 (0.8) | 11 (0.3) | 0.009 |
| Rash pruritic | 5 (0.3) | 8 (0.1) | 0.153 | 1 (0.3) | 0 (0) | 0.200 | 3 (0.6) | 4 (0.2) | 0.149 | 7 (0.6) | 5 (0.1) | 0.003 |
| Others * | 48 (3.2) | 34 (0.6) | <0.001 | 8 (2.3) | 9 (0.7) | 0.012 | 23 (4.3) | 24 (1.1) | <0.001 | 33 (3) | 33 (0.8) | <0.001 |
| Second Dose | |||||||||
|---|---|---|---|---|---|---|---|---|---|
| Comirnaty | Spikevax | Vaxzevria | |||||||
| People with a History of Allergy | Matched Controls | p-Value | People with a History of Allergy | Matched Controls | p-Value | People with a History of Allergy | Matched Controls | p-Value | |
| Number of vaccinees, n (%) | 1146 | 4584 | Matching factor | 405 | 1614 | Matching factor | 685 | 2740 | Matching factor |
| Number of vaccinees reporting at least one unsolicited ADR, n (%) | 293 (25.6) | 807 (17.6) | Matching factor | 217 (53.6) | 803 (49.8) | Matching factor | 145 (21.2) | 407 (14.9) | Matching factor |
| Allergic-related ADRs (PT), n (%) | |||||||||
| Chest discomfort | 5 (0.4) | 6 (0.1) | 0.051 | 1 (0.2) | 2 (0.1) | 0.489 | 0 (0) | 1 (0) | 1.000 |
| Cough | 2 (0.2) | 2 (0) | 0.180 | 3 (0.7) | 8 (0.5) | 0.469 | 2 (0.3) | 6 (0.2) | 0.664 |
| Dyspnea | 9 (0.8) | 10 (0.2) | 0.006 | 7 (1.7) | 16 (1) | 0.323 | 5 (0.7) | 3 (0.1) | 0.010 |
| Pruritus | 8 (0.7) | 8 (0.2) | 0.007 | 1 (0.2) | 4 (0.2) | 1.000 | 1 (0.1) | 4 (0.1) | 1.000 |
| Rash | 4 (0.3) | 7 (0.2) | 0.246 | 2 (0.5) | 3 (0.2) | 0.263 | 1 (0.1) | 3 (0.1) | 1.000 |
| Rash pruritic | 0 (0) | 1 (0) | <0.001 | 1 (0.2) | 1 (0.1) | 0.361 | 0 (0) | 0 (0) | - |
| Others * | 23 (2) | 29 (0.6) | <0.001 | 7 (1.7) | 12 (0.7) | 0.081 | 7 (1) | 17 (0.6) | 0.301 |
| Booster Dose | ||||||
|---|---|---|---|---|---|---|
| Comirnaty | Spikevax | |||||
| People with a History of Allergy | Matched Controls | p-Value | People with a History of Allergy | Matched Controls | p-Value | |
| Number of vaccinees, n (%) | 428 (100) | 1712 (100) | Matching factor | 391 (100) | 1564 (100) | Matching factor |
| Number of vaccinees reporting at least one unsolicited ADR, n (%) | 101 (23.6) | 289 (16.9) | Matching factor | 93 (23.8) | 273 (17.5) | Matching factor |
| Allergic-related ADRs (PT), n (%) | ||||||
| Chest discomfort | 0 (0) | 1 (0.1) | 1.000 | 1 (0.3) | 5 (0.3) | 1.000 |
| Cough | 5 (1.2) | 9 (0.5) | 0.172 | 0 (0) | 9 (0.6) | 0.218 |
| Dyspnea | 4 (0.9) | 12 (0.7) | 0.541 | 4 (1) | 6 (0.4) | 0.120 |
| Eczema | 1 (0.2) | 0 (0) | 0.200 | 3 (0.8) | 0 (0) | 0.007 |
| Pruritus | 3 (0.7) | 8 (0.5) | 0.467 | 3 (0.8) | 2 (0.1) | 0.057 |
| Rash | 4 (0.9) | 8 (0.5) | 0.273 | 4 (1) | 9 (0.6) | 0.306 |
Disclaimer/Publisher’s Note: The statements, opinions and data contained in all publications are solely those of the individual author(s) and contributor(s) and not of MDPI and/or the editor(s). MDPI and/or the editor(s) disclaim responsibility for any injury to people or property resulting from any ideas, methods, instructions or products referred to in the content. |
© 2024 by the authors. Licensee MDPI, Basel, Switzerland. This article is an open access article distributed under the terms and conditions of the Creative Commons Attribution (CC BY) license (https://creativecommons.org/licenses/by/4.0/).
Share and Cite
Luxi, N.; Ciccimarra, F.; Bellitto, C.; Raethke, M.; van Hunsel, F.; Lieber, T.; Mulder, E.; L’Abbate, L.; Marques, F.B.; Furci, F.; et al. Safety of COVID-19 Vaccines among People with History of Allergy: A European Active Surveillance Study. Vaccines 2024, 12, 1059. https://doi.org/10.3390/vaccines12091059
Luxi N, Ciccimarra F, Bellitto C, Raethke M, van Hunsel F, Lieber T, Mulder E, L’Abbate L, Marques FB, Furci F, et al. Safety of COVID-19 Vaccines among People with History of Allergy: A European Active Surveillance Study. Vaccines. 2024; 12(9):1059. https://doi.org/10.3390/vaccines12091059
Chicago/Turabian StyleLuxi, Nicoletta, Francesco Ciccimarra, Chiara Bellitto, Monika Raethke, Florence van Hunsel, Thomas Lieber, Erik Mulder, Luca L’Abbate, Francisco Batel Marques, Fabiana Furci, and et al. 2024. "Safety of COVID-19 Vaccines among People with History of Allergy: A European Active Surveillance Study" Vaccines 12, no. 9: 1059. https://doi.org/10.3390/vaccines12091059
APA StyleLuxi, N., Ciccimarra, F., Bellitto, C., Raethke, M., van Hunsel, F., Lieber, T., Mulder, E., L’Abbate, L., Marques, F. B., Furci, F., Farcas, A., Giele-Eshuis, J., Morton, K., Sonderlichová, S., Thurin, N. H., Villalobos, F., Riefolo, F., Sturkenboom, M. C., & Trifirò, G. (2024). Safety of COVID-19 Vaccines among People with History of Allergy: A European Active Surveillance Study. Vaccines, 12(9), 1059. https://doi.org/10.3390/vaccines12091059

