Association of Current Active Illnesses and Severe Acute Kidney Injury after COVID-19 Vaccines: A Real-World Study
Abstract
:1. Introduction
2. Methods
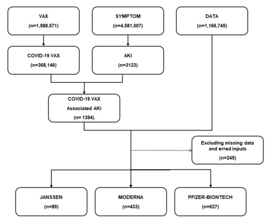
2.1. Database Description and Study Population
2.2. Outcome Measurement
2.3. Statistical Analysis
3. Results
3.1. Baseline Characteristics of Selected Patients
3.2. Univariate Analysis
3.3. Unadjusted and Adjusted Regression Analysis Models
3.4. Subgroup Analysis
4. Discussion
5. Conclusions
Author Contributions
Funding
Institutional Review Board Statement
Informed Consent Statement
Data Availability Statement
Acknowledgments
Conflicts of Interest
Abbreviations
References
- WHO COVID-19 Dashboard; World Health Organization: Geneva, Switzerland, 2021; Available online: https://covid19.who.int/n.d (accessed on 17 September 2021).
- Coronavirus (COVID-19). Update: 22 December 2020. Available online: https://www.fda.gov/news-events/press-announcements/coronavirus-covid-19-update-december-22-2020 (accessed on 20 September 2021).
- FDA Takes Additional Action in Fight Against COVID-19 by Issuing Emergency Use Authorization for Second COVID-19 Vaccine. Available online: https://www.fda.gov/news-events/press-announcements/fda-takes-additional-action-fight-against-covid-19-issuing-emergency-use-authorization-second-covid (accessed on 20 September 2021).
- Hanna, C.; Hernandez, L.P.H.; Bu, L.; Kizilbash, S.; Najera, L.; Rheault, M.N.; Czyzyk, J.; Kouri, A.M. IgA nephropathy presenting as macroscopic hematuria in 2 pediatric patients after receiving the Pfizer COVID-19 vaccine. Kidney Int. 2021, 100, 705–706. [Google Scholar] [CrossRef]
- D’Agati, V.D.; Kudose, S.; Bomback, A.S.; Adamidis, A.; Tartini, A. Minimal change disease and acute kidney injury following the Pfizer-BioNTech COVID-19 vaccine. Kidney Int. 2021, 100, 461–463. [Google Scholar] [CrossRef] [PubMed]
- Lebedev, L.; Sapojnikov, M.; Wechsler, A.; Varadi-Levi, R.; Zamir, D.; Tobar, A.; Levin-Iaina, N.; Fytlovich, S.; Yagil, Y. Minimal Change Disease Following the Pfizer-BioNTech COVID-19 Vaccine. Am. J. Kidney Dis. 2021, 78, 142–145. [Google Scholar] [CrossRef] [PubMed]
- Aydın, M.F.; Yıldız, A.; Oruç, A.; Sezen, M.; Dilek, K.; Güllülü, M.; Yavuz, M.; Ersoy, A. Relapse of primary membranous nephropathy after inactivated SARS-CoV-2 virus vaccination. Kidney Int. 2021, 100, 464–465. [Google Scholar] [CrossRef] [PubMed]
- Shakoor, M.T.; Birkenbach, M.P.; Lynch, M. ANCA-Associated Vasculitis Following the Pfizer-BioNTech COVID-19 Vaccine. Am. J. Kidney Dis. 2021, 78, 611–613. [Google Scholar] [CrossRef] [PubMed]
- Sekar, A.; Campbell, R.; Tabbara, J.; Rastogi, P. ANCA glomerulonephritis after the Moderna COVID-19 vaccination. Kidney Int. 2021, 100, 473–474. [Google Scholar] [CrossRef] [PubMed]
- Sacker, A.; Kung, V.; Andeen, N. Anti-GBM nephritis with mesangial IgA deposits after SARS-CoV-2 mRNA vaccination. Kidney Int. 2021, 100, 471–472. [Google Scholar] [CrossRef]
- De Fabritiis, M.; Angelini, M.L.; Fabbrizio, B.; Cenacchi, G.; Americo, C.; Cristino, S.; Lifrieri, M.F.; Cappuccilli, M.; Spazzoli, A.; Zambianchi, L.; et al. Renal Thrombotic Microangiopathy in Concurrent COVID-19 Vaccination and Infection. Pathogens 2021, 10, 1045. [Google Scholar] [CrossRef]
- Coca, S.G.; Yusuf, B.; Shlipak, M.G.; Garg, A.X.; Parikh, C.R. Long-term Risk of Mortality and Other Adverse Outcomes After Acute Kidney Injury: A Systematic Review and Meta-analysis. Am. J. Kidney Dis. 2009, 53, 961–973. [Google Scholar] [CrossRef] [Green Version]
- Murugan, R.; Kellum, J.A. Acute kidney injury: What’s the prognosis? Nat. Rev. Nephrol. 2011, 7, 209–217. [Google Scholar] [CrossRef] [Green Version]
- Golestaneh, L.; Melamed, M.L.; Hostetter, T.H. Uremic memory: The role of acute kidney injury in long-term outcomes. Kidney Int. 2009, 76, 813–814. [Google Scholar] [CrossRef] [PubMed] [Green Version]
- Sawhney, S.; Marks, A.; Fluck, N.; Levin, A.; Prescott, G.; Black, C. Intermediate and Long-term Outcomes of Survivors of Acute Kidney Injury Episodes: A Large Population-Based Cohort Study. Am. J. Kidney Dis. 2017, 69, 18–28. [Google Scholar] [CrossRef] [PubMed] [Green Version]
- Chen, G.; Li, X.; Sun, M.; Zhou, Y.; Yin, M.; Zhao, B.; Li, X. COVID-19 mRNA Vaccines Are Generally Safe in the Short Term: A Vaccine Vigilance Real-World Study Says. Front. Immunol. 2021, 12, 669010. [Google Scholar] [CrossRef] [PubMed]
- Callado, R.B.; Carneiro, T.G.P.; da Cunha Parahyba, C.C.; de Alcantara Lima, N.; da Silva Junior, G.B.; de Francesco Daher, E. Rhabdomyolysis secondary to influenza A H1N1 vaccine resulting in acute kidney injury. Travel Med. Infect. Dis. 2013, 11, 130–133. [Google Scholar] [CrossRef]
- Vasconcelos, P.F.; Luna, E.J.; Galler, R.; Silva, L.J.; Coimbra, T.L.; Barros, V.L.; Monath, T.P.; Rodigues, S.G.; Laval, C.; Costa, Z.G.; et al. Serious adverse events associated with yellow fever 17DD vaccine in Brazil: A report of two cases. Lancet 2001, 358, 91–97. [Google Scholar] [CrossRef]
- Eisinger, A.J.; Smith, J.G. Acute renal failure after TAB and cholera vaccination. BMJ 1979, 1, 381–382. [Google Scholar] [CrossRef] [Green Version]
- Klomjit, N.; Alexander, M.P.; Fervenza, F.C.; Zoghby, Z.; Garg, A.; Hogan, M.C.; Nasr, S.H.; Abu Minshar, M.; Zand, L. COVID-19 Vaccination and Glomerulonephritis. Kidney Int. Rep. 2021, 6, 2969–2978. [Google Scholar] [CrossRef]
- Sahin, U.; Muik, A.; Vogler, I.; Derhovanessian, E.; Kranz, L.M.; Vormehr, M.; Quandt, J.; Bidmon, N.; Ulges, A.; Baum, A.; et al. BNT162b2 vaccine induces neutralizing antibodies and poly-specific T cells in humans. Nature 2021, 595, 572–577. [Google Scholar] [CrossRef]
- Baden, L.R.; El Sahly, H.M.; Essink, B.; Kotloff, K.; Frey, S.; Novak, R.; Diemert, D.; Spector, S.A.; Rouphael, N.; Creech, C.B.; et al. Efficacy and Safety of the mRNA-1273 SARS-CoV-2 Vaccine. N. Engl. J. Med. 2021, 384, 403–416. [Google Scholar] [CrossRef]
- Polack, F.P.; Thomas, S.J.; Kitchin, N.; Absalon, J.; Gurtman, A.; Lockhart, S.; Perez, J.L.; Pérez Marc, G.; Moreira, E.D.; Zerbini, C.; et al. Safety and efficacy of the BNT162b2 mRNA COVID-19 vaccine. N. Engl. J. Med. 2020, 383, 2603–2615. [Google Scholar] [CrossRef]
- Thompson, M.G.; Burgess, J.L.; Naleway, A.L.; Tyner, H.; Yoon, S.K.; Meece, J.; Olsho, L.E.W.; Caban-Martinez, A.J.; Fowlkes, A.L.; Lutrick, K.; et al. Prevention and Attenuation of Covid-19 with the BNT162b2 and mRNA-1273 Vaccines. N. Engl. J. Med. 2021, 385, 320–329. [Google Scholar] [CrossRef] [PubMed]
- Jara, A.; Undurraga, E.A.; González, C.; Paredes, F.; Fontecilla, T.; Jara, G.; Pizarro, A.; Acevedo, J.; Leo, K.; Leon, F.; et al. Effectiveness of an Inactivated SARS-CoV-2 Vaccine in Chile. N. Engl. J. Med. 2021, 385, 875–884. [Google Scholar] [CrossRef] [PubMed]
- Zhou, Y.; Ren, Q.; Chen, G.; Jin, Q.; Cui, Q.; Luo, H.; Zheng, K.; Qin, Y.; Li, X. Chronic Kidney Diseases and Acute Kidney Injury in Patients With COVID-19: Evidence From a Meta-Analysis. Front. Med. 2020, 7, 588301. [Google Scholar] [CrossRef] [PubMed]
- Zeng, X.; McMahon, G.; Brunelli, S.M.; Bates, D.W.; Waikar, S.S. Incidence, Outcomes, and Comparisons across Definitions of AKI in Hospitalized Individuals. Clin. J. Am. Soc. Nephrol. 2013, 9, 12–20. [Google Scholar] [CrossRef]
- Mehta, R.L.; Bouchard, J.; Soroko, S.B.; Ikizler, T.A.; Paganini, E.P.; Chertow, G.M.; Himmelfarb, J. Sepsis as a cause and consequence of acute kidney injury: Program to Improve Care in Acute Renal Disease. Intensiv. Care Med. 2010, 37, 241–248. [Google Scholar] [CrossRef] [Green Version]
- Lee, S.; Cozzi, M.; Bush, E.L.; Rabb, H. Distant Organ Dysfunction in Acute Kidney Injury: A Review. Am. J. Kidney Dis. 2018, 72, 846–856. [Google Scholar] [CrossRef]

| Clinical Characteristics | Total (n = 1149) | Survived (n = 937) | Non-Survived (n = 212) | p |
|---|---|---|---|---|
| Demographics | ||||
| Age, years | 67.16 ± 16.97 | 65.37 ± 17.22 | 75.45 ± 12.81 | <0.001 * |
| Male, n (%) | 590 (51.62) | 471 (50.59) | 119 (56.13) | 0.145 |
| Coexisting active illnesses | ||||
| Total, n (%) | 256 (22.28) | 180 (19.21) | 76 (35.85) | <0.001 * |
| Infection, n (%) | 81 (7.05) | 51 (5.44) | 30 (14.15) | <0.001 * |
| Pneumonia, n (%) | 38 (3.31) | 21 (2.24) | 17 (8.02) | <0.001 * |
| Urinary tract infection, n (%) | 17 (1.48) | 13 (1.39) | 4 (1.89) | 0.587 |
| Upper respiratory tract infection, n (%) | 3 (0.26) | 2 (0.21) | 1 (0.47) | 0.458 |
| Other infection, n (%) | 26 (2.26) | 16 (1.71) | 10 (4.72) | 0.008 * |
| Heart failure, n (%) | 24 (2.09) | 13 (1.39) | 11 (5.19) | <0.001 * |
| Uncontrolled hypertension, n (%) | 40 (3.51) | 22 (2.36) | 18 (8.65) | <0.001 * |
| GI conditions (vomiting, diarrhea or bleeding), n (%) | 16 (1.40) | 12 (1.29) | 4 (1.92) | 0.482 |
| Active glomerulonephritis or immune diseases, n (%) | 20 (1.76) | 16 (1.72) | 4 (1.92) | 0.839 |
| Recent fracture or arthralgia, n (%) | 19 (1.67) | 9 (0.97) | 10 (4.81) | <0.001 * |
| Other active illnesses, n (%) | 89 (7.75) | 68 (7.26) | 21 (9.91) | 0.193 |
| Past disease histories | ||||
| Total, n (%) | 676 (58.89) | 536 (57.20) | 140 (66.35) | 0.015 * |
| Hypertension, n (%) | 355 (30.92) | 278 (29.67) | 77 (36.49) | 0.053 |
| Diabetes, n (%) | 226 (19.70) | 180 (19.23) | 46 (21.80) | 0.396 |
| Chronic kidney diseases, n (%) | 237 (20.64) | 183 (19.53) | 54 (25.59) | 0.049 * |
| Heart diseases, n (%) | 235 (20.47) | 172 (18.36) | 63 (29.86) | <0.001 * |
| Asthma and COPD, n (%) | 102 (8.89) | 79 (8.43) | 23 (10.90) | 0.255 |
| Gastrointestinal diseases, n (%) | 177 (15.42) | 130 (13.87) | 47 (22.27) | 0.002 * |
| Connective tissue diseases, n (%) | 31 (2.70) | 28 (2.99) | 3 (1.42) | 0.205 |
| Anemia, n (%) | 54 (4.70) | 39 (4.16) | 15 (7.11) | 0.068 |
| Allergy histories, n (%) | 380 (33.07) | 309 (32.98) | 71 (33.49) | 0.886 |
| Meantime medicine usage | ||||
| Antihypertensives | 384 (33.42) | 323 (34.47) | 61 (28.77) | 0.112 |
| RAS inhibitors | 193 (16.80) | 160 (17.08) | 33 (15.57) | 0.595 |
| Diabetes medicines | 149 (12.97) | 124 (13.23) | 25 (11.79) | 0.573 |
| Cardiovascular medicines | 62 (5.40) | 53 (5.66) | 9 (4.25) | 0.412 |
| Steroids | 33 (2.87) | 25 (2.67) | 8 (3.77) | 0.384 |
| Immunosuppressives | 31 (2.70) | 25 (2.67) | 6 (2.83) | 0.895 |
| Documented AKI causes | ||||
| Volume depletion, n (%) | 435 (37.86) | 360 (38.42) | 75 (35.38) | 0.409 |
| Nausea and vomiting, n (%) | 211 (18.36) | 176 (18.78) | 35 (16.51) | 0.440 |
| Diarrhea, n (%) | 111 (9.66) | 93 (9.93) | 18 (8.49) | 0.523 |
| Fever, n (%) | 293 (25.50) | 244 (26.04) | 49 (23.11) | 0.377 |
| Decreased appetite, n (%) | 35 (3.05) | 31 (3.31) | 4 (1.89) | 0.277 |
| Sepsis, n (%) | 133 (11.58) | 105 (11.21) | 28 (13.21) | 0.411 |
| Acute tubular necrosis, n (%) | 12 (1.04) | 8 (0.85) | 4 (1.89) | 0.182 |
| Acute interstitial nephritis, n (%) | 2 (0.17) | 2 (0.21) | 0 (0.00) | 0.501 |
| Glomerular nephritis, n (%) | 22 (1.91) | 18 (1.92) | 4 (1.89) | 0.974 |
| Nephrotic syndrome, n (%) | 2 (0.17) | 2 (0.21) | 0 (0.00) | 0.501 |
| Thrombotic microangiopathy, n (%) | 53 (4.61) | 45 (4.80) | 8 (3.77) | 0.519 |
| Medical records | ||||
| Time to AKI onset, days | 12.59 ± 18.39 | 12.41 ± 18.43 | 13.39 ± 18.22 | 0.488 |
| Clinic visit after AKI, n (%) | 235 (20.45) | 205 (21.88) | 30 (14.15) | 0.012 * |
| ER visit after AKI, n (%) | 624 (54.31) | 524 (55.92) | 100 (47.17) | 0.021 * |
| Hospitalization for AKI, n (%) | 820 (71.37) | 702 (74.92) | 118 (55.66) | <0.001 * |
| Length of stay, days | 3.71 ± 5.77 | 3.82 ± 5.54 | 3.30 ± 6.59 | 0.307 |
| Dialysis initiated, n (%) | 100 (8.70) | 82 (8.75) | 18 (8.49) | 0.903 |
| No. of Participants, n (%) | OR (95% CI) | p | |
|---|---|---|---|
| Gender, n (%) | |||
| Male | 590 (51.62) | 1.0 | |
| Female | 553 (48.38) | 0.80 (0.59, 1.08) | 0.146 |
| AGE group, n (%) | |||
| <64 years | 366 (32.85) | 1.0 | |
| 64–75 years | 358 (32.14) | 2.14 (1.32, 3.47) | 0.002 |
| >75 years | 390 (35.01) | 5.05 (3.24, 7.86) | <0.001 |
| AGE group trend | 67.75 ± 14.50 | 1.05 (1.03, 1.06) | <0.001 |
| Coexisting active illnesses, n (%) | |||
| No | 893 (77.72) | 1.0 | |
| Yes | 256 (22.28) | 2.35 (1.70, 3.25) | <0.001 |
| Past disease histories, n (%) | |||
| No | 472 (41.11) | 1.0 | |
| Yes | 676 (58.89) | 1.48 (1.08, 2.02) | 0.015 |
| Chronic kidney diseases, n (%) | |||
| No | 911 (79.36) | 1.0 | |
| Yes | 237 (20.64) | 1.42 (1.00, 2.01) | 0.050 |
| Allergy histories, n (%) | |||
| No | 769 (66.93) | 1.0 | |
| Yes | 380 (33.07) | 1.02 (0.75, 1.40) | 0.886 |
| Meantime anti-hypertensives usage, n (%) | |||
| No | 765 (66.58) | 1.0 | |
| Yes | 384 (33.42) | 0.77 (0.55, 1.06) | 0.113 |
| Meantime RAS inhibitors usage, n (%) | |||
| No | 956 (83.20) | 1.0 | |
| Yes | 193 (16.80) | 0.90 (0.60, 1.35) | 0.596 |
| Clinic visit after AKI, n (%) | |||
| No | 914 (79.55%) | 1.0 | |
| Yes | 235 (20.45%) | 0.59 (0.39, 0.89) | 0.013 |
| ER visit after AKI, n (%) | |||
| No | 525 (45.69) | 1.0 | |
| Yes | 624 (54.31%) | 0.70 (0.52, 0.95) | 0.021 |
| Hospitalization, n (%) | |||
| No | 329 (28.63) | 1.0 | |
| Yes | 820 (71.37) | 0.42 (0.31, 0.57) | <0.001 |
| Dialysis initiated after AKI, n (%) | |||
| No | 1049 (91.30) | 1.0 | |
| Yes | 100 (8.70) | 0.97 (0.57, 1.65) | 0.903 |
| Exposure | Model I (Crude) OR (95% CI), p-Value | Model II OR (95% CI), p-Value | Model III OR (95% CI), p-Value |
|---|---|---|---|
| Coexisting active illnesses | |||
| No | 1.0 | 1.0 | 1.0 |
| Yes | 2.35 (1.70, 3.25), p < 0.001 | 2.42 (1.71, 3.42), p < 0.001 | 2.19 (1.48, 3.25), p < 0.001 |
| Tercile of Coexisting Active Illnesses | No of Participants | Effect Size OR (95% CI) | p for Interaction |
|---|---|---|---|
| Age group, years | 0.354 | ||
| <64 years | 366 | 1.56 (0.62, 3.93) | |
| 64–75 years | 358 | 3.42 (1.66, 7.04) | |
| >75 years | 390 | 2.00 (1.10, 3.61) | |
| Gender | 0.389 | ||
| Male | 590 | 2.71 (1.54, 4.75) | |
| Female | 553 | 1.90 (1.07, 3.39) | |
| Past disease histories | 0.272 | ||
| No | 472 | 1.18 (0.34, 4.05) | |
| Yes | 676 | 2.41 (1.57, 3.69) | |
| Chronic kidney diseases | 0.291 | ||
| No | 911 | 1.93 (1.22, 3.07) | |
| Yes | 237 | 3.17 (1.43, 7.03) | |
| Allergy histories | 0.079 | ||
| No | 769 | 1.63 (0.93, 2.86) | |
| Yes | 380 | 3.37 (1.88, 6.04) | |
| Clinic visit after AKI | 0.475 | ||
| No | 914 | 2.40 (1.57, 3.65) | |
| Yes | 235 | 1.45 (0.38, 5.47) | |
| ER visit after AKI | 0.442 | ||
| No | 525 | 2.66 (1.53, 4.61) | |
| Yes | 624 | 1.91 (1.02, 3.60) | |
| Hospitalization | 0.260 | ||
| No | 329 | 1.57 (0.79, 3.11) | |
| Yes | 820 | 2.54 (1.54, 4.20) | |
| Dialysis initiated after AKI | 0.350 | ||
| No | 1049 | 2.07 (1.36, 3.14) | |
| Yes | 100 | 3.93 (1.10, 14.03) |
Publisher’s Note: MDPI stays neutral with regard to jurisdictional claims in published maps and institutional affiliations. |
© 2022 by the authors. Licensee MDPI, Basel, Switzerland. This article is an open access article distributed under the terms and conditions of the Creative Commons Attribution (CC BY) license (https://creativecommons.org/licenses/by/4.0/).
Share and Cite
Chen, G.; Ren, Q.; Zhou, J.; Zhou, Y.; Luo, H.; Wang, Y.; Li, X.; Zhao, B.; Li, X. Association of Current Active Illnesses and Severe Acute Kidney Injury after COVID-19 Vaccines: A Real-World Study. Vaccines 2022, 10, 706. https://doi.org/10.3390/vaccines10050706
Chen G, Ren Q, Zhou J, Zhou Y, Luo H, Wang Y, Li X, Zhao B, Li X. Association of Current Active Illnesses and Severe Acute Kidney Injury after COVID-19 Vaccines: A Real-World Study. Vaccines. 2022; 10(5):706. https://doi.org/10.3390/vaccines10050706
Chicago/Turabian StyleChen, Gang, Qidong Ren, Jiannan Zhou, Yangzhong Zhou, Huiting Luo, Yining Wang, Xiaolin Li, Bin Zhao, and Xuemei Li. 2022. "Association of Current Active Illnesses and Severe Acute Kidney Injury after COVID-19 Vaccines: A Real-World Study" Vaccines 10, no. 5: 706. https://doi.org/10.3390/vaccines10050706
APA StyleChen, G., Ren, Q., Zhou, J., Zhou, Y., Luo, H., Wang, Y., Li, X., Zhao, B., & Li, X. (2022). Association of Current Active Illnesses and Severe Acute Kidney Injury after COVID-19 Vaccines: A Real-World Study. Vaccines, 10(5), 706. https://doi.org/10.3390/vaccines10050706

