Design on the Winter Jujubes Harvesting and Sorting Device
Abstract
:1. Introduction
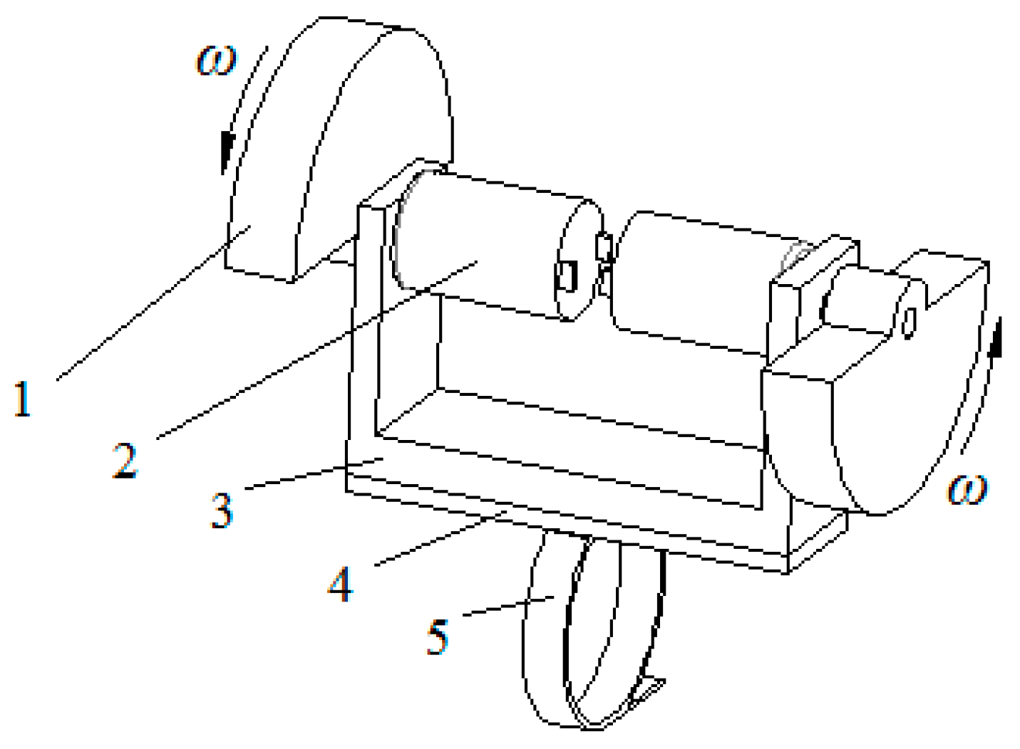
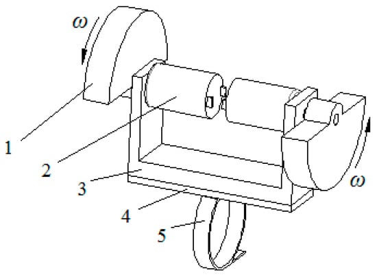
2. Overall Working Principles
3. Key Components Design
3.1. Vibration Mechanism
3.1.1. Dynamic Model of Vibration Harvesting
3.1.2. Finite Element Modeling Analysis of Jujube Trees
3.2. Collection Mechanism
3.3. Sorting Mechanism
3.4. Automatic Leveling Mechanism
4. Results and Discussion
4.1. Test Parameters
4.2. Test Method and Result Analysis
5. Conclusions
6. Patents
Author Contributions
Funding
Conflicts of Interest
References
- Kou, X.H.; He, Y.L.; Li, Y.F.; Chen, X.Y.; Feng, Y.C.; Xue, Z.H. Effect of abscisic acid (ABA) and chitosan/nano-silica/sodium alginate composite film on the color development and quality of postharvest Chinese winter jujube (Zizyphus jujuba Mill. cv. Dongzao). Food Chem. 2019, 270, 385–394. [Google Scholar] [CrossRef] [PubMed]
- Cui, J.; Zhang, H.; Fu, W.; Kan, Z.; Liu, Y. Design of jujube harvest test device based on self-excited vibration and force compensation. J. Agric. Mech. Res. 2017, 39, 18–22. (In Chinese) [Google Scholar]
- Hu, C.; Lu, B.; Hou, S.L.; Yi, X.K.; Wang, X.F. Research status and development countermeasures on harvesting machinery of jujube in Xinjiang. J. Chin. Agric. Mech. 2016, 37, 222–225. (In Chinese) [Google Scholar]
- Fu, L.S.; Ai-Mallahi, A.; Peng, J.; Sun, S.P.; Feng, Y.L.; Li, R.; He, D.J.; Cui, Y.J. Harvesting technologies for Chinese jujube fruits: A review. Eng. Agric. Environ. Food 2017, 10, 171–177. [Google Scholar] [CrossRef]
- Wang, J.P.; Mei, S.; Xiao, H.R.; Zhao, Y.; Zhou, H.P. Research on mechanized harvesting methods of lycium barbarum fruit. IFAC-PapersOnline 2018, 51, 223–226. [Google Scholar]
- Wang, H.; Hohimer, C.J.; Bhusal, S.; Karkee, M.; Mo, C.K.; John, H.M. Simulation as a Tool in Designing and Evaluating a Robotic Apple Harvesting System. IFAC-PapersOnLine 2018, 51, 135–140. [Google Scholar] [CrossRef]
- Shigehiko, H.; Kohei, T.; Satoshi, Y.; Sadafumi, S.; Takashi, K. Gentle handling of strawberries using a suction device. Biosyst. Eng. 2011, 109, 348–356. [Google Scholar]
- Jun, P.; Xie, H.Q.; Feng, Y.L.; Fu, L.S.; Sun, S.P.; Cui, Y.J. Simulation study of vibratory harvesting of Chinese winter jujube (Zizyphus jujuba Mill. cv. Dongzao). Comput. Electron. Agric. 2017, 143, 57–65. [Google Scholar]
- San, Y.L.; Yang, H.M.; Wang, X.N. Dynamic response analysis of apricot fruit dropping during vibration harvesting. Trans. Chin. Soc. Agric. Eng. (Trans. CSAE) 2018, 18, 68–75. [Google Scholar]
- Du, X.Q.; Li, D.W.; Wang, D. Design and experiment on small fruit collecting device with flank deployable and foldable mechanisms. Trans Chin. Soc. Agric. Eng. (Trans. CSAE) 2017, 33, 11–17. [Google Scholar]
- Qin, G.J.; Li, T.F.; Yu, F.S. Winter jujubes automatic sorting equipment based on photocell. Adv. Mater. Res. 2013, 774–776, 1493–1496. [Google Scholar] [CrossRef]
- Liu, M.; Wang, F.L.; Xing, H.Q.; Ke, W.L.; Ma, S.C. The Experimental Study on Apple Vibration Harvester in Tall-spindle Orchard. IFAC-PapersOnLine 2018, 52, 152–156. [Google Scholar] [CrossRef]
- Krzysztof, K. Assessment of energy harvesting and vibration mitigation of a pendulum dynamic absorber. Mech. Syst. Signal Process. 2018, 106, 198–209. [Google Scholar]
- Hamidreza, H.; Hamid, R.D.; Mojtaba, G.; Rasoul, K.; Kourosh, Z. Numerical and experimental vibration analysis of olive tree for optimal mechanized harvesting efficiency and productivity. Comput. Electron. Agric. 2017, 132, 34–48. [Google Scholar]
- Du, X.Q.; Jiang, F.; LI, S.T.; Xu, N.N.; Li, D.W.; Wu, C.Y. Design and experiment of vibratory harvesting mechanism for Chinese hickory nuts based on orthogonal eccentric masses. Comput. Electron. Agric. 2019, 156, 178–186. [Google Scholar] [CrossRef]
- Fu, L.S.; Peng, J.; Nan, Q.; He, D.J.; Yang, Y.G.; Cui, Y.J. Simulation of vibration harvesting mechanism for sea buckthorn. Eng. Agric. Environ. Food 2016, 9, 101–108. [Google Scholar] [CrossRef]
- Lu, S.L.; He, Q.B.; Wang, J. A review of stochastic resonance in rotating machine fault detection. Mech. Syst. Signal Process. 2019, 116, 230–260. [Google Scholar] [CrossRef]
- Lu, S.L.; He, Q.B.; Zhang, H.B.; Kong, F.R. Rotating machine fault diagnosis through enhanced stochastic resonance by full-wave signal construction. Mech. Syst. Signal Process. 2017, 85, 82–97. [Google Scholar] [CrossRef]
- Wang, W.Z.; Lu, H.Z.; Zhang, S.M.; Yang, Z. Damage caused by multiple impacts of litchi fruits during vibration harvesting. Comput. Electron. Agric. 2019, 162, 732–738. [Google Scholar] [CrossRef]
- Piotr, K.; Roman, S.; Łukasz, K.; Daniel, S. Determination of apple bruise resistance based on the surface pressure and contact area measurements under impact loads. Comput. Electron. Agric. 2017, 142, 155–164. [Google Scholar]
- Sofu, M.M.; Er, O.; Kayacan, M.C.; Cetişli, B. Design of an automatic apple sorting system using machine vision. Comput. Electron. Agric. 2016, 127, 395–405. [Google Scholar] [CrossRef]
- Mary, D.; Ganga, G.; Robert, I. Disturbances of automatic gait control mechanisms in higher level gait disorder. Gait Posture 2016, 48, 47–51. [Google Scholar]















| Order | Natural Frequency/Hz | ||||
|---|---|---|---|---|---|
| D = 150 mm | D = 175 mm | D = 200 mm | D = 225 mm | D = 250 mm | |
| 1 | 3.4804 | 3.8818 | 4.6748 | 5.477 | 6.2831 |
| 2 | 3.5338 | 3.9212 | 4.7147 | 5.5163 | 6.3217 |
| 3 | 12.495 | 15.006 | 17.107 | 18.752 | 19.987 |
| 4 | 16.107 | 17.918 | 20.70 | 21.36 | 21.851 |
| 5 | 16.911 | 18.501 | 21.116 | 24.066 | |
| 6 | 19.19 | 20.139 | 21.508 | 24.324 | |
| 7 | 23.201 | 24.52 | |||
| 8 | 24.483 | ||||
| Grade | Evaluation Parameters | ||||
|---|---|---|---|---|---|
| Pr/% | Pc/% | Pd/% | Pt/% | Pi/% | |
| Excellent | >95 | >95 | <5 | <1 | <5 |
| Good | 90 | 90 | 7 | 2 | 10 |
| Medium | 85 | 85 | 9 | 3 | 15 |
| Qualified | 80 | 80 | 12 | 4 | 20 |
| Unqualified | <70 | <70 | >15 | >5 | >25 |
| Serial Number | Excellent | Good | Medium | Qualified | Unqualified | Grade |
|---|---|---|---|---|---|---|
| 1 | 0.9547 | 0.0014 | 0.0001 | 0.0002 | 0.0000 | Excellent |
| 2 | 0.0000 | 0.8867 | 0.0018 | 0.0002 | 0.0009 | Good |
| 3 | 0.0000 | 0.4847 | 0.9518 | 0.0005 | 0.0000 | Medium |
| 4 | 0.0013 | 0.9480 | 0.0010 | 0.0036 | 0.0001 | Good |
| 5 | 0.0109 | 0.8935 | 0.0007 | 0.0002 | 0.0662 | Good |
| 6 | 1.0503 | 0.2657 | 0.0002 | 0.0266 | 0.0000 | Excellent |
| 7 | 0.9945 | 0.0595 | 0.0000 | 0.0335 | 0.0000 | Excellent |
| 8 | 0.9872 | 0.0127 | 0.0000 | 0.0022 | 0.0006 | Excellent |
| 9 | 0.0012 | 0.9783 | 0.0092 | 0.0006 | 0.0002 | Good |
| 10 | 0.0000 | 0.9858 | 0.0000 | 0.0094 | 0.0000 | Good |
© 2019 by the authors. Licensee MDPI, Basel, Switzerland. This article is an open access article distributed under the terms and conditions of the Creative Commons Attribution (CC BY) license (http://creativecommons.org/licenses/by/4.0/).
Share and Cite
Ni, H.; Zhang, J.; Zhao, N.; Wang, C.; Lv, S.; Ren, F.; Wang, X. Design on the Winter Jujubes Harvesting and Sorting Device. Appl. Sci. 2019, 9, 5546. https://doi.org/10.3390/app9245546
Ni H, Zhang J, Zhao N, Wang C, Lv S, Ren F, Wang X. Design on the Winter Jujubes Harvesting and Sorting Device. Applied Sciences. 2019; 9(24):5546. https://doi.org/10.3390/app9245546
Chicago/Turabian StyleNi, Hongjun, Jiaqiao Zhang, Nansheng Zhao, Chusen Wang, Shuaishuai Lv, Fuji Ren, and Xingxing Wang. 2019. "Design on the Winter Jujubes Harvesting and Sorting Device" Applied Sciences 9, no. 24: 5546. https://doi.org/10.3390/app9245546
APA StyleNi, H., Zhang, J., Zhao, N., Wang, C., Lv, S., Ren, F., & Wang, X. (2019). Design on the Winter Jujubes Harvesting and Sorting Device. Applied Sciences, 9(24), 5546. https://doi.org/10.3390/app9245546
