Application of Fuzzy Theory to the Evaluation Model of Product Assembly Design and Usability Operation Complexity
Abstract
1. Introduction
- By analyzing the theories that are relevant to this study, new concepts of stereo speakers can be generated along with 3D models that can simulate mechanical operations.
- By analyzing the theories that are relevant to this study, quantized values of the psychological perception of consumers can be obtained.
- By analyzing the theories that are relevant to this study, new design ideas can be ranked according to their assembly efficiency and assembly cost.
- By analyzing the theories that are relevant to this study, new design ideas that comply with a company’s decisions from a variety of aspects can be determined.
- By analyzing assembly approaches and evaluating the usability, design ideas that have a higher value of development can be determined.
- By analyzing assembly approaches and evaluating the usability, the application of concurrent engineering can be enhanced.
2. Materials and Methods
2.1. Introduction to Assembly Design
2.1.1. Planning of the Assembly Process
- Review of direct-assembly approach: This approach deals with the serial assembly of a product starting from the first component. A product is complete after assembling the last component. This type of inference method is also called the goal driven or backward chaining approach.
- Review of reverse-assembly approach: This approach was investigated from the standpoint that if the disassembly process of a product is appropriate, the adequate assembly sequence of a product can be derived from the reverse sequence of the disassembly sequence.
2.1.2. Method of Evaluating Assembly
- Hitachi’s assembly evaluation method.
- Lucas’ method of analyzing assembly designs.
- Fujitsu’s capacity evaluation system.
- Boothroyd Dewhurst’s method of evaluating assembly designs [15].
2.2. Usability Engineering
2.3. Fuzzy Theory
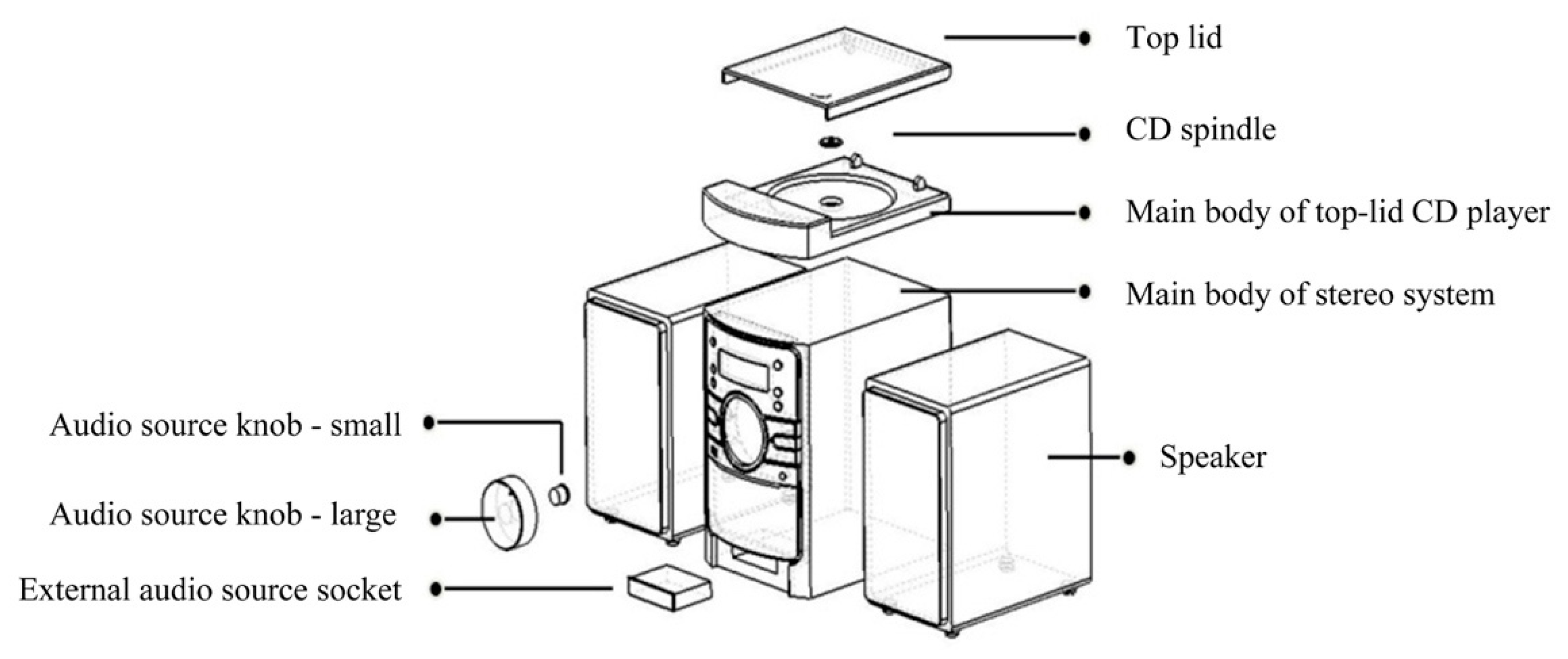
2.4. Product Assembly Design Case
3. Research Process and Methods
3.1. Assembly Evaluation
- Step 1:
- Acquire the information that is related to product assembly and this information includes engineering drawings, three-dimensional exploded view drawing, existing product samples and prototypes. The information of each component is recorded in the design table.
- Step 2:
- Perform new ways of assembling product components. The table items are ranked according to the assembly codes from the highest code to the lowest one so that a new way of assembling components can be created.
- Step 3:
- Record the total operating time, the total operating cost and the minimum number of components after all items of product components are complete.
3.2. Fuzzy Theory
4. Results and Analysis
4.1. Selection of the Concept Schemes
4.1.1. Determining Product Functions
4.1.2. Developing the Product Structure Tree Diagram
4.1.3. Creating Concept Schemes
- Idea 1. Product code: P11, P21, P32, P44, P53, P61, P72, P82, P91
- Idea 2. Product code: P14, P23, P31, P41, P51, P61, P71, P82, P91
- Idea 3. Product code: P12, P24, P32, P44, P52, P61, P72, P81, P91
- Idea 4. Product code: P13, P24, P31, P43, P51, P61, P71, P82, P91.
4.2. Process of the Usability Experiment
4.2.1. Pre-Procedure



- Learnability and efficiency
- Memorability and errors
- Function
- Emotion
- Satisfaction
4.2.2. Pre-Test
- 6.
- Unclear description of some questions in the questionnaire.
- 7.
- The ranking of the preference of these design ideas was carried out before playing the videos. The researchers did not check whether the ranking changed after the end of these videos.
- 8.
- The videos were played at different speeds.
- 9.
- It is recommended using the same computer to play the videos in order to control the variables including colors under the same playing environment.
4.2.3. Experimental Procedure
- 10.
- Two laptop computers were used for the experiment. One for the participants to fill in the questionnaire and the other one for playing the simulation videos of the design ideas.
- 11.
- A CD stereo system was placed in front of the desk so that the participants can use it for the vivid simulated operations during the experiment.
- 12.
- All of the prototype stereo systems have consistent colors so that participants were not affected by colors when using the prototypes. The interface which displays the music messages are in dark blue and a participant’s hand position is simulated by the blue dots.
- 13.
- After a participant viewed the three-view drawings of these four prototype products, he/she was asked to fill in his/her preference in sequence.
- 14.
- 15.
- The participant was asked to fill in his/her preference of the mechanical simulation videos.
4.3. Results and Analysis of the Usability Experiment
4.3.1. Outline of the Usability Decision Model
- Determining the targets and the evaluation criteria and constructing the hierarchical tree diagram of objects.
- Determining the weights by considering the relative importance of criteria.
- After measuring the membership functions of the targets at the lowest level in the tree, building up the fuzzy relation matrix.
- Using the weight set and the fuzzy relational matrix that was obtained from Step 2 and Step 3 to determine the fuzzy comprehensive evaluation values.
- Selecting the optimal choices from the design schemes’ relative matrices that were formed by the fuzzy comprehensive evaluation values.
4.3.2. Description of Problems
4.3.3. Constructing the objective tree
4.3.4. Evaluation of weight function
- (1)
- Determining the relative importance of pairwise items including the F1, F2, F3 and F4 child items.
- (2)
- List the test items into rows and columns in a table.
- (3)
- Filling in the scores of pairwise importance into the corresponding columns according to the following principles. If two child items have the same importance as the higher level, both child items were given a score of two points. For example, if F2 is more important than F1, than F2 gets 3 points and F1 gets 1 point. If F1 is much more important than F4, F1 gets 4 points and F4 has zero point. No value is filled into the diagonal columns as this is comparison to itself.
- (4)
- The summation of all child items Ki can be obtained by summing up the comparison value of each row.
- (5)
- The summation of all child items can be aggregated into the grand total of a system with n items by the following equation.
- (6)
- The weight function of each item can be expressed by Wi = Ki/, which is the weight of the nth item.
4.3.5. Measuring the Membership Functions




4.4. Evaluating the ‘Assembleability’ of Design Schemes
- Excessive components in a product can be reduced.
- The assembly efficiency can be improved.
- The assembly time of a product can be reduced.
- Members in a design team can spend less time on communication.
- The number of components that are used in a product can be reduced after a redesign.
- 6.
- Is the component required to take relative motion to other components during operation?
- 7.
- Is the component separate to other components that are already assembled or does it require different types of materials?
- 8.
- When assembling a component or carrying out maintenance, is it required separating a component from other components that are already assembled?
- 9.
- Is the component the only one that can deliver the desired function?
- 10.
- Manual handling: This deals with the motions including grabbing, transporting and positioning components and their direction.
- 11.
- Manual insertion: This involves the motions of placing a component and adding it to the tooling to form an assembly.
- 12.
- Aiming at manual assembly, find a two-digit manual code and a two-digit placing motion code.
- 13.
- Carrying out the evaluation according to the manual handling and manual insertion tables that were proposed by Boothroyd and Dewhurst [17] as follows.
4.4.1. Structure Tree of Design Schemes




4.4.2. DFMA Analysis of the B and D of Design Ideas
4.5. Analysis of the ‘Assemblability’ Evaluation Results
5. Correlation Between Assembly Design and Usability Operation
5.1. Definition of β Value
5.2. Influence of the Weighting Function
- (a)
- The efficiency factor (W1) is increased from 0.15 to 0.4 and W2 = 0.15, W3 = 0.15, W4 = 0.15, W5 = 0.15.
- (b)
- The memorability factor (W2) is increased from 0.15 to 0.4 and W1 = 0.15, W3 = 0.15, W4 = 0.15, W5 = 0.15.
- (c)
- The functional factor (W3) is increased from 0.25 to 0.4 and W1 = 0.15, W2 = 0.15, W4 = 0.15, W5 = 0.15.
- (d)
- The emotional factor (W4) is increased from 0.175 to 0.4 and W1 = 0.15, W2 = 0.15, W3 = 0.15, W5 = 0.15.
- (e)
- The satisfaction factor (W5) is increased from 0.275 to 0.4 and W1 = 0.15, W2 = 0.15, W3 = 0.15, W4 = 0.15.
5.3. Fuzzy Average Predicted Values
5.4. Results and Analysis of the Correlation Between Assembly and Usage
6. Conclusions and Recommendation
Funding
Conflicts of Interest
References
- Lo, C.H.; Ko, Y.C.; Hsiao, S.W. A methodology for high-performance operating interface design. Concurr. Eng. Res. Appl. 2015, 23, 110–123. [Google Scholar] [CrossRef]
- Ko, Y.C. A Study of the Hand Operating Thresholds during the Usage of an Electric Steam Iron by College Students. Eurasia J. Math. Sci. Technol. Educ. 2017, 13, 6325–6335. [Google Scholar] [CrossRef]
- Ko, Y.C.; Lo, C.H.; Hsiao, S.W. Interface Design Optimization by an Improved Operating Model for College Students. Eurasia J. Math. Sci. Technol. Educ. 2017, 13, 2601–2625. [Google Scholar] [CrossRef]
- Kwahk, J.; Han, S.H. A methodology for evaluating the usability of audiovisual consumer electronic products. Appl. Ergon. 2002, 33, 419–431. [Google Scholar] [CrossRef]
- Lee, S.; Heo, G.; Chang, S.H. Prediction of the human response time with the similarity and quantity of information. Reliab. Eng. Syst. Saf. 2006, 91, 728–734. [Google Scholar] [CrossRef]
- Lee, Y.S.; Hong, S.W.; Smith-Jackson, T.L.; Nussbaum, M.A.; Tomioka, K. Systematic evaluation methodology for cell phone user interfaces. Interact. Comput. 2006, 18, 304–325. [Google Scholar] [CrossRef]
- Heo, J.; Ham, D.H.; Park, S.; Song, C.; Yoon, W.C. A framework for evaluating the usability of mobile phones based on multi-level, hierarchical model of usability factors. Interact. Comput. 2009, 21, 263–275. [Google Scholar] [CrossRef]
- Jin, B.S.; Ji, Y.G. Usability risk level evaluation for physical user interface of mobile phone. Comput. Ind. 2010, 61, 350–363. [Google Scholar] [CrossRef]
- Chou, J.R. An Empirical Study of User Experience on Touch Mice. Eurasia J. Math. Sci. Technol. Educ. 2016, 12, 2875–2885. [Google Scholar] [CrossRef]
- Hsiao, S.W. Fuzzy set theory on car-color design Color. Res. Appl. 1994, 19, 202–213. [Google Scholar] [CrossRef]
- Barbosa, G.F.; Carvalho, J. Design for Manufacturing and Assembly methodology applied to aircrafts design and manufacturing. IFAC Proc. Vol. 2013, 46, 116–121. [Google Scholar]
- Moultrie, J.; Maier, A.M. A simplified approach to design for assembly. J. Eng. Des. 2014, 25, 44–63. [Google Scholar] [CrossRef][Green Version]
- Tiwari, M.K.; Battaïa, O.; Dolgui, A.; Heragu, S.; Meerkov, S. Design for manufacturing and assembly/disassembly: Joint design of products and production systems. Int. J. Prod. Res. 2017, 56, 7181–7189. [Google Scholar]
- Sossou, G.; Demoly, F.; Montavon, G.; Gomes, S. An additive manufacturing oriented design approach to mechanical assemblies. J. Comput. Des. Eng. 2018, 5, 3–18. [Google Scholar] [CrossRef]
- Boothroyd, G.; Dewhurst, P. Design for Assembly: A Designer’s Handbook; Departement of Mechanical Engineering, University of Massachusetts: Wakerfield, RI, USA, 1983. [Google Scholar]
- Norman, D.A. The Design of Every Things; MIT Press, Massachusetts Institute of Technology: Cambridge, MA, USA, 1988. [Google Scholar]
- Boothroyd, G.; Dewhurst, P.; Knight, W. Product Design for Manufacture and Assembly. Comput. Aided Des. 1994, 26, 505–520. [Google Scholar] [CrossRef]
- Tuttle, B.L. Design for function: A Cornerstone for DFMA. In Proceedings of the International Forum on Product Design for Manufacture and Assembly, Newport, RI, USA, 10–11 June 1991. [Google Scholar]
- Cross, N. Engineering Design Methods; Wiley: New York, NY, USA, 1994. [Google Scholar]
- Saaty, T.L. How to Make a Decision: The Analytic Hierarchy Process; Joseph, M., Ed.; McGraw-Hill: New York, NY, USA, 1980. [Google Scholar]
- Chien, C.C.; Feng, M.; Chu, C.M. Methodology in Industrial Design; Beijing University Press: Beijing, China, 1993. [Google Scholar]












| A | B | C | D | E | F | G | H | I | Name of Assembly |
|---|---|---|---|---|---|---|---|---|---|
| Component code | Number of continuous operations | Manual gripping code | Estimated processing time of individual gripping of component | Manual insertion code | Manual insertion time of individual component | Overall operating time (BD+F) | Operation cost | Investigating component necessity from four problems | |
| Totals: | Tm= | Cm= | Nm= | ||||||
| Verb | Noun | B.F. (Basic Function) | S.F. (Secondary Function) | A.F. (Aesthetic Function) | U.F. (Useless Function) |
|---|---|---|---|---|---|
| Play | Music | V | |||
| Protect | Disc | V | |||
| Avoid | Vibration | V | |||
| Adjust | Volume | V | |||
| Adjust | Audio source (FM) | V | |||
| Move | Position | V | |||
| Operating | Convenience | V | |||
| Allow | Stack | V | |||
| Collect | Power cord | V | |||
| Collect | MP3 | V | |||
| Observe | Aesthetic appearance | V | |||
| Configure | Time | V | |||
| Configure | LCD color | V | |||
| Reduce | Cost | V | |||
| Reduce | Component count | V | |||
| Assemble | High efficiency | V | |||
| Assemble | Short time | V | |||
| Reduce | Noise | V | |||
| Avoid | Wrap | V | |||
| Disassemble | Convenience | V | |||
| Observe | Brief | V | |||
| Observe | Elegance | V | |||
| Observe | Brightness | V | |||
| Perceive | Comfort | V | |||
| Configure | Sound field | V | |||
| Support | Different media source | V | |||
| Position | CD player | V | |||
| Operate | Interface | V | |||
| Merge | Speaker | V | |||
| Avoid | Moisture | V |
| Necessary Function | Sub-Function | |||
|---|---|---|---|---|
| P1 Way of placing the CD | P11 Open-lid Type | P12 Slot type | P13 Suction type | P14 Slide type |
| P2 CD-ROM location | P21 Top | P22 Bottom | P23 Front | P24 Middle |
| P3 Control button style | P31 Square | P32 Round | P33 Triangular | P34 Oval |
| P4 LCD dimensions and size | P41 Overall | P42 3/4 area | P43 1/2 area | P44 1/4 area |
| P5 Control button location | P51 Top | P52 Bottom | P53 Front | P54 Edge |
| P6 Mp3/iPhone device | P61 Yes | P62 No | ||
| P7 Speaker | P71 Integrated | P72 Separated | ||
| P8 Stacked design | P81 Allowed | P82 Not allowed | ||
| P9 Remote control | P91 Yes | P92 No | ||
| Main Dimensions (mm) | 140 (Width) | 230 (Height) | 216 (Depth) |
|---|---|---|---|
| Speaker dimensions (mm) | 130 | 230 | 150 |
| Product weight in package (kg) | 4.75 | ||
| LCD dimensions (mm) | 70 | 22 | R = 2 |
| Input interface | USB socket | Headset audio source input | iPhone |
| Output interface | Speaker output socket | ||
| Variable | Count | Percentage (%) | |
|---|---|---|---|
| Gender | Male | 16 | 53.3% |
| Female | 14 | 46.7% | |
| Age | 20~30 years old | 30 | 100% |
| More than 30 years old | 0 | 0% | |
| Educational background | Design related | 15 | 50% |
| Not design related | 15 | 50% |
| Item | F1 | F2 | F3 | F4 | F5 | |||
|---|---|---|---|---|---|---|---|---|
| F1 | 2 | 1 | 2 | 1 | 6 | 40 | 0.15 | |
| F2 | 2 | 1 | 2 | 1 | 6 | 40 | 0.15 | |
| F3 | 3 | 3 | 3 | 1 | 10 | 40 | 0.25 | |
| F4 | 2 | 2 | 1 | 2 | 7 | 40 | 0.175 | |
| F5 | 3 | 3 | 3 | 2 | 11 | 40 | 0.275 |
| Efficiency Factor (W1) 0.15 | Precision of the audio source button (W11) | 0.375 |
| Message reception promptness (W12) | 0.25 | |
| Message reception clarity (W13) | 0.25 | |
| Fast taking/placing CD (W14) | 0.125 | |
| Memorability Factor (W2) 0.15 | Visibility of button design (W21) | 0.375 |
| Complexity of interface design (W22) | 0.125 | |
| CD-ROM’s location and external style and dimensions (W23) | 0.29 | |
| CD-ROM’s way of mechanical operation (W24) | 0.21 | |
| Functional Factor (W3) 0.25 | Other ways of placement (W31) | 0.29 |
| Adequacy of the product’s spatial arrangement (W32) | 0.29 | |
| Angle of product’s speakers and the consistency of sound (W33) | 0.17 | |
| Easy moving (W34) | 0.25 | |
| Emotional Factor (W4) 0.175 | Novelty of style (W41) | 0.25 |
| Preference of style design (W42) | 0.25 | |
| Audible added value of the style (W43) | 0.17 | |
| Enhanced overall atmosphere when listening to music (W44) | 0.33 | |
| Satisfaction Factor (W5) 0.275 | Proportion and arrangement of the product’s screen and speakers (W51) | 0.33 |
| The frequency of using other functions in addition to CD (W52) | 0.25 | |
| Durability (W53) | 0.25 | |
| Cleanness (W54) | 0.17 |
| Idea 1 | Idea 2 | Idea 3 | Idea 4 | |
|---|---|---|---|---|
| Precision of the audio source button (W11) | 0.650 | 0.517 | 0.783 | 0.333 |
| Message reception promptness (W12) | 0.692 | 0.683 | 0.658 | 0.625 |
| Message reception clarity (W13) | 0.583 | 0.525 | 0.708 | 0.525 |
| Fast taking/placing CD (W14) | 0.525 | 0.358 | 0.533 | 0.842 |
| Visibility of button design (W21) | 0.683 | 0.425 | 0.733 | 0.500 |
| Complexity of interface design (W22) | 0.183 | 0.450 | 0.350 | 0.492 |
| CD-ROM’s location and external style and dimensions (W23) | 0.333 | 0.608 | 0.308 | 0.267 |
| CD-ROM’s way of mechanical operation (W24) | 0.517 | 0.758 | 0.383 | 0.383 |
| Other ways of placement (W31) | 0.517 | 0.588 | 0.677 | 0.333 |
| Adequacy of the product’s spatial arrangement (W32) | 0.300 | 0.642 | 0.783 | 0.475 |
| Angle of product’s speakers and the consistency of sound (W33) | 0.483 | 0.792 | 0.567 | 0.525 |
| Easy moving (W34) | 0.242 | 0.567 | 0.525 | 0.467 |
| Novelty of style (W41) | 0.300 | 0.842 | 0.417 | 0.508 |
| Preference of style design (W42) | 0.533 | 0.755 | 0.617 | 0.422 |
| Audible added value of the style (W43) | 0.300 | 0.383 | 0.333 | 0.442 |
| Enhanced overall atmosphere when listening to music (W44) | 0.608 | 0.667 | 0.683 | 0.533 |
| Proportion and arrangement of the product’s screen and speakers (W51) | 0.642 | 0.583 | 0.667 | 0.408 |
| The frequency of using other functions in addition to CD (W52) | 0.533 | 0.658 | 0.700 | 0.492 |
| Durability (W53) | 0.700 | 0.400 | 0.733 | 0.683 |
| Cleanness (W54) | 0.617 | 0.567 | 0.658 | 0.525 |
| Idea 1 | Idea 2 | Idea 3 | Idea 4 | |
|---|---|---|---|---|
| Percentage of change in the component numbers (%) | Reduced by 12% | Reduced by 33% | Reduced by 22% | Reduced by 9% |
| Percentage of change in the assembly time (%) | Reduced by 10% | Reduced by 24% | Reduced by 17% | Reduced by 14% |
| Weight | Mean Fuzzy Probability | |||
|---|---|---|---|---|
| Idea 1 | Idea 2 | Idea 3 | Idea 4 | |
| W1 = 0.4 | 0.612 | 0.66 * | 0.63 | 0.48 |
| W2 = 0.15 | ||||
| W3 = 0.15 | ||||
| W4 = 0.15 | ||||
| sW5 = 0.15 | ||||
| W1 = 0.15 | 0.594 | 0.646 * | 0.573 | 0.589 |
| W2 = 0.4 | ||||
| W3 =0.15 | ||||
| W4 = 0.15 | ||||
| W5 = 0.15 | ||||
| W1 = 0.15 | 0.592 | 0.687 * | 0.555 | 0.581 |
| W2 = 0.15 | ||||
| W3 = 0.4 | ||||
| W4 = 0.15 | ||||
| W5 = 0.15 | ||||
| W1 = 0.15 | 0.632 | 0.699 * | 0.596 | 0.531 |
| W2 = 0.15 | ||||
| W3 = 0.15 | ||||
| W4 = 0.4 | ||||
| W5 = 0.15 | ||||
| W1 = 0.15 | 0.631 | 0.682 * | 0.586 | 0.491 |
| W2 = 0.15 | ||||
| W3 = 0.15 | ||||
| W4 = 0.15 | ||||
| W5 = 0.4 | ||||
| Ranking | ||||
|---|---|---|---|---|
| Complexity of usability operation | Idea 2 | Idea 1 | Idea3 | Idea4 |
| Assembly design | Idea 1 | Idea4 | Idea3 | Idea 2 |
© 2019 by the author. Licensee MDPI, Basel, Switzerland. This article is an open access article distributed under the terms and conditions of the Creative Commons Attribution (CC BY) license (http://creativecommons.org/licenses/by/4.0/).
Share and Cite
Ko, Y.-C. Application of Fuzzy Theory to the Evaluation Model of Product Assembly Design and Usability Operation Complexity. Appl. Sci. 2019, 9, 4055. https://doi.org/10.3390/app9194055
Ko Y-C. Application of Fuzzy Theory to the Evaluation Model of Product Assembly Design and Usability Operation Complexity. Applied Sciences. 2019; 9(19):4055. https://doi.org/10.3390/app9194055
Chicago/Turabian StyleKo, Ya-Chuan. 2019. "Application of Fuzzy Theory to the Evaluation Model of Product Assembly Design and Usability Operation Complexity" Applied Sciences 9, no. 19: 4055. https://doi.org/10.3390/app9194055
APA StyleKo, Y.-C. (2019). Application of Fuzzy Theory to the Evaluation Model of Product Assembly Design and Usability Operation Complexity. Applied Sciences, 9(19), 4055. https://doi.org/10.3390/app9194055
