Determination of Bisphenol A in Beverages by an Electrochemical Sensor Based on Rh2O3/Reduced Graphene Oxide Composites
Abstract
1. Introduction
2. Materials and Methods
2.1. Materials and Reagents
2.2. Instruments
2.3. Synthesis of Rh2O3 Nanoparticles (Rh2O3–NPs)
2.4. Preparation of Reduced Graphene Oxide–Rhodium Nanoparticle Electrode (Rh2O3–rGO/GCE)
2.5. Real Sample Preparation
3. Results
3.1. Material Characterization
3.2. Electrochemical Properties of the Modified Electrodes
3.3. Electrocatalytic Behaviors of BPA
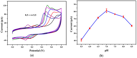
3.4. Effects of Solution pH
3.5. Effects of Scan Rate
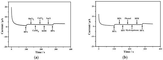
3.6. Analytical Performance of the Rh2O3–rGO/GCE
3.7. Sample Analysis
4. Conclusions
Author Contributions
Funding
Conflicts of Interest
References
- Hoekstra, E.J.; Simoneau, C. Release of bisphenol A from polycarbonate: A review. Crit. Rev. Food Sci. Nutr. 2013, 53, 386–402. [Google Scholar] [CrossRef] [PubMed]
- Niu, Y.; Zhang, J.; Wu, Y.; Shao, B. Analysis of bisphenol A and alkylphenols in cereals by automated on-line solid-phase extraction and liquid chromatography tandem mass spectrometry. J. Agric. Food Chem. 2012, 60, 6116–6122. [Google Scholar] [CrossRef] [PubMed]
- Makris, K.C.; Andra, S.S.; Jia, A.; Herrick, L.; Christophi, C.A.; Snyder, S.A.; Hauser, R. Association between water consumption from polycarbonate containers and bisphenol A intake during harsh environmental conditions in summer. Environ. Sci. Technol. 2013, 47, 3333–3343. [Google Scholar] [CrossRef] [PubMed]
- Latif, U.; Qian, J.J.; Can, S.; Dickert, F.L. Biomimetic Receptors for Bioanalyte Detection by Quartz Crystal Microbalances—From Molecules to Cells. Sensors 2014, 14, 23419–23438. [Google Scholar] [CrossRef] [PubMed]
- Rosenfeld, C.S. Bisphenol A and phthalate endocrine disruption of parental and social behaviors. Front. Neurosci. 2015, 9, 57. [Google Scholar] [CrossRef] [PubMed]
- Schug, T.T.; Janesick, A.; Blumberg, B.; Heindel, J.J. Endocrine disrupting chemicals and disease susceptibility. J. Steroid Biochem. 2011, 127, 204–215. [Google Scholar] [CrossRef] [PubMed]
- Bacle, A.; Thevenot, S.; Grignon, C.; Belmouaz, M.; Bauwens, M.; Teychene, B.; Venisse, N.; Migeot, V.; Dupuis, A. Determination of bisphenol A in water and the medical devices used in hemodialysis treatment. Int. J. Pharm. 2016, 505, 115–121. [Google Scholar] [CrossRef] [PubMed]
- Pouokam, G.B.; Ajaezi, G.C.; Mantovani, A.; Orisakwe, O.E.; Frazzoli, C. Use of Bisphenol A-containing baby bottles in Cameroon and Nigeria and possible risk management and mitigation measures: Community as milestone for prevention. Sci. Total Environ. 2014, 481, 296–302. [Google Scholar] [CrossRef]
- Mei, S.; Wu, D.; Jiang, M.; Lu, B.; Lim, J.M.; Zhou, Y.K.; Lee, Y.I. Determination of trace bisphenol A in complex samples using selective molecularly imprinted solid-phase extraction coupled with capillary electrophoresis. Microchem. J. 2011, 98, 150–155. [Google Scholar] [CrossRef]
- Zeng, J.; Kuang, H.; Hu, C.; Shi, X.; Yan, M.; Xu, L.; Wang, L.; Xu, C.; Xu, G. Effect of Bisphenol A on Rat Metabolic Profiling Studied by Using Capillary Electrophoresis Time-of-Flight Mass Spectrometry. Environ. Sci. Technol. 2013, 47, 7457–7465. [Google Scholar] [CrossRef]
- Zhang, X.F.; Zhu, D.; Huang, C.P.; Sun, Y.H.; Lee, Y.I. Sensitive detection of bisphenol A in complex samples by in-column molecularly imprinted solid-phase extraction coupled with capillary electrophoresis. Microchem. J. 2015, 121, 1–5. [Google Scholar] [CrossRef]
- Ahn, Y.G.; Shin, J.H.; Kim, H.Y.; Khim, J.; Lee, M.K.; Hong, J. Application of solid-phase extraction coupled with freezing-lipid filtration clean-up for the determination of endocrine-disrupting phenols in fish. Anal. Chim. Acta 2007, 603, 67–75. [Google Scholar] [CrossRef] [PubMed]
- Thomson, B.M.; Grounds, P.R. Bisphenol A in canned foods in New Zealand: An exposure assessment. Food Addit. Contam. 2005, 22, 65–72. [Google Scholar] [CrossRef] [PubMed]
- Stuart, J.D.; Capulong, C.P.; Launer, K.D.; Pan, X. Analyses of phenolic endocrine disrupting chemicals in marine samples by both gas and liquid chromatography-mass spectrometry. J. Chromatogr. A 2005, 1079, 136–145. [Google Scholar] [CrossRef] [PubMed]
- Jin, X.L.; Jiang, G.B.; Huang, G.L.; Liu, J.F.; Zhou, Q.F. Determination of 4-octylphenol, 4-nonylphenol and bisphenol A in surface waters from the Haihe River in Tianjin by gas chromatography–mass spectrometry with selected ion monitoring. Chemosphere 2004, 56, 1113–1119. [Google Scholar] [CrossRef] [PubMed]
- Shao, B.; Han, H.; Tu, X.; Huang, L. Analysis of alkylphenol and bisphenol A in eggs and milk by matrix solid phase dispersion extraction and liquid chromatography with tandem mass spectrometry. J. Chromatogr. B 2007, 850, 412–416. [Google Scholar] [CrossRef] [PubMed]
- Shao, B.; Han, H.; Li, D.; Ma, Y.; Tu, X.; Wu, Y. Analysis of alkylphenol and bisphenol A in meat by accelerated solvent extraction and liquid chromatography with tandem mass spectrometry. Food Chem. 2007, 105, 1236–1241. [Google Scholar] [CrossRef]
- Lei, Y.J.; Fang, L.Z.; Akash, M.S.H.; Liu, Z.M.; Shi, W.X.; Chen, S.Q. Development and comparison of two competitive ELISAs for the detection of bisphenol A in human urine. Anal. Methods 2013, 5, 6106–6113. [Google Scholar] [CrossRef]
- Ohkuma, H.; Abe, K.; Ito, M.; Kokado, A.; Kambegawa, A.; Maeda, M. Development of a highly sensitive enzyme-linked immunosorbent assay for bisphenol A in serum. Analyst 2002, 127, 93–97. [Google Scholar] [CrossRef]
- Maiolini, E.; Ferri, E.; Pitasi, A.L.; Montoya, A.; Di, G.M.; Errani, E.; Girotti, S. Bisphenol A determination in baby bottles by chemiluminescence enzyme-linked immunosorbent assay, lateral flow immunoassay and liquid chromatography tandem mass spectrometry. Analyst 2013, 139, 318–324. [Google Scholar] [CrossRef]
- Watabe, Y.; Kondo, T.; Imai, H.; Morita, M.; Tanaka, N.; Hosoya, K. Reducing Bisphenol A Contamination from Analytical Procedures to Determine Ultralow Levels in Environmental Samples Using Automated HPLC Microanalysis. Anal. Chem. 2004, 76, 105–109. [Google Scholar] [CrossRef]
- Xue, J.Q.; Li, D.W.; Qu, L.L.; Long, Y.T. Surface-imprinted core-shell Au nanoparticles for selective detection of bisphenol A based on surface-enhanced Raman scattering. Anal. Chim. Acta 2013, 777, 57–62. [Google Scholar] [CrossRef] [PubMed]
- Fan, H.; Li, Y.; Wu, D.; Ma, H.; Mao, K.; Fan, D.; Du, B.; Li, H.; Wei, Q. Electrochemical bisphenol A sensor based on N-doped graphene sheets. Anal. Chim. Acta 2012, 711, 24–28. [Google Scholar] [CrossRef] [PubMed]
- Yin, H.S.; Zhou, Y.L.; Ai, S.Y.; Chen, Q.P.; Zhu, X.B.; Liu, X.G.; Zhu, L.S. Sensitivity and selectivity determination of BPA in real water samples using PAMAM dendrimer and CoTe quantum dots modified glassy carbon electrode. J. Hazard. Mater. 2010, 174, 236–243. [Google Scholar] [CrossRef] [PubMed]
- Chang, C.M.; Chou, C.C.; Lee, M.-R. Determining leaching of bisphenol A from plastic containers by solid-phase microextraction and gas chromatography–mass spectrometry. Anal. Chim. Acta 2005, 539, 41–47. [Google Scholar] [CrossRef]
- Sadeghi, M.; Nematifar, Z.; Fattahi, N.; Pirsaheb, M.; Shamsipur, M. Determination of Bisphenol A in Food and Environmental Samples Using Combined Solid-Phase Extraction–Dispersive Liquid–Liquid Microextraction with Solidification of Floating Organic Drop Followed by HPLC. Food Anal. Method 2016, 9, 1814–1824. [Google Scholar] [CrossRef]
- Liu, S.H.; Xie, Q.L.; Chen, J.; Sun, J.Z.; He, H.; Zhang, X.K. Development and comparison of two dispersive liquid–liquid microextraction techniques coupled to high performance liquid chromatography for the rapid analysis of bisphenol A in edible oils. J. Chromatogr. A 2013, 1295, 16–23. [Google Scholar] [CrossRef] [PubMed]
- Wu, H.L.; Li, G.L.; Liu, S.C.; Hu, N.; Geng, D.D.; Chen, G.; Sun, Z.W.; Zhao, X.E.; Xia, L.; You, J.M. Monitoring the contents of six steroidal and phenolic endocrine disrupting chemicals in chicken, fish and aquaculture pond water samples using pre-column derivatization and dispersive liquid–liquid microextraction with the aid of experimental design methodology. Food Chem. 2016, 192, 98–106. [Google Scholar]
- Yao, K.; Wen, K.; Shan, W.; Xie, S.; Peng, T.; Wang, J.; Jiang, H.; Shao, B. Development of an immunoaffinity column for the highly sensitive analysis of bisphenol A in 14 kinds of foodstuffs using ultra-high-performance liquid chromatography tandem mass spectrometry. J. Chromatogr. B 2018, 1080, 50–58. [Google Scholar] [CrossRef]
- Li, K.H.; Zhu, L.X.; Liu, R.R.; Meng, W. Determination of bisphenol A in beer by immunoaffinity column tandem high-performance liquid chromatography. In Proceedings of the ICITMI, Shenzhen, China, 12–13 September 2015; pp. 230–234. [Google Scholar]
- Yan, W.; Li, Y.; Zhao, L.X.; Lin, J.M. Determination of Estrogens and Bisphenol A in Bovine Milk by Automated on-line C30 Solid-phase Extraction Coupled with High-performance Liquid Chromatography-mass Spectrometry. J. Chromatogr. A 2009, 1216, 7539–7545. [Google Scholar] [CrossRef]
- Liu, M.; Hashi, Y.; Pan, F.; Yao, J.; Song, G.; Lin, J.M. Automated on-line liquid chromatography-photodiode array-mass spectrometry method with dilution line for the determination of bisphenol A and 4-octylphenol in serum. J. Chromatogr. A 2006, 1133, 142–148. [Google Scholar] [CrossRef] [PubMed]
- Messaoud, N.B.; Ghica, M.E.; Dridi, C.; Ali, M.B.; Brett, C.M.A. Electrochemical sensor based on multiwalled carbon nanotube and gold nanoparticle modified electrode for the sensitive detection of bisphenol A. Sens. Actuators B Chem. 2017, 253, 513–522. [Google Scholar] [CrossRef]
- Wang, L.; Zhang, Y.J.; Wu, A.G.; Wei, G. Designed graphene-peptide nanocomposites for biosensor applications: A review. Anal. Chim. Acta 2017, 985, 24–40. [Google Scholar] [CrossRef] [PubMed]
- Wang, L.; Wu, A.G.; Wei, G. Graphene-based aptasensors: From molecule–interface interactions to sensor design and biomedical diagnostics. Analyst 2018, 143, 1526–1543. [Google Scholar] [CrossRef] [PubMed]
- Shi, R.G.; Liang, J.; Zhao, Z.Z.; Liu, Y.; Liu, A.F. In Situ Determination of Bisphenol A in Beverage Using a Molybdenum Selenide/Reduced Graphene Oxide Nanoparticle Composite Modified Glassy Carbon Electrode. Sensors 2018, 18, 1660. [Google Scholar] [CrossRef] [PubMed]
- Song, W.; Jansen, A.P.; Degirmenci, V.; Ligthart, D.A.; Hensen, E.J. A computational study of the mechanism of CO oxidation by a ceria supported surface rhodium oxide layer. Chem. Commun. 2013, 49, 3851–3853. [Google Scholar] [CrossRef]
- Ligthart, D.A.; van Santen, R.A.; Hensen, E.J. Supported rhodium oxide nanoparticles as highly active CO oxidation catalysts. Angew. Chem. Int. Ed. 2011, 50, 5306–5310. [Google Scholar] [CrossRef]
- Kim, Y.L.; Ha, Y.; Lee, N.S.; Kim, J.G.; Baik, J.M.; Lee, C.; Yoon, K.; Lee, Y.; Kim, M.H. Hybrid architecture of rhodium oxide nanofibers and ruthenium oxide nanowires for electrocatalysts. J. Alloys Compd. 2016, 663, 574–580. [Google Scholar] [CrossRef]
- Verónica, R.P.; Sonia, P.E.; María, J.L.G.; Agustín, B.L. Preparation, characterisation and N2O decomposition activity of honeycomb monolith-supported Rh/Ce0.9Pr0.1O2 catalysts. Appl. Catal. B Environ. 2011, 107, 18–25. [Google Scholar]
- Bai, J.; Han, S.H.; Peng, R.L.; Zeng, J.H.; Jiang, J.X.; Chen, Y. Ultrathin Rhodium Oxide Nanosheet Nanoassemblies: Synthesis, Morphological Stability, and Electrocatalytic Application. ACS Appl. Mater. Interfaces 2017, 9, 17195–17200. [Google Scholar] [CrossRef]
- Shi, R.G.; Liang, J.; Zhao, Z.S.; Liu, A.F.; Tian, Y. An electrochemical bisphenol A sensor based on one step electrochemical reduction of cuprous oxide wrapped graphene oxide nanoparticles modified electrode. Talanta 2017, 169, 37–43. [Google Scholar] [CrossRef] [PubMed]
- Laviron, E. Adsorption, autoinhibition and autocatalysis in polarography and in linear potential sweep voltammetry. J. Electroanal. Chem. Interfacial Electrochem. 1974, 52, 355–393. [Google Scholar] [CrossRef]
- Lin, Y.Q.; Liu, K.Y.; Liu, C.Y.; Yin, L.; Kang, Q.; Li, L.B.; Li, B. Electrochemical sensing of bisphenol A based on polyglutamic acid/amino-functionalised carbon nanotubes nanocomposite. Electrochim. Acta 2014, 133, 492–500. [Google Scholar] [CrossRef]
- Zhou, L.; Wang, J.P.; Li, D.J.; Li, Y.B. An electrochemical aptasensor based on gold nanoparticles dotted graphene modified glassy carbon electrode for label-free detection of bisphenol A in milk samples. Food Chem. 2014, 162, 34–40. [Google Scholar] [CrossRef] [PubMed]
- Kanagavalli, P.; Kumar, S.S. Stable and Sensitive Amperometric Determination of Endocrine Disruptor Bisphenol A at Residual Metal Impurities Within SWCNT. Electroanalysis 2018, 30, 445–452. [Google Scholar] [CrossRef]
- Li, H.Y.; Wang, W.; Lv, Q.; Xi, G.C.; Bai, H.; Zhang, Q. Disposable paper-based electrochemical sensor based on stacked gold nanoparticles supported carbon nanotubes for the determination of bisphenol A. Electrochem. Commun. 2016, 68, 104–107. [Google Scholar] [CrossRef]
- Zhan, T.R.; Song, Y.; Tan, Z.W.; Hou, W.G. Electrochemical bisphenol A sensor based on exfoliated Ni2Al-layered double hydroxide nanosheets modified electrode. Sens. Actuators B Chem. 2017, 238, 962–971. [Google Scholar] [CrossRef]







| Sensors | Linear Range (μM) | LOD (μM) | Reference |
|---|---|---|---|
| Residual metal impurities within SWCNT electrode | 10–100 | 7.3 | [46] |
| Gold nanoparticles supported carbon nanotubes electrode | 0.87–87 | 0.13 | [47] |
| Gold nanoparticles dotted graphene electrode | 0.01–10 | 0.005 | [45] |
| Exfoliated Ni2Al layered double hydroxide nanosheets electrode | 0.02–1.51 | 0.007 | [48] |
| Copper oxide and graphene electrode | 0.1–80 | 0.053 | [42] |
| Rhodium oxide and graphene electrode | 0.6–40 | 0.12 | This work |
| Sample | Added (μM) | Found (μM) | Recovery (%) |
|---|---|---|---|
| Beverage 1 | 0 | 3.22 ± 0.09 1 | - |
| 5 | 8.10 ± 0.18 | 98 | |
| 10 | 12.66 ± 0.43 | 94 | |
| 15 | 17.22 ± 0.62 | 93 | |
| Beverage 2 | 0 | 4.69 ± 0.09 | - |
| 5 | 9.46 ± 0.18 | 95 | |
| 10 | 14.34 ± 0.37 | 97 | |
| 15 | 19.49 ± 0.43 | 99 | |
| Beverage 3 | 0 | 3.96 ± 0.04 | - |
| 5 | 8.63 ± 0.09 | 93 | |
| 10 | 13.85 ± 0.21 | 98 | |
| 15 | 17.80 ± 0.49 | 93 | |
| Beverage 4 | 0 | 0 | - |
| 5 | 4.86 ± 0.10 | 97 | |
| 10 | 9.57 ± 0.30 | 96 | |
| 15 | 14.73 ± 0.24 | 98 | |
| Thermal paper | 0 | 6.46 ± 0.23 | - |
| 5 | 11.33 ± 0.18 | 97 | |
| 10 | 13.85 ± 0.21 | 98 | |
| 15 | 20.95 ± 0.54 | 97 |
© 2018 by the authors. Licensee MDPI, Basel, Switzerland. This article is an open access article distributed under the terms and conditions of the Creative Commons Attribution (CC BY) license (http://creativecommons.org/licenses/by/4.0/).
Share and Cite
Shi, R.; Yuan, X.; Liu, A.; Xu, M.; Zhao, Z. Determination of Bisphenol A in Beverages by an Electrochemical Sensor Based on Rh2O3/Reduced Graphene Oxide Composites. Appl. Sci. 2018, 8, 2535. https://doi.org/10.3390/app8122535
Shi R, Yuan X, Liu A, Xu M, Zhao Z. Determination of Bisphenol A in Beverages by an Electrochemical Sensor Based on Rh2O3/Reduced Graphene Oxide Composites. Applied Sciences. 2018; 8(12):2535. https://doi.org/10.3390/app8122535
Chicago/Turabian StyleShi, Rongguang, Xiaoli Yuan, Aifeng Liu, Mengmeng Xu, and Zongshan Zhao. 2018. "Determination of Bisphenol A in Beverages by an Electrochemical Sensor Based on Rh2O3/Reduced Graphene Oxide Composites" Applied Sciences 8, no. 12: 2535. https://doi.org/10.3390/app8122535
APA StyleShi, R., Yuan, X., Liu, A., Xu, M., & Zhao, Z. (2018). Determination of Bisphenol A in Beverages by an Electrochemical Sensor Based on Rh2O3/Reduced Graphene Oxide Composites. Applied Sciences, 8(12), 2535. https://doi.org/10.3390/app8122535
